//
ТехЛит.ру
- крупнейшая бесплатная электронная интернет библиотека для "технически умных" людей.
WWW.TEHLIT.RU - ТЕХНИЧЕСКАЯ ЛИТЕРАТУРА

:: Алготрейдинг::


АЛГОТРЕЙДИНГ
шаг за шагом
с нуля по урокам!

Торговые роботы на PYTHON, BackTrader,
Pandas, Pine Script для TradingView. Связка с брокерами, телеграм и легкими приложениями.


Министерство монтажных и специальных строительных работ СССР

Главмонтажавтоматика

                 СОГЛАСОВАНО

Главный инженер

В/О "Металлургзарубежстрой"

                                  Г.В. Бабков

             УТВЕРЖДАЮ

Главный инженер

Главмонтажавтоматики

                       П.А.Минаев

ЗАГЛУШКИ
Технические условия
ТУ 36.1144-83
(Взамен ТУ 36.1142-75 и ТУ 36.ЭД1.1142-79; ТУ 36.1144-75 и ТУ 36.ЭД1.1144-78)

Срок действия с 15.02.1984 г.

до 15.02.1994 г.

           СОГЛАСОВАНО

Главный инженер Управления

"Загранкомплектавтоматика"

                                А.В. Макашин

Главный инженер треста

"Промавтоматика"

                                 М.А. Чудинов

Заместитель директора ГПИ

"Проектмонтажавтоматика"-БОС

                                    Е.К. Дубасов

             СОГЛАСОВАНО

Главный инженер

треста "Уралмонтажавтоматика"

                                     В.И. Десятов

 

Главный инженер

Свердловского опытного

завода

                 В.Г. Виноградов

 

Содержание

1. ТЕХНИЧЕСКИЕ ТРЕБОВАНИЯ

1.1. Общие требования

1.2. Основные параметры и размеры

1.3. Характеристики

1.4. Комплектность

1.5. Маркировка

1.6. Упаковка

2. ПРАВИЛА ПРИЕМКИ

3. МЕТОДЫ КОНТРОЛЯ

4. ТРАНСПОРТИРОВАНИЕ И ХРАНЕНИЕ

5. УКАЗАНИЯ ПО ЭКСПЛУАТАЦИИ

6. ГАРАНТИИ ИЗГОТОВИТЕЛЯ

ПРИЛОЖЕНИЕ 1

Колпачок-заглушка КЗ

ПРИЛОЖЕНИЕ 2

Пробка П

ПРИЛОЖЕНИЕ 3

Пробка ПК

ПРИЛОЖЕНИЕ 4

Перечень документов, использованных в настоящих технических условиях

ПРИЛОЖЕНИЕ 5

Перечень оборудования и инструментов, необходимых для контроля заглушек

Изменение 1

Изменение 2

Настоящие технические условия распространяются на:

1) колпачки-заглушки КЗ - с трубной цилиндрической резьбой;

2) пробки П - с метрической и трубной цилиндрической резьбой;

3) пробки ПК - с конической резьбой, (в дальнейшем именуемые "заглушки"), предназначенные для заглушения отверстий, имеющих наружную или внутреннюю резьбу.

Требования, устанавливаемые настоящими техническими условиями, соответствуют требованиям, предъявляемым к изделиям высшей категории качества.

Настоящие технические условия устанавливают требования к заглушкам, изготавливаемым для нужд народного хозяйства и для поставки на экспорт.

Заглушки рассчитаны на условное давление неагрессивной среды:

1) колпачки-заглушки КЗ и пробки ПК - Ру 16 МПа (160 кгс/см2)

2) пробки П - Ру 25 МПа (250 кгс/см2).

Климатическое исполнение заглушек V категории 3 и Т категория 2 и 3 по ГОСТ 15150-69.

Пример записи при заказе и в документации другой продукции: для умеренного климата

1) колпачок-заглушка с резьбой G 1/2-B -

"KЗ-G-1/2 УЗ ТУ 36.1144-83";

"KЗ-G-1/2 УЗ эксп.исп.ТУ 36.1144-83";

2) пробка с метрической резьбой М20´1,5 -

"П М20´1,5 УЗ ТУ 36.1144-83";

"П М20´1,5 УЗ эксп.исп. ТУ 36.1144-83";

3) пробка с конической резьбой К 3/4" -

"ПК 3/4" УЗ ТУ 36.1144-83";

"ПК 3/4" УЗ эксп.исп. ТУ 36.1144-83";

для тропического климата

1) "KЗ-G-1/2 Т2 ТУ 36.1144-83";

2) "KЗ-G-1/2 Т3 ТУ 36.1144-83";

3) "П М20´1,5 Т2 ТУ 36.1144-83";

4) "П М20´1,5 Т3 ТУ 36.1144-83";

5) "ПК 3/4" Т2 ТУ 36.1144-83";

6) "ПК 3/4" Т3 ТУ 36.1144-83".

Заглушки должны соответствовать условиям, предусмотренным заказ-нарядом, и "Условиям поставки товаров для экспорта", утвержденным постановлением Совета Министров СССР от 17 сентября 1980г., № 804.

1. ТЕХНИЧЕСКИЕ ТРЕБОВАНИЯ

1.1. Общие требования

1.1.1. Заглушки должны соответствовать требованиям настоящих технических условий и рабочим чертежам: X28.656.157, Х28.656.029, Х28.656.022.

1.2. Основные параметры и размеры

1.2.1. Код ОКП, основные размеры, предельные отклонения и масса заглушек приведены в приложениях 1-3 настоящих технических условий.

1.2.2. Резьба на заглушках должна соответствовать требованиям конструкторской документации и действующим стандартам:

1) резьба метрическая ГОСТ 24705-81. Поле допуска по ГОСТ 16093-81;

2) резьба трубная цилиндрическая ГОСТ 6357-81. Класс точности В;

3) резьба коническая дюймовая с углом профиля 60° ГОСТ 6111-52.

1.3. Характеристики

1.3.1. Заглушки должны обеспечивать плотность и прочность при условном давлении:

1) колпачки-заглушки КЗ - Ру 16 МПа (160 кгс/см ), t от минус 20°С до плюс 120°С;

2) пробки П - Ру 25 МПа (250 кгс/см2), t от минус 20°С до плюс 450°С;

3) пробки ПК - Ру 16 МПа (160 кгс/см2), t от минус 20°С до плюс 120°С.

(Измененная редакция, Изм. №1)

1.3.2. Резьба должна быть чистой, без заусенцев, рваных или смятых ниток и признаков коррозии.

1.3.3. Поверхности заглушек должны быть чистыми и не должны иметь забоин, заусенцев, трещин, следов расслоения, раковин, признаков коррозии.

1.3.4. Шероховатость обрабатываемых поверхностей заглушек должна соответствовать ГОСТ 2789-73 и указаниям на рабочих чертежах.

1.3.5. Антикоррозионные покрытия должны выполняться согласно таблице и ГОСТ 9.301-86.

Наименование

Вид покрытия

Климатическое исполнение УЗ

Климатическое исполнение У3, Т3 ,Т2

Колпачок заглушка КЗ

Хим.Окс.прм.

Ц15.хр.

Пробки П, ПК

Ц6.хр.

Ц15.хр.

(Измененная редакция, Изм. №2)

1.3.6. Материалоемкость:

заглушек не более ;

пробок не более .

1.3.7. Средний срок службы - 10 лет.

1.4. Комплектность

1.4.1. В комплект поставки заглушек входит:

1) колпачок-заглушка или пробка;

2) этикетка - одна на ящик.

1.4.2. При поставке изделий на экспорт в комплект дополнительно входит товаросопроводительная документация, оформленная по ГОСТ 6.37-79, в количестве, указанном в заказ-наряде в соответствии с "Положением о порядке составления, оформления и рассылки технической и товаросопроводительной документации на товары, поставляемые для экспорта" от 29 декабря 1979 г. Минвнешторга № 567.

1.5. Маркировка

1.5.1. Маркировка для внутрисоюзной поставки должна содержать:

1) товарный знак завода-изготовителя;

2) наименование, тип, вид климатического исполнения;

3) условное давление;

4) год и месяц выпуска;

5) обозначение настоящих технических условий.

Перечисленные данные должны быть приведены в этикетке.

На изделия должны маркироваться размер резьбы и условное давление. Место нанесения маркировки должно быть указано на чертеже.

1.5.2. Маркировка при поставке на экспорт должна содержать:

1) наименование и тип заглушки;

2) вид климатического исполнения;

3) условное давление;

4) год и месяц выпуска;

5) надпись "Сделано в СССР".

Перечисленные данные должны быть приведены в этикетке. Размер резьбы и условное давление должны быть нанесены на изделие.

1.5.3. Маркировка тары должна содержать основные, дополнительные и информационные надписи по ГОСТ 14192-77 (раздел I, содержание маркировки). Маркировку наносить на одной из боковых сторон ящика окраской по трафарету. Маркировать манипуляционный знак "Боится сырости" 52´74 ГОСТ 14192-77. На ящике типа I по ГОСТ 5959-80 маркировку наносить на верхней крышке.

(Измененная редакция, Изм. №1)

1.5.4. Маркировку тары при отправке изделий на экспорт производить по ГОСТ 14192-77 (раздел 5, дополнительные требования к маркировке грузов, поставляемых на экспорт) и в соответствии с заказ-нарядом.

1.6. Упаковка

1.6.1. Упаковка должна производиться в соответствии с чертежами завода-изготовителя.

1.6.2. Упаковку заглушек при внутрисоюзной поставке производить в ящик типа II-I по ГОСТ 2991-85 или в ящик типа VI по ГОСТ 5959-80. Категория упаковки КУ-0 ГОСТ 23170-78.

(Измененная редакция, Изм. №1, Изм. №2)

1.6.3. Упаковку заглушек для поставки на экспорт производить в ящик типа Ш-1 ГОСТ 2991-85 или в ящик типа I по ГОСТ 5959-80 и ГОСТ 24634-81. Категория упаковки КУ-I ГОСТ 23170-78.

(Измененная редакция, Изм. №1, Изм. №2)

1.6.4. В один ящик должны быть упакованы заглушки одного типа в количестве от 40 до1500 штук в зависимости от размера заглушек.

Упаковка должна быть плотной, не допускающей перемещения изделий внутри тары при транспортировании.

1.6.5. Масса упакованного ящика с изделиями не должна превышать 50 кг.

1.6.6. В каждый ящик при внутрисоюзной поставке со стороны крышки должна быть вложена этикетка с подписью представителя отдела технического контроля завода-изготовителя, а снаружи ящика должен быть прикреплен упаковочный лист.

1.6.7. В каждый ящик при поставке изделий на экспорт в специальный карман, прикрепленный с внешней стороны ящика, должен быть вложен упаковочный лист, а в ящик со стороны крышки - этикетка и товаросопроводительная документация, указанная в заказ-наряде, упакованные согласно ГОСТ 23170-78, раздел 4 (требования к упаковке изделий, технической и сопроводительной документации, предназначенных для экспорта).

1.6.8. Временная противокоррозионная защита при поставке изделий на экспорт должна соответствовать группе I-I, варианту защиты ВЗ-4 (пушечная смазка ЗТ5/5-5 ГОСТ 19537-83), варианту внутренней упаковки ВУ-3, ГОСТ 9.014-78.

Расконсервация должна производиться по ГОСТ 9.014-78.

(Измененная редакция, Изм. №2)

1.6.9. Для внутрисоюзной поставки вариант временной противокоррозионной защиты ВЗ-0, вариант внутренней упаковки ВУ-0, ГОСТ 9.014-78.

2. ПРАВИЛА ПРИЕМКИ

2.1. Для проверки соответствия заглушек, установившегося серийного производства требованиям технических условий завод-изготовитель обязан проводить приемо-сдаточные и периодические испытания.

2.2. Приемо-сдаточные испытания готовых заглушек должны проводиться изготовителем при приемочном контроле в объеме, установленном настоящими техническими условиями, с целью выявления соответствия заглушек требованиям настоящих технических условий.

2.3. Приемо-сдаточным испытаниям на соответствие требованиям пунктов 1.1.1, 1.3.2, 1.3.3 - 1.3.5 (в части внешнего вида), подраздела 1.5. настоящих технических условий должны подвергаться 100% изделий.

2.4. Приемо-сдаточным испытаниям на соответствие требованиям пунктов 1.2.1., 1.2.2. подлежит 0,5% (при поставке на экспорт 1%) от предъявленной партии заглушек одного наименования и одного типоразмера, но не менее 10 шт. Под партией следует понимать количество изделий, изготовленных на одном оборудовании за период времени не более одной смены.

2.5. Правила приемки на соответствие п.1.3.5 должны соответствовать ГОСТ 9.302-79.

2.6. При получении неудовлетворительных результатов испытания хотя бы по одному изделию должны проводиться повторные испытания удвоенного количества изделий, взятых от той же партии.

Результаты повторных испытаний являются окончательными.

2.7. Периодическим испытаниям должны подвергаться заглушки, прошедшие приемо-сдаточные испытания.

2.8. Периодические испытания заглушек установившегося производства должны проводиться заводом-изготовителем не реже одного раза в три года с целью оценки соответствия изделий требованиям настоящих технических условий, а также контроля стабильности качества заглушек и возможности продолжения их выпуска.

2.9. На периодические испытания отбирают изделия в количестве 5 шт. каждого наименования и типоразмера со склада готовой продукции.

2.10. При периодических испытаниях должна производиться проверка по пунктам 1.1.1, 1.2.1., 1.2.2., 1.3.1., 1.3.2., 1.3.3., 1.3.4., 1.3.5 и подразделам 1.4., 1.5. и 1.6. настоящих технических условий.

2.11. При получении неудовлетворительных результатов испытаний приемку и отгрузку принятых заглушек следует приостановить до устранения выявленных дефектов.

Допускается проводить повторные испытания только по тем пунктам, по которым были получены неудовлетворительные результаты. Возобновление приемки и отгрузку заглушек производить при получении удовлетворительных результатов повторных испытаний.

2.12. По результатам периодических испытаний должен составляться протокол установленной формы.

3. МЕТОДЫ КОНТРОЛЯ

3.1. Проверку на соответствие требованиям пунктов 1.1.1., 1.2.2., 1.3.2, 1.3.3., 1.3.4., подраздела 1.5. настоящих технических условий производить методом внешнего осмотра, сличением с конструкторской документацией, измерением изделий и проверкой калибрами в соответствии с приложением 5.

3.2. Проверку массы производить контрольным взвешиванием на весах обычного класса точности в соответствии с требованиями ГОСТ 23676-79.

3.3. Проверку на соответствие требованиям пункта 1.3.1., настоящих технических условий производить согласно инструкции  пробным гидравлическим давлением по ГОСТ 356-80.

Пробное давление должно держаться в течение 5 мин., затем давление снизить до условного и произвести осмотр, после чего снять давление

Результаты испытаний считаются удовлетворительными, если во время испытаний не произошло падение давления по манометру, не обнаружено признаков разрыва и следов подтеков испытательной среды на внешней поверхности изделий.

3.4. Проверку шероховатости поверхностей (п.1.3.4. настоящих технических условий) производить сравнением с образцами шероховатости, соответствующими ГОСТ 9378-75.

3.5. Проверку по пункту 1.3.5. настоящих технических условий в части качества внешнего вида и толщины покрытия производить по ГОСТ 9.302-79.

3.6. Проверку комплектности и упаковку заглушек производить при упаковке изделий согласно требованиям подразделов 1.4. и 1.6. настоящих технических условий.

4. ТРАНСПОРТИРОВАНИЕ И ХРАНЕНИЕ

(Измененная редакция, Изм. №2)

4.1. Заглушки транспортируются всеми видами транспорта в крытых транспортных средствах. Допускается формирование грузовых мест в транспортные пакеты (поддоны плоские упрощенные, поддоны ящичные универсальные - решетчатые, сетчатые) по ГОСТ 21929-76, размеры пакетов должны соответствовать ГОСТ 24597-81.

4.2. Транспортирование заглушек должно соответствовать следующим правилам:

"Правила перевозки грузов автомобильным транспортом", утвержденные Министерством автомобильного транспорта РСФСР, изд. 1979г.;

"Правила перевозки грузов" МПС, часть I, изд. 1977г.;

"Правила перевозки грузов" Минречфлота РСФСР, изд. 1979г.;

"Правила безопасности морской перевозки генеральных грузов" Минморфлота.

4.3. Транспортирование в части воздействия климатических факторов для заглушек в тропическом исполнении - по условию 6, для умеренного климата - по условию 4, для морских перевозок в трюмах - по условию 3 ГОСТ 15150-69.

4.4. Хранение изделий в упаковке, соответствующей настоящим техническим условиям, должно соответствовать условию 6 - для тропического климата и условию 4 - для умеренного климата ГОСТ 15150-69.

5. УКАЗАНИЯ ПО ЭКСПЛУАТАЦИИ

5.1. Монтаж и установка заглушек должен производиться в соответствии со СНиП III-34-74 "Строительные нормы и правила. Правила производства и приемки работ. Система автоматизации".

5.2. Устанавливаются заглушки на изделия, имеющие наружную или внутреннюю резьбу.

6. ГАРАНТИИ ИЗГОТОВИТЕЛЯ

6.1. Изготовитель гарантирует соответствие заглушек требованиям настоящих технических условий при соблюдении условий эксплуатации, хранения, транспортирования и монтажа.

6.2. Гарантийный срок эксплуатации 18 месяцев с момента ввода изделий в эксплуатацию, но не более 24 месяцев со дня проследования через государственную границу СССР.

6.3. Гарантийный срок хранения заглушек - три года с момента изготовления.

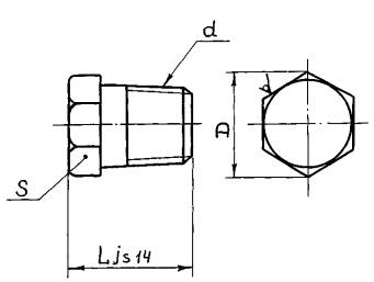
ПРИЛОЖЕНИЕ 1

Колпачок-заглушка КЗ

Таблица 1.1

Тип

Вид климатического исполнения

d

Размеры, мм

Масса не более, кг

D

L

S

КЗ - G1/2

У3

G1/2 - В

31,2

21

27

0,08

КЗ - G3/4

G3/4 - В

36,9

26

32

0,11

КЗ - G1

G1 - В

47,3

29

41

0,16

КЗ - G11/4

G11/4 - В

63,5

35

55

0,41

КЗ - G11/2

G11/2 - В

69,3

40

60

0,72

КЗ - G2

G2 - В

86,5

50

75

1,03

(Измененная редакция, Изм. №2)

Таблица 1.2

Тип

Вид климатического исполнения

Код ОКП

КЗ - G1/2

У3

42 1891 0480

Т2

42 1891 0483

Т3

42 1891 0482

КЗ - G3/4

У3

42 1891 0484

Т2

42 1891 0487

Т3

42 1891 0486

КЗ - G1

У3

42 1891 0488

Т2

42 1891 0491

Т3

42 1891 0490

КЗ - G11/4

У3

42 1891 0492

Т2

42 1891 0495

Т3

42 1891 0494

КЗ - G11/2

У3

42 1891 0496

Т2

42 1891 0499

Т3

42 1891 0498

КЗ - G2

У3

42 1891 0500

Т2

42 1891 0503

Т3

42 1891 0502

(Измененная редакция, Изм. №2)

ПРИЛОЖЕНИЕ 2

Пробка П

Таблица. 2.1

Тип

Размеры, мм

Масса не более, кг

d

D

L

S

П-М18´1,5

М18´1,5

36

35

27

0,11

П-М18´2

М18´2

П-М20´1,5

М20´1,5

0,15

П-М22´1,5

М22´1,5

0,16

П-М24´1

М24´1

П-М24´1,5

М24´1,5

П-М27´1,5

М27´1,5

42

40

0,26

П-М27´2

М27´2

П-М30´1,5

М30´1,5

0,30

П-М33´2

М33´2

48

45

32

0,38

П-М36´1,5

М36´1,5

0,41

П-G1/2

G1/2 - В

36

35

27

0,15

П-G3/4

G3/4 - В

42

40

0,26

П-G1

G1 - В

48

45

32

0,33

П-G11/2

G11/2 - В

63

50

36

0,78

Таблица 2.2.

Тип

Вид климатического исполнения

Код ОКП

П-М18´1,5

У3

42 1891 0504

Т2

42 1891 0507

Т3

42 1891 0506

П-М18´2

У3

42 1891 0508

Т2

42 1891 0511

Т3

42 1891 0510

П-М20´1,5

У3

42 1891 0512

Т2

42 1891 0515

Т3

42 1891 0514

П-М22´1,5

У3

42 1891 0516

Т2

42 1891 0519

Т3

42 1891 0518

П-М24´1

У3

42 1891 0520

Т2

42 1891 0523

Т3

42 1891 0522

П-М24´1,5

У3

42 1891 0524

Т2

42 1891 0527

Т3

42 1891 0526

П-М27´1,5

У3

42 1891 0528

Т2

42 1891 0531

Т3

42 1891 0530

П-М27´2

У3

42 1891 0532

Т2

42 1891 0535

Т3

42 1891 0534

П-М30´1,5

У3

42 1891 0536

Т2

42 1891 0539

Т3

42 1891 0538

П-М33´2

У3

42 1891 0540

Т2

42 1891 0543

Т3

42 1891 0542

П-М36´1,5

У3

42 1891 0544

Т2

42 1891 0547

Т3

42 1891 0546

П-G1/2

У3

42 1891 0548

Т2

42 1891 0551

Т3

42 1891 0550

П-G3/4

У3

42 1891 0552

Т2

42 1891 0555

Т3

42 1891 0554

П-G1

У3

42 1891 0556

Т2

42 1891 0559

Т3

42 1891 0558

П-G11/2

У3

42 1891 0560

Т2

42 1891 0563

Т3

42 1891 0562

(Измененная редакция, Изм. №2)

ПРИЛОЖЕНИЕ 3

Пробка ПК

Таблица. 3.1

Тип

d

ГОСТ 6111-52

Размеры, мм

Масса не более, кг

D

L

S

ПК-1/4"

К1/4"

16,2

20

14

0,020

ПК-1/4"

ПК-1/2"

К1/2"

25,4

28

22

0,070

ПК-1/2"

ПК-3/4"

К3/4"

31,2

31

27

0,127

ПК-3/4"

ПК-1"

К1"

41,6

36

0,150

ПК-1"

Таблица 3.2.

Тип

Вид климатического исполнения

Код ОКП

ПК-1/4"

У3

42 1891 0564

Т2

42 1891 0567

Т3

42 1891 0566

ПК-1/2"

У3

42 1891 0568

Т2

42 1891 0571

Т3

42 1891 0570

ПК-3/4"

У3

42 1891 0572

Т2

42 1891 0575

Т3

42 1891 0574

ПК-1"

У3

42 1891 0576

Т2

42 1891 0579

Т3

42 1891 0578

(Измененная редакция, Изм. №2)

ПРИЛОЖЕНИЕ 4

Перечень документов, использованных в настоящих технических условиях

(Измененная редакция, Изм. №2)

ГОСТ 6.37-79 УСД. Система документации по внешней торговле. Товаросопроводительная документация.

ГОСТ 9.014-78 ЕСЗКС. Временная противокоррозионная защита изделий. Общие технические требования.

ГОСТ 9.301-86 ЕСЗКС. Покрытия металлические и неметаллические неорганические. Общие требования.

ГОСТ 9.302-79 ЕСЗКС. Покрытия металлические и неметаллические неорганические. Правила приемки и методы контроля.

ГОСТ 356-80 Арматура и детали трубопроводов. Давления условные пробные и рабочие. Ряды.

ГОСТ 2789-73 Шероховатость поверхности, параметры и характеристики.

ГОСТ 2991-85 Ящики дощатые неразборные для грузов массой до 500 кг. Общие технические условия.

ГОСТ 6111-52 Резьба коническая с углом профиля 60°.

ГОСТ 6357-81 Основные нормы взаимозаменяемости. Резьба трубная цилиндрическая.

ГОСТ 9378-75 Образцы шероховатости поверхностей (сравнения). Технические требования.

ГОСТ 14192-77 Маркировка грузов.

ГОСТ 15150-69 Машины, приборы и другие технические изделия. Исполнения для различных климатических районов. Категории, условия эксплуатации, хранения и транспортирования в части воздействия климатических факторов внешней среды.

ГОСТ 16093-81 Основные нормы взаимозаменяемости. Резьба метрическая. Допуски, посадки с зазором.

ГОСТ 23170-78 Упаковка для изделий машиностроения. Общие требования.

ГОСТ 19537-83 Смазка пушечная. Технические условия.

ГОСТ 23676-79 Весы для статического взвешивания. Пределы взвешивания. Метрологические параметры.

ГОСТ 24634-81 Ящики деревянные для продукции на экспорт. Общие технические условия.

ГОСТ 24705-81 Основные нормы взаимозаменяемости. Резьба метрическая. Основные размеры.

ГОСТ 24597-81 Пакеты тарно-штучных грузов. Основные параметры и размеры.

ГОСТ 21929-76 Транспортирование грузов пакетами. Общие требования.

 Инструкция по проведению гидравлических и пневматических испытаний трубных проводок.

СНиП III-34-74 Строительные нормы и правила производства и приемки работ. Система автоматизации. Условия поставки товаров для экспорта. (Утверждены постановлением СМ СССР от 14.01.60г. № 32 в редакции постановления СМ СССР от 17.09.80г. № 804).

Положение о порядке составления, оформления и рассылки технической и товаросопроводительной документации на товары, поставляемые для экспорта. (Утверждено Минвнешторгом СССР от 29.12.79г. № 567).

"Правила перевозки грузов автомобильным транспортом", утвержденные Министерством автомобильного транспорта РСФСР, изд. 1979г.

"Правила перевозки грузов" МПС, часть 1, изд. 1977г.

"Правила перевозки грузов" Минречфлота РСФСР, изд. 1979г.

"Правила безопасности морской перевозки генеральных грузов" Минморфлота.

ПРИЛОЖЕНИЕ 5

Перечень оборудования и инструментов, необходимых для контроля заглушек

Наименование

Характеристики

1.

Штангенциркуль Шц-I ГОСТ 166-80

Отсчет по нониусу 0,1 мм Пределы измерения 0-125 мм

2.

Весы для статического взвешивания ГОСТ 23676-79

Весы обычного класса точности, предел взвешивания - 10 кг;

цена поверочного деления - 10 г;

погрешность весов ±10 г

3.

Образцы шероховатости поверхности ГОСТ 9378-75

Рабочие

4.

Кольца резьбовые для контроля метрической резьбы ГОСТ 17763-72 и ГОСТ 17764-72

ПР и НЕ

5.

Пробки резьбовые для контроля метрической резьбы ГОСТ 17758-72

ПР и НЕ

6.

Калибры для контроля конической дюймовой резьбы с углом 60° ГОСТ 6485-69

Рабочие

7.

Пробки резьбовые для контроля трубной цилиндрической резьбы ГОСТ 18924-73

ПР и НЕ

8.

Кольца резьбовые для контроля трубной цилиндрической резьбы ГОСТ 18929-73 и ГОСТ 18930-73

ПР и НЕ

9.

Стенд для гидравлических испытаний

Пределы измерения 0-25 МПа (0-250 кгс/см2)

 




Яндекс цитирования



   Copyright © 2007-2026,  www.tehlit.ru.

[ ѓосты, стандарты, нормативы, инструкции, правила, строительные нормы ]