//
ТехЛит.ру
- крупнейшая бесплатная электронная интернет библиотека для "технически умных" людей.
WWW.TEHLIT.RU - ТЕХНИЧЕСКАЯ ЛИТЕРАТУРА

:: Алготрейдинг::


АЛГОТРЕЙДИНГ
шаг за шагом
с нуля по урокам!

Торговые роботы на PYTHON, BackTrader,
Pandas, Pine Script для TradingView. Связка с брокерами, телеграм и легкими приложениями.


ЗАО Научно-производственный центр «Путь К»

РЕКОМЕНДАЦИИ ПО УСТРОЙСТВУ И БЕЗОПАСНОЙ ЭКСПЛУАТАЦИИ НАЗЕМНЫХ КРАНОВЫХ ПУТЕЙ

РД 50:48:0075.01.05.

Москва 2005 г.

Содержание

1. ОБЩИЕ ПОЛОЖЕНИЯ

2. РЕКОМЕНДАЦИИ ПО ПРОЕКТИРОВАНИЮ НАЗЕМНЫХ КРАНОВЫХ ПУТЕЙ

3. РЕКОМЕНДАЦИИ ПО УСТРОЙСТВУ НАЗЕМНЫХ КРАНОВЫХ ПУТЕЙ

3.1. Общие рекомендации

3.2. Рекомендации по нижнему строению пути

3.3. Рекомендации по верхнему строению наземного кранового пути

3.4. Рекомендации по путевому оборудованию

4. ПОДГОТОВКА И ПРОВЕДЕНИЕ ПРИЕМО-СДАТОЧНЫХ ИСПЫТАНИЙ КРАНОВОГО ПУТИ

5. РЕКОМЕНДАЦИИ ПО ЭКСПЛУАТАЦИИ НАЗЕМНЫХ КРАНОВЫХ ПУТЕЙ

6. ДЕФЕКТЫ ПОВРЕЖДЕНИЯ И РЕКОМЕНДАЦИИ ПО ОЦЕНКЕ ТЕХНИЧЕСКОГО СОСТОЯНИЯ КРАНОВЫХ ПУТЕЙ

7. РЕКОМЕНДАЦИИ ПО КОНТРОЛЮ КАЧЕСТВА КРАНОВЫХ ПУТЕЙ

7.1. Общие рекомендации.

7.2. Рекомендации по методике проведения контроля

8. РЕКОМЕНДАЦИИ ПО ТЕХНИКЕ БЕЗОПАСНОСТИ ПРИ УСТРОЙСТВЕ, ЭКСПЛУАТАЦИИ, РЕМОНТЕ И ОБСЛЕДОВАНИИ КРАНОВЫХ ПУТЕЙ

8.1 Общие положения

8.2. Рекомендации по технике безопасности до начала работ

8.3. Рекомендации по технике безопасности во время работы

8.4. Рекомендации по технике безопасности по окончании работ

8.5. Рекомендации по технике безопасности при обследовании крановых путей

ПРИЛОЖЕНИЯ

Приложение 1

ОСНОВНЫЕ ТЕРМИНЫ И ОПРЕДЕЛЕНИЯ

Приложение 2

ПЕРЕЧЕНЬ НОРМАТИВНО-ТЕХНИЧЕСКОЙ ДОКУМЕНТАЦИИ,НА КОТОРУЮ ИМЕЮТСЯ ССЫЛКИ В ДАННЫХ РЕКОМЕНДАЦИЯХ

Приложение 3

КЛАССИФИКАЦИЯ КРАНОВЫХ ПУТЕЙ

Приложение 4

ПАСПОРТ КРАНОВОГО ПУТИ

Приложение 5

ОБЩИЕ МЕТОДИЧЕСКИЕ ПОЛОЖЕНИЯ И ЗНАЧЕНИЯ ПАРАМЕТРОВ, ИСПОЛЬЗУЕМЫЕ ПРИ РАСЧЕТАХ НАЗЕМНЫХ КРАНОВЫХ ПУТЕЙ

Приложение 6

ПЛАН, ПРОФИЛЬ И ОСНОВНЫЕ ГЕОМЕТРИЧЕСКИЕ РАЗМЕРЫ ЭЛЕМЕНТОВ НАЗЕМНОГО КРАНОВОГО ПУТИ.

Приложение 7

ЭЛЕМЕНТЫ ВЕРХНЕГО СТРОЕНИЯ КРАНОВОГО ПУТИ

Приложение 8.

ПУТЕВОЕ ОБОРУДОВАНИЕ НАЗЕМНЫХ КРАНОВЫХ ПУТЕЙ

Приложение 9.

ПАСПОРТ ТУПИКОВОГО УПОРА УДАРНОГО ТИП

Приложение 10

МЕТОДИКА ОПРЕДЕЛЕНИЯ УПРУГОЙ ПРОСАДКИ НАЗЕМНОГО КРАНОВОГО ПУТИ

Приложение 11

ПЕРЕЧЕНЬ РЕКОМЕНДУЕМЫХ ПРИБОРОВ И ИНСТРУМЕНТА ДЛЯ КОНТРОЛЯ РАСЧЕТНЫХ ПАРАМЕТРОВ, ГЕОМЕТРИЧЕСКИХ РАЗМЕРОВ, ПРОСАДОК ПУТИ И ОТБОРА ПРОБ ЗЕМЛЯНОГО ПОЛОТНА.

Приложение 12

ПРЕДЕЛЬНО ДОПУСКАЕМЫЕ ВЕЛИЧИНЫ ОТКЛОНЕНИЙ ОТ ПРОЕКТНОГО ПОЛОЖЕНИЯ ПАРАМЕТРОВ КРАНОВОГО ПУТИ

Приложение 13

ХАРАКТЕРНЫЕ ДЕФЕКТЫ, ПОВРЕЖДЕНИЯ И ОЦЕНКА ТЕХНИЧЕСКОГО СОСТОЯНИЯ НАЗЕМНЫХ КРАНОВЫХ ПУТЕЙ

Приложение 14

МЕТОДИКА ПРОВЕДЕНИЯ ГЕОДЕЗИЧЕСКОГО КОНТРОЛЯ ПОЛОЖЕНИЯ ЭЛЕМЕНТОВ КРАНОВОГО ПУТИ

Приложение 15

ПЕРЕЧЕНЬ ДОКУМЕНТОВ ДЛЯ ОРГАНИЗАЦИИ ОБСЛУЖИВАНИЯ, РЕМОНТА И ТЕХНИЧЕСКОГО ОСВИДЕТЕЛЬСТВОВАНИЯ НАЗЕМНЫХ КРАНОВЫХ ПУТЕЙ

Редакционная комиссия:

Г.М. Банных (председатель)

В.Г. Жуков, Л.Р. Кудряшов.

Исполнители:

Г.М. Банных (ответственный исполнитель).

С.Л. Завьялов, Л.Р. Кудряшов, Р.Н. Ковалев, Н.Д. Тагильцев, В.И. Ковалев, А.В. Ширкевич, И.А. Козловский, Д.В. Пименов, К.А. Мотунов

«Рекомендации по устройству и безопасной эксплуатации наземных крановых путей» разработаны впервые в развитие ПБ-10-382-00; ГОСТР 51248-99.

При подготовке «Рекомендаций» учтены замечания и предложения органов Ростехнадзора, заинтересованных ведомств, предприятий и организаций.

В «Рекомендациях» изложены общие положения по проектированию, устройству (монтажу) и эксплуатации наземных крановых путей.

"Рекомендации по устройству и безопасной эксплуатации наземных крановых путей" утверждены научно-техническим советом НПЦ «Путь К» 25.09.2002

"Рекомендации по устройству и безопасной эксплуатации наземных крановых путей" согласованы с Федеральной службой по экологическому, технологическому и атомному надзору письмом № 09-03/896 от 06.05.2005г.

1. ОБЩИЕ ПОЛОЖЕНИЯ

1.1 "Рекомендации по устройству и безопасной эксплуатации наземных крановых путей"*, предназначены для объединений, организаций и предприятий независимо от их ведомственной подчиненности и форм собственности.

*далее по тексту - Рекомендации

1.2. Рекомендации устанавливают порядок устройства верхнего и нижнего строения путей и приемки их в эксплуатацию при производстве работ и разработке проекта установки козловых, башенных и портальных кранов любых конструкций.

1.3. Настоящие Рекомендации распространяются на наземные крановые пути с деревянными и железобетонными полушпалами, а также на пути с продольными железобетонными опорными элементами (плиты, балки) и монолитными железобетонными основаниями.

1.4. Порядок надзора за устройством и эксплуатацией наземных крановых путей необходимо осуществлять в соответствии с "Правилами устройства и безопасной эксплуатации грузоподъемных кранов" (ПБ-10-382-00)**, утвержденными Постановлением Госгортехнадзора России 30.12.92 г. № 98.

**далее по тексту - Правила по кранам

1.5. В Рекомендациях изложены порядок и нормы проектирования, устройства и безопасной эксплуатации, а также методы контроля технического состояния наземных крановых путей, козловых, башенных и портальных кранов (ГОСТ 13556, ГОСТ 22827, ГОСТ 27584 групп режима работы крана от А1 до А8 по ГОСТ 25546).

1.6. Рекомендации распространяются на крановые пути, эксплуатирующиеся как в обычных, так и специфических условиях:

в районах с низкими температурами, повышенными ветровыми нагрузками и сейсмичностью, СНиП 2.01.01, СНиП II-7, ГОСТ 15150; в местностях с карстовыми явлениями;

на слабых или переувлажненных и заболоченных фунтах, и заболоченных местах;

на макропористых посадочных грунтах;

на пути со снежными балластными призмами и в районах вечно мерзлых грунтов;

на косогорах с поперечным уклоном свыше 1:10;

непосредственно на конструкциях строящихся объектов;

на участках перегона кранов от объекта к объекту;

на криволинейных участках пути.

1.7. Крановые пути, работающие в специфических условиях, устраиваются по специальным проектам, при разработке которых необходимо учитывать положения настоящих рекомендаций и дополнительные данные, вытекающие из специфических условий эксплуатации кранов.

1.8. Основные термины и определения, а также перечень нормативной документации, на которые имеются ссылки в Рекомендациях, даны в приложениях 1, 2.

1.9. В организациях-владельцах крановых путей постоянно хранится комплект эксплуатационной документации - паспорт (проект, акты, журналы и т.д.)

1.10. Рекомендации настоящего документа учитываются работниками организаций при проектировании и эксплуатации наземных крановых путей.

2. РЕКОМЕНДАЦИИ ПО ПРОЕКТИРОВАНИЮ НАЗЕМНЫХ КРАНОВЫХ ПУТЕЙ

2.1. Проект разрабатывается в соответствии с нормами, регламентируемыми «Правилами по кранам» (ПБ-10-382-00), Правилами устройства электроустановок (ПУЭ), настоящими Рекомендациями, нормативно-технической и конструкторской документацией, согласованной и утвержденной в установленном порядке.

2.2. Проект разрабатывается с учетом геологического состояния грунтов и геодезической съемки основной площадки, проекта производства работ краном (ППРК), а также классификации крановых путей, определяемой в соответствии с Приложением 3.

2.3. Проект включает следующие этапы разработки в соответствии с ГОСТ 2.103:

техническое задание;

техническое предложение;

технический проект;

рабочую конструкторскую документацию.

Порядок разработки этапов и содержание входящих в них разделов определяется ГОСТ 2.701. При необходимости допускается в содержание вводить новые или объединять разделы между собой.

2.4. Состав проекта включает:

прочностной расчет пути и его элементов;

конструкторскую документацию на элементы путевого оборудования;

проект заземления;

план водоотвода с основной площадки;

продольный профиль по осям направляющих;

поперечный профиль характерных сечений (выемка, нулевое место, насыпь);

технические условия (ТУ) на крановый путь и на изготовление его отдельных элементов;

программу и методику испытаний кранового пути и его элементов;

паспорта на крановый путь и его элементы (Приложение 4);

в отдельных случаях в состав проекта крановых путей необходимо включать проект на установку крана.

2.5. Специальный проект разрабатывается для путей, работающих в специфических условиях (см п. 1.7 настоящих Рекомендаций) и при устройстве переезда через пути для наземного транспорта.

2.6. Расчет наземного кранового пути и его элементов включает проверку прочности, устойчивости, упругой податливости от воздействия невыгодного сочетания вертикальных и горизонтальных нагрузок с учетом количества колес в опоре крана. Основы расчета приведены в Приложении 5.

2.7. Расчетные сопротивления материалов проектируемых элементов пути, следует принимать, по таблице П.5.1, Приложения 5.

2.8. Нагрузки от колеса крана на направляющую определяются с учетом:

массы крана;

массы грузозахватного органа;

массы груза;

положения грузозахватного органа с грузом;

сил инерции;

ветровой нагрузки;

сил перекоса и горизонтальных поперечных нагрузок.

2.9. Тип направляющих, опорных элементов, материал и толщина балластной призмы, а также упругая просадка определяются расчетом по несущей способности элементов кранового пути с учетом класса нагружения, коэффициента условия работы, влияния вертикальной нагрузки от соседних колес. Упругая расчетная податливость пути не должна превышать значений указанных в Приложении 5.

2.10. С целью сокращения сроков и трудоемкости монтажа, демонтажа и перебазировки крановых путей, срок эксплуатации которых не более года, конструкцию элементов верхнего строения пути рекомендуется выполнять в виде инвентарных секций.

2.11. При разработке проекта путей необходимо обеспечить нормативные величины расстояния между выступающими частями крана и строениями, штабелями грузов, грузами и рабочими площадками, где могут находиться люди.

2.12. Расстояние по горизонтали между выступающими частями крана, передвигающегося по наземным крановым путям, и строениями, штабелями грузов и другими предметами, расположенными на высоте до 2000 мм от уровня земли или рабочих площадок, устанавливается не менее 700 мм, а на высоте более 2000 мм - не менее 400 мм. Расстояние по вертикали от консоли противовеса, или от противовеса расположенного под консолью башенного крана, до площадок, на которых могут находиться люди, устанавливается не менее 2000 мм.

2.13. Укладка путей для установки кранов в охранной зоне воздушных линий электропередачи согласовывается с владельцем линии. Разрешение на укладку путей для установки крана хранится вместе с проектом производства работ краном (ППРК) в паспорте кранового пути.

2.14. При установке крана на эксплуатирующийся крановый путь последний проверяется расчетом на допускаемость такой нагрузки и соответствие габаритных размеров.

2.15. Проект установки крана может разрабатываться как на отдельных чертежах, так и на чертежах стройгенплана и вертикальной планировки.

2.16. На чертеже стройгенплана необходимо указать:

номер типового проекта кранового пути;

оси привязки направляющих;

участок кранового пути для стоянки крана в нерабочем состоянии;

наличие коммуникаций;

положение и направление уклонов водоотводных канав;

номер и кем выдано удостоверение исполнителю на разработку проекта.

2.17. На чертеже вертикальной планировки (рис П.6.2. Приложение 6) указывается:

конструкция земляного полотна кранового пути;

тип грунта основной площадки, планировочных насыпей - подсыпки, распределительной насыпи;

основные размеры элементов земляного полотна;

направление и величины уклонов;

проектная высотная отметка;

при наличии коммуникаций представить расчет.

В проекте на земляное полотно необходимо указать количество и толщину уплотняемых слоев, уплотняющий механизм и количество проходов уплотнения.

2.18. Размещение путей козловых, башенных и портальных кранов на площадке определяется конструктивной схемой обслуживаемого объекта и технологией производства работ.

2.19. Протяженность кранового пути принимается исходя из условий обслуживания краном всей рабочей зоны, предусмотренной ППРК. Минимальная длина кранового пути определяется из условий его ремонтопригодности при подъеме и рихтовке.

2.20. Проектирование путей портальных кранов производится с учетом всех особенностей грунта и состояния береговых гидротехнических сооружений.

2.21. Основные параметры и размеры кранового пути определяются по формулам:

а) минимальная длина  кранового пути - на полушпалах

                                                                            (1)

из инвентарных секций  где

                                                                             (2)

Lm - длина тупикового упора, м;

Гкр - габарит крана вдоль кранового пути, м;

0,5 - расстояние от тупиковых упора до конца направляющей или середины последней полушпалы, м;

Lзв - длина инвентарного звена, м;

2 - константа;

n - целое число.

б) минимальная длина земляного полотна  м:

                                                              (3)

 - минимальная длина кранового пути, м;

 - ширина плеча балластной призмы, м;

 - ширина плеча земляного полотна, м;

hбп - высота балластной призмы под опорным элементом, м;

2 - коэффициент.

с) минимальная ширина земляного полотна в Bз под одной ниткой кранового пути:

Bз = lоэ + 3hбп + 1200;                                                                          (4)

где lоэ - размер опорного элемента поперек кранового пути, м;

hбп - высота балластной призмы под опорным элементом, м;

1200 - константа, включающая ширину плеч балластной призмы и земляного полотна, м;

3 - коэффициент.

г) Основные показатели верхнего строения пути:

                                                                                     (5)

где  - длина балластной призмы, м;

 - минимальная длина кранового пути, м;

 - ширина плеча балластной призмы;

5 - коэффициент.

Ширина плеча земляного полотна  должна быть не менее 0,4м.

Высота балластной призмы должна быть не менее 0,1м;

Ширина плеча балластной призмы должна быть не менее 0,2 м;

Минимальная ширина балластной призмы (Bбп) определяется по формуле, м:

Bбп = Iоэ + 0,4;                                                                                           (6)

где, 0,4 - константа, включающая две ширины балластной призмы, м.

ж) Объем материала балластной призмы рассчитывается по формуле:

Vб = l,3·2·Lбпhб(Bбп + 0,5hбп)                                                                     (7)

где hбп - требуемая высота балласта под опорным элементами, м;

1,3 - коэффициент, величина, учитывающая уплотнение балласта и его потери при устройстве балластной призмы;

2 - число раздельных балластных призм;

Lбп - длина балластной призмы, м;

3. РЕКОМЕНДАЦИИ ПО УСТРОЙСТВУ НАЗЕМНЫХ КРАНОВЫХ ПУТЕЙ

3.1. Общие рекомендации

3.1.1. Принято, чтобы наземный крановый путь соответствовал проекту, а также положениям "Правил по кранам" (ПБ-10-382-00) и настоящих Рекомендаций.

3.1.2. Наземный крановый путь включает нижнее, верхнее строение и путевое оборудование.

Общий вид (план), продольный и поперечный профиль наземного кранового пути с обозначением основных элементов и размеров показан на рис. П.6.1 (Приложение 6) Примерные поперечные профили крановых путей различных конструкции приведены на рис. П.6.2 - П.6.6 - Приложение 6.

3.1.3. Все отступления от проекта и настоящих Рекомендаций согласовываются владельцем пути с организацией разработчиком проекта и Ростехнадзором.

3.1.4. Все земляные работы, связанные с прокладкой подземных коммуникаций, заканчиваются к началу возведения земляного полотна.

3.1.5. Для обеспечения контроля планово-высотного положения элементов кранового пути в процессе его устройства и эксплуатации он оборудуется знаками геодезической основы - реперами, створными знаками и т.п. Крановые пути, срок эксплуатации которых не превышает один год, могут быть оборудованы временными закрепляющими знаками (репер, створные знаки и т.п.).

3.2. Рекомендации по нижнему строению пути

3.2.1. В состав нижнего строения наземного кранового пути входят земляное полотно и водоотвод.

3.2.2. Каждая нитка верхнего строения наземного кранового пути размещается на самостоятельном или общем земляном полотне.

3.2.3. Перед возведением земляного полотна необходимо выполнить следующие подготовительные работы:

очистить площадку от строительного мусора, посторонних предметов, а в зимнее время, от снега и наледи;

установить на местности разбивочные знаки (оси кранового пути и направляющих, высотные отметки-реперы и полосы отвода).

3.2.4. Земляное полотно возводится из основного или насыпного грунта, или из их смеси. В последнем случае грунт может быть песчаным или однородным с основным. Откосы в месте примыкания насыпного грунта должны быть 1:1,5.

3.2.5. При возведении земляного полотна из насыпного грунта необходимо использовать, местные грунты и отходы металлургических, горнодобывающих и других производств, отвечающих рекомендациям, предъявляемым к грунтам земляного полотна.

3.2.6. Насыпной грунт укладывается слоями с обязательным послойным уплотнением. Способ уплотнения и толщина уплотняемого слоя определяется в зависимости от вида и естественной плотности грунта, а также от вида и типа грунтоуплотняющих машин и оборудования (см. табл. 3.1).

Таблица 3.1.

Зависимость толщины уплотненного слоя грунта от типа уплотняющих машин и механизмов

№ п/п

Тип уплотняющих машин и механизмов

Толщина уплотненного слоя грунта, м

Количество проходов или ударов трамбовки по одному следу

гравелисто-пылеватого

песчано-глинистого

1

2

3

4

5

1.

Трамбовки (свободно-падающие к экскаватору) диаметром (d) и массой (Q):

 

 

 

d = 1,2 м,

 

 

 

Q = 2,5 т;

 

 

 

d = l,4 м,

2,2

2,0

10 - 12

Q = 3,5 т;

 

 

 

d = l,6M,

2,6

2,4

10 - 12

Q = 4,5 т;

3,0

2,7

10 - 12

2.

Катки на пневмашинах массой:

 

 

 

12,5 - 16 т,

0,4

0,3

10 - 12

22,5 - 25 т,

0,5

0,4

10 - 12

30 - 36 т

0,6

0,5

10 - 12

3.

Груженые автомобили

 

 

 

КрАЗ

0,5

0,4

10 - 12

КамАЗ

0,35

0,3

10 - 12

4.

Трамбующие машины:

 

 

 

ДУ-12А, ДУ-12Б

1,2

1,0

2 - 3

Тракторы (бульдозеры):

 

 

 

Т-140, Т-100

0,25

0,2

8 - 10

5.

Вибрационные катки массой:

 

 

 

1,8 - 2,2 т

0,6

-

2 - 3

5 - 8 т

1,0 - 1,2

-

2 - 3

6.

Вибротрамбовки самопередвигающиеся массой 0,1 - 0,35 т

0,2 - 0,4

-

2 - 3

7.

Виброплиты самопередвигающиеся массой 0,15 - 1,4 т

0,3 - 0,9

-

2 - 3

Примечание. 1. В таблице приведены значения толщины слоя уплотненного грунта при оптимальной влажности до коэффициентов уплотнения Кcom = 0,94 - 0,95.

В рыхлом состоянии толщина слоя отсыпаемого грунта принимается больше для гравелистых и песчаных грунтов на 15 - 20 %, а пылевато-глинистого на 20 - 25 %.

Примечание. 2. При уплотнении грунтов до коэффициентов уплотнения Кcom = 0,96 - 0,98, а также при пониженной влажности грунтов толщина уплотненного слоя снижается на 20 - 25 %.

3.2.7. Уплотнение земляного полотна рекомендуется производить при оптимальной влажности фунта (табл. 3.2).

Таблица 3.2.

Оптимальная влажность грунта

Вид фунта

Оптимальная влажность, %

Песок

8 - 12

Супесь

9 - 15

Суглинок

12 - 18

Тяжелый суглинок

15 - 22

Пылеватый суглинок

17 - 23

Глина

18 - 25

Если влажность грунта отличается от оптимальной, то необходимо его доувлажнить или осушить. Влажность грунта определяется по ГОСТ 5180, ГОСТ 30416, ГОСТ 20522.

3.2.8. При возведении земляного полотна на слабых основаниях, водонасыщенных глинистых, лессовых и других просадочных грунтах минимальное возвышение бровки насыпи над уровнем длительного (более 20 дней) стояния поверхностных вод или над уровнем грунтовых вод (в зависимости от вида фунтов земляного полотна и глубины сезонного промерзания) следует принимать согласно таблице 3.3.

Таблица 3.3.

Необходимое возвышение бровки земляного полотна над уровнем поверхностных и грунтовых вод

Грунты земляного полотна

Минимальная величина возвышения бровки земляного полотна над уровнем грунтовых вод или длительного (более 20 дней) стояния поверхностных вод при глубине промерзания  м

1,0

1,5

2,0

2,5 и более

Дренирующие грунты

0,40

0,70

0,90

1,00

Недренирующие грунты: мелкие, пылеватые, пески и супеси

0,70

1,00

1,20

1,35

Суглинки и глины

0,80

1,20

1,35

1,70

Поперечный профиль кранового пути на переувлажненных грунтах на подготовляемом земляном полотне показан на рис. П.6.4 (Приложение 6).

3.2.9. При возведении земляного полотна из недренирующих фунтов на местности с постоянным избыточным увлажнением нижняя часть насыпи устраивается из водостойких фунтов (песок, песчано-гравийная смесь и т.п.) толщиной не менее 200 мм, а на отметке выше горизонта расчетного подтопления на 300 мм следует устраивать капилляропрерывающий слой толщиной не менее 150 мм из гравия и щебня.

3.2.10. Образующиеся на поверхности земляного полотна воды, отводятся с помощью поперечных уклонов поверхности земляного полотна и продольного уклонов водоотводных канав.

Земляное полотно должно иметь одно - или двухскатный профиль с уклоном в сторону водоотводных канав.

3.2.11. Водоотводные канавы с уклоном дна не менее 0,003 следует располагать по обеим сторонам земляного полотна при двускатном и с одной стороны при односкатном земляном полотне и включать в общую систему водоотвода площадки установки крана.

3.2.12. Поперечный уклон земляного полотна, сложенного из недренирующего грунта должен быть в пределах 0,03 - 0,01.

3.2.13. При устройстве земляного полотна допускается отклонение продольного уклона от проектного положения не более 0,005 от длины земляного полотна, а на длине 10 м не более 0,01.

3.2.14. Земляное полотно, сложенное из дренирующего или скального фунта, допускается выполнять горизонтально.

3.2.15. Допускается засыпка водоотвода высокодренирующим материалом (щебнем, гравием, крупнозернистым песком и т.п.).

3.2.16. В песчаных грунтах в районах с жарким климатом водоотводы для земляного полотна можно не устраивать.

3.2.17. Водопонижение и удаление поверхностных вод с земляного полотна допускается производить с помощью дренажа.

3.2.18. Отвод поверхностных вод с крановых путей, выполненных на уровне с проезжей частью, производится с помощью ливневой канализации или общего уклона.

3.2.19. До начала работ по устройству верхнего строения кранового пути заезд машин и механизмов на подготовленное земляное полотно запрещается.

3.2.20. При возведении земляного полотна из насыпного фунта не допускается:

применять грунты с примесью строительного мусора, древесных отходов, гниющих или подверженных набуханию включений, льда, снега, дерна;

применять недренирующий грунт (глину, суглинок) в смеси с дренирующим;

прикрывать слой высокодренирующего грунта грунтом с меньшей дренирующей способностью;

укладывать мерзлый грунт, а также талый в смеси с мерзлым;

уплотнять грунты поливкой воды в зимнее время;

возводить полотно во время интенсивного снегопада без принятия мер по защите насыпного грунта от включений снега;

3.2.21. Плотность (объемная масса скелета) сухого грунта земляного полотна выемки и нулевого места должна быть не менее, в г/см3 для:

мелких и пылеватых песков - 1,7;

супесей и суглинков - 1,65;

тяжелых суглинков - 1,55;

пылеватых суглинков - 1,5;

глин - 1,5.

Коэффициент уплотнения насыпного грунта земляного полотна может соответствовать значениям приведенным в таблице 3.4. Грунт земляного полотна необходимо доуплотнить, если полученные значения менее приведенных в таблице.

Таблица 3.4.

Коэффициент уплотнения насыпного грунта земляного полотна

п/п

Вид грунта в распределительной подсыпочной насыпи

Значения коэффициентов уплотнения Кcom грунтов при нагрузке от колеса на рельс КН (тс)

180 - 220

(18 - 22)

221 - 260

(22,1 - 30)

261 - 30

(26,1 - 30)

> 300

(> 30)

1

2

3

4

5

6

1

Распределительные насыпи:

 

 

 

 

Песчаные грунты

0,94

0,95

0,96

0,96

Пылевато-глинистые грунты

0,95

0,96

0,97

0,97

2

Планировочные и подсыпочные насыпи:

 

 

 

 

Песчаные грунты

0,93

0,94

0,95

0,95

Пылевато-глинистые грунты

0,94

0,95

0,96

0,96

3.2.22. Если в процессе уплотнения не достигнута требуемая плотность грунта, то подготовка земляного полотна проводится по специальному проекту, согласованному с ведущей организацией.

3.2.23. Проверку плотности грунта земляного полотна следует производить по проектным осям направляющих в соответствии с ГОСТ 19912, ГОСТ 2006, ГОСТ 12248, ГОСТ 30416, ГОСТ 20522 или другим методом, обеспечивающим получение требуемой точности результата. При устройстве путей с деревянными полушпалами плотность грунта следует проверять не реже чем через 12,5 м, при устройстве путей с железобетонными балками - под каждой балкой. Результаты проверки необходимо заносить в акт приемки-сдачи земляного полотна в эксплуатацию (Приложение 1 к Паспорту).

3.2.24. Определение высотного положения земляного полотна следует производить по проектным осям направляющих с шагом не более 5 м и параллельными замерами через 1 м, с целью определения уклонов земляного полотна.

3.2.25. Результаты замеров необходимо заносить в акт сдачи-приемки земляного полотна под устройство верхнего строения кранового пути (Приложение 1 к Паспорту).

3.2.26. Доувлажнение грунтов, в необходимых случаях может выполняться только в теплое время года расчетным количеством воды ее разбрызгиванием из шланга или поливочной машины по всей поверхности отсыпного грунта.

Для равномерного распределения и впитывания воды грунт перемешивается и выдерживается в течение 0,5 - 2 суток.

Если на подготовленной поверхности под земляное полотно окажется разуплотнение или разжиженный пылевато-глинистый грунт, первый слой следует отсыпать из щебенистого или гравелистого грунта пониженной влажности и уменьшенной толщины (до 0,6 - 0,8 от рекомендуемой по таблице 3.1).

3.2.27. Разнородные по составу грунты в планировочные и подсыпочные насыпи допускается отсыпать слоями таким образом, чтобы в состав грунта в каждом слое был достаточно однородным.

Допускается отсыпать непучинистые (песчаные и т.п.) грунты на промороженную в процессе возведения поверхность земляного полотна при условии, что:

толщина промерзшего слоя песчаного грунта не превышает 0,3 м, а пылевато-глинистого - 0,2 м;

влажность в мерзлом состоянии песчаного грунта не превышает 0,12Wp а пылевато-глинистого - 0,9Wp (Wp - влажность на пределе пластичности);

исключается дальнейшее увеличение глубины промерзания грунтов основания в процессе возведения земляного полотна. При отсыпке земляного полотна допускается использование грунтов, включающих комья мерзлого грунта, размером не более толщины отсыпаемого слоя, которые равномерно распределяются в отсыпаемом слое и располагаются не ближе 1 м от откоса насыпи земляного полотна.

3.2.28. Уплотнение грунтов укаткой осуществляется по всей площади отсыпанного слоя не менее чем в 2 следа катками и в 3 следа гружеными автомобилями и факторами с перекрытиями следов на 10 - 15 см. Число проходов грунтоуплотняющих машин по каждому следу рекомендуется одинаковым. Механизм для уплотнения выбирается в зависимости от ширины земляного полотна.

Уплотнение выполняют в 2 - 3 этапа с 3 - 4 проходами грунтоуплотняющего механизма по каждому следу.

При уплотнении грунтов укаткой необходимо повышенное внимание обращать на равномерность уплотнения по всей площади и особенно по ее краям, торцам, углам. В этих местах количество проходов механизмов необходимо увеличивать на 15 - 20 % по сравнению с приведенными в таблице 3.1 или производить доуплотнение грунта трамбованием.

3.2.29. Уплотнение грунтов трамбованием производится путем свободного сбрасывания трамбовки с высоты 3 - 6 м.

3.2.30. Трамбование грунта следует выполнять отдельными участками с одной стоянки в один - три следа ударом трамбовки вдоль котлована (траншеи). На каждом участке рекомендуется производить уплотнение в несколько этапов по 2 - 6 ударов трамбовки по каждому следу с последующем смещением каждого следа на 0,9 - 0,8 диаметра трамбовки. Количество этапов и число ударов в них назначается для уплотнения до отказа, устанавливаемых при опытном уплотнении.

3.2.31. После каждого этапа трамбования отдельных бугров на уплотненной поверхности выравнивают легкими ударами трамбовки, сбрасываемой с высоты 1 - 1,5 м.

3.2.32. Уплотнение грунта на каждом участке производится до расчетного отказа до тех пор, пока понижение уплотненной поверхности не уменьшится за один проход или удар до величины отказа равной Sa = 1 - 3 см, которая уточняется по результатам опытных работ.

В тех местах, где в процессе уплотнения из под трамбовки будет происходить интенсивное разжижение и выпирание переувлажненного грунта, его необходимо выбрать на 0,4 - 0,6 требуемой глубины уплотнения, а образовавшиеся приямки засыпать местным пылевато-глинистым грунтом с влажностью близкой к оптимальной.

После замены переувлажненного пылевато-глинистого грунта менее влажным, уплотнение грунтов продолжается до достижения требуемого отказа. Высота засыпки маловлажного грунта принимается на 15 - 20 % больше глубины приямков с учетом уплотняемой поверхности при трамбовании.

3.2.33. На границах между насыпным грунтом и грунтом природного залегания уплотнение производится до расчетного отказа Sa < 1 - 3 см, уплотняемого по результатам опытных работ, но при этом количество ударов трамбовки по одному следу рекомендуется не менее 6.

Количество этапов и число ударов в них, необходимых для уплотнения до предела, устанавливают в соответствии с данными, полученными при опытном уплотнении.

3.2.34. В процессе уплотнения грунтов укаткой и трамбованием необходимо:

обеспечить ровную поверхность планировки;

исключить переувлажнение уплотненных грунтов;

обеспечить сток с них поверхностных вод;

не допускать разуплотнения ранее уплотненных грунтов при движении механизмов в процессе устройства верхнего строения пути;

обеспечить минимальные расстояния от уплотняющих машин и механизмов до строительных конструкций, соответствующие данным таблице 3.5.

вести журнал производства работ;

не выполнять работы по устройству земляного полотна при среднесуточной температуре ниже - 15 °С;

не допускать длительные перерывы между отсыпкой и уплотнением грунтов, при которых может произойти промерзание на глубину более 5 см при их укатке и 20 см при трамбовании.

Таблица 3.5.

Минимальные расстояния от уплотняющих машин и механизмов до строительных конструкций

Уплотняющие машины и механизмы, тип и марка

Масса уплотняющих машин и механизмов, кг

Минимальное расстояние от уплотняющих строительных конструкций l (см) и толщина отсыпаемого слоя грунта над конструкциями (h0), в зависимости от соотношения масс строительных конструкций M (кг) и уплотняющих машин и механизмов, m, кг

Mm

M ≤ 5m

M ≤ 10m

 

 

l

h0

l

h0

l

h0

1

2

3

4

5

6

7

8

Гидромолоты (навесные на экскаваторы)

 

 

 

 

 

 

 

ГПМ-120

275

25

50

20

40

20

30

СП-62

2000

60

90

40

90

20

80

СП-71

50

50

70

30

70

20

60

Трамбовки (свободно падающие, подвесные к экскаватору) диаметром:

 

 

 

 

 

 

 

1,2

2500

120

160

60

150

40

140

1,4

3500

140

180

70

170

40

160

1,6

4500

160

200

80

190

40

180

Виброплиты (подвешенные к крану или экскаватору)

 

 

 

 

 

 

 

ВПП-2

2650

50

100

40

80

20

80

ВПП-3

1500

40

80

35

60

20

60

ВПП-5

1500

35

80

30

60

20

60

ВПП-6

950

30

60

25

50

20

50

Вибротрамбовка (подвесная к крану или экскаватору)

 

 

 

 

 

 

 

ПВТ-3

2600

50

120

20

100

20

80

Виброплиты самопередвигающиеся

 

 

 

 

 

 

 

SVP-12,5

150

10

30

5

20

5

20

SVP-25

270

15

40

10

30

5

30

SVP-31,5

500

20

50

10

40

5

40

SVP-63,1

700

25

60

15

50

5

50

BSD-31,5

1100

30

80

20

70

5

70

BSD-63

1400

35

90

25

80

5

80

GSD-22

200

15

40

10

90

5

30

Трамбовки электрические

 

 

 

 

 

 

 

ИЭ-4504

130

20

50

5

35

5

35

ИЭ-4502А

80

10

40

5

25

5

25

ИЭ-4505

28

5

15

5

10

5

10

Вибротрамбовки самопередвигающиеся

 

 

 

 

 

 

 

ВУТ-5

100

10

30

5

20

5

20

ВУТ-4

200

15

40

5

30

5

30

ВУТ-3

350

20

50

5

40

5

40

СВТ-ЗМП

350

20

50

5

40

5

40

3.2.35. Превышение земляного полотна по оси одной нитки верхнего строения кранового пути над другой в одном поперечном сечении не может превышать 100 мм.

3.2.36. Работы по устройству земляного полотна в зимнее время следует выполнять с учетом:

отсыпки в земляное полотно только маловлажных песчаных, а также пылевато-глинистых грунтов с влажностью Wp не выше 0,9 от влажности на пределе пластичности;

выполнения работ по отсыпке, разравниванию, уплотнению и контролю качества с высокой интенсивностью без перерывов, благодаря чему практически исключается смерзание грунтов в процессе производства работ.

При производстве работ в зимнее время не рекомендуется отсыпать пылевато-глинистый грунт во время обильных снегопадов.

3.2.37. Контролируемые показатели предельных отклонений, объемов и методов контроля при устройстве земляного полотна приведены в табл. 3.6.

Таблица 3.6

Контролируемые показатели земляного полотна

п/п

Технические рекомендации

Предельные отклонения

Контроль (метод, объем)

1

2

3

4

1.

Вид и характеристика вскрытого грунта естественного сложения земляного полотна (I тип)

Должны соответствовать рекомендациям проекта и технических условий

Технический осмотр всей поверхности земляного полотна.

2.

Вид и характеристика грунта основания земляного полотна (II - V типы)

Должны соответствовать рекомендациям проекта и техническим условиям

Технический осмотр всей поверхности земляного полотна.

3.

Вид грунта для устройства распределительной, подсыпочной планировочной насыпей.

Должны соответствовать рекомендациям проекта и техническим условиям

Технический осмотр всей поверхности земляного полотна.

4.

Содержание в грунте, предназначенном для устройства распределительной и планировочной насыпей:

 

 

а) древесины, бытового мусора и др. гниющих материалов;

Не допускается

Ежесменный, визуальный

б) органических веществ;

Не должно превышать 0,5 % (по массе)

Измерительный, по указаниям проекта, но не реже одного на каждые 1 тыс. м грунта и не менее двух на весь объем.

в) комьев мерзлого грунта;

Не должно превышать 15 %

Визуальный, периодический по указаниям проекта.

г) крупных включений твердых материалов;

Не должно превышать 30 %

Визуальный периодический по указаниям проекта

5.

Наличие снега, льда в основаниях земляного полотна, а также в распределительных подушках и подсыпках

Не допускается

Визуальный периодический по указаниям проекта

6.

Влажность отсыпаемого грунта в распределительной планировочной и подсыпочной насыпях

Должна быть в пределах, установленных проектом. Допускаются отклонения значений влажности от проектных не более 10 % от общего количества определений

Измерительный, по указаниям проекта, но не менее одного определения влажности на 1 - 2 тыс.м3 фунта и не менее двух на весь объем

7.

Средний по проверяемому участку коэффициент уплотнения грунта Кcom в распределительной подушке и планировочной насыпи-подсыпке

Не ниже проектного. Допускается снижение значений Кcom ниже проектных или приведенных в табл. 3.4 на 0,02 и не более 20 % от общего количества определений

 

8.

Средняя по проверяемому участку плотность сухого грунта (d)

Не ниже проектной. Допускаются значения d ниже проектной, но не более, чем на 0,05 т/м в количестве, не превышающем 20 % от всех определений

Измерительный по указаниям проекта, но не менее одного определения влажности на 1 - 2 тыс. м3 грунта и не менее двух на весь объем

9.

Средняя по проверяемому участку величина отказа Sa при контрольном уплотнении

Не ниже величины, полученной при опытном уплотнении. Допускается снижение Sa не более чем на 50 % в пылевато-глинистых грунтах с повышенной влажностью

Измерительный, по указаниям проекта, п. 3.2.32 и п. 3.2.33 настоящих Рекомендаций

10.

Отклонение отметок верха земляного полотна от проектного положения

±50 мм

Измерительный, по указаниям проекта п. 3.2.13 и п. 3.2.14 настоящих Рекомендаций

11.

Отклонение от проектного положения продольною профиля (уклона) земляного полотна

+0,0013

Измерительный, по указаниям проекта, п. 3.2.13 настоящих Рекомендаций

12.

Отклонение от проектного положения поперечного уклона земляного полотна

+0,001

Измерительный, но указаниям проекта, п. 3.2.12 настоящих Рекомендаций

13.

Отклонение размеров земляного полотна от проектного:

 

Измерительный по крайним точкам земляного полотна

а) по длине

-500 мм

б) по ширине

-250 мм

3.2.38. Все фактические показатели, характеризующие земляное полотно, заносятся в паспорт кранового пути. (Приложение 4).

3.3. Рекомендации по верхнему строению наземного кранового пути

3.3.1. В состав верхнего строения наземного кранового пути входят:

балластная призма;

опорные элементы; направляющие;

стыковые и промежуточные скрепления.

Геометрические параметры, размеры и условные обозначения элементов верхнего строения пути приведены в Приложении 7.

3.3.2. Балластная призма обеспечивает стабильное положение нитей направляющих крановых путей и передает давление от опорных элементов на земляное полотно.

3.3.3. Перед устройством балластной призмы необходимо определять гранулометрический состав балластных материалов. Результаты проверки необходимо занести в паспорт кранового пути.

3.3.4. В качестве материала балластной призмы наземных крановых путей следует применять щебень из природного камня по ГОСТ 7392, гравий или гравийно-песчаную смесь, крупный или мелкозернистый песок по ГОСТ 7394, а та еже гранулированные и доменные шлаки, гранулометрический состав которых приведен в таблице П.5.5. Приложения 5.

Использование металлургических шлаков не рекомендуется.

3.3.5. Минимальную высоту балластной призмы принимают не менее 100 мм (см. п. 2.21) Высоту плеча балластной призмы для полушпал принимают не менее 2/3 их высоты, а для балок и плит - не менее 50 мм.

3.3.6. До начала отсыпки балластного материала на подготовленном земляном полотне устанавливают разбивочные оси нитей направляющих кранового пути, в соответствии с ранее закрепленными геодезическими знаками.

3.3.7. В балластном слое не допускается наличие примесей, загрязнение и засорения.

3.3.8 Балластные призмы следует устраивать с равномерным уплотнением по всей площади.

3.3.9. При устройстве балластной призмы из гранулированного или доменного шлаков ее боковые откосы принимают - 1:1,2 - 1,5; при устройстве из щебня и гравия - 1:1 - 1,5.

3.3.10. Песчаный балласт в летнее время допускается уплотнять поливкой распыленной струей воды.

3.3.11. Работы по устройству балластных призм в зимнее время организовывают таким образом, чтобы балласт был доставлен, уложен и уплотнен до его смерзания (таблица 3.8).

Таблица 3.8.

Время смерзания балластного материала

Температура окружающего воздуха, °С

Время до начала смерзания, мин.

-5

90 - 100

-10

60 - 80

-20

40 - 50

-30

30 - 40

3.3.12. При устройстве путей в ветровых районах IV и VII категорий по ГОСТ 1451 боковые стороны балластного слоя из песка, гранулированного шлака рекомендуется ограждать или укреплять не выветриваемым балластным материалом

3.3.13. На земляное полотно, состоящее из недренирующих грунтов, перед укладкой балластной призмы из щебня или гравия высотой не менее 300 мм дополнительно насыпается песчаная подушка высотой не менее 100 мм.

3.3.14. При укладке балластной призмы на увлажненное земляное полотно высоту балластного слоя под опорными элементами следует увеличивать в соответствии с данными, приведенными в таблице 3.9.

Таблица 3.9

Высота балластной призмы на увлажненном земляном полотне

Грунты

Степень влажности фунта

Увеличение высоты, %

Маловлажные

до 0,5

10

Влажные

от 0,5 до 0,8

15

Насыщенные

от 0,8 до 1,0

20

3.3.15. Опорные элементы направляющих могут выполняться в виде шпал, полушпал, продольных балок, плит, рам, монолитных железобетонных оснований, изготавливаемых по соответствующим ТУ (Приложение 7).

3.3.16. Опорные элементы в соответствии с настоящими рекомендациями следует применять в путях для кранов с вертикальной расчетной нагрузкой на колесо:

деревянные полушпалы - до 260 кН;

железобетонные полушпалы - до 325 кН;

продольные железобетонные элементы (балки, монолитные ленты) - 325 кН и более.

3.3.17. Железобетонные опорные элементы (полушпалы и продольные балки) рассчитываются в соответствии с рекомендациями СНиП 2.03.01.

3.3.18. Рекомендуемые размеры опорных элементов*:

а) длина:

деревянных полушпал - 1300 мм;

железобетонных полушпал - 1000 мм;

продольных железобетонных балок - 6230 мм;

б) ширина:

монолитных железобетонных лент - 400 мм;

продольных железобетонных балок - 800 мм;

продольных железобетонных элементов (балок) - 800 мм;

*могут применяться опорные элементы, имеющие и другие размеры обоснованные расчетами.

3.3.19. Расстояние по осям полушпал в расчетах следует принимать не менее 500 мм и не более 1000 мм.

3.3.20. Деревянные полушпалы для крановых путей рекомендуется изготавливать путем распиливания на две равные части деревянных шпал железных дорог широкой колеи по ГОСТ 78 с последующим антисептированием торцов.

Допускается изготавливать деревянные шпалы из брусьев ГОСТ 8486 из древесины хвойных пород (сосны, ели, пихты, лиственницы), а также из березы. Полушпалы, изготовленные из древесины, рекомендуется пропитывать антисептиком "Уранит".

3.3.21. Количество опорных элементов определяется исходя из длины кранового пути и расчетного расстояния между осями полушпал для крановых путей с полушпалами или исходя из длины продольной железобетонной балки для крановых путей с железобетонными балками.

3.3.22.В качестве направляющих применяются:

новые железнодорожные рельсы Р43 - ГОСТ 7173, Р50 - ГОСТ 7174, Р65 - ГОСТ 8161, Р-75 ГОСТ 16210 (рис П.7.1, таблица П.7.1, Приложение 7).

Старогодные железнодорожные рельсы I и II групп годности, прошедшие проверку и ремонт на предприятиях МПС, удовлетворяющие рекомендациям и имеющие сопроводительную документацию в соответствии с классификацией "Технических указаний об использовании старогодных рельсов на железных дорогах широкой колеи";

рельсы типа КР 70, КР 80, КР 100, КР 120, КР 140 по ГОСТ 4121 (см. рис П.7.1 (б), таблица П.7.1, Приложение 7).

3.3.23. Тип и сечение направляющих должны выбираться в зависимости от грузоподъемности и режима работы крана.

Количество направляющих определяется исходя из длины кранового пути.

3.3.24. Для исключения боковых и продольных смещений направляющих (при работе крана) их необходимо крепить с помощью стыковых и промежуточных скреплений, которые допускается выполнять разъемными и неразъемными (рис. П.7.2 и П.7.4, Приложение 7).

3.3.25. Для направляющих типа Р43, Р50, Р65, Р75 в качестве разъемных стыковых скреплений применяют двухголовые четырех - или шестидырные железнодорожные накладки (рис П.7.2, П.7.3, приложение 7) по ГОСТ 7173, ГОСТ 19128, ГОСТ 8193, одновитковые пружинистые шайбы по ГОСТ 19115, стыковые болты по ГОСТ 11530, ГОСТ 8193 и гайки по ГОСТ 11532.

3.3.26. Для направляющих типа КР 70, КР 80, КР 100, КР 120, КР 140 стыковые скрепления должны выполняться в виде специальных накладок (рис П.7.5, таблица П.7.3, приложение 7), болтов, гаек (ГОСТ 5915) и шайб (ГОСТ 11371).

3.3.27. Накладки для КР 70, КР 80, КР 100 изготавливаются из стали марок Ст 3 пс 6 - 1 по ТУ 14-1-3023, а для КР 120 и КР 140 из 09Г2С - 12 по ГОСТ 19282.

3.3.28. Болты следует применять по ГОСТ 7798 в соответствии с СНиП II-23 "Стыковые конструкции применительно к конструкциям, не рассчитываемым на выносливость".

3.3.29. Количество стыковых скреплений определяется исходя из длины кранового пути и количества направляющих.

3.3.30. Неразъемные стыковые скрепления выполняются в соответствии с ТУ.

3.3.31. Для прикрепления направляющих к опорным элементам применяют промежуточные скрепления, состоящие из подкладок, прижимов и прикрепителей.

3.3.32. Под направляющие на деревянные полушпалы следует устанавливать плоские металлические подкладки с отверстиями для путевых шурупов или костылей.

3.3.33. Подкладки необходимо располагать попеременно: то внутрь, то наружу одним отверстием по отношению к оси направляющих нитей крановых путей.

3.3.34. Конструкции промежуточных скреплений кранового пути с деревянными полушпалами показаны на Рис П.7.13 Приложение 7.

3.3.35. Промежуточные скрепления на железобетонных опорных элементах могут выполняться жесткими или упругими, общий вид которых приведен на рис. П.7.12. (Приложения 7).

3.3.36. Количество комплектов промежуточных скреплений равно количеству полушпал при крановом пути с полушпалами или определяется в зависимости от расстояний между узлами прикрепления направляющих к продольным опорным элементам.

3.3.37. Перед сборкой элементы верхнего строения (направляющие, промежуточные скрепления, опорные элементы направляющих и стыковые накладки) проверяются (по паспортам или сертификатам) на соответствие их качества рекомендациям ГОСТ и ТУ

3.3.38. Полушпалы располагают перпендикулярно оси направляющей и крепят к последней полным комплектом промежуточных скреплений.

3.3.39. Расстояние между осями полушпал может соответствовать принятому в проекте. Допускается отклонение расстояния между осями полушпал до ±50 мм.

3.3.40. В деревянных полушпалах для шурупов и костылей следует сверлить отверстия диаметром 12 и глубиной 130 мм для костылей или диаметром 18 и глубиной 155 мм для путевых шурупов.

3.3.41. Общий вид и размеры подкладок, устанавливаемых под направляющие на деревянных полушпалах, показаны на рис. П.7.10 и в таблице П.7.5 Приложения 7. При установке направляющих на деревянных полушпалах допускается использовать железнодорожные подкладки по ГОСТ 12135 с фрезеровкой уклона или затеской мест установки подкладок с уклоном 1:20.

3.3.42. Под направляющие на железобетонные опорные элементы рекомендуется устанавливать прокладку из листа ОМБ-С1-10 по ГОСТ 7378 толщиной 10 - 12 мм. Допускается применение упругой прокладки изготовленной из транспортерной ленты толщиной 10 - 12 мм.

3.3.43. Направляющие к деревянным полушпалам следует прикреплять через прокладки путевыми шурупами по ГОСТ 809 или костылями по ГОСТ 5812 с прижимами. Общий вид и размеры прижимов представлены на рис. П.7.11. в таблице П.7.6. Приложение 7.

3.3.44. Для предохранения шурупов от самовывинчивания в отверстия полушпал перед закручиванием шурупов рекомендуется заливать расплавленный тугоплавкий битум.

3.3.45. Не допускается:

прикреплять направляющие к деревянным полушпалам шурупами без установки прижимов и забивать шурупы молотком;

приваривать направляющую к закладным деталям железобетонных опорных элементов.

3.3.46. Стыки направляющих следует располагать между опорными элементами. Величина зазора в стыке между направляющими не должна превышать 12 мм.

3.3.47. Смещение стыка одной нити кранового пути относительно другой в одном поперечном сечении не должно превышать ±20 мм.

3.3.48. Стыки должны быть закреплены полным числом смазанных болтов, установленных поочередно внутрь и наружу гайками.

3.3.49. Допуски на устройство верхнего строения кранового пути приведены в Приложении 12.

3.3.50. На крановом пути следует предусматривать участок длиной не менее 1,5 базы крана для стоянки крана в нерабочее время. Около участка выставить табличку: "Место стоянки крана". Допускаемые продольные и поперечные уклоны участка стоянки крана в не рабочее время могут быть не более 0,002, но разность отметок головок направляющих в одном поперечном сечении при этом не может превышать 40 мм.

3.3.51. По окончании сборки верхнего строения необходимо произвести геодезическую съемку, выполнить рихтовку и выправку крановых нитей.

3.3.52. По окончании устройства верхнего строения кранового пути необходимо восстановить для постоянного пользования створные линии с метками на расстоянии 0,5 м от проектной оси нити направляющей. После устройства верхнего строения кранового пути и установки путевого оборудования, необходимо составить акт приемки кранового пути под монтаж крана (Приложение 1 к Паспорту).

3.4. Рекомендации по путевому оборудованию

3.4.1. В состав путевого оборудования входят:

четыре тупиковых упора;

два ограничителя передвижения;

лотки для предотвращения износа токоподводящего кабеля;

заземление;

ограждение (для башенных кранов);

стяжки для колеи менее 8 м (для башенных кранов);

комплект знаков безопасности.

3.4.2. На концах направляющих крановою пути устанавливаются четыре тупиковых упора, расстояние oт которых от оси последней полушпалы или от крайней точки направляющей на опорном элементе, может быть не менее 500 мм

3.4.3. Тупиковые упоры обеспечивают гашение остаточной скорости и предотвращение схода крана с путей в аварийных ситуациях. После аварийного наезда упоры подвергаются полному техническому освидетельствованию, о чем делается запись в паспорте тупиковых упоров (Приложение 9) На рис П.8.1 (а, б, в) и Приложения 8 показаны конструкции тупиковых упоров ударного и безударного типа, которые применяются в зависимости от типа, грузоподъемности и конструкции крана.

Тупиковые упоры необходимо крепить на направляющую в сечении, перпендикулярном оси кранового пути с учетом допускаемых отклонений в соответствии с Приложением 9.

3.4.4. При подходе к тупикам кран может одновременно касаться двух тупиков.

3.4.5. При ограничении зоны действия крана могут устанавливаться дополнительные тупиковые упоры и ограничители передвижения.

3.4.6. Комплект тупиковых упоров включает четыре тупиковых упора и паспорт (Приложение 9), в котором указаны завод-изготовитель, заводские номера, год выпуска и тип крана, для которых рекомендуется применять тупиковые упоры данной конструкции.

3.4.7. Помимо тупиковых упоров, для своевременного отключения механизма передвижения крана на конечных участках кранового пути необходимо устанавливать ограничители передвижения.

3.4.8. Тип и конструкция ограничителей передвижения выбираются в зависимости от типа установленного на кране концевого выключателя.

3.4.9. Показанные на рис. П.8.3 (Приложения 8) ограничители в виде линейки с концевым выключателем тина КУ-701 и в виде копира с концевым выключателем тина КУ-704, могут применяться на крановых путях независимо от конструкции опорных элементов.

3.4.10. Ограничители передвижения необходимо устанавливать таким образом, чтобы отключение двигателей механизма передвижения крана происходило на расстоянии полного пути торможения крана до тупиковых упоров.

3.4.11. Если в паспорте крана отсутствует указание о пути торможения крана, длину линейки принимают равной не менее 1200 мм.

3.4.12. Тупиковые упоры и ограничители передвижения изготавливаются в соответствии с ТУ и рабочими чертежами и маркой крана, эксплуатирующегося на данном крановом пути.

3.4.13. Тупиковые упоры и ограничители передвижения изготавливает специализированная организация, имеющая разрешение на серийное, несерийное повторяющееся и единичное производство подъемных сооружений, их узлов, механизмов, устройств, станций управления, систем защиты приборов безопасности и сменных грузозахватных органов.

3.4.14. Во избежание попадания токоподводящего кабеля на направляющие рекомендуется:

для кранов с кабельным барабаном - спланировать грунт на уровне верха полушпал (железобетонной балки) или установить специальный лоток из деревянных или полимерных материалов;

для кранов без кабельного барабана - установить специальный лоток.

Общий вид и основные установочные размеры лотков приведены на рис П.8.2 Приложения 8.

3.4.15. Инвентарные секции кранового пути башенных кранов необходимо попарно связывать не менее чем одной поперечной стяжкой.

3.4.16. Стяжки должны изготавливаться либо из стальных груб - ГОСТ 3265, либо швеллера - ГОСТ 8240 или уголка - ГОСТ 8509.

3.4.17. Размеры и детали прикрепления стяжек к инвентарным секциям крановых путей показаны на рис П.8.4 Приложения 8.

3.4.18. Для крановых путей портальных и козловых кранов стяжки не применяются.

3.4.19. Крановый путь оборудуется системой заземления (рис П.8.5 Приложение 8).

3.4.20. Устройство заземления наземных крановых путей необходимо выполнять в соответствии с рекомендациями ПУЭ.

3.4.21. При выполнении заземления необходимо обеспечить непрерывность электрической цепи, для чего направляющие в начале и конце пути, а также на стыках надежно соединяются перемычками, из круглой (6 - 9 мм) или полосовой стали с площадью сечения не менее 48 мм2. Перемычки приваривают к промежуточной пластине, привариваемой по нейтральной оси направляющей.

3.4.22. При длине кранового пути более 100 п.м. поперечные перемычки между направляющими устанавливаются через каждые 50 м.

3.4.23. Заземление выполняется в виде контура из располагаемых по прямой линии или треугольником трех стержней, в качестве которых следует применять трубы диаметром 50 - 70 мм, сталь угловую 50×50 мм и 60×50 мм или сталь круглую диаметром 10 - 20 мм и длиной 2 - 3 м.

Заземлители необходимо забивать или завинчивать в предварительно вырытую траншею глубиной от 300 до 700 мм таким образом, чтобы выступали концы на 100 - 200 мм, к которым привариваются соединительные проводники. Перед засыпкой траншеи необходимо составить акт сдачи-приемки заземления пути (Приложение 1 к Паспорту), а выступающие концы заземлителей и приваренные к ним проводники необходимо окрасить в черный цвет.

3.4.24. Соединение путей с заземлителем необходимо выполнять двумя проводниками с помощью сварки внахлест. Качество сварки следует проверить ударами молотка.

3.4.25. После устройства заземления необходимо проверить сопротивление растеканию тока заземляющей системы.

3.4.26. Оно может быть для питающей электрической сети 3-х фазного тока напряжением 380 В с глухозаземленной нейтралью не более 10 Ом, а с изолированной нейтралью - не более - 4 Ом.

3.4.27. Сопротивление заземления и удельное сопротивление грунта можно измерять любым современным прибором (тип М416, рис. П.8.3 г, Приложение 8). Результаты проверки необходимо занести в акт сдачи-приемки заземления пути (Приложения 1 к Паспорту).

3.4.28. Места стоянки кранов в нерабочее время в зонах с повышенными ветровыми нагрузками 4 - 7 зона ГОСТ 1451 ив районах с повышенной сейсмичностью 4 - 5 балов оборудуются специальными противоугонными устройствами согласованными Ростехнадзором.

3.4.29. Вдоль кранового пути необходимо выставлять знаки безопасности с поясняющими табличками: "Входить на крановый путь посторонним запрещается", "Место стоянки крана", выполненные по ГОСТ 12.4.026.

3.4.30. Места расположения знаков безопасности следует выбирать согласно ППPK.

3.4.31. Для предупреждения травматизма при хождении по путям рабочих, в т.ч. и стропальщиков во время работы башенного крана, согласно рекомендациям Правил по кранам, крановые пути могут иметь ограждение но ГОСТ 23407 или согласно ППРК.

3.4.32. Сведения об установленном путевом оборудовании необходимо занести в паспорт кранового пути.

4. ПОДГОТОВКА И ПРОВЕДЕНИЕ ПРИЕМО-СДАТОЧНЫХ ИСПЫТАНИЙ КРАНОВОГО ПУТИ

4.1. Подготовка к приемо-сдаточным испытаниям включает полное комплексное обследование пути с определением упругой просадки кранового пути, величина которой не превышает значений указанных в паспорте кранового пути (Приложение 4).

4.2. Величина упругой просадки определяется по методике приведенной в приложении 10.

В случае превышения указанных значений величины упругой просадки необходимо произвести дополнительное уплотнение балластного слоя и подбивку опорных элементов.

4.3. После чего следует не менее 20 раз обкатать путь краном без груза и произвести планово-высотную съемку (нивелировку) кранового пути по головке направляющей, а после чего произвести рихтовку-выправку пути и не менее 5 раз обкатать краном с максимальным рабочим грузом и вновь произвести нивелировку, а после чего провести рихтовку-выправку просевших участков пути, если они выявлены.

4.4. Контроль планово-высотного положения с записью в паспорт кранового пути производит организация, имеющая право на проведение данного вида работ.

4.5. После обкатки крановый путь, снабженный комплектом технической документации, предъявляется к приемо-сдаточным испытаниям.

4.6. Приемо-сдаточные испытания предназначены для оценки качества выполненных работ по устройству крановых путей, его соответствия технической документации и принятию решения о вводе пути в эксплуатацию.

4.7. Приемо-сдаточные испытания проводятся приемочной комиссией, в состав которой входят представители заказчика (основного потребителя), разработчика проекта пути и исполнителя работ, а также эксперты сторонних организаций и органов, осуществляющих надзор за безопасностью.

4.8. Председателем комиссии назначается представитель заказчика.

4.9. При приемке кранового пути приемочной комиссии представляется комплект технической документации:

проект и паспорт кранового пути;

паспорта или сертификаты, инструкции по эксплуатации, описания, рабочие чертежи и другая документация на поставленные материалы и комплектующие изделия, требующие совместного рассмотрения;

проект производства работ краном (ППРК);

акт комплексного обследования (Приложение 15).

4.10. При приемке кранового пути комиссия проверяет систему организации на предприятии службы надзора и обслуживания крановых путей.

4.11. В процессе приемки необходимо определить упругую просадку кранового пути (Приложение 10), рекомендованная величина которой соответствует Таблице П.5.4 Приложения 5.

При определении величины упругой просадки номинальный груз необходимо располагать в крайнем положении со стороны проверяемой направляющей.

4.12. Рекомендуется выполнить геодезическую съемку планово-высотного положения крановых путей.

4.13. Результаты рассмотрения технической документации, испытаний и обследований крановых путей заносятся в паспорт кранового пути, который окончательно заполняется владельцем кранового пути сразу же после сдачи его в эксплуатацию. (Приложение 4).

4.14. Решение о вводе кранового пути в эксплуатацию утверждается председателем комиссии и оформлено в паспорте. (Приложение 4).

4.15. Подписанный и утвержденный паспорт кранового пути является неотъемлемой частью документации на крановый путь и означает, что его эксплуатация разрешена.

4.16. Приемо-сдаточные испытания кранового пути рекомендуется совмещать со статическими и динамическими испытаниями крана при его полном техническом освидетельствовании.

5. РЕКОМЕНДАЦИИ ПО ЭКСПЛУАТАЦИИ НАЗЕМНЫХ КРАНОВЫХ ПУТЕЙ

5.1. Эксплуатация наземных крановых путей осуществляется в соответствии с ПБ-10-382-00 "Правила по кранам" и настоящими Рекомендациями.

5.2. Организации, осуществляющей эксплуатацию путей, рекомендуется иметь:

комплект эксплуатационной документации;

специальную службу Технического надзора;

аттестованных инженерно-технических работников (ИТР) и специалистов, на которых возложена ответственность по надзору за безопасной эксплуатацией и содержанием крановых путей в исправном состоянии*.

- ИТР по надзору за безопасной эксплуатацией крановых путей (п. 7.3).

- ИТР, ответственный за содержание крановых путей в исправном состоянии (п. 7.3.10).

5.3. Руководители предприятий и частные лица - владеющие или эксплуатирующие крановые пути обеспечивают их содержание в исправном состоянии и организацию надлежащего освидетельствования, осмотра, ремонта, надзора и обслуживания.

В этих целях рекомендуется:

назначить инженерно-технических работников (ИТР) по надзору и за безопасной эксплуатацией, содержанием крановых путей в исправном состоянии;

создать ремонтную службу и установить порядок периодических освидетельствований осмотров, технических обслуживании и ремонтов;

в соответствии с настоящими Рекомендациями установить порядок обучения и периодической проверки знаний ИТР и персонала обслуживающего крановые пути;

разработать инструкции для ИТР и обслуживающего персонала, журналы, планы предупредительных ремонтов и др. регламенты по безопасной эксплуатации крановых путей;

обеспечить выполнение ИТР настоящих Рекомендаций, а обслуживающим персоналом - инструкций.

5.4. Для осуществления надзора за безопасной эксплуатацией крановых путей владелец может назначить ИТР после обучения и проверки знания ими настоящих Рекомендаций, должностных инструкций для ответственных специалистов и производственных инструкций для обслуживающего персонала экзаменационной комиссией с участием инспектора Ростехнадзора и выдачи им соответствующего удостоверения.

5.5. Численность службы надзора и ее структура определяются владельцем крановых путей с учетом их количества, условий эксплуатации в соответствии с Типовыми нормами периодичности, трудоемкости и продолжительности технического обслуживания и ремонта крановых путей и согласовываются с органом Ростехнадзора.

5.6. ИТР по надзору за безопасной эксплуатацией крановых путей обязан:

осуществлять надзор за техническим состоянием и безопасной эксплуатацией крановых путей и принимать меры по предупреждению нарушений правил безопасности;

проводить освидетельствование крановых путей и выдавать разрешение на их эксплуатацию, в случаях, предусмотренных настоящими Рекомендациями;

контролировать выполнение выданных органами Ростехнадзора предписаний, а также соблюдение графиков периодического осмотра и ремонта крановых путей;

проверять соблюдение установленного настоящими Рекомендациями порядка допуска рабочих к обслуживанию крановых путей, а также участвовать в комиссиях по аттестации и периодической проверке знаний обслуживающего и ремонтного персонала, а также по проверке знаний ИТР, ответственных за содержание крановых путей в исправном состоянии;

контролировать наличие и выполнение производственных инструкций обслуживающим персоналом, ИТР, ответственными за содержание крановых путей в исправном состоянии;

проверять выполнение правил безопасности, планов предупредительных ремонтов и технологических регламентов при производстве работ, обращая особое внимание на применение работающими правильных приемов работы и мер личной безопасности, соблюдение системы нарядов-допусков при выполнении работ на крановых путях.

5.7. При выявлении неисправностей, а также нарушений настоящих Рекомендаций при обслуживании крановых путей, ИТР по надзору за безопасной эксплуатацией крановых путей рекомендуется принять меры по устранению неисправностей и нарушений, а в случае необходимости остановить грузоподъемный кран.

5.8. ИТР по надзору за безопасной эксплуатацией крановых путей не может допускать их эксплуатацию при:

выявлении неисправностей кранового пути;

истечении срока технического освидетельствования крановых путей;

обслуживании крановых путей не аттестованными рабочими и специалистами, а также, если не назначены ИТР, ответственные за содержание крановых путей в исправном состоянии;

отсутствии паспорта и эксплуатационной документации на крановые пути;

не выполнении выданных Ростехнадзором предписаний;

неисправности тупиковых упоров, ограничителей передвижения, системы заземления.

5.9. Ответственность за эксплуатацию и содержание крановых путей в исправном состоянии владелец может возложить на ИТР соответствующей квалификации, в подчинении которого находится персонал обслуживающий пути, после аттестации комиссией с участием инспектора Ростехнадзора знания им настоящих Рекомендаций и выдачи ему соответствующего удостоверения и должностной инструкции.

Номер и дата приказа о назначении ответственного лица, а также должность, фамилия, имя, отчество, номер удостоверения и подпись содержатся в паспорте крановых путей.

Эти сведения каждый раз заносят в паспорт после назначения нового ответственного лица.

На время отпуска, командировки, болезни или в других случаях отсутствия ответственного лица, выполнение его обязанностей возлагается приказом на работника, заменившего его по должности, имеющего соответствующую квалификацию и прошедшего аттестацию знаний настоящих Рекомендаций (без занесения его фамилии в паспорт крановых путей).

Владельцу рекомендуется создать условия для выполнения ответственным лицом возложенных на него обязанностей.

5.10. ИТР, на которого возложены обязанности за содержание крановых путей в исправном состоянии, обязан обеспечить:

содержание в исправном состоянии крановых путей (если содержание последних в исправном состоянии не возложено на другие службы) путем проведения периодических осмотров, технических обслуживании и ремонтов в установленные графиком сроки, систематического контроля за правильным ведением журнала периодических осмотров и своевременного устранения выявленных неисправностей, а также личного осмотра крановых путей в установленные сроки;

обслуживание и ремонт крановых путей рекомендуется выполнять обученным и аттестованным персоналом, имеющим необходимые знания и достаточные навыки для выполнения возложенных на него обязанностей, а также периодическую проверку знаний обслуживающего персонала;

выполнение ремонтным персоналом производственных инструкций по обслуживанию крановых путей;

своевременную подготовку крановых путей к техническому освидетельствованию, а также подготовку к обследованию путей;

составление графиков технических обслуживании и осмотров планово-предупредительных ремонтов, должностных инструкций для обслуживающего персонала;

вывод в ремонт крановых путей согласно графику;

выполнение установленного порядка допуска обслуживающего персонала и других рабочих на крановые пути для производства ремонтных и других работ;

хранение паспорта и другой технической документации на крановые пути, а также ведение журналов периодической проверки знаний персонала;

выполнение предписаний органов Ростехнадзора и ИТР по надзору за безопасной эксплуатацией крановых путей;

паспорт на крановые пути окончательно заполняется владельцем крановых путей, на основании следующих документов: рабочих чертежей на крановый пучь; актов освидетельствования скрытых работ и промежуточной приемки ответственных конструкций; сертификатов и паспортов на материалы и изделия; паспорта сварщика; справки организации принимающей пути в эксплуатацию о выполнении недоделок, выявленных приемосдаточной комиссией при приемке путей в эксплуатацию.

Содержание в исправном состоянии крановых путей может быть возложена распоряжением владельца путей на другого специалиста соответствующей квалификации.

5.11. Для предприятий с малым числом крановых путей, на которых не могут быть назначены все ответственные лица, предусмотренные настоящими Рекомендациями, по согласованию с органом Ростехнадзора выполнение обязанностей ИТР, ответственной) за содержание крановых путей и грузоподъемных машин в исправном состоянии, может возлагаться на одного ИТР или по договору на работников специализированной организации инженерного центра.

5.12. Периодическая проверка знаний ИТР по надзору за безопасной эксплуатацией крановых путей, ИТР, ответственных за содержание крановых путей в исправном состоянии, рекомендуется проводить не реже одного раза в 3 года комиссией предприятия или учебной организацией с участием инспектора Ростехнадзора после обучения их по соответствующим программам.

5.13. Повторная проверка знаний обслуживающего персонала (слесарей, электромонтеров и др.) квалификационной комиссией проводится:

периодически, не реже одного раза в 12 мес.;

при переходе работника на другое место;

по требованию ИТР по надзору за безопасной эксплуатацией крановых путей или инспектора Ростехнадзора:

Повторная проверка знаний проводится в объеме производственной инструкции. Участие инспектора в повторной проверке знаний обслуживающего персонала не обязательно.

В необходимых случаях орган Ростехнадзора может потребовать проведения аттестации с участием своего представителя.

О дате проведения экзаменов орган Ростехнадзора (инспектор) уведомляется не позднее, чем за 10 дней.

5.14. Результаты аттестации и периодической проверки знаний обслуживающего персонала оформляются протоколом с отметкой в удостоверении.

5.15. Эксплуатационная документация по крановым путям включает:

паспорт;

документы аттестации ИТР и обслуживающего персонала (состав и квалификация).

5.16. Служба технического надзора обязана обеспечить специалистов правилами, должностными инструкциями и руководящими материалами, а обслуживающий персонал - производственными инструкциями по безопасной эксплуатации путей.

Обеспечивать выполнение указанных документов обслуживающим персоналом.

Проводить текущий планово-предупредительный и выборочный (внеплановый) ремонт путей.

Осуществлять контроль за восстановлением элементов путей, а также за своевременной очисткой путей от снега и наледи в зимнее время.

Следить за тем, чтобы эксплуатация заземления кранового пути осуществлялась в соответствии с рекомендациями "Правил технической эксплуатации электроустановок потребителей" и "Правил техники безопасности при эксплуатации электроустановок потребителей".

5.17. В процессе эксплуатации специализированная организация не реже одного раза в 3 года, проверяет состояние элементов заземления путем осмотра с выборочным вскрытием грунта, при разрушении 50 % сечения, заземлители могут заменяться (оформляется актом).

5.18. Ежегодно, а также после каждого ремонта заземлителей владелец проводит проверку наличия цепи между заземлителями и заземляющими элементами, обычно сопротивление контактов в цепи защитного заземления не превышаем 0,05 Ом (оформляется актом).

5.19. После устройства и ремонта заземлителей, а также в процессе эксплуатации, владелец не реже 1 раза в 6 лет проводит проверку цепи фаза-нуль в электросетях с глухозаземленной нейтралью (оформляется актом).

5.20. Проводить периодические инструментальные обследования путей, с целью контролирования расчетных параметров, геометрических размеров и просадок путей, отбор проб земляного полотна.

5.21. Для проведения инструментальных обследований, отбора проб земляного полотна и ремонтных работ Службе технического надзора рекомендуется иметь комплект соответствующих приборов и инструмента, перечень которых приводится в Приложении 11.

5.22. Служба технического надзора обязана при эксплуатации крановых путей осуществлять постоянный контроль за их исправным состоянием, с этой целью рекомендуется систематически проводить различные виды технических осмотров и освидетельствований. Ежесменный осмотр проводится крановщиком перед каждой сменой. Во время этого осмотра крановщик визуально оценивает состояние пути и путевого оборудования.

Плановые (текущие) осмотры проводятся согласно графиков, составленных ИТР ответственным за содержание крановых путей в исправном состоянии.

Во время этих осмотров визуально проверяется состояние элементов крановых путей и путевого оборудования.

5.23. Периодичность осмотров устанавливает организация - владелец, с учетом особенностей эксплуатации путей на конкретном объекте.

5.24. Годовой график текущих осмотров составляет Служба технического надзора, утверждает график главный инженер предприятия.

5.25. Результаты текущих осмотров с указанием выявленных дефектов и повреждений необходимо фиксировать в журнале осмотров и технических освидетельствований путей.

5.26. В случае выявления грубых нарушений правил технической эксплуатации путей, помимо фиксирования в журнале, составляются акты, содержащие перечень выявленных нарушений и повреждений с указанием предписываемых мероприятий и сроков их устранения.

В составлении актов участвует служба технического надзора.

5.27. Контроль по устранению выявленных дефектов и повреждений возлагается на ответственного по надзору за безопасной эксплуатацией крановых путей.

5.28. Внеплановые (дополнительные) осмотры крановых путей проводятся при особо неблагоприятных метеорологических условиях (ливнях, таянии снега и т.п.), а также при наличии неустойчивых участков пути. При необходимости следует проводить инструментальную проверку и выверку элементов кранового пути.

5.29. При обнаружении дефектов и повреждений аварийного характера в процессе проведения плановых (текущих) и внеплановых (дополнительных) осмотров следует немедленно уведомить руководство организации, предписанием запретить работу крана и оградить аварийный участок.

5.30. Находящиеся в эксплуатации крановые пути периодически подвергаются частичному, полному техническому освидетельствованию и комплексному обследованию.

5.31. Частичное освидетельствование путей для кранов устанавливаемых на временных площадках или кранов первого года эксплуатации устанавливаемых на площадках постоянной эксплуатации проводится один раз в 20 - 24 смены работы крана.

При дальнейшей эксплуатации крановых путей частичное освидетельствование проводится не реже одного раза в 6 месяцев.

5.32. Полное техническое освидетельствование крановых путей проводится не реже одного раза в 3 года, для редко используемых кранов (путей класса точности Т4) - не реже одного раза в 5 лет. Отнесение путей к категории редко используемых кранов производится владельцем путей по согласованию с органами Ростехнадзора.

5.33. Внеочередное (внеплановое) частичное или полное техническое освидетельствование крановых путей проводится вне зависимости от срока ранее проведенного или повторного обследования в следующих случаях:

по требованию органов Ростехнадзора при обнаружении признаков дефектов, угрожающих безопасной эксплуатации;

после землетрясений, наводнений, пожаров и других стихийных бедствии повлекших за собой изменение свойств и параметров конструкций;

по запросу владельца крановых путей или грузоподъемного механизма.

Частичное техническое освидетельствование проводится владельцем путей с записью в журнале результатов освидетельствования.

5.34. Полное техническое освидетельствование проводится специализированной организацией имеющей разрешение на данный вид деятельности с занесением результатов в журнал освидетельствований и составлением акта и дефектной ведомости.

5.35. Комплексное обследование крановых путей необходимо проводить:

при регистрации вновь устанавливаемых грузоподъемных кранов как на вновь смонтированные, так и на ранее эксплуатировавшиеся крановые пути;

по истечении срока эксплуатации крановых путей не менее 3-х лет или установленного предыдущим обследованием.

5.36. Комплексное обследование проводится специализированной организацией, имеющей соответствующее разрешение, комиссией в составе не менее трех человек: геодезист; инженеры-строители по путевому оборудованию и по строительным конструкциям.

5.37. При техническом освидетельствовании проводятся: осмотр элементов кранового пути и путевого оборудования;

инструментальная выверка положения направляющих и элементов путевого оборудования;

приборно-инструментальная диагностика.

5.38. При полном техническом освидетельствовании проверяется наличие и фактическое состояние, а так же проводится инструментальная выверка положения элементов кранового пути путевого оборудования, с испытанием тупиковых упоров, ограничителей передвижения и элементов заземления пути.

5.39. Комплексное обследование крановых путей включает проверку наличия и состояния эксплуатационной и проектно-конструкторской документации, а также перечня работ выполняемых при полном техническом освидетельствовании и завершается передачей документов комплексного обследования, Ведомостью дефектов и Актом комплексного обследования.

5.40. По результатам комплексного обследования при необходимости следует:

произвести рихтовку крановых путей и выправку их по уровню;

заменить дефектные направляющие, промежуточные, стыковые скрепления и опорные элементы;

восстановить поперечный профиль балластной призмы с заменой заросшего и загрязненного балласта чистым балластным материалом;

подтянуть ослабленные болтовые соединения;

обеспечить правильность установки и укрепить тупиковые упоры и ограничители передвижения;

при необходимости произвести окраску тупиковых упоров и ограничителей передвижения в отличительный (красный) цвет, хорошо видимый из кабины крановщика;

очистить водоотводы от мусора и посторонних предметов.

5.41. При внеочередном техническом освидетельствовании приказом по организации-владельцу путей, назначают комиссию, в которую кроме представителей службы Технического надзора входят представители службы техники безопасности и других подразделений.

5.42. При полном техническом освидетельствовании, кроме статических и динамических испытаний и полного контроля состояния пути, и путевого оборудования, проводится проверка всей технической документации и подготовки ИТР в части содержания крановых путей и путевого оборудования.

Записью в паспорте путей, подвергнутых полному техническому освидетельствованию, подтверждается, что пути отвечают настоящим Рекомендациям, находятся в исправном состоянии и выдержали испытания. Разрешение на дальнейшую работу путей в этом случае выдается ИТР по надзору за безопасной эксплуатацией путей.

6. ДЕФЕКТЫ ПОВРЕЖДЕНИЯ И РЕКОМЕНДАЦИИ ПО ОЦЕНКЕ ТЕХНИЧЕСКОГО СОСТОЯНИЯ КРАНОВЫХ ПУТЕЙ

6.1. Основными причинами появления дефектов и повреждений крановых путей является:

несовершенство конструкции или несоответствие прочностных свойств элементов кранового пути условиям работы и фактическим нагрузкам;

низкое качество изготовления элементов крановых путей или их монтажа в результате недостаточного учета характера и условий эксплуатации, интенсивности нагрузки, скорости перемещения крана, величины и частоты динамических нагрузок.

6.2. Все дефекты и повреждения крановых путей можно разделить на общие и характерные для элементов из определенных материалов.

6.3. К дефектам первой группы относятся:

отклонение крановых путей от проектного положения (в плане, по высоте, крены и наклоны осей);

прогибы и смещение, величины которых превышают проектные и нормативные;

смещение в узлах, сопряжениях и несоответствие размеров опорных площадок проектным;

отсутствие связей, креплений в узлах, стыках и соединениях.

6.4. К дефектам второй группы относятся дефекты и повреждения стальных, железобетонных и деревянных элементов кранового пути:

для стальных элементов (направляющие-рельсы, стыковые и промежуточные скрепления, подкладки прижимы, болтовые соединения и т.д.) имеют место дефекты возникшие при изготовлении в виде флокенов, газовых пузырьков и прочих возникших в процессе эксплуатации в виде различных видов коррозии, механических повреждений (погнутости, вмятины, разрывы, трещины и т.п.);

для железобетонных элементов (шпал, полушпал, балок, плит) характерны дефекты в виде сплошных и прерывистых опоясывающих и продольных трещин различной длины и величины раскрытия; а также сколы и разрушение бетона; обнажение, обрыв и коррозия стержней арматуры;

для деревянных элементов (полушпал) характерны гнилостные пятна и сучки, червоточина, изломы, поперечные продольные трещины;

основными дефектами резьбовых (болтовых) соединений являются нарушение целостности болтов и гаек, недостаточная степень натяжения или плотности прилегания болта и гайки к соединительному элементу, отсутствие клиновидных шайб в болтах, поставленных под углом.

6.5. Оценка технического состояния кранового пути производится на основании анализа дефектов и повреждений выявленных при осмотрах и контрольных измерениях кранового пути и его элементов.

6.6. Режим дальнейшей эксплуатации, плановой замены или ремонта дефектных элементов пути решается в зависимости от конкретных условий с учетом рекомендаций данных в Приложении 13.

6.7. При эксплуатации крановых путей необходимо, чтобы траектория движения крана приближалась к прямолинейному проектному направлению оси кранового пути. Несоблюдение этой рекомендации может привести к преждевременному износу боковых граней направляющих. Если отклонение направляющих от прямой линии на участке 10 м превышает 20 мм, то эксплуатация таких путей запрещается.

6.8. Несоответствие колеи кранового пути базе тележки крана может вызвать сход последнего с направляющих, поэтому предельно допустимые отклонения элементов кранового пути не могут превышать значений указанных в Приложении 12.

6.9. Взаимное смещение торцов стыкуемых направляющих в плане и по высоте не должно превышать 2 мм.

6.10. Величина износа поверхности катания направляющих не может превышать 15 %.

6.11. Кривизна (стрела изгиба) направляющей в горизонтальной плоскости не может превышать 0,002.

6.12. Смятие головки и погнутость концов направляющих в сумме не может быть более 2,5 мм, а седловины за зоной закалки - более 1,5 мм при измерении просвета между направляющими и линейкой длиной 1 м, укладываемой на головку.

6.13. Допускаемые величины поверхностных повреждений направляющих приведены в табл. 6.1.

Таблица 6.1.

Допускаемые величины поверхностных повреждений направляющих

Наименование (вид) повреждений направляющих

Величина повреждений, мм

при укладке

при эксплуатации

Плавные вмятины и забоины

2

4

Плавный местный износ кромки подошвы

3

5

Уменьшение толщины подошвы от коррозии

2

4

Равномерный наплыв металла на боковой грани головки без признаков трещин и расслоений

1

2

6.14. Не допускается эксплуатация направляющих имеющих следующие дефекты (см. приложение 13):

боковой или вертикальной износа головки более 15 %;

деформации поверхности катания головки в просвете более 1,5 мм;

для кранов в режиме работы (6К - 8К) имеющие на поверхности катания головки или в закаленном слое стыка выкрашивание глубиной более 3, а длиной более 25 мм;

с продольной горизонтальной трещиной под головкой длиной до 30 мм не выходящей в торец, или краснотой под головкой как признак этой трещины;

с коррозией шейки на глубину не более 4 мм, а также имеющие местный износ или коррозию подошвы на глубину более 8 мм.

6.15. Аварийное состояние направляющих определяется следующими дефектами:

поперечный излом;

поперечные продольные и наклонные трещины любого размера, с одной или двух сторон шейки, вызывающие выколы металла в местах перехода головки в шейку;

выколы головки или трещины аналогичные указанным выше, длиной более 30 мм, расположенные вне торцов направляющих;

трещины любых размеров в шейке от болтовых соединений маркировочных знаков, ударов и др. механических повреждений;

местный износ или коррозия кромки подошвы глубиной 8 мм;

продольные и поперечные трещины любых размеров в подошве, в т.ч. коррозионно-усталостные;

выколы в подошве направляющей.

6.16. Режим эксплуатации направляющих, имеющих аварийное или неудовлетворительное состояние:

аварийные направляющие подлежат немедленной замене и маркировке;

неудовлетворительные направляющие заменяются в плановом порядке. Режим их эксплуатации и плановой замены зависит от конкретных условий с учетом рекомендаций Приложения 13;

при замене дефектных направляющих особое внимание следует обращать на точность подгонки стыков;

запрещается использовать направляющие изъятые из эксплуатации из - за излома по всему сечению или поперечных трещин в головке и изломов вызванных внутренними надрывами, не достаточной контактно - усталостной прочностью металла, проходом колес с ползунами, трещинами в закаленном слое металла;

запрещается укладывать направляющие на изношенные или разрушенные опорные элементы, а также использовать в качестве направляющих рельсы разных типов.

6.17. В приложении 12 даны значения предельно допустимых величин при устройстве и эксплуатации наземных крановых путей.

Дефекты и повреждения нижнего и верхнего строения кранового пути даны в Приложении 13.

7. РЕКОМЕНДАЦИИ ПО КОНТРОЛЮ КАЧЕСТВА КРАНОВЫХ ПУТЕЙ

7.1. Общие рекомендации.

7.1.1. Контроль качества крановых путей и его элементов осуществляется на всех этапах:

при изготовлении элементов пути;

при устройстве (монтаже, укладке) пути;

при эксплуатации и обследовании.

7.1.2. При изготовлении элементов крановых путей, в ТУ на изготовление наряду с другими указаниями, приводятся рекомендации по контролю качества сварки и браковочные показатели с учетом настоящих Рекомендаций.

7.1.3. При комплектовании путей ответственность за качество изготовления элементов пути и соответствия их настоящим Рекомендациям и ТУ должна нести организация - изготовитель.

7.1.4. Вновь изготовленные железобетонные и металлические элементы кранового пути имеют на видном месте клеймо с указанием предприятия-изготовителя или его товарного знака, даты выпуска и другие сведения в соответствии с нормативной документацией.

Клеймо сохраняется на протяжении всего срока службы элемента.

7.1.5. Владелец путей, обнаруживший в процессе монтажа или эксплуатации недостатки в конструкции или изготовлении элементов путей, а также несоответствие настоящим рекомендациям и конструкторской документации, направляет рекламацию предприятию-изготовителю, которое устраняет выявленные недостатки.

Предприятие-изготовитель ведет специальный журнал учета поступивших рекламаций, в который заносятся сведения о предъявителе рекламаций, маркировка элемента, краткое содержание рекламации и другие сведения о недостатках конструкции и ее изготовления.

7.1.6. В тех случаях, когда выявленные недостатки могут отразиться на безопасной эксплуатации крана, его владелец немедленно останавливает кран до устранения обнаруженных недостатков.

7.1.7. Для изготовления элементов кранового пути применяются материалы в соответствии с ГОСТ и нормативной документацией.

7.1.8. Качество применяемых материалов подтверждается сертификатом или паспортом предприятия-поставщика и входным контролем. При отсутствии сертификата материал допускается применять после проведения испытаний в соответствии с нормативной документацией. Выбор материалов производится с учетом нижних предельных значений температур и агрессивности окружающей среды рабочего и нерабочего состояния пути и загруженности его элементов.

Указанные данные вместе с маркой материала заносятся в паспорт путей. (Приложение 4).

Материалы, ранее не применявшиеся для изготовления элементов путей, могут быть применены по рекомендации ведущей организации при согласовании с органами Ростехнадзора.

7.1.9. При устройстве (монтаже, укладке) крановых путей также предъявляются определённые рекомендации к контролю качества выполняемых работ.

7.1.10. Контроль качества работ при устройстве кранового пути обеспечивается специальными службами, оснащенными техническими средствами, обеспечивающими необходимую достоверность и полноту контроля.

7.1.11. Производственный контроль качества выполняемых работ включает входной, операционный и приемочный контроль.

7.1.12. При входном контроле проверяется комплектность рабочей документации и достаточность содержащейся в ней информации для производства работ.

7.1.13. При входном контроле визуально проверяется соответствие элементов кранового пути настоящим рекомендациям ТУ, ГОСТ и другим нормативным документам, и рабочей документации, а также наличие и содержание паспортов, сертификатов и другой сопроводительной документации.

7.1.14. Операционный контроль осуществляется в ходе монтажных работ и обеспечивает своевременное выявление дефектов и принятие мер по их предупреждению.

При операционном контроле следуем проверять соблюдение технологии выполнения работ и соответствие выполняемых операций рабочим чертежам, СНиП и ГОСТ.

Особое внимание следует обращать на соблюдение нормативных требований при устройстве путей на просадочных и мерзлых грунтах, при наличии оползневых и карстовых явлений, а также при устройстве путей на сложных и уникальных объектах.

Результаты операционного контроля фиксируются в журнале работ, актах на скрытые работы.

Основными документами при операционном контроле являются нормативные документы, технические карты со схемами операционного контроля качества.

Последние содержат эскизы элементов путей с указанием отклонений размеров, перечни операций, контролируемые производителем работ при необходимости строительной лабораторией, геодезической и другими службами специального контроля, данные о составе, сроках и способах контроля.

7.1.15. Скрытые работы подлежат освидетельствованию с составлением актов по форме (Приложения 1 к Паспорту).

7.1.16. При устройстве путей на сложных и уникальных объектах акты приемки ответственных элементов и освидетельствования скрытых работ составляются с учетом особых указаний и ТУ проекта.

7.1.17. На всех стадиях монтажа специальными службами или специально созданной комиссией осуществляется выборочный инспекционный контроль.

7.1.18. По результатам операционного и инспекционного контроля разрабатываются мероприятия по устранению выявленных недостатков, при этом также учитываются рекомендации и замечания авторского надзора проектных организаций и органов Ростехнадзора.

7.1.19. Контроль за состоянием крановых путей и путевого оборудования при эксплуатации возлагается на Службу технического надзора организации-владельца путей.

Служба технического надзора осуществляет постоянный надзор, проводит освидетельствование, контролирует выполнение предписаний, выданных органами Ростехнадзора.

Основные задачи и структура Службы технического надзора, а также виды осмотров и освидетельствований, их периодичность, подробно рассматриваются в разделе 5.

7.1.20. При проведении контроля качества крановых путей и отдельных его элементов могут использоваться различные методы контроля:

визуальный;

приборно-инструментальный;

лабораторные испытания и исследования.

7.1.21. При визуальном контроле проверяется:

наличие и полнота конструкторской и эксплуатационной документации.

7.1.22. Приборно-инструментальный контроль включает проведение следующих измерений:

планово-высотную съёмку;

измерение геометрических размеров путей (ширина колеи, горизонтальность и прямолинейность пути);

замеры прогибов, просадок, уклонов;

смещение направляющих от продольной разбивочной оси;

взаимное смещение торцов направляющих в стыке;

замеры ширины и глубины раскрытия трещины;

замеры величины коррозии стальных и железобетонных элементов пути.

7.1.23. При проведении приборно-инструментального контроля рекомендуется применять следующие средства измерений:

планово-высотная съемка выполняется с помощью нивелира и теодолита;

ширина колеи на всем протяжении пути проверяется с помощью компорированной стальной рулетки с ценой делений 1 мм;

прямолинейность пути следует проверять струной или прибором;

горизонтальность пути на всем протяжении проверяется нивелировкой по головке направляющей в средней части и зоне болтового соединения стыка на каждом звене.

Для нивелировки путей, замеров прогибов, уклонов, просадок необходимо применять:

теодолиты 2Т5к; 2Т30 ГОСТ 10529;

нивелиры Н3, Н3К, 2Н-10КЛ, 2Н-3К ГОСТ 10528;

прогибомеры типа 6 - ПАО.

Для измерения геометрических размеров применяются:

металлические рулетки (ГОСТ 7502 класс точности не ниже 3) тип РЗ-10; РЗ-20; РЗ-50; 3ПК3-20АУТ/I; ОП23-10БУТ/I; ОПК3-2ОБУТ; 3ПК3-5АУТ/I; 3ПК3-10АУТ/I;

линейки измерительные металлические 150 и 300 с пределом измерений 0 - 1000 мм (ГОСТ 427);

линейки поверочные типа ЛЧ-1-200. ЛЧ-1-320 (ГОСТ 8026-75);

угольник поверочный 250×160 мм (ГОСТ 3749 кл. Точности 2);

штангенциркуль с пределом измерений 0 - 150 (ГОСТ 166 класс точности 4);

приспособления, индикаторы и шаблоны для контроля геометрических параметров по ГОСТ 10629;

метр складной типа - МСМ-82; МСД-1;

для испытания грунтов применяют полевую лабораторию Литвиновой ПЛЛ-9.

7.1.24. Смешение направляющей от продольной разбивочной оси измеряется линейкой с миллиметровыми делениями. Отсчет производится с помощью теодолита, установленного таким образом, чтобы его оптическая ось располагалась параллельно продольной разбивочной оси пути.

Отклонение между осями направляющих замеряется в середине и в стыке звена стальной геодезической рулеткой, которая должна иметь натяжение с усилием 10 кг/с. Взаимное смещение торцов направляющих замеряется в местах стыков штангенциркулем с глубиномером или штангенглубиномером.

Для замеров ширины и глубины раскрытия трещин необходимо применять иглы проверочные и щупы плоские, лупы с 10× с ценой деления 0,05 мм (ГОСТ 25706) и других приборов для неразрушающих методов контроля.

Величина коррозии стальных элементов определяется методом сравнения размеров элементов, очищенных от коррозии, с проектными размерами; в случае язвенной коррозии проводится тщательная обработка поверхности механическим или химическим способом с удалением ржавчины из язв. Глубина язвенного участка измеряется с помощью индикатора с игольчатым наконечником.

Стыковые и промежуточные скрепления проверяются методом простукивания (глухой звук свидетельствует о наличии трещин или ослаблении крепления). Средства измерений, которые не указаны в п. 7.1.23 и допуски которых не установлены, могут иметь погрешности не более 2,5 %.

Номенклатура средств измерений для проведения контроля кранового пути и его элементов приводится в Приложении 11.

Лабораторные испытания и исследование включают:

испытания материалов (сталь, бетон, грунт) элементов крановых путей с целью определения их физико-механических показателей.

Сталь, бетон испытываются в стационарных лабораториях, а грунты - в стационарных или в полевых лабораториях ПЛЛ - 9.

Анализ и оценку контрольных измерений следует выполнять в соответствии с рекомендациями ПБ-10-382-00.

7.1.25. Приборам, аппаратуре, применяемым при проведении контроля и испытаний, рекомендуется иметь документ об их поверке по ГОСТ 8.002 и ГОСТ 8.513.

7.1.26. Средства нагружения в виде контрольных грузов, предназначенных для испытания кранового пути, применяются с динамометром растяжения.

7.1.27. Перечень инструментов, приборов и средств измерений, а также допустимую погрешность измерений следует устанавливать в программе и методике испытаний для каждого элемента кранового пути и путевого оборудования в зависимости от вида испытаний (контроля).

7.2. Рекомендации по методике проведения контроля

7.2.1. При приемо-сдаточных или периодических испытаний следует проверять:

наличие и состояние эксплуатационной документации;

организацию эксплуатации крановых путей;

поэлементное обследование крановых путей;

отступлений от проектной документации;

наличие защитных покрытий.

7.2.2. Проверку внешнего вида элементов кранового пути и путевого оборудования на соответствие технической, конструкторской документации проводят визуальным осмотром, а при необходимости инструментальными измерениями.

7.2.3. Присоединительные размеры проверяют с помощью мерительного инструмента.

7.2.4. Качество сварных соединений элементов кранового пути и путевого оборудования проверяют визуально (при этом можно использовать лупу с увеличением 10×).

При необходимости сварные соединения следует проверять неразрушающими методами контроля сварных соединений.

7.2.5. Комплектность кранового пути определяется проверкой наличия элементов кранового пути и путевого оборудования по комплектовочной ведомости.

7.2.6. При периодическом контроле кранового пути проверяется его соответствие разделам 2, 3, 5 настоящих Рекомендаций.

7.2.7. Геометрические размеры и параметры элементов наземных крановых путей (земляного полотна, балластной, опорных элементов и др.) проверяются с использованием измерительных приборов и инструментов (миллиметров линейки, компарированная рулетка и т.п.)

7.2.8. Планово - высотное положение проверяется методом геодезического нивелирования 4-го класса по методике изложенной в Приложении 14.

7.2.9. Контроль показателей упругой податливости кранового пути может осуществляться с использованием прогибомеров или нивелира (Приложение 10).

7.2.10. Лабораторные испытания грунтов проводятся в соответствии с ГОСТ 30416 в условиях стационарных или полевых лабораторий типа ПЛЛ-9 п. 7.4.3 и многие другие.

7.2.11. Лабораторные определения характеристик прочности и деформируемости грунтов должны проводиться в соответствии с ГОСТ 12248.

7.2.12. Статистическая обработка результатов испытаний должны проводится в соответствии с ГОСТ 20522.

7.2.13. Геодезический контроль качества пути осуществляется в соответствии с настоящими Рекомендациями.

7.2.14. Геодезическая съемка выполняется аттестованными геодезистами, прошедшими инструктаж по технике безопасности.

7.2.15. В процессе геодезической съемки крановых путей необходимо:

установить фактическое положение элементов путей в плане;

составить профили ( высотное положение);

установить смещение осей опорных элементов кранового пути относительно осей и направляющих;

установить расстояние между осями направляющих и величины их смещения относительно осей крановых путей.

7.2.16. Реперы для контроля высотного положения элементов кранового пути (рис. П.14.1 Приложения 14) должны устанавливаться не менее одного на 100 м пути. На плане пути обозначаются все реперы с привязкой осей направляющих. Репер имеет ограждение.

7.2.17. На расстоянии 0,5 - 1 м от каждой нити направляющей (с внутренней или наружной стороны) устанавливаются марки (MAi, MBi) через 50 - 100 м. Центры марок располагаются на одинаковом расстоянии от проектного положения оси направляющей. Линия, соединяющая эти центры, принимается за базисную. Базисные линии двух направляющих пути (А и Б) - параллельны.

7.2.18. На каждой нити выполняется разметка через 5 м на путях с полушпалами или через 3,12 м (стык и середина продольного опорного элемента) на путях с продольными железобетонными балками. Все точки маркируются и нумеруются краской на шейке направляющей. Одноименные точки обеих нитей располагаются в перпендикулярных створах, разбивка которых производится с помощью теодолита.

7.2.19. На плане укладки кранового пути указываются основные элементы технологической схемы склада и привязка всех элементов геодезической основы (Приложение 14).

8. РЕКОМЕНДАЦИИ ПО ТЕХНИКЕ БЕЗОПАСНОСТИ ПРИ УСТРОЙСТВЕ, ЭКСПЛУАТАЦИИ, РЕМОНТЕ И ОБСЛЕДОВАНИИ КРАНОВЫХ ПУТЕЙ

8.1 Общие положения

8.1.1. При устройстве, эксплуатации, ремонте и обследовании крановых путей необходимо соблюдать рекомендации "Правил устройства и безопасной эксплуатации грузоподъемных кранов", (ПБ-10-382-00), СНиП III.Г.10.1 "Подъемно-транспортное оборудование. Правила производства и приемки монтажных работ", СНиП 12-03 "Техника безопасности в строительстве", ''Справочника по технике безопасности, противопожарной технике и производственной санитарии", "Сборника нормативно-правовых актов по охране труда. Часть 1. Общие межотраслевые положения охраны труда", настоящих "Рекомендаций" и директивных документов.

8.1.2. Инструкции предприятий и организаций, занимающихся эксплуатацией, обслуживанием, устройством, ремонтом и обследованием крановых путей могут содержать конкретные указания по технике безопасности и производственной санитарии по каждому виду работ в соответствии с "Порядком разработки и согласования требований безопасности в стандартах и технических условиях" ГОСТ 1.26.

8.1.3. Общее руководство и ответственность за соблюдением действующего законодательства по охране труда, правил, норм, требований и директивных документов по технике безопасности и производственной санитарии возлагается на администрацию предприятия.

8.1.4. Организация работ и контроль за выполнением мероприятий по безопасным условиям труда возлагается на службу техники безопасности предприятия.

8.1.5. На предприятии создается постоянно действующая комиссия (ПДК) по проверке знаний по охране труда и технике безопасности у работников предприятия.

8.1.6. Ответственность за соблюдением норм и правил техники безопасности ремонтным персоналом несут ИТР, связанные с обслуживанием, эксплуатацией, устройством, ремонтом и обследованием крановых путей.

8.1.7. Допуск персонала, обслуживающего крановые пути, производящего их ремонт и освидетельствование разрешается только по наряду - допуску (Приложение 15).

8.1.8. Лицо, выдавшее наряд - допуск отвечает за необходимость и возможность выполнения работ, указанных в наряде, правильность и полноту мер безопасности труда, уровень квалификации лиц, назначенных ответственными руководителями и производителями работ. К работе по нарядам допускаются бригады в составе не менее 2-х человек.

8.1.9. При ремонте крановых путей ответственным руководителем за ведением работ и соблюдением мер безопасности назначается ИТР организации, выполняющей эти работы. Он отвечает за правильное выполнение указаний мер безопасности в наряде-допуске и обязан лично проинструктировать бригаду, осуществляет периодический надзор за выполнением работ и соблюдением правил безопасности.

8.1.10. Производитель работ отвечает за техническое руководство и соблюдение работающими правил техники безопасности и указаний наряда-допуска. Он постоянно наблюдает за ходом работ и находится на месте их выполнения.

8.1.11. Администрации организации, которая эксплуатирует пути, рекомендуется создать безопасные условия для технических осмотров, очистки и ремонта крановых путей ремонтному и обслуживающему персоналу, а также рабочим-ремонтникам подрядной организации.

8.1.12. При обслуживании и ремонте наземных крановых путей необходимо учитывать, что работы по монтажу и демонтажу элементов пути зачастую осуществляются вручную при отсутствии инвентарных передвижных подъемных средств.

8.2. Рекомендации по технике безопасности до начала работ

8.2.1. О предстоящих работах на крановых путях делается соответствующая запись в журнале обследований. Исполнители работ проходят вводный инструктаж по программе разработанной владельцем путей, о чем делается запись в книге вводного инструктажа.

8.2.2. Перед началом работ, указанных в наряде-допуске, необходимо выполнить следующие меры безопасности:

отключить токоподводящие кабель на ремонтируемом участке;

выключить и закрыть на замок рубильник вводного устройства, повесить плакат: "Не включать - работают люди";

место работы оградить тупиковыми упорами с установкой красных сигнальных флажков;

указать места подсоединения предохранительных приспособлений;

участок, где ведутся работы, оградить и вывесить плакаты "Проход запрещен";

при необходимости принимать и другие меры безопасности, исходя из конкретных условий производства работ;

администрация, поручая работу, обязана обеспечить ремонтный персонал доброкачественной спецодеждой, спецобувью, отвечающей рекомендациям стандартов, в соответствии с отраслевыми нормами выдачи, установленным нормам и срокам носки, предохранительными приспособлениями, исправным и доброкачественным инструментом, соответствующим выполняемой работе;

к работе на крановых путях допускаются лица, достигшие 18 лет и прошедшие медицинское освидетельствование, а также рабочие, прошедшие курс обучения, сдавшие экзамены, получившие инструктаж по технике безопасности непосредственно на рабочем месте. Кадровые рабочие, ранее сдавшие экзамен, проходят ежегодно проверку знаний правил техники безопасности с отметкой об этом в удостоверении;

участки крановых путей, на которых будут вестись работы, освещаются согласно нормам (20 - 30 лк.). При недостаточном общем освещении используются переносные лампы напряжением не выше 12 В;

8.2.3. Владельцем разрабатываются способы обвязки элементов пути, перемещаемого кранами во время монтажа, демонтажа и ремонта, с указанием применяемых при этом приспособлений.

8.2.4. Графическое изображение способов строповки элементов пути и перечень применяемых при этом грузозахватных приспособлений приводятся в технологических регламентах.

8.2.5. Перемещение элементов пути, на которые не разработаны схемы строповки, производится в присутствии и под руководством лица, ответственного за безопасную эксплуатацию путей.

8.2.6. Строительно-монтажные работы выполняются по проекту производства работ кранами, в котором предусматриваются условия безопасной работы нескольких кранов на одном пути и на параллельных путях.

8.2.7. Вывод крановых путей в ремонт производится ИТР, ответственным за содержание крановых путей в исправном состоянии, в соответствии с графиком ремонта, утвержденным владельцем.

8.2.8. Дата и время вывода кранового пути в ремонт, а также фамилия лица, ответственного за его проведение, указываются в наряде-допуске.

8.2.9. Без наряда-допуска можно производить профилактический осмотр и техническое обслуживание путей.

8.2.10. При выполнении ремонтных работ на путях несколькими бригадами наряд-допуск выдается каждой бригаде.

8.2.11. Разрешение на эксплуатацию путей после ремонта, кроме случаев указанных в п. 4.7 выдается ИТР, ответственным за содержание кранового пути в исправном состоянии, с записью в журнале.

8.2.12. Перемещение груза на одном крановом пути несколькими кранами производится в соответствии с проектом или технологической картой, в которых содержатся рекомендации к состоянию пути и другие указания по безопасному перемещению груза.

8.3. Рекомендации по технике безопасности во время работы

8.3.1. Все ремонтные работы, осмотры и чистка крановых путей производятся при бездействующих кранах, выведенных в тупик, и соблюдении норм безопасности, указанных в наряде-допуске.

8.3.2. Ремонтный персонал, выполняющий осмотры, ревизии и ремонты крановых путей, может выходить на пути только в местах, имеющих специальные ремонтные площадки, предназначенные для этих целей, с надежным ограждением.

8.3.3. Администрация участка обязана требовать от ремонтного персонала, чтобы в работе использовался только исправный ручной и электрифицированный инструмент.

8.3.4. При газовой резке и электросварке на путях ремонтный персонал обязан соблюдать противопожарные мероприятия.

При обслуживании крановых путей запрещается:

увеличивать длину ключа путем наращивания его другим ключом или трубой;

вставлять прокладки между гранями гайки и губами ключа;

сбивать гайки ударами молотка;

забивать болты в отверстия накладок и направляющих.

8.3.5. Не разрешается хождение по путям посторонним лицам, для чего необходимо использовать предупреждающие знаки, имеющие надписи: "Входить на крановый путь посторонним лицам запрещается". Необходимость установки ограждений кранового пути определяется организацией, эксплуатирующей путь.

8.4. Рекомендации по технике безопасности по окончании работ

8.4.1. Проверить, чтобы на крановых путях не оставалось посторонних предметов.

8.4.2. Произвести уборку всех материалов и предметов, чтобы обеспечить безопасное складирование грузов, перемещаемых кранами.

8.4.3. По окончании всех работ наряд-допуск необходимо закрыть с оформлением подписей ответственного руководителя и производителя работ. Закрытый наряд-допуск возвращается лицу, выдавшему его. Наряд-допуск хранится в течение трех месяцев.

8.5. Рекомендации по технике безопасности при обследовании крановых путей

8.5.1. Для проведения обследования крановых путей издаются приказы по организациям-владельцам и организациям-обследователям путей по форме (Приложение 15)

8.5.2. Бригада обследователей проходит двухступенчатый инструктаж по технике безопасности.

8.5.3. Форма учетного листа прохождения инструктажа по охране труда и технике безопасности дана в Приложении 15.

8.5.4. Инструктаж проводится непосредственно перед началом работ.

8.5.5. Перед каждым членом бригады ставится конкретная задача и определяется зона его нахождения до окончания работ.

8.5.6. При обследовании путей в условиях недостаточной освещенности не начинать работу (не продолжать работу) до включения дополнительных источников освещения.

8.5.7. Прекратить выполнение работ по обследованию путей на открытом воздухе, при появлении атмосферных осадков или усилении ветра до 9 м/сек. (6 балов).

8.5.8. После завершения работ старший бригады лично контролирует наличие членов бригады и сообщает об окончании работ.

ПРИЛОЖЕНИЯ

Приложение 1

ОСНОВНЫЕ ТЕРМИНЫ И ОПРЕДЕЛЕНИЯ

Аварийное состояние кранового пути - состояние, когда путь имеет дефекты и повреждения, которые могут вызвать аварию крана, поэтому кран необходимо немедленно остановить, а дефекты пути устранить в срочном порядке.

База крана - расстояние между осями опор крана по его продольной оси.

Берма - расстояние от бровки котлована до основания земляного полотна.

Бровка - элемент сопряжения откоса с горизонтальной плоскостью грунтового основания.

Владелец крановых путей - предприятие и частное лицо независимо от форм собственности на балансе которых находятся крановые пути.

Внеочередное обследование крановых путей - обследование, проводящееся при возникновении повреждений, создающих угрозу дальнейшей эксплуатации грузоподъемного крана.

Габарит приближения - это расстояние по горизонтали и вертикали между выступающими частями крана и строениями, штабелями грузов и др. предметами.

Геодезическая съемка кранового пути - определение фактического положения элементов кранового пути в вертикальной плоскости, параллельности осям в плане прямолинейности.

Дефекты крановых путей - устройство кранового пути с отступлением от требований ТУ и нормативной документации на стадии изготовления или монтажа.

Деформация конструкции элементов кранового пути - изменение формы и размеров конструкции элемента или его части под влиянием внешних воздействий и нагрузок.

Документы нормативные - согласованные с Ростехнадзором (Госгортехнадзором России) документы, ГОСТы, СНиПы, законы, содержащие требования безопасности, правила, общие принципы, характеристики, касающиеся определенных видов деятельности в части крановых путей.

Жесткость опорного элемента - способность элемента сопротивляться деформациям.

Исправное состояние кранового пути - состояние, при котором все нормируемые свойства и параметры пути соответствуют требованиям нормативной и проектной документации.

Колея кранового пути - расстояние по горизонтали между осями направляющих или ходовых колес крана.

Комплексное обследование крановых путей - комплекс мер по анализу и оценке технического состояния и качества обслуживания крановых путей.

Контроль технического состояния кранового пути - система надзора за техническим состоянием пути и его элементов в процессе эксплуатации с целью поддержания их в работоспособном состоянии.

Крановый путь - инженерно-строительное сооружение, состоящее из направляющих, стыковых и промежуточных скреплений, путевого оборудования и предназначенное для передвижения грузоподъемного крана в заданном направлении.

Наземный крановый путь - крановый путь, опорные элементы (шпалы, балки, плиты и т. п.) которого опираются непосредственно на грунтовое основание.

Направляющие - элемент кранового пути, обеспечивающий опору и направление движения колес крана.

Насыпь планировочная - отсыпаемый грунт для выравнивания застраиваемых площадок.

Насыпь распределительная (балластная призма) - грунт, предназначенный для распределения давления передаваемого опорным элементам на фунт основной площадки.

Насыпь-подсыпка - грунт насыпаемый для обеспечения необходимой высоты установки грузоподъемного крана.

Неработоспособное состояние кранового пути - состояние, при котором путь не может выполнять заданные функции и не соответствует правилам безопасности.

Неудовлетворительное состояние кранового пути - состояние, при котором имеющиеся дефекты и повреждения пути, оказывают значительное влияние на работу крана, при которых его работа допускается в ограниченном режиме или может быть приостановлена полностью до устранения указанных дефектов.

Нормальное состояние кранового пути - состояние, при котором параметры пути соответствуют установленным нормам, и кран может эксплуатироваться в заданном режиме.

Обследование крановых путей - комплекс мер по сбору данных о техническом состоянии крановых путей необходимых для восстановления и ремонта пути и его элементов.

Общая деформация грунтового основания (Sобщ) - это величина вертикального перемещения головки направляющей от воздействия нагрузки колес крана.

Опорный элемент (балка, плита, полушпала) - несущая конструкция, обеспечивающая опору направляющей кранового пути.

Остаточная деформация грунтового основания (Sост) - это разность величины вертикального перемещения головки направляющей до и после приложения нагрузки.

Оценка технического состояния кранового пути - заключение, составленное по результатам обследования с учетом проверочного расчета конструкций элементов пути, выявленных дефектов и повреждений, свойств материалов, фактических и прогнозируемых нагрузок, и воздействий, а также условий эксплуатации.

Первичное обследование крановых путей - обследование, проводящееся при приемо-сдаточных испытаниях крановых путей.

Плановый, текущий, капитальный и внеплановый ремонт кранового пути - ремонт, обеспечивающий восстановление работоспособности пути заменой или восстановлением отдельных повреждений или дефектов его элементов.

Плечо балластной призмы - расстояние по горизонтали от опорного элемента направляющей до бровки балластной призмы.

Плечо земляного полотна - расстояние по горизонтали от нижнего края балластной призмы до бровки земляного полотна.

Повреждение кранового пути - отклонение качества формы и фактических размеров пути и его элементов от требований нормативной документации или проекта, возникающие в процессе эксплуатации.

Повторное обследование крановых путей - обследование, проводящееся по истечению срока, установленного результатами предыдущего обследования.

Промежуточное скрепление - элемент кранового пути, обеспечивающий соединение направляющих с опорными элементами (балки, шпалы, фермы и т.п.) и исключающий возможность продольного и поперечного смещения направляющей.

Путевое оборудование - элементы кранового пути, обеспечивающие безопасность эксплуатации крана (тупиковые упоры, ограничители передвижения, ограждения, предупредительные знаки, заземление).

Работоспособное состояние кранового пути - состояние, при котором путь может выполнять заданные функции и удовлетворять правилам безопасности, хотя может не полностью соответствовать нормативной или проектной документации.

Реконструкция кранового пути - изменение конструкции пути, вызывающее необходимость корректировки его паспорта.

Ремонт крановых путей - комплекс работ по восстановлению работоспособности кранового пути или отдельных его элементов.

Специализированная организация - организация, имеющая лицензию, аттестованных специалистов и разрешение Ростехнадзора (Госгортехнадзора России) на проведение экспертизы промышленной безопасности опасных производственных объектов.

Стыковые скрепления - элемент кранового пути, обеспечивающий соединение стыков направляющих.

Удовлетворительное состояние пути - состояние, при котором путь имеющий дефекты и повреждения, которые не оказывают существенного значения на эксплуатацию крана и устраняются в плановом порядке или в установленные сроки.

Уклон пути - отношение разности уровней двух точек кранового пути к расстоянию между ними.

Упругая деформация грунтового основания (Sупр) - это вертикальное перемещение головки направляющей после снятия нагрузки.

Упругая податливость кранового пути - это совокупность деформаций элементов верхнего (направляющие, упругие прокладки, опорные элементы) и нижнего строения (грунтовое основание ) кранового пути на единицу нагрузки (мм/тс).

Упруго-уплотненное грунтовое основание* - это вертикальное перемещение головки направляющей в исходное положение после снятия нагрузки.

*- грунтовое основание включает земляное полотно и балластную призму

Усиление опорных элементов кранового пути - комплекс работ, обеспечивающий повышение несущей способности, снижение трещиностойкости и увеличение жесткости элементов путем увеличения его сечения или прочности, или изменением схемы его работы.

Экспертное обследование зданий и сооружений с крановыми нагрузками - комплекс мер по техническому диагностированию зданий и сооружений с крановыми нагрузками, с целью выдачи заключения о возможности, условиях и сроках их дальнейшей эксплуатации.

Эксплуатационная документация - часть общей проектно-конструкторской документации, включающая паспорт, техническое описание, инструкции по безопасности, монтажу и эксплуатации, регламентирующие порядок эксплуатации а также работу службы надзора по обеспечению работоспособности крановых путей.

Эксплуатация крановых путей - стадия жизненного цикла путей до их списания, на которой реализуются, поддерживаются и восстанавливаются их качества и которая включает использование крановых путей по назначению, транспортирование, хранение, техническое обслуживание монтаж (демонтаж) и ремонт.

Приложение 2

ПЕРЕЧЕНЬ НОРМАТИВНО-ТЕХНИЧЕСКОЙ ДОКУМЕНТАЦИИ, НА КОТОРУЮ ИМЕЮТСЯ ССЫЛКИ В ДАННЫХ РЕКОМЕНДАЦИЯХ

Название документа

№ пункта требовании

Название документа

№ пункта требований

1

2

3

4

ПБ-10-382-00;

П.1.4

ГОСТ 10529;

П.7.1.23

П.2.1

ГОСТ 10528;

П.3.1.1

ГОСТ 7502;

П.5.1

ГОСТ 427;

П.7.1.24

ГОСТ 8026;

П.8.1.1

ГОСТ 3749;

 

ГОСТ 166;

 

ГОСТ 10629;

 

 

ГОСТ 25706

П.7.1.24

ГОСТ 13556;

П.1.5

ГОСТ 12135

П.3.3.42

ГОСТ 22827;

 

 

 

ГОСТ 27584;

 

 

 

ГОСТ 25546.

 

 

 

ГОСТ 2.701;

П.2.3

ГОСТ 7798;

П.3.3.29

ГОСТ 2.103

 

 

 

ГОСТ 7173;

П.3.3.23

ГОСТ 15150

П.1.6

ГОСТ 7174;

 

 

 

ГОСТ 8161;

 

 

 

ГОСТ 16210

 

 

 

ГОСТ 4121

 

 

 

 

 

ГОСТ 7378

П.3.3.43

ГОСТ 7173;

П.3.3.26

ГОСТ 3265

П.3.4.16

ГОСТ 8193;

 

ГОСТ 8240

 

ГОСТ 19128;

 

ГОСТ 8509

 

ГОСТ 19115;

 

 

 

ГОСТ 11530;

 

 

 

ГОСТ 11532

 

 

 

 

 

ГОСТ 78

П.3.3.21

 

 

ГОСТ 8486

 

ГОСТ 5915;

П.3.3.27

ГОСТ 8.002;

П.7.1.25

ГОСТ 11371

 

ГОСТ 8.513

 

ГОСТ 19282

П.3.3.28

ГОСТ 1451

П.3.2.27

 

 

 

П.3.3.13

 

 

 

П.3.4.28

ГОСТ 809;

П.3.3.44

 

 

ГОСТ 5812

 

 

 

ГОСТ 5180;

П.3.2.7

ГОСТ 12.4.026

П.3.4.29

ГОСТ 30416;

 

 

 

ГОСТ 20522

 

 

 

ГОСТ 19912;

П.3.2.23

ГОСТ 30416

П.7.2.10

ГОСТ 2006;

 

 

 

ГОСТ 12248;

 

 

 

ГОСТ 30416;

 

 

 

ГОСТ 20522

 

 

 

ГОСТ 7392;

П.3.3.4

ГОСТ 23407

П.3.4.31

ГОСТ 7394

 

 

 

 

 

ГОСТ 12248

П.7.2.11

ГОСТ 20522

П.7.2.12

ГОСТ 1.26

П.8.1.2

Правила устройства электроустановок (ПУЭ)

П.2.1

П.3.4.20

 

 

СНиП 12-03

П.8.1.1

СНиП III.Г.10.1

П.8.1.1

СНиП II-23

П.3.3.29

ТУ 14-1-3023

П.3.3.28

СНиП 2.01.01;

П.1.6

СНиП 2.03.01

П.3.3.18

СНиП II-7

 

 

 

Приложение 3

КЛАССИФИКАЦИЯ КРАНОВЫХ ПУТЕЙ

1. Классификация крановых путей осуществляется по точности и интенсивности их нагружения.

2. Класс точности кранового пути устанавливается в зависимости от скорости передвижения крана и времени работы механизма передвижения крана в год в соответствии с табл. П.3.1.

Таблица П.3.1

Классы точности кранового пути

Скорость передвижения крана, м/с

Время работы механизма передвижения крана, час/год

Более или равно 4500

От 1600 до 4500

От 250 до 1600

Менее 250

Более 2,0

Т1

Т1

Т1

 

От 1,0 до 2,0

Т1

Т2

Т2

Т2

От 0,5 до 1,0

 

Т2

Т3

Т3

Менее 0,5

 

 

Т3

Т4

3. Время работы механизма передвижения крана в год устанавливается в соответствии с ОСТ 24.090.85 в зависимости от сочетаний режимов работы крана и механизма передвижения, а также на основе данных проекта производства работ, приведенных в табл. П.3.2.

Таблица П.3.2

Время работы механизма передвижного крана, час/год

Сочетание режимов работы крана

Время работы, час/год

Сочетание режимов работы крана

Время работы, час/год

11

250

55

2500

21

250

63

500

22

250

64

1000

32

250

65

2500

33

500

74

1000

42

250

75

3000

43

500

7

3500

44

800

85

3000

53

500

86

4000

54

800

 

 

4. Сочетания режимов работы крана устанавливаются на основе паспортных данных в соответствии с требованиями ГОСТ 25546 и ГОСТ 25835, а также табл. П.3.3.

Таблица П.3.3

Сочетание режимов работы крана

Группа режима работы механизма передвижения экрана

Группа режима работы крана

11

21

 

 

 

 

 

 

 

22

32

42

 

 

 

 

 

 

33

43

53

63

 

 

 

 

 

44

54

64

74

 

 

 

 

 

55

65

75

85

 

 

 

 

 

 

76

86

5. В случае изготовления крана по специальному проекту время работы механизма передвижения устанавливается на основе расчета.

6. Класс нагружения кранового пути устанавливается в зависимости от ею грузонапряженности в соответствии с табл. П.3.4.

Таблица П.3.4

Классы нагружения кранового пути

Грузонапряженность, млн.т. км/км

Менее 3,0

От 3,0 до15,0

От 15,0 до 80,0

От 80,0 до 360,0

Класс нагружения кранового пути

H1

Н2

H3

Н4

7. Грузонапряженность кранового пути (H) определяется по формуле:

H = (П/Пn)×(Qср + Qкр)×0,000001,

где П - путь пробега крана за год, км;

Пn - длина эффективного фронта работ или рельсового пути, км;

Qср - средняя масса груза, т;

Qкр - масса крана, т.

8. Пробег (П) крана за год определяется по формуле:

П = 3,6×V×t,

где, V - скорость передвижения крана, м/с.

t - время работы механизма передвижения крана в год, часов (см. табл. П.3.2).

9. Средняя масса груза (Qср) определяется в соответствии с формулой:

Qcp = Qн×3Кр,

где Кр - коэффициент нагружения крана в соответствии с ГОСТ 25546;

Qн - номинальная масса груза, т;

10. Коэффициент нагружения принимается на основе данных о загружении крана исходя из проекта производства работ, в соответствии с ГОСТ 25546, классом нагружения и классом использования крана. Справочные данные по определению коэффициента нагружения представлены в табл. П.3.5.

Таблица П.3.5

Коэффициент нагружения крана

Класс нагружения крана

Q0

01

Q2

Q3

Q4

Коэффициент нагружения крана, Кр

0,063

0,125

0,25

0,5

1,0

11. Класс нагружения крана в соответствии с ГОСТ 25546 устанавливается на основе проекта производства работ в зависимости от класса использования. Справочные данные по установлению класса нагружения приведены в табл. П.3.6.

Таблица П.3.6

Класс нагружения крана

Класс использования крана

Общее число циклов работы крана

Группа режима работы крана

СО

1,6×104

Q2

Q3

Q4

 

 

 

 

 

 

С1

3,2×104

Q2

Q1

Q3

Q4

 

 

 

 

 

С2

6,3×104

Q1

Q0

Q2

Q3

Q4

 

 

 

 

С3

1,25×105

Q0

Q1

Q2

Q3

Q4

 

 

 

С4

2,5×105

 

Q0

Q1

Q2

Q3

Q4

 

 

С5

5×105

 

 

Q0

Q1

Q2

Q3

Q4

 

С6

1×106

 

 

 

Q0

Q1

Q2

03

Q4

С7

2×106

 

 

 

 

Q0

Q1

Q2

Q3

Q4

С8

4×106

 

 

 

 

 

Q0

Q1

Q2

Q3

С9

более 4×106

 

 

 

 

 

 

Q0

Q1

Q2

Приложение 4

(обязательное)

УТВЕРЖДАЮ:

___________________________

___________________________

___________________________

 

«___»______________200 __ г.

ПАСПОРТ КРАНОВОГО ПУТИ

ПС-XXXX-XXX-XXXXXXXX-XX*

(регистрационный номер паспорта)

________________________________________________________________________________

(адрес организации - владельца кранового пути)

________________________________________________________________________________

* ПС - паспорт,

первая группа знаков - код ОКП;

вторая группа знаков - регистрационный номер паспорта,

третья группа знаков - регистрационный номер предприятия-разработчика паспорта;

четвертая группа знаков - год.

СОДЕРЖАНИЕ

Общая часть

1. Технические данные

1.1. Земляное полотно

1.2. Балластная призма

1.3. Элементы верхнего строения

2. Планово-высотное положение элементов и податливость кранового пути

3. Заземление пути

5. Сведения о лицах, ответственных за эксплуатацию кранового пути

6. Сведения о плановых (текущих) осмотрах кранового пути

7. Сведения о частичных и полных технических освидетельствованиях кранового пути

8. Проект кранового пути*

9. Приложения к паспорту

Приложение 1. Акт сдачи-приемки земляного полотна под устройство верхнего строения кранового пути

Приложение 2. Промежуточный акт приемки кранового пути под монтаж крана

Приложение 4. Акт сдачи-приемки заземления кранового пути

Приложение 3. Акт сдачи- приемки кранового пути в эксплуатацию

* - техническая документация прилагается при заполнении паспорта

Экспертиза промышленной безопасности проектной документации опасного производственного объекта выполнена в соответствии с лицензией

№_________________

от "___"_______ 200 г.

____________________

(должность)

_____________________________________________

(наименование и адрес органа выдающего лицензию)

____________________

(организация)

____________________

(разрешение)

____________________

(подпись, Ф.И.О.)

 

"____"________________200 г.

ОБЩАЯ ЧАСТЬ

Место нахождения (адрес) кранового пути:

________________________________________________________________________________

________________________________________________________________________________

________________________________________________________________________________

Тип и основные характеристика крана приведены в табл. П.4.1. После окончания строительно-монтажных работ и приемо-сдаточных испытаний составляется акт по форме согласно приложению 1 к Паспорту.

Таблица П.4.1.

Характеристика крана, установленного на крановом пути*

1

Тип

 

 

2

Заводской номер

 

 

3

Регистрационный номер (инвентарный номер)

 

 

4

Грузоподъемность, т

 

 

5

Высота подъема груза, м

 

 

6

Скорость подъема груза, м/с (м/мин)

 

 

7

Скорость передвижения м/с (м/мин)

 

 

8

Режим работы

 

 

9

Масса, т

 

 

10

Дата изготовления (установки)

 

 

11

Дата демонтажа

 

 

* Заполняется перед испытанием крана

1. ТЕХНИЧЕСКИЕ ДАННЫЕ

1.1. Земляное полотно

1.1.1. Длина, м_________________________________________________________________

1.1.2. Ширина, м_______________________________________________________________

1.1.3. Минимальная высота, м____________________________________________________

1.1.4. Максимальная высота, м___________________________________________________

1.1.5. Вид фунта основной площадки______________________________________________

1.1.6. Вид грунта земляного полотна______________________________________________

1.1.7. Общий продольный уклон основной площадки, промилле_______________________

1.1.8. Общий продольный уклон земляного полотна, промилле _______________________

1 1.9. Плотность, г/см3 (или коэффициент уплотнения для насыпного грунта)____________

1.1.10. Водоотводные канавы:____________________________________________________

основные размеры, м___________________________________________________________

уклон, промилле_______________________________________________________________

1.2. Балластная призма

1.2.1. Высота, м________________________________________________________________

1.2.2. Ширина, м_______________________________________________________________

1.2.3. Материал________________________________________________________________

1.2.4. Гранулометрический состав________________________________________________

1.2.5. Коэффициент уплотнения__________________________________________________

1.3. Элементы верхнего строения

1.3.1. Длина кранового пути, м___________________________________________________

1.3.2. Колея, м_________________________________________________________________

1.3.3. Тип направляющих________________________________________________________

1.3.4. Тип опорного элемента____________________________________________________

                                           (деревянные полушпалы, железобетонные полушпалы или балка)

1.3.5. Интервал между опорными элементами по длине пути, м________________________

1.3.6. Количество опорных элементов, шт__________________________________________

1.3.7. Тип подкладки____________________________________________________________

1.3.8. Стыковые скрепления (накладки)____________________________________________

1.3.9. Промежуточные скрепления________________________________________________

1.3.10. Расстояние по осям промежуточных скреплений, мм__________________________

1.3.11. Тип упоров______________________________________________________________

1.3.12. Тип выключающих линеек (копиров)________________________________________

По окончании возведения земляного полотна составляется акт (см. приложение 1 к Паспорту), в котором указываются основные параметры (вид грунта, коэффициент уплотнения, уклоны и т.д.).

2. ПЛАНОВО-ВЫСОТНОЕ ПОЛОЖЕНИЕ ЭЛЕМЕНТОВ И ПОДАТЛИВОСТЬ КРАНОВОГО ПУТИ

Перед сдачей и приемкой в эксплуатацию и периодически в процессе эксплуатации кранового пути необходимо определять планово-высотное положение элементов и податливость кранового пути.

Результаты планово-высотной съемки и податливость кранового пути заносятся в табл. П.4.2 (в паспорте должно быть не менее 15 листов заполняемых форм-таблиц).

Таблица П.4.2.

Планово-высотное положение элементов кранового пути

Наименование параметра

(значение параметра)

Значение величин

1

2

3

4

5

6

7

8

9

10

11

12

Разность отметок верха направляющей

а) б/н

(без нагрузки)

 

 

 

 

 

 

 

 

 

 

 

 

в одном поперечном сечении (Р1), мм

б) п/н

(под нагрузкой)

 

 

 

 

 

 

 

 

 

 

 

 

Профиль верха направляющей

а) б/н

Направляющая А

 

 

 

 

 

 

 

 

 

 

 

 

Направляющая Б

 

 

 

 

 

 

 

 

 

 

 

 

Вдоль пути (P2), мм

б) п/н

Направляющая А

 

 

 

 

 

 

 

 

 

 

 

 

Направляющая Б

 

 

 

 

 

 

 

 

 

 

 

 

Величина упругой податливости, мм/т

Направляющая А

 

 

 

 

 

 

 

 

 

 

 

 

Направляющая Б

 

 

 

 

 

 

 

 

 

 

 

 

Отклонение направляющей от прямой линии (Р6), мм

Направляющая А

 

 

 

 

 

 

 

 

 

 

 

 

Направляющая Б

 

 

 

 

 

 

 

 

 

 

 

 

Отклонение направляющей от проектного положения в плане (Р3), мм (колея)

 

 

 

 

 

 

 

 

 

 

 

 

 

 

 

 

 

 

 

 

 

 

 

 

Зазор в стыке направляющих (Р5), мм

Направляющая А

 

 

 

 

 

 

 

 

 

 

 

 

Направляющая Б

 

 

 

 

 

 

 

 

 

 

 

 

Смещение торцов направляющих в стыке (Р5), мм

Направляющая А

 

 

 

 

 

 

 

 

 

 

 

 

Направляющая Б

 

 

 

 

 

 

 

 

 

 

 

 

Не перпендикулярность установки тупиковых упоров, мм

Направляющая А

 

 

 

 

 

 

 

 

 

 

 

 

Направляющая Б

 

 

 

 

 

 

 

 

 

 

 

 

Угол наклона направляющей, град

Направляющая А

 

 

 

 

 

 

 

 

 

 

 

 

Направляющая Б

 

 

 

 

 

 

 

 

 

 

 

 

Лицензия на геодезические работы

Торцевой вылет крана, мм__________

№ _______ от «____»_______________200__г. Вывод______________________________

А - левая направляющая

________________________            ________________________

(должность)                                                           .

Б - правая направляющая

______________ Геодезическую съемку выполнил____________

(подпись, Ф.И.О.)                                              (подпись, Ф.И.О.)

Вид нагружения:_______

 

«___»__________200__г.

Удостоверение № _______от «_____»________200___г.

3. ЗАЗЕМЛЕНИЕ ПУТИ

3.1. Конструкция заземления и № проекта__________________________________________

3.2. Место расположения и длина заземления_______________________________________

3.3. По результатам работ по заземлению составляется акт (примерную форму акта см. приложение 3 к Паспорту).

В процессе эксплуатации кранового пути необходимо производить периодические проверки заземления.

Результаты проверок заносятся в табл. П.4.3.

Количество таблиц должно быть достаточно на весь срок эксплуатации кранового пути.

Таблица П.4.3.

Результаты проверки заземления

Сведения о погоде *

Место измерения

Сопротивление растеканию тока, Ом

Заключение

Дата и подпись выполнившего измерения (Ф.И.О.)

1

2

3

4

5

 

 

 

 

 

 

 

 

 

 

* Сведения о погоде в течение последних трех дней и в день производства испытаний.

4. СВЕДЕНИЯ О РЕМОНТЕ

В процессе эксплуатации кранового пути могут производиться ремонтные работы с заменой или усилением отдельных элементов пути.

Сведения о ремонте кранового пути необходимо заносить в табл. П.4.4. Количество таблиц определяет владелец пути.

Таблица П.4.4

Сведения о ремонте кранового пути

Дата отказа элемента кранового пути

Характер неисправности

Принятые меры по устранению неисправности

Должность, фамилия и подпись лица,  ответственного за проведение работ

1

2

3

4

 

 

 

 

5. СВЕДЕНИЯ О ЛИЦАХ, ОТВЕТСТВЕННЫХ ЗА ЭКСПЛУАТАЦИЮ КРАНОВОГО ПУТИ

Перед сдачей кранового пути в эксплуатацию организация-владелец обязана назначить приказом ответственное лицо.

Сведения о лицах, ответственных за эксплуатацию и содержание в исправном состоянии кранового пути, заносятся в табл. П.4.5.

Таблица П.4.5.

Сведения о лицах, ответственных за эксплуатацию и содержание в исправном состоянии кранового пути

Ф.И.О., должность

Номер и дата приказа

Подпись ответственного лица

 

Назначение

Освобождение

 

1

2

3

4

 

 

 

 

6. СВЕДЕНИЯ О ПЛАНОВЫХ (ТЕКУЩИХ) ОСМОТРАХ КРАНОВОГО ПУТИ

Сведения о техническом состоянии кранового пути, полученные в результате плановых осмотров кранового пути (см. табл. П.4.6).

Количество страниц ведомости определяет владелец кранового пути.

Таблица П.4.6.

Ведомость плановых (текущих) осмотров кранового пути

Дата осмотра

Выявленные неисправности

Принятые меры по устранению неисправностей

Подпись лица, ответственного за обеспечение исправного состояния кранового пути

1

2

3

4

 

 

 

 

 

 

 

 

7. СВЕДЕНИЯ О ЧАСТИЧНЫХ И ПОЛНЫХ ТЕХНИЧЕСКИХ ОСВИДЕТЕЛЬСТВОВАНИЯХ КРАНОВОГО ПУТИ

Сведения о результатах технического освидетельствования заносят в ведомость частичных и полных технических освидетельствований кранового пути (см. табл. П.4.7)

Таблица П.4.7

Ведомость частичных и полных технических освидетельствований кранового пути

Дата освидетельствования

Выявленные неисправности

Принятые меры по устранению неисправностей

Подпись лица, ответственного за обеспечение исправного состояния кранового пути

1

2

3

4

 

 

 

 

8. ПРОЕКТ КРАНОВОГО ПУТИ

Проект кранового пути должен содержать:

Расчетную часть с пояснительной запиской;

План кранового пути с привязкой проектируемых осей;

Продольный профиль по осям направляющих;

Поперечный профиль характерных сечений (выемка, нулевое место, полость);

Установку путевого оборудования;

Чертежи на комплектующие (при необходимости);

Технические условия (ТУ) на крановый путь.

Сведения об изменениях в проекте кранового пути, осуществляемых в процессе эксплуатации кранового пути, заносятся в лист регистрации изменений (см. табл. П.4.8), а в паспорт кранового пути подшивается дополнительная техническая документация.

Таблица П.4.8

Лист регистрации изменений

п/п

Номера листов

Всего листов (страниц) в документе.

№ документа

Входящий номер сопровождающий документ

Подпись

Дата

Измененных

Замененных

Новых

Аннулированных

1

2

3

4

5

6

7

8

9

10

 

 

 

 

 

 

 

 

 

 

 

 

 

 

 

 

 

 

 

 

Примечание. Табл. П.4.2 - П.4.8 формируются в отдельное приложение к Паспорту

Приложение к паспорту

Приложение 1 к Паспорту

"УТВЕРЖДАЮ"

_________________

_________________

_________________

«__»________20__г.

Акт сдачи-приемки земляного полотна под устройство верхнего строения кранового пути

Гор._______________

«___»________20__г.

Вид грунта основной площадки__________________________________________________

Вид насыпного грунта земляного полотна__________________________________________

Тип насыпи___________________________________________________________________

                                    (распределительной, подсыпочной, планировочной)

Земляное полотно______________________________________________________________

Плотность земляного полотна под опорными элементами (коэффициент уплотнения насыпного земляного полотна) (см. приложение № 1 к акту). Уклон земляного полотна максимальный (см. приложение № 2 к акту).

Требования технических условий №______________________________________________

_____________________________________________________________________________

                                    (выполнены, не выполнены)

Земляное полотно______________________________________________________________

_____________________________________________________________________________

                                    (отвечает, не отвечает проектной документации)

Работы по устройству земляного полотна выполнил и сдал___________________________

_____________________________________________________________________________

                                   (организация, должность, фамилия, подпись) м.п.

Земляное полотно кранового пути принял__________________________________________

_____________________________________________________________________________

                                  (организация, должность, фамилия, подпись) м.п.

(обязательное приложение № 1 к акту сдачи-приемки земляного полотна)

К акту от __________________ № ___________

Схема плана земляного полотна

А - размер колеи крана, м.

Б - расстояние от проектной оси здания до оси направляющей (рельса) с учетом выступающих частей крана, здания и других предметов, м.

Д - расстояние от оси направляющей до оси водоотводной канавы, м.

С - расстояние между точками отбора проб фунта, м.

Е - расстояние от проектной оси здания до начала кранового пути, м.

Исполнитель: __________________

должность    Ф.И.О.

Удостоверение № _______________

кем выдано

«___»_______________________г.

дата выдачи удостоверения

(обязательное приложение № 2 к акту сдачи-приемки земляного полотна)

К акту от __________________ № ______________

Схема плана земляного полотна

А - размер колеи крана,

Б - расстояние от проектной оси здания до оси направляющей (рельса) с учетом выступающих частей крана, здания и других предметов, м.

Д - расстояние между проектными осями направляющей и водоотводной канавы, м.

С - расстояние замеров высотного положения точек земляного полотна, м.

Е - расстояние от проектной оси здания до начала кранового пути, м

Исполнитель: ___________________

должность    Ф.И.О.

Удостоверение № ________________

кем выдано

«____»_______________________г.

дата выдачи удостоверения

Приложение 2 к Паспорту

"УТВЕРЖДАЮ"

_________________

_________________

_________________

«__»________20__г.

Промежуточный акт приемки кранового пути под монтаж крана

Гор._______________

«___»________20__г.

Настоящий акт составлен в том, что крановый путь в осях____________________________

Ряд__________________________________________________________________________

Выполненный по проекту_______________________________________________________

                                                        (наименование проектной организации)

№ чертежей___________________________________________________________________

Соответствует указанным чертежам и требованиям главы СНиП III-Г10.1-69____________

_____________________________________________________________________________

                                                       (сдается под монтаж крана)

Особые замечания. Крановый путь оснащен тупиковыми упорами, посадочными площадками, выполнено, проверено и сдано заземление.

Приложение. Исполнительная схема кранового пути.

Приложения.

1. Для монтажа крана крановый путь может быть принят отдельным выверенным участком длины не менее трех баз крана с установленными упорами на границе участка.

2. К моменту окончания монтажа крана должны быть полностью закончены устройство, геодезическая проверка и заземление кранового пути (СНиП III-Г10.1-69, п. 3.5.).

Представители:

__________________________________

(наименование организации-заказчика)

___________

(должность)

___________

(подпись)

______________________________________________________

(наименование организации, проводившей строительство кранового пути)

___________

(должность)

___________

(подпись)

______________________________________________________

(наименование организации-проектировщика кранового пути)

___________

(должность)

___________

(подпись)

Приложение 3 к Паспорту

"УТВЕРЖДАЮ"

_________________

_________________

_________________

«__»________20__г.

Акт сдачи-приемки заземления кранового пути

Гор._______________

«___»________20__г.

Проектная документация________________________________________________________

Конструкция заземления________________________________________________________

                                                        (соответствует, не соответствует проекту)

Место расположения и длина заземления__________________________________________

Наименование, тип и номер прибора для измерения сопротивления заземления__________

Место измерения_______________________________________________________________

Погода в течении последних трех дней и в день производства измерений_______________

Сопротивление заземления, Ом__________________________________________________

Заземления пути:

удовлетворяет нормам__________________________________________________________

не удовлетворяет нормам________________________________________________________

Заземление кранового пути выполнил и сдал_______________________________________

_____________________________________________________________________________

                                                        (организация, должность, фамилия, подпись)

Измерение сопротивления заземления выполнил____________________________________

_____________________________________________________________________________

                                                        (организация, должность, фамилия, подпись)

Заземление пути принял

_____________________________________________________________________________

                                                        (организация, должность, фамилия, подпись)

Приложение 4 к Паспорту

"УТВЕРЖДАЮ"

_________________

_________________

_________________

«__»________20__г.

Акт сдачи-приемки кранового пути в эксплуатацию

_____________________________________________________________________________

(организация)

Гор._______________

«___»________20__г.

Адрес объекта_________________________________________________________________

Тип, заводской и регистрационный номер крана____________________________________

Крановый путь

Разработчик проекта____________________________________________________________

                                                       (организация, № лицензии)

Проектная документация________________________________________________________

                                                       (№, соответствует, не соответствует ЕСКД)

Конструкция кранового пути_____________________________________________________

                                                    (соответствует, не соответствует проектной документации)

Наличие акта сдачи-приемки заземления пути ______________________________________

Тупиковые упоры______________________________________________________________

                                                   (тип и №, прошли, не прошли испытания)

Ограничители передвижения крана_______________________________________________

                                                            (отвечают, не отвечают требованиям эксплуатации)

Произведена обкатка пути проходами крана:

без груза______________________________________________________________________

с максимальными рабочим грузом________________________________________________

Результаты измерений планово-высотного положения элементов кранового пути приведены в таблице П.4.2., прилагаемой к паспорту.

ВЫВОДЫ И ЗАКЛЮЧЕНИЯ

_____________________________________________________________________________

                                  (крановый путь в целом соответствует или не соответствует)

требования правил Ростехнадзора (Госгортехнадзора России) и

_____________________________________________________________________________

                                 (допускается или не допускается к эксплуатации)

работу по устройству кранового пути выполнил и сдал_______________________________

_____________________________________________________________________________

                                (организация, должность, фамилия, подпись)

Крановый путь принял в эксплуатацию____________________________________________

                                                                     (организация, должность, фамилия, подпись )

Приложение 5

ОБЩИЕ МЕТОДИЧЕСКИЕ ПОЛОЖЕНИЯ И ЗНАЧЕНИЯ ПАРАМЕТРОВ, ИСПОЛЬЗУЕМЫЕ ПРИ РАСЧЕТАХ НАЗЕМНЫХ КРАНОВЫХ ПУТЕЙ

Таблица П.5.1

Расчетные сопротивления материалов элементов кранового пути

Элементы кранового пути

Материал

Вид напряженного состояния

Обозначение

Расчетное сопротивление МПа (кгс/см2)

Земляное полотно

Супесь, суглинок, глина;

Сжатие

Ro

0,13(1,3)

Мелкий песок;

Сжатие

Ro

0,3(3)

Крупно- и среднезернистый песок

Сжатие

Ro

0,35(3,5)

Балластная призма

Крупно- и среднезернистый песок;

Сжатие

Rб

0,5(5)

Сортированный и карьерный гравий и шлак;

Сжатие

Rб

0,6(6)

Щебень из естественного камня.

Сжатие

Rб

0,7(7)

Направляющие типа Р и Кр

Сталь

Изгиб, сжатие, растяжение

R

300(3000)

Опорные элементы полушпалы

Деревянные

Изгиб, смятие и сжатие поперек волокон

Rизг

13(130)

Rс 90

3(30)

Балки, плиты полушпалы

Стальные

Изгиб, сжатие, растяжение

R

210(2100)

Балки, плиты, полушпалы

Железобетонные

 

 

 

Бетон кл. В25

Осевое сжатие

Rв

14,5(148)

Бетон кл. В30

Осевое сжатие

Rв

17(173)

Арматурные стержни АIII

Растяжение

Rв

365(3750)

Сжатие

Rс

365(3750)

Таблица П.5.2

Плотность грунта и коэффициент уплотнения земляного полотна.

Вид грунта земляного полотна

Плотность грунта земляного полотна, кг/см3, не менее

H1

Мелкие пылеватые пески;

1,70

Супеси;

1,65

Суглинки:

 

Мелкие, пылеватые;

1,60

Тяжелые;

1,60

Глины

0,96

Коэффициент уплотнения

0,96

Таблица П.5.3

Коэффициент условия работы в зависимости от класса нагружения кранового пути

Класс нагружения кранового пути

H1

H2

H3

H4

Коэффициент условия работы, m

1

0,95

0,90

0,85

Таблица П.5.4

Максимально допустимая упругая просадка кранового пути, мм

Вид балласта

Класс нагружения кранового пути

H1

перед обкаткой

после обкатки

после года эксплуатации

Щебень (25 - 70 мм)

11,0

9,0

7,0

Щебень мелкий, смешанный балласт (5 - 25 мм)

14,0

11,0

8,0

Гравий

14,0

11,0

8,0

Песок

17,0

13,0

10,0

Таблица П.5.5.

Гранулометрический состав балластного материала

Вид балластного материала

Размер частиц фракций, мм

Содержание частиц фракций по массе, % не менее

Допуски

Примечание

Максимальный размер частиц, мм

Содержание частиц по массе, %

Более верхнего предела крупности фракции

Менее верхнего предела крупности фракции

Размером менее 0,14 мм

Песка размером до 3 мм

Шлак гранулированный

0,5 - 3

90

-

5

10

4

-

-

Шлак доменный

3 - 60

50 - 80

80

20

30

4

20-50

Прочность на сжатие должна быть не менее 0,4 МПа

МЕТОДИКА РАСЧЕТА НАЗЕМНОГО КРАНОВОГО ПУТИ НА ПРОЧНОСТЬ

1. Общие положения

Теоретические методы определения сил взаимодействия кранового пути и грузоподъемного крана, а также возникающих при этом деформировано - напряженных состояний взаимодействующих элементов, обычно используются при конструировании пути и опорной части крана. При конструировании с их помощью обеспечиваются необходимые уровни прочности и напряженности кранов, требования условий безопасности и надежности движения крана. Они позволяют выбрать допустимые и оптимальные условия эксплуатации в различных эксплуатационных условиях (при заданных типах верхнего строения пути, плане линий, нормах устройства и содержания пути и крана и т.п.). Прочность элементов наземного пути - одно из основных условий обеспечения безопасности эксплуатации грузоподъемных кранов.

При создании методики расчета пути на прочность использованы сведения из теории взаимодействия пути и крана. В то же время упругие и остаточные деформации пути являются элементами этих расчетов и указанная выше теория сама нуждается в результатах расчетов пути на прочность. Поэтому традиционно в теории взаимодействия пути и крана излагаются вопросы расчетов пути на прочность. Ниже кратко изложены основные сведения о расчетах пути на прочность. Данная методика применима для расчета на прочность крановых путей с полушпалами (деревянными, железобетонными, металлическими), балками, плитами (железобетонными, металлическими) уложенными на грунтовое основание, при различном сочетании нагрузок на направляющую.

Основной целью расчетов элементов кранового пути на прочность является:

определение минимально необходимой мощности верхнего строения по условиям прочности материалов элементов конструкции кранового пути;

решение задач, связанных с расчетом необходимой мощности отдельных пути при прочих известных параметрах его конструкции (тип направляющей, материал и толщина балластной призмы, эпюры укладки полушпал, тип опорных элементов и др.);

определение допустимых нагрузок от колеса на рельс при определенной, заранее заданной конструкции верхнего строения пути;

определение допустимых продольных и поперечных уклонов и упругой просадки (деформации) кранового пути при эксплуатации кранов.

2. Выбор расчетной схемы

Методы расчета кранового пути на прочность и устойчивость зависят от выбранной расчетной схемы. Крановый путь следует рассматривать как двухслойную бесконечно длинную балку на упругом основании сплошном (рис. П.5.1. а), так как стыковые соединения направляющих и конструкция опорных элементов позволяют с достаточной для практических целей точностью принять крановый путь постоянной по длине жесткостью.

Рис П.5.1. Расчетная схема наземного кранового пути

Для определения расчетной схемы конструкцию кранового пути представим как двухслойную балку, на сплошном упругом основании, состоящую из первого слоя балки - опорных элементов, уложенных вдоль направляющей поперек с определенным шагом (полушпалы) или длинной стороной (балки, плиты). Промежуточные скрепления обеспечивают фиксированное положение направляющей на опорных элементах, но не препятствуют продольному перемещению слоев двухслойной балки. Балластная призма и земляное полотно рассмотрим как сплошное упругое основание (рис. П.5.1. б). Расчетную схему наземного кранового пути с учетом действительной работы элементов, составляющих конструкцию, при воздействии колесных нагрузок от грузоподъемного крана следует рассматривать в следующем виде (рис. П.5.1. б):

направляющая (рельс) - балка бесконечной длины (стыки во внимание не принимаются, так как стыковые накладки обеспечивают равно прочность и жесткость направляющей кранового пути) под воздействием одиночной или системы сосредоточенных колесных нагрузок имеет непрерывную связь (контакт) с опорными элементами; опорные элементы - балки бесконечной длины - под воздействием нагрузок, передаваемых направляющей, имеет непрерывную связь с направляющей и грунтовым основанием;

грунтовое основание - балластная призма и земляное полотно - однородное упругое полупространство под воздействием нагрузки, передаваемой опорными элементами.

Заменив элементы кранового пути стержнями, а связи - силами, получим основную систему сил (рис. П.5.1. в), которая будет представлять:

направляющая - стержень, жесткостью EJ, под воздействием системы сосредоточенных сил (колесные нагрузки) и распределенной нагрузки (реактивный отпор);

опорные элементы - стержень, жесткостью EJ, под воздействием распределенных нагрузок со стороны направляющей и реактивного отпора фунтового основания;

балластная призма и земляное полотно - однородное упругое полупространство под воздействием распределенной нагрузки.

Предложенные расчетная схема и основная система сил в большей степени соответствует действительной работе элементов кранового пути.

ТЕОРЕТИЧЕСКИЕ РАСЧЕТЫ.

При расчете балки, лежащей на сплошном упругом основании, в большинстве случаев пользуются дифференциальным уравнением четвертого порядка изогнутой оси балки

                                                                                  (1)

где EJ - жесткость балки,

y(x) - вертикальное перемещение нейтральной оси балки,

q(x) - распределенная реакция со стороны основания.

Величины y(x) и q(x) являются неизменными, для их определения требуется составить еще одно дополнительное уравнение, устанавливающее зависимость между ними. Принятая зависимость между y(x) и q(x) определяет различие в методах расчета балки, лежащей на сплошном упругом основании.

Гипотеза Фусса-Винклера (или гипотеза "коэффициента постели") исходит из предпосылки о пропорциональности перемещения элементарной площадки поверхности фунта внешним давлениям на эту площадку. В этом случае между перемещениями оснований y(x) и реактивным давлением q(x) существует соотношение

y(x) = C×q(x)                                                                                           (2)

где C - коэффициент постели (пропорциональности) с размерностью МПа/м3.

Для модели упругого полупространства, имеющего модуль деформации (упругости) E0 и коэффициент Пуассона μ0, прогиб в точке поверхности полупространства с координатами х, у, вызванный действием сосредоточенной единичной силой, приложенной в точке его поверхности с координатами х, h, выражается формулой (1)

                                                                   (3)

Результаты расчетов, основанных на вышеизложенных теоретических выводах, зависят главным образом от того, насколько правильно приняты численные значения величин и коэффициентов, входящих в расчетные формулы.

Для практических расчетов на прочность балок, лежащих на сплошном упругом основании, используются механические параметры, характеризующие грунтовое основание C или E, полученные в результате штамповых испытаний или опытным путем.

Проведенные исследования Н.А. Цытовичем (2), О.А. Савиновым (3) показывают, что коэффициент постели C и модуль упругости E для природных фунтов не являются величинами постоянными, а зависят от удельного давления на грунт, так и от площади передачи нагрузки, что необходимо учитывать при расчетах.

Следует учитывать также, что в отдельных случаях возникает необходимость устройства подстилающего слоя под балкой. Тогда модуль деформации грунта заменяется эквивалентным модулем деформации, который определяется по формуле (4)

                                                     (4)

где E0 - модуль деформации грунта,

h - толщина подстилающего слоя,

Д - диаметр штампа,

E1 - модуль упругости материала подстилающего слоя,

Немаловажное значение имеет и тот факт, что в грунтовом основании балки, загруженной подвижной нагрузкой, в отдельный период может происходить процесс накопления остаточных деформаций, имеющий затухающий характер, т.е. при каждом последующем приложении подвижной нагрузки деформации продолжают расти с постепенным уменьшением величины приращения.

Все это говорит о сложности получения точных значений механических параметров грунтового основания, а следовательно и определения изгибающего момента M, поперечной силы Q, реактивного отпора q(x) и упругого прогиба (деформации) y(x). Затрудняет исследования по оптимизации параметров конструкции балки и грунтового основания.

В такой постановке задача будет практически не решена, т.к. будет происходить непрерывный процесс изменения параметров балки (размеров, жесткости) и грунтового основания (материал и толщина подстилающего слоя).

Решение задачи можно значительно упростить, если исходить из обратного, т.е. на первом этапе определяются все условия (для определенной нагрузки соответствующие размеры и жесткость балки), обеспечивающие начальные параметры (величину деформации y(x) и интенсивность распределенной нагрузки q(x)). На втором этапе определяются механические параметры C или E, соответствующие определенным на первом этапе условиям.

Решая дифференциальное уравнение при принятых параметрах y(x) или q(x), в зависимости от условий задачи, определяем значения изгибающего момента, поперечной силы, необходимой жесткости балки.

Следует также добавить, что фунтовое основание рассматривается, как однородное упругое полупространство, подчиняющееся законам теории упругости.

Решение задачи начинается с построения линии влияния от единичной силы с последующим умножением её ординаты на действующую нагрузку, а на основании закона независимости действия сил суммируем полученные результаты от этих сил.

При не очень больших изменениях внешних давлений (порядка 0,3 - 0,5 МПа, а для плотных и твердых фунтов и до 0,5 - 0,7 МПа), с достаточной для практических целей точностью, зависимость между деформациями y(x) и напряжениями σ(x) может приниматься линейной, что значительно упрощает расчеты и не вносит в них недопустимых погрешностей.

При небольших изменениях напряжений к фунтам с полным к тому основанием можно принять теорию линейно деформируемых тел (2).

Общая зависимость между относительными деформациями ε и нормальными напряжениями а при постоянстве модуля общей деформации E будет иметь вид

                                                                                                 (5)

Если из фунтового основания выделить два деформированных столбика единичной площади, тогда коэффициент относительной деформации составит

ε1= y1/h, ε2 = y2/h                                                                                  (6)

где y1 - величина деформации грунтового основания в i - точке,

h - условная величина сжимаемого слоя грунта.

Значения коэффициентов подставим в уравнение (5) и, приняв y1 = ymax, а y2 = y(x), получим

                                                               (7)

отсюда

                                                                            (8)

или

                                                                                              (9)

тогда

                                                                                       (10)

Зная напряжения в грунтовом основании, по линии контакта балки определим зависимость интенсивности отпора q(x) и величиной деформации y(x)

                                                               (11)

где bоп - ширина балки.

Приняв начало координат в точке приложения силы и рассматривая изгиб балки от действия интенсивности отпора q(x) с учетом уравнения (11), уравнение четвертого порядка изогнутой оси балки примет вид

                                                                        (12)

или

                                                                 (13)

Тогда упругую характеристику балки на упругом основании можно представить в виде

                                                                                  (14)

Основы принятой расчетной схемы и теоретических исследований работы элементов кранового пути показывают, что опорный элемент изгибается под действием нагрузок интенсивностью, равной разности ( рис. П.5.1. в)

q(x)on = -q(x)p + q(x)осн                                                                                   (15)

где q(x)on, q(x)p - интенсивность нагрузки, действующей на опорный элемент (ОП) и направляющую (Р);

q(x)осн - интенсивность отпора фунтового основания (оси).

Дифференциальные уравнения изогнутой оси (1) для направляющей примет вид

                                                                              (16)

где EpJp - жесткость направляющей, опорного элемента направляющих

                                                                                (17)

где Bоп - жесткость опорного элемента.

Подставив значения (16) и (17) в уравнение (15) и произведя дальнейшие преобразования с учетом, что в точке приложения внешней силы перемещения направляющей yp и опорного элемента yоп будут равны, получим

                                                                 (18)

Принимая зависимость сжимающих напряжений на балластную призму (11), получим интенсивность распределенной нагрузки основания

(19)

где bоп - ширина опорного элемента.

Тогда дифференциальное уравнение изогнутой оси (13) для кранового пути примет вид

                                                                    (20)

где B0 - приведенная жесткость верхнего строения кранового пути = Воп + EpJp.

После решения дифференциального уравнения (20) и выполненных преобразований получим расчетные формулы:

упругой характеристики кранового пути

                                                                                    (21)

распределенной нагрузки основания

                                                            (22)

изгибающего момента

                                                        (23)

поперечной силы

                                                                             (24)

величина упругой деформации

                                                (25)

где x - расстояние от точки загружения до расчетного сечения;

yн - нормативные (предельно-допустимые) значения деформации грунтового основания

σн - нормативное (предельно-допустимое) значение напряжения в грунтовом основании.

В опоре крана может быть одно, два и более колес с различным расстоянием по осям и нагрузкой от колеса на направляющую.

Расстояние между осями колес в опоре и нагрузка существенно влияет на работу элементов кранового пути. Для оценки этого влияния рассмотрим деформации, влияющие в верхнем строении кранового пути от совместного действия колес опорных тележек крана.

Ординаты линии влияния эпюры прогибов балки на упругом основании определяется по формуле

η = e2λ×(cosλx + sinλx)                                                                         26

Изгиб балки (кранового пути) симметричен относительно загруженного сечения, поэтому принимая различные значения расстояния от точки приложения нагрузки x определяем ординаты линии влияния ηi.

Зависимость величин упругой деформации от числа нагруженных колес в опорной тележке крана и линии влияния показаны на рис. П.5.1.2.

Рис. П.5.1.2 Прогибы рельсов под воздействием двух-, трех-, и четырехколесных тележек.

 - Ординаты линии влияния от действия отдельных сил .

 - Ординаты линии влияния от одновременного действия сил, соответственно под двух-, трех-, и четырехколесными тележками.

На основании вышеизложенного, упругая деформация при действии нескольких сил yn составит

                                                                 (27)

где Рi - соответствующая нагрузке от колеса на направляющую;

ηi - ордината линии влияния эпюры от соответствующей вертикальной нагрузки в расчетном сечении.

Аналогично получены и расчетные формулы:

реактивного отпора

                                                                                    (28)

изгибающего момента двухслойной балки

                                                                                       (29)

изгибающий момент в одном из элементов двухслойной балки

                                                                              (30)

где EiJi - жесткость одного из элементов двухслойной балки;

μi - ордината линии влияния эпюры изгибающего момента в верхнем строении кранового пути от соответствующей колесной нагрузки, в расчетном сечении

μ = e2λ×(cosλx - sinλx)                                                                              (31)

поперечной силы

                                                                                       (32)

где β - ордината линии влияния эпюры поперечной силы от соответствующей колесной нагрузки в расчетном сечении

β = eλx×cosλx                                                                                            (33)

На основании выполненных преобразований получены расчетные формулы:

упругой характеристики кранового пути

                                                                                        (34)

                                                                                        (35)

сжимающих напряжений в грунтовом основании под балкой (плитой)

                                                                 (36)

где R0 - расчетное сопротивление опорного грунта, принимаемое в расчетах для данного грунтового основания

необходимой жесткости верхнего строения

                                                                              (37)

вертикальная сила давления на полушпалу

                                                                               (38)

где l - расстояние по осям полушпал;

сжимающие напряжения в балластном слое непосредственно под полушпалой

                                                                                           (39)

где а - длина полушпалы;

в - ширина полушпалы. осевые и кромочные напряжения в направляющих при изгибе под действием вертикальных сил

                                                                           (40)

где EpJp - жесткость направляющей;

Wp - момент сопротивления направляющей;

В0 - общая жесткость двухслойной балки.

Rp - расчетное сопротивление материала направляющей

осевые и кромочные напряжения в полушпале:

                                                                                      (41)

где W - момент сопротивления полушпалы в расчетном сечении;

Rи - расчетное сопротивление в материале полушпалы при изгибе.

Изгибающий момент двухслойной балки распределяется пропорционально жесткости элементов составляющих балку:

                                                            (42)

изгибающий момент в направляющей изгибающий момент опорного элемента

                                                             (43)

где m - коэффициент условия работы элемента;

EоJо - жесткость опорного элемента.

На основании уравнения (36) строится эпюра сжимающих напряжений (давлений) на границе фунтового основания и подошвы опорного элемента.

После этого эпюра давлений разбивается на равные ступенчатые участки (рис. П.5.1.2).

Принимаем, что в центре каждого участка приложена сосредоточенная сила

Pi = Fi×σi,                                                                                                 (44)

где Fi - площадь участка;

σi - давление в центре участка.

Для определения сжимающих напряжений в грунтовой толще используется способ элементарного суммирования (2)

                                                                                        (45)

где n - число площадок;

Ki - коэффициент, определяемый по таблице /2/ в зависимости от отношения ri/z;

ri - проекция на горизонтальную плоскость расстояния от центра тяжести i-ой площадки до рассматриваемой точки;

z - глубина.

При известном распределении напряжений по глубине по вертикали, проходящей через центр максимального давления балки на грунтовое основание, определяются параметры, т.е. материал и толщина подстилающего слоя.

В основу определения оптимальной толщины подстилающего слоя положен метод эквивалентного слоя, разработанный профессором Г.И. Покровским.

По кривой распределения напряжений определяется глубина, на которой должно соблюдаться условие:

σz < R0                                                                                                       (46)

где R0 - расчетное сопротивление сжатого грунта, принимаемое в расчетах для данного фунтового основания.

Слой грунта толщиной, равной глубине, на которой обеспечивается равенство (25), заменяется эквивалентным слоем более жесткого материала.

Для определения толщины эквивалентного слоя (подстилающего слоя) для грунтовых оснований, работающих в стадии медленного накопления пластических деформаций, профессором Н.Н. Ивановым предложена формула /5/

                                                                                          (47)

где E1 и Е0 - модули деформации подстилающего слоя и грунтового основания;

hэкв - толщина эквивалентного слоя (подстилающего слоя);

h = z - толщина слоя грунта, равная глубине, на которой обеспечивается равенство (46).

Предлагаемый подход к решению задачи по оптимизации параметров балки, лежащей на сплошном упругом основании, позволяет с достаточной для практических расчетов точностью получить оптимальные параметры элементов кранового пути (опорных элементов балки, жесткость, толщину и материал подстилающего слоя в зависимости от нагрузки и свойств грунтов, типа направляющей).

ИНЖЕНЕРНЫЕ МЕТОДЫ РАСЧЕТОВ ПРОЧНОСТИ НАЗЕМНЫХ КРАНОВЫХ ПУТЕЙ

Существуют достаточно широкие области условий эксплуатации грузоподъемных кранов, где инженерные методы расчетов наземных крановых путей на прочность дают результаты, в практическом смысле не отличающиеся от тех, которые могут быть получены решением задач в полной их постановке.

Методы расчетов пути на прочность в полной постановке должны учитывать влияние:

частотный спектр неровностей пути (уклон, сужение или расширение и перекос пути);

природных и техногенных явлений(ветровой напор, колебания земли и т.д.);

динамику масс системы кран - путь;

упругие деформации элементов системы кран - путь;

частичная или полная потеря несущей способности отдельных элементов пути (повреждения , износ, коррозия, старение и т.д.);

режима эксплуатации крановых путей.

Инженерными методами в данной постановке решение конкретных задач очень сложно и трудоемко.

Инженерные методы расчетов наземного кранового пути на прочность представляют возможность выбора конструкций с заданными уровнями прочности при заданных условиях эксплуатации (тип грузоподъемного крана, вероятности распределения осевых нагрузок, нормах содержания пути и т.п.).

В инженерные методы расчета наземного кранового пути на прочность могут быть введены следующие основные принципы:

динамические вертикальные и горизонтальные силы, передаваемые колесами крана направляющим, являются статическими величинами;

параметры прочности материалов элементов являются статическими величинами, однако принимается, что значения возникающих в элементах пути динамических напряжений не должны выходить за некоторые установленные уровни наибольших допускаемых напряжений;

возникающие в процессе эксплуатации повреждения и накопленные остаточные деформации являются временным фактором.

Обеспечить уровень безопасной эксплуатации грузоподъемных кранов и предотвратить преждевременный выход из стоя кранового пути можно ограничением наибольших допускаемых напряжений, при соответствующем их выборе; принятием соответствующих параметров кранового пути и его элементов.

Полученные на этой основе, с учетом необходимого запаса надежности, допускаемые напряжения проверяют, сопоставляя результаты расчетов напряжений в элементах пути с последствиями, которые возникают при эксплуатации пути. В качестве значений допускаемых напряжений принимают такие максимальные значения расчетных напряжений, при которых в эксплуатации пути еще не возникают или возникают с заданной интенсивностью усталостные повреждения, а остаточные деформации имеют допустимую интенсивность.

Расчеты пути на прочность основываются главным образом на официально принятых параметрах и нормах устройства и содержания пути и грузоподъемных кранов, а в некоторых случаях и на данных о фактическом состоянии пути и ходовой части кранов. Это особенно необходимо тогда, когда по каким-то видам износов или деформациям отсутствуют официальные нормы содержания кранового пути и кранов.

Требованиями нормативных документов эксплуатация наземных крановых путей запрещается только при появлении в элементах пути дефектов и повреждений снижающих их прочностные свойства:

направляющие - трещины, выколы, износ, коррозия;

опорные элементы деревянные - смятия, гнилостные пятна, сквозная внутренняя гниль, продольные и поперечные трещины, излом;

опорные элементы железобетонные - сплошные опоясывающие и продольные трещины. сколы, разрушение (выкрашивание), открытый обрыв арматуры, излом;

грунтовое основание - засорение (изменение структуры), переувлажнение, неравномерная осадка, трения грунтов в зимнее время.

Учитывая возможные влияния дефектов и повреждений элементов кранового пути, приведенных в таблице, можем принять приведенный коэффициент запаса прочности.

Таблица П.5.1.

Факторы, оказывающие влияния на элементы кранового пути

N

Факторы

Элементы кранового пути

Рельс

Полушпала

Грунтовое основание

1

Перегрузки, уклон пути, ветровая нагрузка.

+1,1

+1,1

+1,1

2

Дефекты рельса и скреплений (трещины, местный износ, выколы, ржавчина)

+1,1

-

-

3

Просевшие или зависшие опорные элементы

+1,1

+1,1

+1,1

4

Поломанные или гнилые с трещинами и червоточинами полушпалы

+1,1

+1,1

+1,1

5

Укладка полушпал с допуском ±50 мм

+1,1

+1,1

+1,1

6

Периодическое кратковременное увлажнение древесины полушпал

-

+1,1

-

7

Переувлажнение грунтового основания (местное)

+1,1

-

+1,1

8

Коэффициент влияния

1,8

1,6

1,6

Для определения расчетных параметров и производства расчетов кранового путина прочность принята следующая методическая последовательность: формируется конкретная инженерная задача расчета;

назначаются основные элементы кранового пути;

определяются основные расчетные характеристики элементов расчетной схемы;

определяются расчетные величины в элементах кранового пути;

анализируются напряжения деформации в элементах кранового пути;

производится заключение по поставленной задаче.

Пример

1. Задача расчета.

Определить параметры кранового пути козлового крана ККТС-20. При условии применения металлической плиты открытая площадка, грунт основной площадки - песок мелкозернистый, продольный и поперечный уклоны не более 0,01L.

Режим работы крана А3. Срок эксплуатации длительный. Опорная база крана 8 колес, база тележки 700 мм, нормативная нагрузка от колеса на направляющую = 18 тс.

2. Основные элементы кранового пути.

Направляющие типа Р-65 с приведенным износом 9 мм. Момент инерции Jp = 2011 см4, момент сопротивления Wp = 285 см3, модуль упругости стали Ер = 2,1·10 кгс/см2, расчетное сопротивление Rиз = 3000 кгс/см2

Промежуточное рельсовое скрепление разъемное, сплошное опирание.

Балластный материал - среднезернистый песок с модулем упругости Еб = 1200 кгс/см2 и расчетным сопротивлением на сжатие Rсж = 5 кгс\см2.

Грунт основной площади (земляного полотна) - суглинок с модулем упругости Е0 = 1200 кгс/см2 и расчетным сопротивлением R = 2,2 кгс/см2.

Опорные элементы - металлическая плита шириной Вш = 38,68 см. Продольная жесткость плиты в расчетах не учитывается, а считается дополнительным запасом прочности. В поперечном направлении плита принимается абсолютно жесткой.

3. Основные расчетные характеристики элементов расчетной схемы.

Расчетная схема кранового пути рассматривается как балка бесконечной длины, лежащая на сплошном упругом основании, загруженная системой сил.

Расчетная вертикальная сила давления колеса на направляющую

Рр = 0,75×Р×γ1 = 0,75×18×1,3 = 17,55 тс

где γ1 = 1,3 коэффициент, учитывающий не равномерное распределение нагрузки за счет уклона пути, ветровой нагрузки и т.д.

Предельный изгибающий момент направляющей

[Миз]р = Wp×Rизр×γ2 = 285×300×0,7 = 59850 кг×см.

где γ2 = 0,7 - коэффициент условия работы направляющей (просадки, износ полушпал и т.д.).

Коэффициент относительно жесткости кранового пути

где, Rсж = 5 кгс/см2 - расчетное сопротивление на сжатие балластного материала;

Ymax = 1,5 см - предельно допустимая упругая просадка основание.

Bоп - приведенная ширина металлической плиты эквивалентна шпальной решетки с деревянными полушпалами

Bоп = ав/Г·γ4·γ5 = 135×25/60×0,83×0,85 = 39,68 см

где а = 135 см - длина полушпалы;

в - 25 см - ширина полушпалы;

Г = 70 см - расстояние между осями полушпал;

γ4 = 0,83 - коэффициент изгиба полушпал, учитывающий неравномерность опирания;

γ5 = 0,85 - коэффициент условия работы полушпал (однотипность полушпал износ и т.д.)

Ордината линии влияния эпюры прогибов

ηi = 0,937 (при КХ = 0,0094×33,5)

Коэффициенты относительной жесткости кранового пути с учетом нагрузки

Ордината линии влияния эпюры изгибающих моментов

μ = 0,199 при KХ = 0,0087×70

Ордината линии влияния эпюры прогибов

η =0,9350 при KХ = 0,0087×35

4. Определение расчетных величин в элементах пути

Осевые и кромочные напряжения в рельсах при изгибе под действием вертикальных сил

σк.о. = ∑Ppμi/4×K×Wp = 17550×1,199/4×0,0087×285 = 2121,6 < R = 3000×0,75 = 2250 кгс/см2

Напряжения в балластном слое непосредственно под плитой

Упругая деформация кранового пути составит:

Уф = Ун·K·(∑Pi·ηi)/2·σб·Воп = Ун·0,0087Р·1,87/3,6·39,68 = Ун·0,99

5. Анализ расчетов кранового пути

Принятая конструкция кранового пути соответствует устанавливаемому грузоподъемному крану.

Напряжения и деформации не превышают нормативных значений.

Приложение 6

ПЛАН, ПРОФИЛЬ И ОСНОВНЫЕ ГЕОМЕТРИЧЕСКИЕ РАЗМЕРЫ ЭЛЕМЕНТОВ НАЗЕМНОГО КРАНОВОГО ПУТИ.

Рис. П.6.1. План, продольный и поперечный профиль, а также основные конструктивные элементы и геометрические размеры наземных крановых путей.

а) - план; б) - схема расположения пути; в), г) - продольный и поперечный профиль; Д, Е - расстояния от корпусной нитки направляющей соответственно до ближайшей стены и до оси строящегося здания; Вз - ширина земляного полотна; Вбп - ширина балластной призмы; Воп - длина опорного элемента (полушпалы); hб - высота балластного слоя под опорным элементом; К - колея кранового пути.

1 - направляющая; 2 - опорный элемент (полушпала); 3 - балластная призма; 4 - тупиковые упоры; 5 - отключающая линейка; 6 - стяжка; 7 - заземление; 8 - ограждение; 9 - земляное полотно; 10 - водоотвод; I - ось направляющей; II - ось водоотвода; III - ось кранового пути.

Рис. П.6.2. Вертикальная и горизонтальная планировка, поперечный профиль земляного полотна кранового пути.

А - размер колеи; Б - расстояние между проектной осью здания и осью корпусной нити направляющей кранового пути; Д - расстояние от оси направляющей до оси водоотводных канав.

1 - проектная ось здания; 2 - ось водоотводных канав; 3 - ось направляющей; 4 - ось кранового пути

Рис. П.6.3. Типы земляного полотна наземных крановых путей:

а) на мало сжимаемых природных грунтах; б) на слабых природных грунтах по всей ширине земляного полотна (вар. 1) и под нитями направляющих кранового пути (вар. 2); в) на планировочных насыпях - подсыпках;

Рис. П.6.4. Поперечные профили наземных крановых путей для различных конструкций земляного полотна на естественном основании.

а - сухое; б - переувлажненное;  - минимальная высота земляного полотна. 1 - балластная призма; 2 - земляное полотно; 3 - защитный слой из дренирующего (песчано-гравийного) грунта (не менее 200); 4 - водоотвод; 5 - строящийся объект или складируемые грузы.

Рис. П.6.5. Поперечный профиль наземного кранового пути на общем земляном полотне

а, б - с железнодорожном путем; в - с автодорогой.

1- земляное полотно; 2 - балластная призм; 3 - водоотводная канава; 4 - ось направляющей; 5 - ось железной дороги; 6 - ось автомобильной дороги.

Рис. П.6.6. Поперечный профиль наземных крановых путей.

а - для портальных кранов портовых сооружений с общей проезжей частью; б - на косогоре.

А - колея кранового пути; Б - минимальное нормативное расстояние оси выступающих частей здания до оси направляющей. 1 - опорный элемент; 2 - водоотвод; 3 - 4 - направляющая.

Приложение 7

ЭЛЕМЕНТЫ ВЕРХНЕГО СТРОЕНИЯ КРАНОВОГО ПУТИ

Рис. П.7.1. Поперечный профиль направляющих (а - типа Р; б - типа КР).

H1 - высота рельса; Н2 - высота изношенного рельса; hr - высота головки; b1 - ширина головки; b2 - ширина изношенной головки; bп - ширина подошвы.

Таблица П.7.1.

Основные размеры и масса направляющих типа Р и КР

Тип направляющей

bп, мм

b1 мм

b2, мм

H1, мм

Н2, мм

hr, мм

Масса кг/м

Приведенный износ, мм

Р38*

114

68

57,8

135

129

40

38,4

10

Р43*

114

70

59,5

140

133,7

42

44,6

10,5

Р50

132

72

61,2

152

145,7

42

51,67

11

Р65

150

75

63,75

180

173,25

45

64,72

11,5

Р75

150

71,8

61,3

192

183,75

55

74,41

12

КР80

130

87

73,95

130

124,75

35

64,24

10,5

КР100

150

108

918

150

140

40

89,05

12

КР120

170

129

109,65

170

163,25

45

118,29

14,5

КР140

170

150

127,5

170

162,5

50

146,92

16,5

*Приведенный износ головки рельса - это вертикальный износ плюс половина горизонтального

Рис. П.7.2. Стыковое разъемное скрепление для направляющих типа Р.

1 - накладка двухголовая; 2 - болт; 3 - гайка; 4 - шайба пружинная.

Рис. П.7.3. Стыковые двухголовые накладки для направляющих типа Р.

а - шестидырные; б - четырехдырные.

Таблица П.7.2.

Размеры стыковых двухголовых накладок, мм

Тип рельса

А

Б

В

Г

Д

Е

Ж

З

И

Л

Число отверстий

Масса 1 шт., кг

овальных

круглых

Р43

65

160

по

120

24

32

94

-

-

790

3

3

16

Р43

65

-

-

-

24

-

94

110

120

470

-

4

16

Р50

50

140

150

140

26

34

104

-

-

820

3

3

18,8

Р50

50

-

-

-

26

-

104

150

140

540

-

4

18,8

Р65

49

130

220

202

30

40

127

-

-

1000

3

3

29,1

Р65

79

-

-

-

28

-

127

220

202

800

-

4

29,1

Р75

70

-

-

-

32

-

127

165

435

900

-

4

29,1

Рис. П.7.4. Разъемное стыковое скрепление для направляющих типа КР.

1 - специальная накладка; 2 - болт; 3 - гайка; 4 - шайба пружинная.

Рис. П.7.5. Накладка специальная для направляющих типа КР.

Таблица П.7.3.

Размеры специальных накладок для направляющих типа КР, мм

Тип направляющей

h

a1

a2

a3

a4

a5

S

КР 70

48

-

-

-

-

-

-

КР 80

51

30

5

8

8

7

16

КР 100

58

35

6

9

9

9

20

КР 120

66

40

7

11

12

12

25

КР 140

70

45

11

17

15

12

30

Рис. П.7.6. Поперечные сечения деревянной полушпалы:

а - обрезных тип IA; IIА; IIIА; б - необрезных тип IБ; IIБ; IIIБ; в - из бруса.

Таблица П.7.4

Размеры поперечного сечения деревянных полушпал, мм

Тип полушпал

h

б

б1

б2

h1

IA

180

165

250

-

150

IIА

160

160

230

-

130

IIIА

150

150

230

-

105

IБ

180

165

250

280

-

IIБ

160

160

230

260

-

IIIБ

150

150

230

250

-

Брус

200

-

250

-

-

Рис. П.7.7. Железобетонные полушпалы

а - ПШН1 - 13-325 - I, б - ПШН4 - 13-325 - I

Рис. П.7.8. Железобетонная балка БРП - 62.8.3.

Рис. П.7.9. Конструкция кранового пути на балках УЛТИ-6, 25.

1 - направляющая; 2 - железобетонная балка; 2 - 3 - крепление направляющей прижимами на шпильках.

Рис. П.7.10. Подкладки для крепления направляющих к полушпалам.

Таблица П.7.5.

Размеры подкладок для крепления направляющей к полушпалам, мм*

Тип направляющей

А

Б

В

Г

Д

Е

Ж

Р 43

75/66

72/73

150

156/114

35/27

80/60

300

Р 50

80/71

63/64

160

174/132

40/32

80/60

300

Р 65, Р 75

80/71

94/95

160

192.150

40/32

80/60

300

* Перед косой чертой даны размеры для подкладок, выполненных по рис. П.7.10. а, после черты - согласно рис. П.7.10. б. Подкладки изготавливаются из стали марки Ст3 по ГОСТ 535.

Рис. П.7.10. Прижимы для крепления направляющих путевыми шурупами.

Таблица П.7.6.

Размеры прижимов для крепления направляющих к полушпалам, мм**

Тип направляющей

А

Б

В

Г

Д

Е

Ж

Р 43, Р 50, Р 75

75/66

50

35/30

26/31

12/14

15

10

** Перед косой чертой даны размеры для прижимов, выполненных по рис. П.7.11. а, после черты - согласно рис. П.7.11. б. Прижимы изготовляются из стали марки Ст3 по ГОСТ 535.

Рис. П.7.11. Промежуточные скрепления с эластичным элементом (типа GANTREX):

I - на стальном или железобетонном основании

II - на опорных балках

III - на железобетонных опорных элементах.

Rh - максимально воспринимаемое боковое усилие в кН; е - диапазон регулирования направляющей в горизонтальной плоскости; 1 - направляющая; 2, 3, 4 - болт, шайба, гайка (анкер); 5 - прижим; 6 - опора из синтетического эластомера; 7 - упругая подкладка из синтетического эластомера; 8 - опорный элемент; 9 - мелкозернистый бетон; 10 - железобетон; 11 - регулятор высоты при необходимости; 12 - отверстие для установки анкера; 13 - стальная опорная плита.

Рис. П.7.12.

а, б) разъемное с нестандартными и стандартными закладными болтами по ГОСТ 16017; в) неразъемное.

1 - направляющая; 2 - прижим; 3 - упругая прокладка; 4 - болт; 5 - гайка; 6 - шайба; 7 - железобетонный опорный элемент.

Рис. П.7.13. Прикрепление направляющих к полушпалам:

а) шурупами; б) костылями

1 - направляющие 2 - шуруп путевой; 3 - прижим; 4 - подкладка; 5 - костыль; 6 - полушпала.

Приложение 8.

ПУТЕВОЕ ОБОРУДОВАНИЕ НАЗЕМНЫХ КРАНОВЫХ ПУТЕЙ

Рис. П.8.1. Тупиковые упоры

а - безударного типа; б, в - ударного типа.

Рис. П.8.2. Лоток для укладки кабеля.

а - из древесины; б - железобетонные лотки для кранов с троллейной подводкой электропитания

Рис. П.8.3. Ограничители передвижения:

а - линейка отключающая; б - копир.

Рис. П.8.4. Стяжки для крановых путей башенных кранов:

а) - из двутавра; б) - составная из трубы

Таблица П.8.1.

Длина и масса стяжек в зависимости от колеи крана

Ширина колеи, м

4,5

6,0

7,5

Длина стяжки L, мм

4380

5880

7380

Масса стяжки, кг

25,0

29,0

40,0

Рис. П.8.5. Заземление наземного кранового пути:

а) расположение очагов заземления: треугольником или по прямой линии; б) схема соединения вертикальных заземлителей; в) прикрепление соединительных проводников и перемычек к направляющим; г) схема измерения сопротивления заземления растеканию тока;

1 - промежуточная пластина; 2 - соединительный проводник; 3 - накладка; 4 - направляющая; 5 - перемычка; 6 - измеритель заземления.

Приложение 9.

(Форма)

ПАСПОРТ ТУПИКОВОГО УПОРА УДАРНОГО ТИП

________________________

(адрес организации

РЕГИСТРАЦИОННЫЙ ОРГАН

________________________

владельца кранового пути)

____________________________

________________________

____________________________

________________________

«____»________________20__ г.

1. НАЗНАЧЕНИЕ

Упор тупиковый предназначен для гашения остаточной скорости крана, а так же для предотвращения схода крана с кранового пути в аварийных ситуациях при отказе ограничителя передвижения или тормозов механизма передвижения крана.

2. ТЕХНИЧЕСКИЕ ХАРАКТЕРИСТИКИ

2.1. Тип тупикового упора - ударный

2.2. Габаритные размеры:

длина, мм

ширина, мм

высота, мм

2.3. Марка стали

2.4. Масса, кг

2.5. Суммарная длина упругих амортизаторов, установленных на кране и тупиковом упоре, мм (не менее)

2.6. Диаметр (площадь) сечения упругого амортизатора,

3. ПРИМЕЧАНИЕ

Тупиковые упоры применяются для следующих условий.

3.1. Тип крана (рег. №               )

3.2. Размерная группа или масса крана                               __________________

3.3. Рабочая скорость передвижения крана, м/мин.           __________________

3.4. Грузоподъемность,                                                         __________________

3.5. Тип направляющих кранового пути                             __________________

3.6. Температурный режим эксплуатации, °С                    __________________

4. СОСТАВ ИЗДЕЛИЯ И КОМПЛЕКТ ПОСТАВКИ

4.1. Тупиковый упор состоит из сварой конструкции и комплекта креплений.

4.2. Комплект поставки на один крановый путь - 4 шт.

5. УСТРОЙСТВО И ПРИНЦИП РАБОТЫ

Упор тупиковый ударного типа (рис П.9.1) выполнен в виде сварной рамы из швеллеров со стопором 2 и шестью прижимами 3. Рабочие поверхности стопоров и прижимов выполнены рифлеными для обеспечения эффективного сцепления с головкой направляющей.

Рис. П.9.1. Упор тупиковый ударного типа

Для гашения энергии удара на раме 1 устанавливается буфер (резиновый амортизатор) 4, крепящийся к корпусу болтами 5, причем высота его крепления определяется по высоте установки буфера на кране. При невозможности приближения буфера крана к тупику, к корпусу приваривается переходник 6, и к нему крепится буфер 4.

Крепление тупикового упора к головке направляющей осуществляется посредством прижимов 3 и гаек 7, затягиваемых с помощью стандартного гаечного ключа. На концах направляющих кранового пути устанавливаются дополнительные стыковые накладки 8, служащие для предотвращения смещения тупикового упора.

При наезде крана на тупиковый упор буфер 4, деформируясь, гасит кинетическую энергию двигающегося крана.

6. ПОДГОТОВКА ИЗДЕЛИЯ К РАБОТЕ

6.1. Тупиковый упор устанавливается на крановом пути так, чтобы его рабочая поверхность была направлена в сторону ходовых колес крана.

6.2. Установку тупиковых упоров на крановом пути следует производить на расстоянии не менее 500 мм от конца направляющих, ж/б или стальной балки или до центра последней полушпалы.

6.3. Устанавливать тупиковые упоры необходимо так, чтобы наезд крана происходил одновременно на два тупиковых упора.

6.4. Резьбовые соединения должны быть затянуты с моментом: прижимы - 16 кгМ, буфер (амортизатор) - 1 кгМ.

6.5. Тупиковые упоры должны быть испытаны (проверены) заводом-изготовителем, о чем должна быть отметка отдела технического контроля в данном паспорте.

6.6. Заказчик (потребитель) обязан, после установки тупиковых упоров на крановом пути, произвести проверку целостности и комплектности конструкции, правильность установки и испытать на работоспособность наездами крана с включенными двигателями привода передвижения с расстояния 250, 500 мм на проверку гашения остаточной скорости. Результаты испытания заносятся в акт сдачи кранового пути в эксплуатацию.

7. ТЕХНИЧЕСКОЕ ОСВИДЕТЕЛЬСТВОВАНИЕ И ОБСЛУЖИВАНИЕ

7.1. Техническое освидетельствование тупиковых упоров включает:

выявление трещин, вмятин;

определение износа резьбовых соединений и трущихся деталей;

степень поражения металлоконструкций коррозией.

7.2. В техническое обслуживание тупиковых упоров входит:

проверка правильности установки;

очистка и покраска;

затяжка и смазка резьбовых соединений.

7.3. С целью обеспечения безопасной эксплуатации тупиковых упоров следует проводить плановые проверки их технического состояния:

ежемесячный осмотр - проводит ответственный за техническое состояние крановых путей;

один раз в год проводится техническое обслуживание и освидетельствование и разборки - проводит ответственный за техническое состояние крановых путей;

один раз в три года проводится техническое обслуживание - проводит ответственный за техническое состояние крановых путей;

один раз в три года проводится техническое освидетельствование с детальной разборкой - проводит специализированная организация.

7.4. Выявленные дефекты должны быть устранены. Сведения о ремонте заносятся в таблицу П.9.1.

7.5. Результаты технического освидетельствования должны быть занесены в таблицу П.9.2.

8. УКАЗАНИЯ МЕР БЕЗОПАСНОСТИ

8.1. В случае аварийного наезда крана на тупиковый упор проводится внешний осмотр последнего, оценка технического состояния элементов тупика и при необходимости его замена или ремонт.

8.2. Запрещается эксплуатация тупиковых упоров:

с трещинами в основном металле и сварных швах элементов конструкций;

при уменьшении толщины элементов и деталей вследствие коррозии более чем на 7 %;

износ осей, втулок не должен превышать 3 % от первоначального размера.

9. ТРАНСПОРТИРОВАНИЕ И ХРАНЕНИЕ

9.1. Транспортировку комплекта тупиков можно производить транспортом любого вида.

9.2. Не допускается сбрасывать тупиковые упоры с транспортных средств при разгрузке.

9.3. Хранение комплекта тупиковых упоров должно определяться по группе ОЖ-4 в соответствии с ГОСТ 15150.

9.4. При хранении тупиковые упоры должны быть уложены на подкладки, исключающие их соприкосновение с грунтом.

9.5. Консервация - по ГОСТ 9.014 (вариант В3 - 1). Консервации подвергают неокрашенные поверхности тупиковых упоров, а так же крепежные изделия. Срок действия консервации - не менее 12 месяцев.

10. ГАРАНТИЙНЫЕ ОБЯЗАТЕЛЬСТВА

10.1. Изготовитель гарантирует соответствие упоров техническом условиям ТУ 5225-030-02495272-95 при соблюдении потребителем условий эксплуатации, транспортирования и хранения, установленным настоящим паспортом.

10.2. Срок гарантии устанавливается 18 месяцев с момента ввода тупиковых упоров в эксплуатацию, но не более 24 месяцев со дня отгрузки потребителю.

11. СВЕДЕНИЯ О ПРЕДПРИЯТИИ-ИЗГОТОВИТЕЛЕ

Изготовитель:

_____________________________________________________________________________

_____________________________________________________________________________

_____________________________________________________________________________

12. СВЕДЕНИЯ О ПРИЕМКЕ

Тупиковые упоры инв.(зав.) №

_____________________________________________________________________________

прошли заводскую приемку «_____»______________20____ г. и признаны годными к эксплуатации.

Технический директор (мастер)

___________________________

(Ф.И.О.)

___________________________

(подпись)

ОТК

___________________________

(Ф.И.О.)

М.П.

___________________________

(подпись)

Сведения о консервации________________________________________________________

Таблица П.9.1

Сведения о ремонте

Дата

Выполненные работы

Ф.И.О, должность, подпись

 

 

 

 

 

 

 

 

 

Таблица П.9.2

Сведения о проведении обследования

Дата

Результаты обследований

Ф.И.О, должность, подпись

 

 

 

 

 

 

 

 

 

Приложение 10

МЕТОДИКА ОПРЕДЕЛЕНИЯ УПРУГОЙ ПРОСАДКИ НАЗЕМНОГО КРАНОВОГО ПУТИ

1. Упругая просадка определяется путем нагружения нити кранового пути статической нагрузкой известной величины с одновременным измерением вертикального перемещения направляющей в месте приложения нагрузки.

2. Для контроля вертикального перемещения в контролируемой точке устанавливается геодезическая рейка РН-0,5 (ГОСТ 11158), закрепляемая на направляющей.

3. До монтажа крана на стадии устройства пути величина упругой просадки определяется путем нагружения нити кранового пути монолитным грузом известной массы. Нагрузка на направляющей должна распределяться в соответствии с положением колес в ходовой тележке крана.

4. После монтажа крана на крановом пути нагружение при определении упругой просадки пути осуществляется путем накатывания опоры на контрольную точку. Нагрузка на опору при этом контролируется по динамометру.

5. В случае использования для нагружения кранового пути груза, поднимаемого краном, нагружение проводится перемещением груза вдоль пролетного строения или стрелы крана при контроле его положения с помощью мерной ленты и его массы по динамометру.

6. Величина вертикального перемещения направляющей в контрольной точке определяется нивелиром типа Н-0,5 (ГОСТ 10528), устанавливаемым на расстоянии не менее 10 м от контролируемой точки.

7. Упругая просадка определяется для каждой нити отдельно. Контрольные точки для кранового пути с полушпалами должны располагаться через каждые 5,0 м , а для кранового пути на продольных железобетонных элементах - в месте стыка и в середине продольного опорного элемента, т.е. через каждые 3,12 м.

Количество контрольных точек минимального кранового пути должно быть не менее 5.

8. Все контрольные точки маркируются краской на направляющей и нумеруются. Контрольные точки на обеих нитях должны располагаться в перпендикулярных створах. Разбивка створов выполняется с использованием теодолита.

9. Результаты измерений вертикальных перемещений в контрольных точках (отсчеты условных высотных отметок) заносятся в протокол измерений.

10. Упругая просадка (yi) определяется по формуле, мм:

yi = |ai - bi|,                                                                                               (1)

где ai - условный отсчет после снятия загрузки, мм;

bi - условный отсчет под нагрузкой, мм.

11. Упругая податливость кранового пути определяется по формуле, мм/кН:

где ∆G - дополнительная нагрузка в опоре крана от контрольного груза, кН (тс).

Приложение 11

ПЕРЕЧЕНЬ РЕКОМЕНДУЕМЫХ ПРИБОРОВ И ИНСТРУМЕНТА ДЛЯ КОНТРОЛЯ РАСЧЕТНЫХ ПАРАМЕТРОВ, ГЕОМЕТРИЧЕСКИХ РАЗМЕРОВ, ПРОСАДОК ПУТИ И ОТБОРА ПРОБ ЗЕМЛЯНОГО ПОЛОТНА.

Наименование средств измерений

тип и марка

Теодолиты

2Т5К, 2Т30

Линейка

150, ГОСТ 427-75

Линейка

300, ГОСТ 427-75

Метр складной

МСД-1

Метр складной

МСД-82

Нивелиры

НЗ; НЗК; 2Н-10Л

Рулетки

РЗ-10; РЗ-20; РЗ-50; ЗПКЗ-10 АУТ/1; ЗПКЗ-20 АУТ/1; ОПКЗ-10 БУТ/1; ОПЗ-20 БУТ/1; ЗПКЗ-5 АУТ/1

Отвесы

ОТ 100; ОТ 200; ОТ 400; ОТ 600; ГОСТ 7943-80

Рейка-отвес

РОД - 1 № 4296/15; БПС СКБ - Мосстрой

Рейка контрольная

КРТ - 1; КРД - 1; КРД - 1.6. СКБ Мосстрой

Штангенглубиномер

М2

Штангенциркули

ШЦ-1

Глубиномер

ГИ100

Динамометры

ГОСТ 13837

Полевая лаборатория Литвиновой

ПЛЛ-9

Приложение 12

ПРЕДЕЛЬНО ДОПУСКАЕМЫЕ ВЕЛИЧИНЫ ОТКЛОНЕНИЙ ОТ ПРОЕКТНОГО ПОЛОЖЕНИЯ ПАРАМЕТРОВ КРАНОВОГО ПУТИ

Параметр

Обозначение

Графическое представление отклонений

Краны

Башенные

Козловые

Портальные

Мостовые перегружатели

1.

Разность отметок в одном поперечном сечении по оси симметрии направляющей кранового пути*

Р1,мм

0,004S

0,01S

но не более 60

0,001S

0,005S

но не более 40

0,001S

0,005S

но не более 40

0,001S

0,005S

но не более 50

2.

Разность отметок направляющих вдоль пути*

Р2, мм

0,004В

0,001В

но не более 60

0,001В

0,003В

но не более 30

0,001В

0,003В

но не более 20

0,001В

0,003 В

но не более 30

3.

Сужение и уширение колеи (пролета) кранового пути

Р3, мм

10

15

10

15**

10

15

10

20

4.

Взаимное смещение торцов стыкуемых направляющих в плане и высоте(Р5)

Р4, мм

1

2

1

2

1

2

1

2

5.

Зазоры в стыках направляющих типа рельс Р или КР при длине 2,5 независимо от температуры не должны превышать

Р5, мм

12

12

12

12

Примечание:

1. S - пролет или колея кранового пути, мм;

2. B - база крана или расстояние между точками замера высотного и планового положения направляющей;

3. В числителе допуски при монтаже кранового пути, в знаменателе допуски при эксплуатации.

* Для наземных крановых путей замеры должны проводиться в стыке и середине инвентарной секции или с шагом не более 5 м;

** Величины отклонений для козловых кранов пролетом 30 м и более принимаются как для кранов 0 перегружателей.

Приложение 13

ХАРАКТЕРНЫЕ ДЕФЕКТЫ, ПОВРЕЖДЕНИЯ И ОЦЕНКА ТЕХНИЧЕСКОГО СОСТОЯНИЯ НАЗЕМНЫХ КРАНОВЫХ ПУТЕЙ

Таблица П.13.1.

Дефекты и повреждения направляющих

№ п/п

ХАРАКТЕРИСТИКА ДЕФЕКТА

Допускаемая величина отклонения

Оценка технического состояния направляющей

Рекомендации по устранению и предупреждению дефекта

Наименование и месторасположения

Схематическое изображение

Причина появления

Способ выявления

1

2

3

4

5

6

7

8

1.

Выкрашивание металла на боковой рабочей выкружке головки

Недостаточная контактно-усталостная прочность металла из-за металлургического качества стали

Внешний осмотр, проверка ультразвуковым дефектоскопом

Глубина выкрашивания; ≥ 3 мм длиной 25 мм

Удовлетворительное

Подлежит замене в плановом порядке. Для предупреждения дефекта проводится профилактическая шлифовка направляющей.

2.

Отслаивание и выкрашивание металла на поверхности катания в закаленном слое головки (при отсутствии наплавки)

Из-за нарушения технологии закалки образовываются мартенсит или неравномерный переход, по твердости от закаленного к незакаленному слою

Внешний осмотр, проверка измерительными приборами

Выкрашивание глубиной > 3 мм длиной ≥ 25 мм на концах или глубиной ≥ 3 мм на остальной части направляющей независимо от длины выкрашивания. При глубине выкрашивания более 6 мм

Удовлетворительное

Произвести пропитку концов направляющей или замену направляющей в плановом порядке

Неудовлетворительное

Подлежит замене в первоочередном порядке

3

Выкрашивание направленного слоя на поверхности катания головки.

Из-за нарушения технологии наплавки неравномерно соединятся наплавленный слои с основным металлом

Внешний осмотр, дефектоскопия

Выкрашивание наплавленного слоя длиной более 25 мм или глубиной более 3 мм, или при глубине выкрашивания более 6 мм

Неудовлетворительное

Удалить ранее направленный металл и повторить наплавку или заменить направляющую в плановом порядке

4

Поперечные трещины в головке в виде светлых и темных пятен, вызывающих изломы направляющей.

Пороки изготовления (флокены, газовые пузыри). Недостаточная контактно-усталостная прочность металла.

Дефектоскопия

 

Аварийное

Подлежит немедленной замене

5

Поперечные трещины в головке в месте контактной стыковой сварки

Из-за механических повреждения прохода колес с ползунами или выбоинами, ударов по направляющей инструментом и др.

Внешний осмотр, дефектоскопия

 

Аварийное

Подлежит немедленной замене

6.

Поперечные трещины в головке в месте контактной стыковой сварки

Нарушение режима сварки, наличие неметаллических включений, трещин или зарубов в месте сварки

Внешний осмотр, дефектоскопия

 

Аварийное

Произвести немедленную замену. Вырезать участок направляющей с трещинами для вварки вставки

7.

Трещины в закаленном слое металла головки.

Нарушение технологии закалки (неравномерный нагрев и охлаждение в процессе закалки

Дефектоскопия

 

Аварийное

Подлежит немедленной замене. Предъявить рекламацию металлургическому комбинату-изготовителю направляющей

8.

Вертикальное расслоение головки.

Наличие усадочных раковин, резко выраженная ликвация. Заворот корки

Внешний осмотр, дефектоскопия

 

Аварийное

Подлежит немедленной замене. Предъявить рекламацию металлургическому комбинату-изготовителю направляющей

9.

Горизонтальное расслоение головки в стыке, вне стыка

Наличие крупных металлических включении на глубине более 8 мм, вытянутых вдоль прокатки

Внешний осмотр, дефектоскопия

 

Аварийное

Подлежит немедленной замене. Предъявить рекламацию металлургическому комбинату– изготовителю направляющей

10.

Волнообразные деформации головки направляющей (длинные волны) по всей длине

Волнообразные деформации головки {длиной 25 - 150 см). Возникают при прокатке и правке направляющей на комбинатах, а при эксплуатации происходит дальнейшее развитие дефектов н образование волнообразных неровностей

Внешний осмотр, измерение приборами

Глубиной волны более 1 мм на базе 1 м глубиной волны более 3 мм

Неудовлетворительное

Подлежит шлифовке или замене в первоочередном порядке. Предъявить рекламацию металлургическому комбинату-изготовителю направляющей

11.

Смятие и вертикальный износ головки в стыке, вне стыка

 

Из-за недостаточной прочности металла головки направляющей, условий ее нагружения колесами крана

Внешний осмотр, проверка измерительными приборами

При глубине неровностей более 6 мм

Неудовлетворительное

Подлежит замене в первоочередном порядке. Предъявить рекламацию металлургическому комбинату-изготовителю направляющей

12.

Смятие головки в месте контактной стыковой сварки

Из-за неоднородности механических свойств металла при сварке образуется местное одиночное(одна седловина) или двойное(две седловины) смятие головки

Внешний осмотр, проверка измерительными приборами

Смятие глубиной более 1 мм на базе 1 м.

Удовлетворительное

Подлежат выравниванию уклонов в зоне сварного стыка местным шлифованием. Предъявить рекламацию металлургическому комбинату-изготовителю направляющей

13.

Расслоение шейки в стыке. Вне стыка

Дефекты изготовления, остатки усадочной раковины, резко выраженная ликвация в шейке. Недостаточная обрезка при прокате направляющей или наличие скоплений неметаллических включений

Внешний осмотр, дефектоскопия

 

Аварийное

Подлежит немедленной замене. Предъявить рекламацию металлургическому комбинату-изготовителю направляющей

14.

Продольные трещины; вызывающие выколи в местах перехода головки в шейку в стыке, вне стыка.

Высокие местные напряжения из-за некачественной обработки кромок торцов, а также чрезмерные усилия затяжки стыковых болтов, изношенные накладки, просадки в стыках, нарушение подуклонки, односторонняя перегрузка головки направляющей

Внешний осмотр, дефектоскопия

Продольные торцевые трещины любой длины, а также трещины L ≥ 30 мм вне стыка Краснота над головкой, а также с продольной горизонтальной трещиной ад головкой вне стыка L < 30 мм

Аварийное

Подлежит немедленной замене. Предъявить рекламацию металлургическому комбинату-изготовителю направляющей

15.

Трещины в шейке от болтовых или других отверстий в стыке, вне стыка

Концентрация напряжений на кромках болтовых отверстий, отсутствие или некачественное исполнение фасок, надрывы на кромках, неровности на поверхности отверстий из-за некачественного сверления и коррозии, неудовлетворительное содержание стыков (ослабление болтов, смятие и провисание концов направляющих, просадки, большие растянутые зазоры)

Внешний осмотр со снятием скреплений, дефектоскопия

 

Аварийное

Подлежит немедленной замене. Предъявить рекламацию изготовителю отверстий в направляющих

16.

Трещины на шейке от маркировочных знаков, ударов и других механических повреждений, вызывающих выходы металла в любом месте

В шейке в местах маркировочных знаков или повреждении от ударов концентрируются напряжения, которые приводят к образованию трещин или излому направляющей

Внешний осмотр, дефектоскопия

 

Аварийное

Подлежит немедленной замене. Предъявить рекламацию изготовителю отверстий в направляющих

17.

Трещины в шейке в месте сварного шва, в месте контактной стыковой сварки

Горизонтальные трещины из-за неудовлетворительной обработки сварного шва, а вертикальные из-за нарушения режима сварки

Внешний осмотр, дефектоскопия

 

Аварийное

Необходимо вырезать участок с трещинами и вварить новую вставку. Предъявить рекламацию организации, производившей сварку

18.

Коррозия шейки направляющей в любом месте

Атмосферное влияние и воздействие химических веществ

Внешний осмотр

Коррозия шейки на глубину от 2 до 4 мм и более не допускается

Неудовлетворительное

Подлежит замене в плановом порядке

19.

Вы колы и изломы в подошве направляющей в стыке, вне стыка

Из-за нарушения технологии изготовления в подошве образуются волосовины, закаты и другие, которые при эксплуатации приводят к образованию трещин, выколов или излому направляющей

Внешний осмотр, дефектоскопия

 

Аварийное

Подлежит немедленной замене. Предъявить рекламацию комбинату-изготовителю

20.

Вы колы в подошве без видимых дефектов в изломе, в стыке, вне стыка

Некачественная обработка подошвы. Из-за неравномерного опирания подошвы подкладки может образоваться трещина и произойти выкол в подошве. Несоответствие типа направляющей эксплуатационным нагрузкам

Внешний осмотр, дефектоскопия

 

Аварийное

Подлежит немедленной замене

21.

Трещины и выколы подошвы из-за ударов и механических повреждений в любом месте

Из-за механических повреждений подошвы возникает концентрация напряжений, что может привести к образованию трещин, выколу подошвы или излому направляющей

Внешний осмотр

 

Аварийное

Подлежит немедленной замене. Произвести зачистку повреждений и установить за ними постоянное наблюдение

22.

Трещины в подошве из-за нарушения технологии сварки в местах контактной стыковой сварки

Непровары, трещины и другие дефекты из-за нарушения режима сварки.

Внешний осмотр, дефектоскопия

 

Аварийное

Подлежит немедленной замене. Предъявить рекламацию предприятию, производившему сварку направляющей.

23.

Коррозия подошвы и коррозионно-усталостные трещины в любом месте

Коррозия возникает в результате атмосферного влияния и контакта с материалами, аккумулирующими влагу (деревянными, резиновыми и резинокордовыми прокладками). При повышенных динамических воздействий на направляющую возможны появления поперечных трещин

Дефектоскопия, внешний осмотр рекомендуется периодически сменять направляющую для осмотра подошвы в бесстыковом пути. Наличие коррозии можно обнаружить на снятых* прокладках или осмотром с зеркалом на вывешенной плети

Допуск коррозия подошвы глубиной 6 - 8 мм

Неудовлетворительное

Подлежит замене в плановом порядке

Глубина коррозии превышает указанные величины

Аварийное

Подлежит немедленной замене

24.

Поперечные изломы направляющих в стыке, вне стыка

Наличие шлаковых включений, попадающих в направляющие при изготовлении или другие дефекты микроструктуры

 

 

Аварийное

Подлежит немедленной замене. Предъявить рекламацию комбинату-изготовителю направляющей.

25.

Поперечные изломы направляющих без видимых пороков в изломе в любом месте

Из-за превышения допускаемой нагрузки, особенно с неудовлетворительным состоянием пути, большие растягивающие напряжения в бесстыковых плетях, а также вследствие хрупкости и хладноломкости стали, могут происходить поперечные изломы направляющих без видимых дефектов. При обнаружении изломов причины их образования должны определяться при необходимости с проведением экспертных исследований

Внешний осмотр

 

Аварийное

Подлежит немедленной замене

26.

Нарушение прямолинейности направляющих, допущенное при сварке в месте контактной стыковой сварки

Использование направляющих с изогнутыми концами, неправильная стыковка или изгиб направляющей в горячем состоянии после сварки

Внешний осмотр, проверка измерительными приборами

 

Аварийное

Изогнутые сварные стыки следует вырезать и вварить новую вставку или заменить направляющую. Предъявить рекламацию предприятию, производившему сварку направляющей.

Таблица П.13.2.

Дефекты и повреждения опорных элементов

№№ п/п

ДЕФЕКТЫ

Общая оценка технического состояния опорного элемента

Наименование

Графическое изображение

Причина появления

Способ выявления

Количественная оценка дефекта, мм

1

2

3

4

5

6

7

1.

Деревянные попушпалы

 

Естественное скопление влаги

Внешний осмотр и проверка измерительными приборами

До 20

Нормальное

От 20 до 50

Удовлетворительное

Свыше 50

Неудовлетворительное или аварийное

гнилостные пятна:

в местах опирания подкладок; на остальных поверхностях.

 

То же

То же

До 60

Нормальное

От 60 до 100

Удовлетворительное

Свыше 100

Неудовлетворительное или аварийное

Трещины:

по торцу;

 

От перегрузок и естественного старения

То же

Более его половины

 

поперечные;

 

То же

То же

До 50

Нормальное

От 50 до 80

Удовлетворительное

Свыше 80

Неудовлетворительное или аварийное

продольные:

глубиной и длиной.

 

От перегрузок и естественного старения

Внешний осмотр и проверка измерительными приборами

До 50×300

Нормальное

От 50 до 80

Удовлетворительное

От 300 до 500

Неудовлетворительное

Свыше 80×500

Аварийное

Поперечный или продольный излом полушпал.

 

То же

Внешний осмотр и проверка измерительными приборами

По всему сечению или по всей длине

Аварийное

2.

Железобетонные полушпалы:

Трещины:

-поперечные и под углом;

 

От перегрузки, некачественного изготовления или проектирования

Внешний осмотр и проверка измерительными приборами

Величина раскрытия:

 

От 0,3 до 0,5

Нормальное

Свыше 0,5

Удовлетворительное

-продольные;

 

То же

То же

Величина раскрытия:

 

До 0,2 длиной до 300

Неудовлетворительное

от 0,2 до 0,5

Нормальное

длиной от 300 до 400

Удовлетворительное

свыше 0,5 длиной свыше 400

Неудовлетворительное

-сплошные опоясывающие.

 

То же

То же

 

Аварийное

Сколы бетона с оголением арматуры в любом направлении.

 

От перегрузки или механических повреждений

Внешний осмотр и проверка измерительными приборами

до 100

Удовлетворительное

от 100 до 150

Неудовлетворительное

свыше 150

Аварийное

Уменьшение площади опоры полушпалы в результате сколов или разрушения бетона.

 

То же

Внешний осмотр и проверка измерительными приборами

До 1 дм2

Нормальное

От 1 дм2 до 2 дм2

Удовлетворительное

Свыше 2 дм2

Неудовлетворительное

Открытый обрыв одного или более стержней продольной арматуры, а также обнажения ее (исключая торцы балок).

 

От перегрузки или механических повреждений

Внешний осмотр и проверка измерительными приборами

 

Аварийное

Разрушение бетона под направляющей по всей длине и площади опирания.

 

То же

Внешний осмотр и проверка измерительными приборами

 

Аварийное

3

Железобетонные балки:

-поперечные и под углом;

 

От перегрузки или механических повреждений

Внешний осмотр и проверка измерительными приборами

Величина раскрытия

 

до 0,3

Нормальное

От 0,3 до 0,5

Удовлетворительное

Свыше 0,5

Неудовлетворительное или Аварийное

-сплошные опоясывающие;

 

То же

-сколы бетона с оголением арматуры в любом направлении;

 

От перегрузки или механических повреждений

Внешний осмотр и проверка измерительными приборами

До 100

Удовлетворительное

От 100 до 150

Неудовлетворительное

Свыше 150

Аварийное

-уменьшение площади опоры балки в результате сколов или разрушений бетона;

 

То же

То же

До 7 дм2

Удовлетворительное

От 7 до 10 дм2

Неудовлетворительное

Свыше 10 дм2

Аварийное

-оголение или обрыва одного или более стержней продольной арматуры, а также обнажения ее (исключая торцы балок);

 

То же

То же

 

Аварийное

-разрушение бетона над направляющей по всей длине и площади опирания.

 

От перегрузки или механических повреждений

Внешний осмотр и проверка измерительными приборами

-

Аварийное

Таблица П.13.3.

Дефекты и повреждения стыковых и промежуточных скреплений

№ п/п

ДЕФЕКТЫ

Количественная оценка дефекта, мм

Общая оценка технического состояния опорного элемента

Наименование

Графическое изображение

Причина появления

Способ выявления

1

2

3

4

5

6

7

1.

Нарушена комплектность или использованы на проектные элементы:

 

Несвоевременное выявление ремонтных и профилактических работ

 

 

 

-неполное количество болтов;

 

 

Визуальный

 

Удовлетворительное

-болтовые соединения не имеют смазки или других способов защиты от атмосферных осадков;

 

 

Визуальный

 

Неудовлетворительное

-нарушены требования установки болтов (поочередно внутрь и наружу гайками, резьба должна выступать над гайкой на 1 - 2 нитки и др.;

 

Несвоевременное выявление ремонтных и профилактических работ

Визуальный

 

Удовлетворительное

-болтовые соединения ослаблены, не имеют достаточного натяжения или плотности примыкания к опорному элементу;

 

То же

Визуальный

 

Удовлетворительное

-отсутствие клиновидных шайб

 

То же

То же

 

Удовлетворительное

2.

Детали элементов скреплений имеют:

 

Из-за нарушений эксплуатационного режима, несвоевременного выполнения профилактических работ

 

 

 

Трещины;

Неудовлетворительное или аварийное

Коррозию.

Удовлетворительное

Таблица П.13.4.

Дефекты и повреждения путевого оборудования

№ п/п

ДЕФЕКТЫ (повреждения)

Количественная оценка дефекта, мм

Общая оценка технического состояния опорного элемента

Наименование

Графическое изображение

Причина появления

Способ выявления

1

2

3

4

5

6

7

1.

Тупиковые упоры

Ограничители передвижения:

 

Нарушение технологического или эксплуатационного характера

Визуально и с помощью приборов и инструментов

Превышение от первоначального размера

 

-несоответствие своему назначению;

-требованиям технической и конструкторской документации;

до 3 %

Аварийное

От 3 % до 4 %

Аварийное

Свыше 4 %

Удовлетворительное

-отсутствие клейма;

некомплектность;

-отклонение габаритных, присоединительных и размеров базовых деталей;

 

 

 

Удовлетворительное, неудовлетворительное, аварийное

-наличие местных деформаций (вмятины, погнутости, вырубки, расслоение металла и др.);

Нарушение технологического или Эксплуатационного характера

Визуально и с помощью приборов и инструментов

Площадь вмятин:

 

Единичная до 5 см2

суммарная до 50 см2

Удовлетворительное

Единичная до 6 см2,

суммарная до 60 см2

Удовлетворительное

-трещины и разрывы в металлоконструкциях;

Нарушение технологического или эксплуатационного характера

Визуально и с помощью приборов и инструментов

Единичная Свыше 6 см2

Аварийное

Суммарная Свыше 60 см*

Аварийное

-крепежные детали имеют смятие и срез металла, срыв резьбы и т.п., а также неустранимое ослабление соединений;

Нарушение технологического или эксплуатационного характера

Визуально и с помощью приборов и инструментов

Длиной до 75 см2

Аварийное

-уменьшение толщины элементов деталей вследствие коррозии;

Нарушение технологического или эксплуатационного характера

Визуально и с помощью приборов и инструментов

До 7 %

Удовлетворительное

Свыше 7 %

Аварийное

-износ втулок, пальцев, осей;

Нарушение технологического или эксплуатационного характера

Визуально и с помощью приборов и инструментов

До 3 %

Удовлетворительное

Свыше 3 %

Аварийное

зазор в изношенном сопряжении вал- втулка;

Нарушение технологического или эксплуатационного характера

Визуально и с помощью приборов и инструментов

До 2,5 раза зазора по конструкторской документации

Удовлетворительное

Свыше 2,5 размера допуска по конструкторской документации

Аварийное

-трещины и сколы в торцевой части деревянных брусков амортизаторов;

Нарушение технологического или эксплуатационного характера

Визуально и с помощью приборов и инструментов

Более его половины До 25 мм

Не удовлетворительное или удовлетворительное

-разрывы резинового амортизатора.

Нарушение технологического или эксплуатационного характера

Визуально и с помощью приборов и инструментов

Свыше 25 мм

Аварийное

2.

Заземление

-несоответствие требованиям конструкторской и технической документации;

 

Нарушения организационного характера

Визуально и с помощью приборов и инструментов

 

Неудовлетворительное

-отсутствие акта приемки-сдачи заземления кранового пути;

Нарушения организационного характера

Визуально

Удовлетворительное

-отсутствие в акте данных о замере сопротивления растеканию тока;

Нарушения организационного характера

Визуально

Удовлетворительное

-некомплектность элементов;

Нарушения организационного характера

Визуально

Неудовлетворительное

-нарушена непрерывность электрической цепи заземления;

Нарушения организационного характера

Визуально

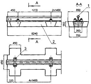
Неудовлетворительное

-нарушена окраска битумом сварных швов и выступающих концов заземлителей.

Нарушения эксплуатационного характера

Визуально

Аварийное Удовлетворительное

3.

Лотки, ограждения, стяжки, знаки безопасности:

-нарушена комплектность элементов

 

Нарушения эксплуатационного характера

Визуально

 

Удовлетворительное

-отсутствует конструкторская документация.

Нарушение эксплуатационного режима

Визуально

 

Таблица П.13.5.

Дефекты и повреждения земляного полотна водоотвода

№ п/п

ДЕФЕКТЫ (повреждения)

Количественная оценка дефекта, мм

Общая оценка технического состояния опорного элемента

Наименование

Графическое изображение

Причина появления

Способ выявления

1

2

3

4

5

6

7

1.

Наличие остаточных деформаций земляного полотна;

-просадки;

 

а) Недостаточные:

-плотность грунта;

-толщина слоя грунта;

-нарушена технология выполнения работ,

Внешний осмотр и проверка инструментальными приборами

Купл До 0,02

Удовлетворительное

От 0,02 до 0,03

Неудовлетворительное

свыше 0,03 или по всей длине одной нитке кранового пути

Аварийное

 

 

б) Переувлажнение земляного полотна:

-плохое удаление поверхностных вод;

-не обеспечено капелляропрерывание.

Внешний осмотр и проверка инструментальными приборами

 

Неудовлетворительное

-пучение.

 

-переувлажнение;

Внешний осмотр и проверка измерительными приборами

 

Неудовлетворительное

 

 

-недостаточная толщина земляного полотна из дренирующих грунтов и балластной призмы;

Внешний осмотр и проверка инструментальными приборами

 

Неудовлетворительное

 

 

-недостаточная толщина балластной призмы на земляном полотне из не дренирующих грунтов.

Внешний осмотр и проверка инструментальными приборами

 

Неудовлетворительное

2.

Отклонение от проектного положения:

-верха земляного полотна;

 

Из-за нарушений технологии устройства полотна, а также просадок и пучений в процессе эксплуатации

Внешний осмотр и измерение приборами по осям рельсовых нитей через 6 м.

До 50 мм

Удовлетворительное

Свыше 50 мм

Неудовлетворительное или аварийное

-профиля (уклона) земляного полотна;

 

Из-за нарушений технологии устройства полотна, а также просадок и пучений в процессе эксплуатации

Внешний осмотр и измерение приборами по осям рельсовых нитей через 6 м.

По всей длине 0,002 - 0,005 на отдельных участках

Удовлетворительное

На длине 10 м - 0,01 свыше указанных значений

Неудовлетворительное или аварийное

-поперечного уклона земляного полотна;

 

Из-за нарушений технологии устройства полотна, а также просадок и пучений в процессе эксплуатации

Внешний осмотр и измерение приборами по осям рельсовых нитей через 6 м.

До 0,002 - 0,003

Удовлетворительное

Свыше 0,003

Неудовлетворительное

Аварийное

-превышение или понижение одной крановой нити над другой в одном поперечном сечении пути;

 

Из-за нарушений технологии устройства полотна, а также просадок и пучений в процессе эксплуатации

Внешний осмотр и измерение приборами по осям рельсовых нитей через 6 м.

До 100 мм

Удовлетворительное

Свыше 100 мм

Неудовлетворительное или аварийное

-отклонение размеров земляного полотна.

 

Из-за нарушений технологии устройства полотна, а также просадок и пучений в процессе эксплуатации

Измерение приборами по крайним точкам земляного полотна

До - 500 мм по длине до - 250 мм по ширине

Удовлетворительное

Свыше - 500 мм по длине и - 250 мм по ширине

Неудовлетворительное

Таблица П.13.6.

Дефекты и повреждения балластной призмы

№ п/п

ДЕФЕКТЫ (повреждении)

Количественная оценка дефекта, мм

Общая оценка технического состояния опорного элемента

Наименование

Графическое изображение

Причина появления

Способ выявления

1

2

3

4

5

6

7

1.

Геометрические размеры (высота плеча, откосы боковых сторон и др.) не соответствуют нормативным.

 

Нарушение технологии производства работ

Внешний осмотр и проверка инструментальными приборами

 

Удовлетворительное

2.

Нарушение гранулометрического состава материалов

 

Нарушение технологии производства работ

Внешний осмотр и проверка инструментальными приборами

 

Удовлетворительное

Приложение 14

МЕТОДИКА ПРОВЕДЕНИЯ ГЕОДЕЗИЧЕСКОГО КОНТРОЛЯ ПОЛОЖЕНИЯ ЭЛЕМЕНТОВ КРАНОВОГО ПУТИ

1. Подготовка геодезической основы

1.1. Для контроля планово-высотного положения элементов наземного кранового пути должны использоваться типовые конструкции реперов и марок (Рис П.14.1. а, б, в, г, д)

1.2. Реперы (Рис. П.14.1. а, б, в) должны устанавливаться не менее одного на 100 м пути и указываться на плане кранового пути с привязкой осей направляющих. Каждый репер должен иметь ограждение (Рис. П.14.1. г).

На слабых и насыпных грунтах (причальные стенки и портовые склады) должны устанавливаться реперы, показанные на рис. П.14.1. (а, б), а в остальных случаях реперы, показанные на рис. П.14.1. (в).

В таблице П.14.1. даны значения h2 в зависимости от глубины промерзания (h1 для различных типов фунтов.

Таблица П.14.1

Значения величины h2 в зависимости от глубины промерзания для различных типов грунтов

Грунт

Значение величины h2 при глубине промерзания грунта, м

h1

0,6

0,8

1,0

1,2

1,4

1,6

1,8

2,0

Песчаный

h2

0,1

0,2

0,2

0,3

0,4

0,5

0,6

0,7

Суглинистый

h2

0,6

0,9

1,1

1,4

1,6

1,8

2,0

2,1

1.3. Для закрепления осей и базисных линий должны устанавливаться типовые конструкции марок (Рис. П.14.1. е, д). Конструкция марки, показанная на рис. П.14.1. д, предназначается для причальных стенок и портовых складов, а на рис. П.14.1. е для наземных крановых путей козловых и башенных кранов.

Марки должны устанавливаться через 50 - 100 м с внутренней и наружной стороны каждой направляющей на определенном расстоянии (0,5 - 2 м) от её оси или прикордонной линии.

Центры марок должны располагаться на одинаковом расстоянии от проектного положения оси направляющей. Линия, соединяющая эти центры, принимается за базисную. Базисные линии двух направляющих (А и Б) должны быть параллельными -рис П.14.1.

1.4. на каждой нити направляющих должна быть выполнена разметка: для путей с полушпалами - через 5 м, а с продольными железобетонными балками - через 3,12 м (стык и середина).

Все точки должны маркироваться и нумероваться краской на шейке направляющих и располагаться в перпендикулярных створах, разбивка которых производится с помощью теодолита

1.5. На плане укладки наземного кранового пути должны быть указаны основные элементы технологической схемы и привязка всех элементов геодезической основы (Рис. П.14.1.).

Рис. П.14.1. (а, б, в, г, д, е) Геодезические знаки

а, б - грунтовый свайный репер (а - свайный, б - закладывается бурением); в - репер; г - ограждение репера; д - типовая конструкция кордонной марки; е - марка. 1 - щебеночная подготовка; 2 - опорная плита; 3 - типовой колодец; 4 - труба; 5 - бетон; 7 - сальник; 8 - муфты; 9 - цемент; 10 - фонарь из полосового железа; 11 - металлическая пластина; 12 - заклепка; 13 - анкер; 14 - якорь; 15 - песок; 16 - два слоя рубероида; 17 - деревянный столбец или металлическая труба; 18 - деревянная доска или стальной уголок; 19 - центрированные устройства; 20 - коробка знака; 21 - шапочный брус набережной; 22 - закладная планка; 23 - стальной стержень.

2. Определение положения элементов кранового пути

2.1. Измерение расстояния между базисными линиями (Lб) производится компарированной механической рулеткой с усилением натяжения Р = 100 Н.

При измерении вносятся поправки учитывающие провис ленты, наклон линии измерения, отклонение от створа, кроме того, вносится поправка на температуру ∆L1.

2.2. Для измерения расстояния aij (j = 1, 2 - индекс направляющей кранового пути; i = 1, 2, 3,..., n - индекс створа) от симметрии направляющей до базисной линии (рис. П.14.2.) теодолит точно устанавливается над одной из марок MAi или MBi с помощью отвеса или оптического центрира. Затем вертикальная пил, зрительной трубы наводится на острие марки MA(i ± l) или MB(i ± l) и в таком положении закрепляете горизонтальный лимб теодолита. Измерение расстояния aij производится с помощью переносной визирной линейки (рис. П.14.3.). Подвижная марка визирной линейки устанавливается по сигналам наблюдателя, работающего с теодолитом, отсчет читается и записывается в журнал работающим с линейкой.

Размер колеи (К,) в каждом из створов (1 - 1; 2 - 2 и т.д.) вычисляется по формуле:

Ki = Ls - (ai/tai2)I

где a ij - измеренное расстояние от оси симметрии направляющей базисной линии.

L6 - расстояние между базисными линиями.

2.3. Сужение или уширение колеи кранового пути (P3j) определяется по формуле:

P3i = K - Ki

2.4. Отклонение оси направляющей от проектной прямой линии (P6tj)

Pбij aj - aij;

где Of - расстояние от базисной линии до проектного положения оси направляющей; j - индекс нити направляющей; i - индекс створа.

2.5. Измерение высотного положения головок направляющей производится методом геометрического нивелирования 4-го класса с обязательной привязкой на один из реперов каждой нити кранового пути.

2.6. Отклонение направляющей от прямой линии по высоте (Pi2j) определяется в соответствии с формулой:

P2ij = hij - h(j + 1)j;

2.7. Разность отметок головок направляющих (Pi) в одном поперечном сечении определяется по формуле:

Pl = hil - hi2

2.8. По результатам выполненных измерений отклонений оси направляющих от базисных линий отметок головок направляющих в маркированных сечениях заполняется табл. П.4.2. паспорта (приложение 4) и составляется чертеж планово-высотного положения кранового пути, где изображаются продольный профиль нитей со всеми отметками, превышениями головок направляющих и схематический план кранового пути с указанием отклонений оси направляющей от проектного положения.

2.9. При измерении высотного положения головки направляющих определяется величина Hij для каждого из створов и нити направляющих.

2.10. Фактическое положение оси направляющей по высоте hij определяется по формуле:

hij = Н ij - Hij (min)

где j - индекс нити кранового пути;

i - индекс створа;

Hij - условная высотная отметка головки направляющей;

Hij(min) -минимальное значение условной высотной отметки головки направляющей.

Приложение 15

ПЕРЕЧЕНЬ ДОКУМЕНТОВ ДЛЯ ОРГАНИЗАЦИИ ОБСЛУЖИВАНИЯ, РЕМОНТА И ТЕХНИЧЕСКОГО ОСВИДЕТЕЛЬСТВОВАНИЯ НАЗЕМНЫХ КРАНОВЫХ ПУТЕЙ

Таблица П.15.1.

ПЛАН

технического обслуживания и ремонта крановых путей на 20____г.

Наименование организации

Место расположения путей

Количество ТО и ремонтов в планируемом году

К

Т

ТО

2

3

4

 

 

 

 

Таблица П.15.2.

ПЛАН-ГРАФИК

технического обслуживания и ремонта крановых путей ________ месяц 20____г.

Наименование организации

Место расположения путей

Числа месяца и виды ТО и ремонта

1

2

3

4...

29

30

31

2

3

4

5...

31

32

33

 

 

 

 

 

 

 

 

Таблица П.15.3.

Нормы периодичности, трудоемкости и продолжительности технического обслуживания и ремонта наземных крановых путей (на 100 п.м. пути)

Вид технического обслуживания и ремонта

Периодичность выполнения технического обслуживания и ремонта, час

Трудоемкость выполнения одного технического обслуживания и ремонта, чел.-час.

Продолжительность выполнения, час

Всего

В том числе по видам работ

Диагностические

Слесарные

Прочие

ТО-1

200

2

0,5

0,5

1

2

ТО-2

1000

24

14

7

3

8

Т

6000

60

20

30

10

8

Форма П.15.4.

ПРИКАЗ №_________

по

_____________________________________________________________________________

                                      (наименование организации-владельца оборудования)

________________________                                                         «____»_____________20___г.

          (город)

с_____________________________________________________________________________

проводится

_____________________________________________________________________________

                                                       (вид работ)

на нашем предприятии.

Для обеспечения выполнения указанных работ

ПРИКАЗЫВАЮ:

1. Вывести из эксплуатации на время проведения работ следующее оборудование:

Тип

Марка

Завод.№

Рег. №

Срок проведения работ

Ответственный

 

 

 

 

 

 

 

 

 

 

 

 

2. Возложить на ____________________________________обязанности по подготовке

                                               (должность, Ф.И.О.)

технической документации и необходимых справок для работы комиссии, обеспечению условий проведения работ, обеспечению обслуживающим персоналом, оказанию помощи комиссии в ее работе, выделению помещения для комиссии и обеспечению охраны имущества комиссии.

3. Возложить ответственность и надзор за соблюдением правил техники безопасности при проведении работ на______________________________________________________________

                               (Ф.И.О.. должность сотрудника организации - владельца оборудования)

и ___________________________________________________________________________

                               (Ф.И.О., должность сотрудника)

4. Техническую документацию по результатам проведения работ после ее утверждения представить мне на рассмотрение.

_________________________________________________________

(должность руководителя организации-владельца оборудования)

М.П.

__________________

(подпись, Ф.И.О.)

Форма П.15.5.

ПРИКАЗ №____________

По

_____________________________________________________________________________

                             (наименование организации, выполняющей вид работ по

крановым путям в соответствии с договором № _______от «______»___________20___ г.)

_____________________________________________________________________________

Для выполнения указанных работ

ПРИКАЗЫВАЮ:

1. Назначить комиссию по (вид работ) обследованию в составе:

Председатель комиссии:________________________________________________________

Члены комиссии:______________________________________________________________

2. Комиссии провести обследование______________________________________________

                                                                                             (вид работ)

в период с "_____"________________20__года по "____"________________20 ______ года

3. По результатам (вид работ) комиссии составить акт и представить мне на утверждение.

_________________________________________________________

(должность руководителя организации-владельца оборудования)

М.П.

__________________

(подпись, Ф.И.О.)

Форма П.15.6.

_____________________________________________________________________________

(наименование вышестоящей организации, ведомства, к которому они относятся)

_____________________________________________________________________________

УТВЕРЖДАЮ:

_______________

подпись (Ф.И.О.)

"_____" _______________20_ г.

НАРЯД-ДОПУСК

на выполнение работ, относительно которых предъявляются повышенные требования по технике безопасности

_____________________________________________________________________________

                                      (полное наименование цеха, участка или объекта)

_____________________________________________________________________________

_____________________________________________________________________________

1. Наряд

Ответственному исполнителю работ______________________________________________

                                                                          (должность, фамилия, имя, отчество)

с бригадой в составе _____________человек поручается______________________________

_____________________________________________________________________________

                                       (указывается точное наименование и содержание работ)

Меры безопасности при подготовке к выполнению работ_____________________________

_____________________________________________________________________________

                             (установка заземлений и ограждений, экранов, дополнительного

_____________________________________________________________________________

                               вентиляционного и пылегазоулавливающего оборудования,

_____________________________________________________________________________

                         дополнительного освещения, вывеска дополнительных плакатов и т.д.)

Приложения к наряду___________________________________________________________

                              (схема отключения оборудования или иного объекта производственного

_____________________________________________________________________________

        назначения от питающей сети с указанием мест разъема, установки заглушек и т.д.)

Работы начать в ___________ час. "______" ______________20___г.

Работы окончить в___________час. "______" ______________20_____г.

Наряд выдал, ответственный руководитель_________________________________________

_____________________________________________________________________________

                                              (должность, фамилия, имя, отчество)

________________________________                                       "_____" ____________20____г.

                         (подпись)

С условием работы ознакомлен, наряд получил

Ответственный исполнитель работ________________________________________________

                                                                                 (должность, подпись)

"_____"____________________________20 ___г.

2. Допуск

Инструктаж на рабочем месте по технике безопасности проведен по инструкции

_____________________________________________________________________________

_____________________________________________________________________________

                                       (указать номер и название инструкции по охране труда)

Инструктаж получили члены бригады

Фамилия, имя, отчество

Профессия, разряд

Дата проведения инструктажа

Подпись получившего инструктаж

Подпись инструктирующего

 

 

 

 

 

 

 

 

 

 

 

 

 

 

 

Рабочее место и условия труда проверены.

Необходимые меры безопасности при выполнении работ обеспечены.

Разрешаю приступить к работе.

Ответственный руководитель работ_________________

                                                                       (подпись)

_____ час. _______ мин. "____"_____________20___г.

Работы начать в ____________ час. _________ мин.

Ответственный исполнитель работ_________________

                                                                       (подпись)

Работы окончены (материал, оборудование, инструмент и приспособления убраны, весь работающий персонал выведен).

Наряд закрыт в _______ час. ________ мин.

Ответственный исполнитель работ_________________

                                                                       (подпись)

Работы, предусмотренные нарядом-допуском, выполнены.

Ответственный руководитель работ_____________________

                                                                       (подпись)

Форма П.15.7.

УЧЕТНЫЙ ЛИСТ

прохождения инструктажа по охране труда и технике безопасности

на____________________________________________________________________________

                                                           (наименование объекта)

при выполнении работ по_______________________________________________________

                                                                     (вид работ)

Дата инструктажа

Фамилия и.о. инструктируемого

Год рождения

Профессия и должность инструктируемого

Инструктаж

Фамилия и.о. инструктирующего

Подпись

инструктирующего

инструктируемого

 

 

 

 

По должностной инструкции

 

 

 

 

 

 

 

На рабочем месте владельца оборудования

 

 

 

Форма П.15.8.

СОГЛАСОВАНО:

УТВЕРЖДАЮ:

___________________

___________________

___________________

___________________

«___»________20___г.

«___»________20___г.

АКТ №

КОМПЛЕКСНОГО ОБСЛЕДОВАНИЯ КРАНОВОГО ПУТИ ГРУЗОПОДЪЕМНЫХ МАШИН

г._________

«____»___________20___г

Комиссия _______________________________________________в составе:

(название специализированной организации)

Председатель:________________________________________

№ удостоверения_____________________________________

Члены комиссии:______________________________________

№ удостоверений ______________________________________

 

действующая на основании Договора № ______________от «____»______________20___г

по лицензии Ростехнадзора (Госгортехнадзора России)______________________________

и приказа №___________________________________________________________________

                                                           (по организации)

провела комплексное обследование кранового пути_________________________________

_____________________________________________________________________________

                                        (цех. площадка, регистрационный № крана)

ХАРАКТЕРИСТИКА ОБЪЕКТА

1. Основные конструктивные элементы____________________________________________

2. Режим эксплуатации__________________________________________________________

3. Дата ввода в эксплуатацию____________________________________________________

РЕЗУЛЬТАТЫ КОМПЛЕКСНОГО ОБСЛЕДОВАНИЯ КРАНОВОГО ПУТИ

1. Проверка системы организации эксплуатации кранового пути.

1.1 .Организована служба надзора за эксплуатацией грузоподъемных машин____________

_____________________________________________________________________________

                                                   (приказ №, от____________)

1.2. Наличие аттестованных ИТР_________________________________________________

                                                                      (должность, № удостоверения)

2. Комплектность и состояние проектно-конструкторской документации: ______________

_____________________________________________________________________________

                                            (соответствие ЕСКД, да - нет; комплектность)

2.1. Наличие паспорта кранового пути_____________________________________________

                                                                                          (да - нет, заполняется)

2.2. Эксплуатационная документация (при отсутствии паспорта):______________________

_____________________________________________________________________________

                 (журналы крановщика, технических освидетельствований кранового пути)

3. Поэлементное обследование кранового пути

3.1. Соответствие кранового пути проектной документации___________________________

_____________________________________________________________________________

                                        (да - нет, указывается несоответствие)

3.2. Направляющие_____________________________________________________________

                                                                           (тип, состояние)

3.3. Стыковые крепления________________________________________________________

                                                                           (тип, состояние)

3.4. Промежуточные скрепления__________________________________________________

                                                                           (тип, состояние)

3.5. Опорные элементы направляющих____________________________________________

                                                                              (тип, серия)

3.6. Наземные крановые пути:

балластная призма_____________________________________________________________

                                                                                (состояние)

земляное полотно ______________________________________________________________

                                                                                (состояние)

водоотвод_____________________________________________________________________

                                                                                 (состояние)

3.7. Путевое оборудование: тупиковые упоры______________________________________

                                                                                                     (тип, состояние)

ограничитель передвижения_____________________________________________________

                                                                                                     (тип, состояние)

ограждения___________________________________________________________________

                                                                                                          (состояние)

предупредительные знаки_______________________________________________________

                                                                                                           (состояние)

заземление____________________________________________________________________

                                                                                               (состояние и сведения)

3.8. Конструкция электропровода_________________________________________________

4. Планово-высотное положение элементов кранового пути приведено в таблице приложения к акту.

5. Все выявленные отклонения приведены в дефектной ведомости приложения к акту.

6. Заключение комиссии.

По результатам проведенного обследования комиссия считает:

а) эксплуатация кранового пути__________________________________________________

                                                                                               (пригоден, непригоден)

б) дополнительные условия эксплуатации__________________________________________

_____________________________________________________________________________

Следующие обследование провести не позднее_____________________________________

                                                                                                         (месяц, год)

Председатель комиссии:________________________________________________________

                                                                                                 (Ф.И.О., подпись)

Члены комиссии:_______________________________________________________________

                                                                                                 (Ф.И.О., подпись)

                             _______________________________________________________________

                                                                                                 (Ф.И.О., подпись)

ПРИЛОЖЕНИЯ:

1. Копия приказа владельца кранового пути о проведении обследования.

2. Ведомость дефектов.

3. Результаты проверки положения элементов кранового пути.

4. Рекомендации

ВЕДОМОСТЬ ДЕФЕКТОВ

Крановый путь ___________________________________ длиной _________________ п.м.,

                                 (указать наземный или надземный)

смонтирован и сдан в эксплуатацию______________________________________________

                                                                                                (дата сдачи)

на основании Акта сдачи-приемки №______________________________________________

Организация -владелец кранового пути____________________________________________

В ходе проведенного комплексного обследования кранового пути, комиссией выявлены следующие дефекты:

Наименование узла элемента кранового пути

Описание дефекта

Заключение о необходимости и сроках устранения дефекта

1

2

3

 

 

 

Председатель комиссии:________________________________________________________

                                                                                (Ф.И.О., подпись)

Члены комиссии: ______________________________________________________________

                                                                                (Ф.И.О., подпись)

                              ______________________________________________________________

                                                                                (Ф.И.О., подпись)

                              ______________________________________________________________

                                                                                (Ф.И.О., подпись)

                             _______________________________________________________________

                                                                                (Ф.И.О., подпись)

ФЕДЕРАЛЬНАЯ СЛУЖБА

ПО ЭКОЛОГИЧЕСКОМУ,

ТЕХНОЛОГИЧЕСКОМУ И

АТОМНОМУ НАДЗОРУ

Генеральному директору

ЗАО НПЦ «Путь К»

Банных Г.М.

109147, Москва, ул. Таганская, д. 34

Телефон: 912-39-11

Телетайп: 111633 "БРИДЕР"

Телефакс: (095) 912-40-41

E-mail: atomnadzor@gan.ru

 

______________№__________________

Ha № __________ от ________________

Управление технического надзора рассмотрело окончательную редакцию рекомендательного документа «Рекомендации по устройству и безопасной эксплуатации наземных крановых путей» (РД 50:48:0075.01,05.) согласовывает их.

Начальник управления

В.С. Котельников

 




Яндекс цитирования



   Copyright © 2007-2026,  www.tehlit.ru.

[ ѓосты, стандарты, нормативы, инструкции, правила, строительные нормы ]