//
ТехЛит.ру
- крупнейшая бесплатная электронная интернет библиотека для "технически умных" людей.
WWW.TEHLIT.RU - ТЕХНИЧЕСКАЯ ЛИТЕРАТУРА

:: Алготрейдинг::


АЛГОТРЕЙДИНГ
шаг за шагом
с нуля по урокам!

Торговые роботы на PYTHON, BackTrader,
Pandas, Pine Script для TradingView. Связка с брокерами, телеграм и легкими приложениями.


Приказ Федеральной службы по экологическому, технологическому и атомному надзору
от 4 апреля 2008 г. N 209

Об утверждении и введении в действие Методических рекомендаций о порядке проведения экспертизы промышленной безопасности карьерных одноковшовых экскаваторов

В целях реализации распоряжения Федеральной службы по экологическому, технологическому и атомному надзору от 19 сентября 2006 г. N 64-рп приказываю:

Утвердить и ввести в действие с 1 августа 2008 года прилагаемые Методические рекомендации о порядке проведения экспертизы промышленной безопасности карьерных одноковшовых экскаваторов (РД 15-14-2008).

 

Руководитель                                К.Б. Пуликовский

 

Зарегистрировано в Федеральной службе по экологическому, технологическому и атомному надзору 11 апреля 2008 г.

Регистрационный N 562

Руководящие документы РД 15-14-2008

Методические рекомендации о порядке проведения экспертизы промышленной безопасности карьерных одноковшовых экскаваторов

Введены в действие
с 01 августа 2008 г.

I. Общие положения

II Планирование и организация экспертизы

III. Программа проведения экспертизы

IV. Методика проведения экспертизы

V. Оформление результатов экспертизы

VI. Требования безопасности при проведении экспертной группой практических работ в процессе экспертизы промышленной безопасности одноковшовых экскаваторов

Приложение N 1 Термины и их определения

Приложение N 2 Форма рабочей карты экспертного обследования экскаватора карьерного гусеничного

Приложение N 3 Форма рабочей карты экспертного обследования экскаватора типа драглайн

Приложение N 4 Средства измерений (СИ) и инструменты, требующиеся для экспертного обследования экскаваторов

Приложение N 5 Критерии предельных состояний составных частей и агрегатов

Приложение N 6 Критерии предельных состояний составных частей и агрегатов экскаваторов типа драглайн

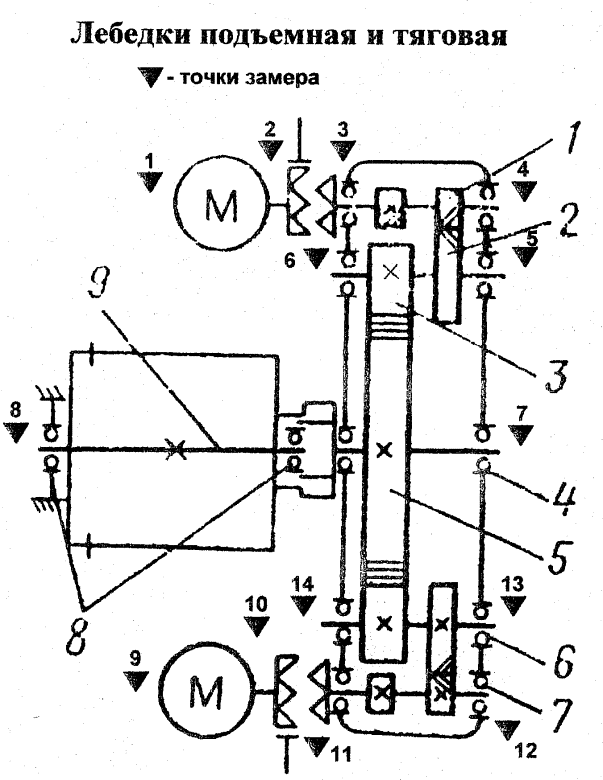
Приложение N 7 Схемы размещения точек вибродиагностики составных частей и оборудования, подвергаемого неразрушающему контролю

Приложение N 8 Интервалы и предельные значения интенсивности вибрации механического оборудования экскаваторов

Приложение N 9 Предельные значения интенсивности вибрации для электрических машин (рекомендации ГОСТ 16921-83)

Приложение N 10 Опорные маски для оценки степени опасности спектральных составляющих вибрации

Приложение N 11 Допустимые уровни вибрации на рабочем месте машиниста экскаватора

Приложение N 12 Форма акта визуального и (или) измерительного контроля

Приложение N 13 Пояснения к оформлению акта визуального и (или) измерительного контроля

Приложение N 14 Форма плана мероприятий по устранению недостатков, выявленных в процессе экспертизы экскаватора

 

I. Общие положения

1. Методические рекомендации о порядке проведения экспертизы промышленной безопасности карьерных одноковшовых экскаваторов (далее - Методические рекомендации) разработаны в соответствии с требованиями следующих документов:

- Федерального закона "О промышленной безопасности опасных производственных объектов" от 21.07.97 N 116-ФЗ (Собрание законодательства Российской Федерации. 1997. N 30. Ст. 3588);

- постановления Правительства Российской Федерации от 28.03.2001 N 241 "О мерах по обеспечению промышленной безопасности опасных производственных объектов на территории Российской Федерации" (Собрание законодательства Российской Федерации. 2001. N 15. Ст. 1489);

- постановления Правительства Российской Федерации от 25.12.98 N 1540 "О применении технических устройств на опасных производственных объектах";

- Правил проведения экспертизы промышленной безопасности (ПБ 03-246-98), утвержденных постановлением Федерального горного и промышленного надзора Российской Федерации от 06.11.98 N 64, зарегистрированным Министерством юстиции Российской Федерации 08.12.98, регистрационный N 1656, с Изменением N 1 [ПБИ 03-490(246)-02], утвержденным постановлением Федерального горного и промышленного надзора Российской Федерации от 01.08.2002 N 48, зарегистрированным Министерством юстиции Российской Федерации 23.08.2002, регистрационный N 3720;

- Положения о порядке продления срока безопасной эксплуатации технических устройств, оборудования и сооружений на опасных производственных объектах (РД-03-484-02), утвержденного постановлением Федерального горного и промышленного надзора Российской Федерации от 09.07.2002 N 43, зарегистрированным Министерством юстиции Российской Федерации 05.08.2002, регистрационный N 3665;

- Правил безопасности при разработке угольных месторождений открытым способом (ПБ 05-619-03), утвержденных постановлением Федерального горного и промышленного надзора Российской Федерации от 30.05.2003 N 45, зарегистрированным Министерством юстиции Российской Федерации 16.06.2003, регистрационный N 4694;

- Единых правил безопасности при разработке месторождений полезных ископаемых открытым способом (ПБ 03-498-02), утвержденных постановлением Федерального горного и промышленного надзора Российской Федерации от 09.09.2002 N 57, зарегистрированным Министерством юстиции Российской Федерации 21.11.2002, регистрационный N 3938.

2. В Методических рекомендациях используются термины, установленные в Правилах проведения экспертизы промышленной безопасности, а также термины и определения, приведенные в приложении N 1.

3. Целью проведения экспертизы является всестороннее определение технического состояния карьерного одноковшового экскаватора и принятие на этой основе решения о возможности и условиях его дальнейшей безопасной эксплуатации.

4. Методические рекомендации определяют совокупность и последовательность действий эксплуатирующей и экспертной организаций по проведению экспертизы промышленной безопасности (далее - экспертиза) находящихся в эксплуатации карьерных одноковшовых экскаваторов.

5. Методические рекомендации предназначены для использования экспертными организациями при проведения экспертизы промышленной безопасности карьерных экскаваторов (далее - КЭ), и организациями, эксплуатирующими карьерные одноковшовые экскаваторы в угольной и горнорудной промышленности при технических обслуживаниях и ремонтах экскаваторов.

6. Методические рекомендации распространяются на все модели одноковшовых гусеничных и шагающих экскаваторов отечественного и иностранного производства.

7. Экспертиза КЭ проводится:

- по истечении нормативного срока эксплуатации;

- после проведенного капитального ремонта;

- в случаях возникновения в процессе эксплуатации непредусмотренной (сверхнормативной) нагрузки.

8. Срок эксплуатации КЭ определяется по нормативной, конструкторской и эксплуатационной документации на КЭ, а также по стандартам и правилам безопасности и составляет:

- 15 лет - для КЭ с вместимостью ковша базовой модели до 5 м3 включительно (ЭКГ-4; ЭКГ 4,6; ЭКГ-5А);

- 18 лет - для КЭ типа механическая лопата с вместимостью ковша базовой модели более 5 м3 (ЭКГ-8И, ЭКГ-10, ЭКГ-12,5, ЭКГ-15, ЭКГ-20);

- 20 лет - для КЭ типа драглайн с вместимостью ковша базовой модели до 15 м3;

- 25 лет - для шагающих КЭ с вместимостью ковша базовой модели 15 м3 и более.

По согласованию с отраслевым управлением Федеральной службы по экологическому, технологическому и атомному надзору (далее - Служба) и изготовителем экскаватора срок эксплуатации КЭ может устанавливаться исходя из времени выполнения им объема гарантированного заводом-изготовителем работ в соответствующих горнотехнических условиях.

9. Если в составе КЭ применяется новое или после капитального ремонта оборудование, имеющее соответствующий сертификат и предусмотренное технической документацией на КЭ, то это оборудование не подлежит экспертизе промышленной безопасности

10. Экспертиза планируется и проводится таким образом, чтобы соответствующее решение было принято до достижения КЭ нормативно установленного срока эксплуатации. Контроль за своевременным проведением экспертизы осуществляет служба производственного контроля эксплуатирующих организаций.

11. Экспертиза КЭ не заменяет проводимых в плановом порядке их освидетельствований и технических обслуживаний.

II Планирование и организация экспертизы

12. Экспертизу КЭ проводят экспертные организации, имеющие лицензию на право проведения экспертизы промышленной безопасности в горной промышленности.

13. Экспертизе должны подвергаться КЭ, находящиеся в рабочем состоянии, по графику, разработанному эксплуатирующей организацией и согласованному с территориальным органом Службы*.

14. Экспертиза проводится на основании заявки заказчика или других документов в соответствии с согласованными экспертной организацией и заказчиком условиями. В документах:

- определяются договаривающиеся стороны;

- определяются объекты экспертизы;

- приводится перечень информации, необходимой для проведения экспертизы объекта в соответствии с действующей нормативной документацией (далее - НД);

- подтверждается заказчиком согласие выполнить требования, обязательные для проведения экспертизы, в частности по принятию эксперта или группы экспертов и оплате расходов на проведение экспертизы независимо от ее результата;

- определяются сроки проведения экспертизы.

15. Экспертиза КЭ должна проводиться в соответствии с программой, согласованной с руководством эксплуатирующей организации.

16. Продолжительность проведения экспертизы не должна превышать трех месяцев со дня получения экспертной организацией предусмотренного комплекта документов.

17. Программа работ по экспертизе КЭ оформляется в соответствии с требованиями гл. III Методических указаний.

18. Документация, представляемая заказчиком для проведения экспертизы:

- данные о заказчике (наименование предприятия, организации, (эксплуатирующей организации) юридический адрес, финансовые реквизиты);

- конструкторская документация (далее - КД) на конструктивные изменения, внесенные при эксплуатации КЭ;

- эксплуатационная документация на КЭ;

- руководство (инструкция) по эксплуатации КЭ;

- формуляр на экскаватор и паспорта на комплектующее оборудование;

- протоколы проверки геометрии стрелы (для шагающих КЭ);

- акты (отчеты) о проведении ревизии и наладки КЭ специализированной организацией;

- материалы полного технического освидетельствования КЭ;

- график планово-предупредительных ремонтов (далее - ПНР);

- технологические регламенты;

- акты проверки сопротивления изоляции электрооборудования и проверки заземления;

- информация о выполненных ремонтах КЭ (акты, справки, журналы);

- протокол испытаний грузоподъемных кранов экскаватора;

- сертификаты на применяемые канаты, масла и смазочные материалы;

- справка о характере работ, выполняемых КЭ, об условиях применения КЭ и его фактической наработке;

- паспорт забоя;

- отчет о наладке главных и вспомогательных приводов;

- протоколы проверки повышенным напряжением высоковольтного оборудования (кабели, электродвигатели, распредустройства);

- заключение по вибродиагностике главных приводов КЭ;

- акты (протоколы) неразрушающего контроля основных составных частей;

- акты замеров шума и вибрации на рабочих местах;

- разрешения на внесение конструктивных изменений, выданные Службой;

- предписания территориальных органов Службы и инспекции по охране труда;

- акты расследования аварий (инцидентов) и несчастных случаев при работе с оборудованием КЭ;

- результаты предыдущих экспертиз (экспертных обследований) оборудования КЭ.

19. При непредставлении запрашиваемых документов в согласованный заказчиком и экспертной организацией срок экспертиза не проводится. При отсутствии у заказчика технической документации на КЭ эту документацию сначала требуется восстановить.

20. Экспертная организация назначает состав и руководителя экспертной группы по проведению экспертизы КЭ. Экспертиза проводится с участием экспертов, аттестованных в установленном порядке, для которых работа в данной организации является основной.

21. При проведении практических работ в процессе экспертизы работники экспертной организации обязаны соблюдать требования безопасности, изложенные в гл. VI Методических указаний.

22. Обязательным этапом программы работ по экспертизе является экспертное обследование КЭ.

23. Допускается проведение обследования в состоянии ремонта, но с обязательной последующей проверкой оборудования под нагрузкой.

III. Программа проведения экспертизы

24. Программа проведения экспертизы КЭ разрабатывается экспертной организацией, согласовывается с заказчиком и утверждается руководителем экспертной организации**.

25. Программа должна предусматривать:

- проверку наличия и анализ документации, представленной заказчиком в соответствии с перечнем, указанным в п. 18 Методических указаний;

- проверку выполненных эксплуатирующей организацией работ по подготовке экскаватора к экспертному обследованию;

- идентификацию оборудования экскаватора;

- разработку рабочей карты экспертного обследования (приложения N 2 и N 3);

- проверку правильность и соответствие использования оборудования нормативной и технической документации;

- проверку соответствия горно-геологических и горно-технических условий работы экскаватора условиям, заложенным в технические характеристики эксплуатационной документации;

- экспертное обследование КЭ;

- определение остаточного ресурса деталей, узлов и агрегатов, срока продления безопасной эксплуатации КЭ;

- подготовку итогового заключения экспертизы;

- разработку эксплуатирующей организацией корректирующих мероприятий по устранению недостатков, выявленных в процессе экспертизы;

- проведение эксплуатирующей организацией корректирующих мероприятий;

- контроль за выполнением корректирующих мероприятий.

IV. Методика проведения экспертизы

26. Проверка наличия документации, представляемой экспертам в соответствии с перечнем, приведенном в п. 18 Методических рекомендаций, а также готовности КЭ к экспертному обследованию. Если при проверке будет выявлено отсутствие у владельца КЭ необходимых документов, работы по ознакомлению с рабочей документацией, проверке технического состояния оборудования приостанавливаются до приведения перечня документации в соответствие с указанным перечнем.

27. Проверка выполнения эксплуатирующей организацией работ по подготовке КЭ к экспертному обследованию (очистка оборудования от пыли, грязи, масел, коррозии, освобождение проходов, обеспечение доступа экспертов к узлам, агрегатам и отдельным элементам, проведение необходимых наладочных работ, проверок, испытаний, выполнение необходимых мероприятий по обеспечению безопасности, в том числе по допуску персонала к работе).

28. Анализ эксплуатационной документации, чертежей, паспорта забоя, актов проведения наладочных (пусконаладочных) работ, а также справки о характере работ, выполняемых КЭ, материалов полного технического освидетельствования и предписаний надзорных органов, а также актов расследования аварий и несчастных случаев.

Цель анализа документации - установление технических параметров, предельных состояний, выявление наиболее вероятных отказов и повреждений для более полного и качественного экспертного обследования.

При анализе технической документации проводится идентификация КЭ, определяются объемы и полнота планово-предупредительных ремонтов, проверок составных частей и агрегатов, контрольных испытаний и наладок аппаратуры защиты и сигнализаций.

По результатам анализа технической документации могут быть назначены повторные или проверочные испытания электрического или механического оборудования.

На основании материалов справки об условиях применения КЭ, характере выполняемых работ и паспорта забоя проверяют соответствие горно-геологических и горнотехнических условий работы КЭ условиям, заложенным в технических характеристиках КЭ.

Проверяются правильность и соответствие использования оборудования нормативной и технической документации, устанавливаются фактические технические параметры его эксплуатации, сравниваются с заданными или предельно допустимыми параметрами по паспорту и проекту.

При анализе формуляра на КЭ обращается внимание на наличие в нем предусмотренных его содержанием сведений, а именно:

- сведений о рекламациях;

- данных учета работы оборудования;

- данных учета неисправностей при использовании КЭ по назначению;

- сведений об изменениях конструкции КЭ и его составных частей во время эксплуатации и капитального ремонта;

- сведений о замене деталей и сборочных единиц за время использования изделия по назначению;

- сведений о капитальных, средних и текущих ремонтах.

Действующими правилами безопасности при разработке месторождений полезных ископаемых открытым способом требуется, чтобы в паспортах, инструкциях и других эксплуатационных документах на применяемое горное оборудование указывались сведения о воспроизводимых вредных производственных факторах и возможных опасностях при работе. Нормируемые заводами-изготовителями технические характеристики должны выдерживаться на протяжении всего периода эксплуатации оборудования, до и после капитального ремонта.

На основании вышеизложенного при экспертизе КЭ должно быть проконтролировано выполнение указанных требований путем сравнения фактических вредных факторов с требованиями, содержащимися в документах:

- по шуму - Правила безопасности при разработке угольных месторождений открытым способом (ПБ 05-619-03), ГОСТ 12.1.003-83 "ССБТ. Шум. Общие требования безопасности";

- по вибрации - Правила безопасности при разработке угольных месторождений открытым способом (ПБ 05-619-03), ГОСТ 12.1.012-90 "ССБТ. Вибрационная безопасность. Общие требования";

- по пыли - Правила безопасности при разработке угольных месторождений открытым способом (ПБ 05-619-03), ГОСТ 12.1.005-88 "ССБТ. Общие санитарно-гигиенические требования к воздуху рабочей зоны".

При отсутствии требуемых данных эксперт, проводящий экспертное обследование, обязан указать на необходимость их измерения организациями, аккредитованными (аттестованными) на выполнение соответствующих измерений в соответствии с Р 2.2.2006-05 "Руководство по гигиенической оценке факторов рабочей среды и трудового процесса. Критерии и классификация условий труда", и СанПиН 2.2.3.570-96 "Гигиенические требования к предприятиям угольной промышленности и организации работ".

29. Разработка рабочей карты экспертного обследования.

Рабочая карта составляется на основании анализа представленной документации на КЭ. В нее должны быть включены перечень рассматриваемых документов и перечень элементов КЭ, подлежащих экспертному обследованию. В зависимости от типа и конструкции КЭ в карту (приложениt N 2 или N 3) должны быть внесены соответствующие изменения и дополнения позиций. По результатам экспертного обследования в карте указываются состояние обследованного элемента и выявленные дефекты.

30. Проведение экспертного обследования. Экспертное обследование состоит из идентификации КЭ, проверки выполнения эксплуатирующей организацией работ по подготовке КЭ к экспертному обследованию (очистка оборудования от пыли, грязи, масел, коррозии, освобождение проходов, обеспечение доступа экспертов к узлам, агрегатам и отдельным элементам, выполнение необходимых мероприятий по обеспечению безопасности, в том числе по допуску персонала к работе), проверки соответствия условий эксплуатации КЭ паспортным данным, проверки комплектности и состояния оборудования и защитных средств.

При идентификации обследуемого КЭ в первую очередь обращается внимание на наличие металлических табличек на оборудовании, на которых указываются:

- наименование или товарный знак предприятия-изготовителя;

- наименование и условные обозначения КЭ (единицы оборудования);

- заводской порядковый номер;

- год и месяц изготовления.

При проверке комплектности КЭ проверяются соответствие отдельных элементов конструкторской документации, а также комплектация следующими средствами защиты:

- указатель высокого напряжения - 1 шт.;

- указатель низкого напряжения - 1 шт.;

- диэлектрические боты - 2 пары;

- диэлектрические перчатки - 2 пары;

- предохранительный пояс - 2 шт.;

- приспособление для переноски кабеля - 1 шт.;

- защитные каски - по числу членов бригады;

- защитные очки - 2 шт.;

- плакаты: "Не включать! Работают люди", "Заземлено", "Работать здесь" - 1 комплект;

- переносные заземления - 1 комплект;

- предусмотренные конструкцией и действующими правилами противопожарные средства.

В зависимости от вида и типа КЭ производится сравнение с паспортными данными параметров, характеризующих условия эксплуатации экскаватора.

Проверка соответствия условий эксплуатации КЭ паспортным данным проводится по следующим параметрам:

- относительная влажность;

- скорость ветра;

- запыленность окружающей среды;

- напряжение питания;

- физико-механические свойства экскавируемой горной массы;

- углы наклона площадки работы КЭ.

Запрещается навеска на ковш КЭ различных самодельных навесных устройств, предназначенных для обрушения высоких уступов, очистки думпкаров и других работ, так как это может привести к перегрузке рабочего оборудования и вызвать поломку отдельных составных частей КЭ.

Экспертное обследование металлических конструкций оборудования КЭ должно включать следующие этапы:

- внешний осмотр;

- проверку качества соединений элементов металлических конструкций (сварных, болтовых, шарнирных и др.);

- измерение остаточных деформаций конструкций и отдельных поврежденных элементов;

- проверку элементов металлических конструкций методами неразрушающего контроля (далее - НК);

- оценку степени износа, коррозии, толщинометрию.

31. Техническая диагностика является элементом экспертного обследования КЭ и состоит из оценки состояния:

- металлических конструкций;

- механизмов;

- гидрооборудования;

- электрооборудования;

- систем автоматизации, предупредительной сигнализации, защит, блокировок, приборов безопасности.

Техническая диагностика состоит из этапов:

- НК;

- испытания.

Методы неразрушающего контроля:

- визуальный и измерительный контроль (далее - ВИК);

- магнитопорошковый контроль (далее - МК);

- контроль проникающими веществами (далее - ПВК);

- вибродиагностика (далее - ВД).

НК должен проводиться с использованием средств измерений и контроля, отвечающих требованиям государственной системы обеспечения единства измерений (далее - ГСИ), а также с использованием правил статистической обработки данных. Для исключения возможности попадания в эксплуатацию деталей и составных частей с недопустимыми дефектами подозрительные места проверяются не менее трех раз.

32. ВИК - наибольший по объему работ этап экспертного обследования КЭ. При ВИК определяется общее состояние всех составных частей и механизмов, состояние крепежных и сварных соединений, наличие и величина деформаций, отклонений, износа, механических повреждений, коррозионного износа.

ВИК элементов КЭ (металлических конструкций - рукоять, стрела, поворотная платформа, нижняя рама, кузов и др.) проводится в целях выявления изменений их формы, поверхностных дефектов в материале и соединениях (в том числе сварных) деталей, наплавках, образовавшихся в процессе эксплуатации трещин, коррозионных и эрозионных повреждений, деформаций, ослаблений болтовых и заклепочных соединений и пр.

ВИК проводится в соответствии с Инструкцией по визуальному и измерительному контролю (РД 03-606-03), утвержденной постановлением Госгортехнадзора России от 11.06.2003 N 92, зарегистрированным Министерством юстиции Российской Федерации 20.06.2003 г., регистрационный N 4782.

При визуальном контроле технического состояния проводят:

- внешний осмотр элементов КЭ;

- проверку наличия и качества смазки в шарнирных соединениях и подшипниках;

- проверку качества затяжки элементов крепления механизмов;

- оценку степени коррозии элементов;

- выявление расслоений основного металла;

- проверку отсутствия (наличия) зазоров шарнирных соединений;

- измерение износа пальцев и проушин шарнирных соединений;

- визуальный контроль болтовых, заклепочных и сварных соединений;

- проверку отсутствия (наличия) механических повреждений поверхностей;

- проверку отсутствия (наличия) изменений формы элементов конструкций (деформированные участки, коробление, провисание и другие отклонения от первоначального расположения);

- проверку соответствия регулировки составных частей механизмов требованиям эксплуатационной и нормативной документации;

- проверку отсутствия (наличия) трещин и других поверхностных дефектов в основном металле, сварных швах и околошовной зоне, косвенными признаками наличия которых являются шелушение краски, местная коррозия, подтеки ржавчины и т.п.

При обнаружении признаков трещин в металлической конструкции или сварном шве подозрительные места подвергают обязательной дополнительной проверке с помощью измерительного микроскопа, методами НК.

Контроль соединительных элементов металлических конструкций - осей, пальцев и т.п. следует начинать с проверки наличия и состояния фиксирующих элементов, а затем осей (пальцев) и посадочных гнезд. Наличие зазоров в шарнирных соединениях определяют визуально в процессе эксплуатации оборудования по характерным признакам (толчки, удары и пр.).

Хомуты должны быть плотно установлены на полную глубину кольцевых проточек осей. Болты хомутов должны быть надежно затянуты и застопорены контргайками, болты стопорных планок - застопорены проволокой.

Все металлические ограждения, предусмотренные технической документацией, должны быть установлены и находиться в исправном техническом состоянии (надежно закреплены, отрегулированы по высоте, не загромождены и не иметь подтеков масла и смазки).

Методом ВИК определяют также утечки масла из корпусов редукторов и через уплотнения. При небольших утечках масла для выявления мест утечки использует ПВК, в том числе люминесцентный. Для этого участки корпуса тщательно очищают от масла и пыли, смазывают люминесцентной жидкостью и освещают кварцевой лампой со светофильтром УФС. Места течи выделяются по характерному блеску. Состав люминесцентной жидкости: 10% трансформаторного масла, 80% керосина и 10% магнезиевой пудры.

Визуальный контроль следует проводить с применением лупы 6 - 10-кратного увеличения. Все выявленные дефекты должны быть отражены в рабочей карте обследования.

При измерительном контроле состояния конструкций и сварных соединений определяют:

- качество соединений элементов металлических конструкций, а также ослабление болтовых и заклепочных соединений;

- величины деформаций конструкций и отдельных поврежденных элементов (при наличии);

- размеры механических повреждений конструкций;

- размеры деформированных участков материала конструкций и сварных соединений, в том числе длину, ширину и глубину вмятин, выпучин;

- глубину коррозионных язв и размеры зон коррозионного повреждения, включая их глубину.

33. Проверка элементов металлических конструкций методами НК.

При обнаружении признаков наличия трещин в металлических конструкциях или сварных швах при ВИК места обнаружения подвергают дополнительной проверке с помощью одного из методов НК:

- ультразвукового (далее УК);

- МК;

- ПВК.

УК позволяет обнаруживать поверхностные и внутренние плоскостные (трещины) и объемные дефекты, определять координаты и расположение дефекта в детали.

МК позволяет определять наличие трещин у поверхности, расслоений, различных включений, находящихся на небольшой глубине.

ПВК позволяет определять наличие трещин, характер их развития по поверхности детали.

НК выполняется организацией, имеющей лабораторию, аттестованную в соответствии с Правилами аттестации и основными требованиями к лабораториям неразрушающего контроля (ПБ 03-372-00), утвержденными постановлением Федеральным горным и промышленным надзором Российской Федерации от 02.06.2000 N 29, зарегистрированным Министерством юстиции Российской Федерации 25.07.2000 г., регистрационный N 2324.

Оборудование и приборы перед проведением НК должны быть проверены в установленном порядке.

34. Для измерения должны быть использованы СИ в соответствии с рекомендациями приложения N 4.

35. Предельные значения контролируемых параметров с указанием способов контроля приведены в приложениях N 5 и N 6. Приведенный перечень может быть уточнен или дополнен на основании анализа эксплуатационной и ремонтной документации исходя из особенностей типа и конструкции обследуемого КЭ.

Все выявленные несоответствия КЭ нормативной документации, превышения предельных значений контролируемых параметров должны быть отражены в рабочей карте обследования.

36. Необходимость разборки механизмов КЭ при ВИК определяет эксперт, проводящий экспертное обследование.

При проверке технического состояния механизмов следует обращать внимание на тяговые органы - состояние канатов и надежность их крепления на барабанах и рабочих органах. Число порванных проволок канатов подвески стрелы на шаге свивки не должно превышать 15% их общего числа в канате. Торчащие концы оборванных проволок должны быть обрезаны.

Повреждения, выявленные в результате ВИК, должны быть измерены. Необходимость измерения износа и степени выкрашивания зубьев шестерен и колес зубчатых передач редукторов определяется по повышенному шуму, вибрации при работе механизма и (или) повышению температуры нагрева корпуса. Измерения проводятся с применением специальных устройств для измерения суммарного люфта ("мертвого хода") - люфтомеров (например, типа КИ4813, устройств УВК, УДТ).

При осмотре редукторов следует обращать внимание на состояние зубчатых зацеплений, валов и осей, подшипников. Пятна контакта должны быть не менее 50% высоты и не менее 70% длины зуба. Боковой зазор должен быть в пределах норм по технической документации. Сколы, трещины на зубчатых колесах, шестернях, валах не допускаются. Ослабление посадок подшипников, цвета побежалости в любом месте, сколы, трещины любых размеров, выкрашивание поверхностного слоя, отпечатки тел вращения, забои и вмятины сепаратора, ступенчатая выработка боковых дорожек не допускаются.

Зазоры в шлицевых и шпоночных соединениях не допускаются.

Износ тормозных накладок должен быть в пределах, указанных в приложениях N 5 и N 6. Контакт заклепок со шкивом не допускается.

Проверяется наличие предусмотренных в конструкциях осей, болтов, шплинтов, концы которых должны быть отогнуты.

При обследовании КЭ определяют техническое состояние крана, в том числе состояние каната и его крепления на барабане, крюка и его крепления в обойме, наличие и надежность крепления кожухов на редукторе и тормозах. Кран экскаватора должен подвергаться периодическому освидетельствованию в соответствии с действующими правилами, о чем в паспорте (формуляре) должны быть сделаны соответствующие записи.

37. Дефектоскопия ответственных деталей и сварных соединений КЭ проводится методом УК. Наиболее ответственные составные части, подвергаемые обязательной проверке сплошности металла и сварных соединений методом УК, приведены в приложении N 7.

При просвечивании к контролируемой детали (участку) должен быть обеспечен доступ с источником и преобразователем излучения, на пути излучения не должны находиться посторонние элементы конструкции. При необходимости составная часть подвергается полной или частичной разборке.

При проведении УК, при котором перемещается преобразователь, поверхность деталей не должна иметь неровностей, с нее должны быть удалены окалина, ржавчина, брызги металла, загрязнения. Размеры защищенных участков должны обеспечивать возможность полного прозвучивания контролируемого объема детали. Шероховатость контролируемой поверхности при проведении УК должна быть не ниже Rz 40 мкм.

При ультразвуковой толщинометрии подготавливаемая площадь мест измерений должна быть не менее площади контактной поверхности преобразователей, используемых при контроле. После этого на предварительно подготовленную поверхность детали наносится контактная смазка.

Шероховатость поверхностей контролируемых деталей для выполнения УК оценивается визуально путем сравнения с поверхностью испытательного образца, шероховатость которого может быть измерена специальными приборами.

Методики УК деталей КЭ приведены в Руководстве по ультразвуковой дефектоскопии одноковшовых экскаваторов, утвержденном Министерством угольной промышленности СССР 27.09.82 г., стандартах ГОСТ 27518-87. "Диагностирование изделий. Общие требования", ГОСТ 12503-75. "Сталь. Методы ультразвукового контроля. Общие требования", ГОСТ 14782-86. "Контроль неразрушающий. Соединения сварные. Методы ультразвуковые", а также в руководствах по применению дефектоскопов. Рекомендуемые к применению типы дефектоскопов приведены в приложении N 4.

38. ПВК позволяет определять наличие трещин, характер их развития по поверхности детали, а также определить негерметичные места оборудования.

Методика применения ПВК приведена в книге Н.П. Калиничина и Г.П. Кулешовой "Неразрушающий контроль. Капиллярный метод" (НИИ Интроскопии. М., 2002. 101 с).

39. Обнаруженные при НК недопустимые дефекты должны быть устранены. Устранять дефекты необходимо без снижения регламентированного запаса прочности для конкретной детали, после чего этот участок контролируется повторно.

Сварные соединения подвергают УК при отсутствии наружных дефектов.

При устранении обнаруженных дефектов следует руководствоваться документацией завода-изготовителя на экскаватор, а также Технологическими картами по техническому обслуживанию и ремонтам экскаваторов.

40. Измерения шума и вибрации на рабочих местах должны проводиться с помощью шумомеров и виброметров типа ВШВ.003.

Вибродиагностика проводится для получения объективной информации о фактическом техническом состоянии механического оборудования (далее - МО) экскаваторов: машинного агрегата (далее - МА), механизмов напора (далее - МН) и тяги (далее - МТ), подъема (далее - МП), поворота (далее - ПМ) и других механизмов. Вибродиагностика МО проводится при его работе под нагрузкой в стационарном (при отклонении параметров от номинальных значений не более чем на 10%) режиме, а также в режиме холостого хода для каждого привода в отдельности. Контроль параметров вибрации на рабочем месте машиниста экскаватора осуществляется во время проведения технического освидетельствования экскаватора и в процессе эксплуатации во время плановых обследований состояния механического оборудования.

Для вибродиагностики должна применяться аппаратура, которая состоит из измерительного преобразователя (датчика), усилительного преобразователя и показывающего прибора и соответствует следующим требованиям:

- измерительный преобразователь должен быть избирательным по направлению измерений (коэффициент искажения не более 5%);

- соотношение массы измерительного преобразователя и местной колеблющейся массы объекта исследования не должно превышать 10%;

- предел погрешности измерительно-регистрирующего тракта не должен превышать 10% (в частотном диапазоне 10 - 1000 Гц не должен превышать 2%);

- частотный диапазон должен охватывать все частотные компоненты, имеющие решающее значение для оценки интенсивности вибрации (не уже, чем 10 - 1000 Гц, предпочтительно 1 - 10000 Гц);

- динамический диапазон должен охватывать все возможные значения амплитуд отдельных компонент (не уже чем 0-20 мм/с);

- показывающий (регистрирующий) прибор должен иметь квадратическую характеристику для отображения среднеквадратического значения виброскорости;

- иметь возможность узкополосного анализа спектра вибронагруженности аппаратурным или алгоритмическим (на основе быстрого преобразования Фурье) методом;

- иметь возможность накапливать информацию об измеренных процессах для дальнейшей передачи в персональный компьютер или отображения ее на твердых копиях;

- климатическое исполнение должно соответствовать условиям проведения измерений.

Этим требованиям отвечают анализаторы AU060 КВАРЦ с системой прогнозируемого обслуживания ДИАМАНТ2 (Диамех, Россия), СК-1100, СК-2300 с системой прогнозируемого обслуживания ВИБРОАНАЛИЗ 2.52 (ИТЦ Оргтехдиагностика, Россия), СД-12М с системой прогнозируемого обслуживания Vibro12 и DREAM for Windows (BACT, Россия).

Могут быть использованы и другие аппаратурно-программные комплексы, имеющие характеристики, отвечающие вышеперечисленным требованиям.

При проведении измерений перед назначением контрольных точек необходимо снять контурную характеристику для выявления наиболее информативных точек, то есть таких, в которых регистрируемый сигнал имеет наибольшую величину. Контрольные точки указываются на кинематической схеме (приложение N 7) и должны быть четко помечены на корпусе обследуемой машины, чтобы все измерения проводились в одном и том же месте. Это связано с тем, что если путь распространения механических колебаний от точки возбуждения (вала, шестерни и т.п.) до точки регистрации не имеет идентичного коэффициента затухания, то дефекты одинакового характера могут создавать различные по форме и амплитуде сигналы на измерительном преобразователе и могут быть причиной различных интерпретаций и заключений. При этом следует задавать контрольные точки на корпусах вдали от ребер жесткости, а также местных концентраторов напряжений и деформаций, где происходит сильное искажение сигналов.

Параметры механических колебаний при вибродиагностике МО должны измеряться на всех подшипниковых опорах в трех ортогональных направлениях: вертикальном, горизонтальном и осевом по отношению к геометрической оси вала механического оборудования. Для выявления дефектов электромагнитного происхождения рекомендуется проводить измерения механических колебаний в тангенциальном и радиальном направлениях на корпусе электрической машины.

Вертикальная компонента вибрации должна измеряться на верхней части крышки подшипника.

Горизонтальная компонента вибрации должна измеряться напротив середины подшипника на верхней крышке в непосредственной близости к горизонтальному разъему.

Осевая компонента вибрации должна измеряться на верхней части крышки подшипника в непосредственной близости к горизонтальному разъему.

Если верхняя крышка подшипника не имеет жесткой связи с подшипником или имеются другие конструктивные особенности, препятствующие установке датчиков в точках, указанных выше, допускается проводить измерения параметров вибрации в других точках корпуса подшипника, жестко связанных с подшипником и не имеющих резонансов в диапазоне частот 10 - 1000 Гц.

Параметры механических колебаний при контроле вибрации на рабочем месте машиниста экскаватора должны измеряться на сиденье, спинке сиденья, рычагах управления.

При измерении вибрации агрегатов, работающих в установившемся режиме (с постоянной скоростью вращения вала), таких, как машинный агрегат, отсоединенные от редукторов электродвигатели, вентиляторы принудительного охлаждения, время осреднения результатов измерения каждой из компонент на каждой контрольной точке должно быть не менее 30 с. Число отсчетов результата измерения среднего квадратического значения виброскорости не менее трех.

Измерения уровня вибрации агрегатов с переменной скоростью и направлением вращения необходимо проводить без нагрузки при скорости вращения вала не менее 75% максимальной, скорость вращения в процессе измерения не должна изменяться. Число отсчетов результата измерения среднего квадратического значения виброскорости не может быть равным единице.

Для проведения сравнительного анализа рекомендуется синхронное измерение временных реализаций механических колебаний в нескольких контрольных точках, что позволяет получить информацию о сдвиге фаз колебаний и дает возможность выявления дефектов различных узлов оборудования, связанных между собой механическими или электрическими связями.

Для детального рассмотрения процесса механических колебаний рекомендуется использовать методы спектрального анализа, анализа спектров огибающей и орбит движения вала.

При оценке интенсивности вибрации в качестве нормируемого параметра вибрации устанавливается среднее квадратическое значение виброскорости в рабочей полосе частот 10 - 1000 Гц. Если вибрационные процессы представлены сложными колебаниями в диапазоне от 2 до 10 Гц или от 1 до 10 кГц (шире, чем рекомендовано ISO 2372 и ГОСТ 10816-1-97), то вводится дополнительное условие по ограничению размаха колебаний 2S_a и амплитуде виброускорения.

Техническое состояние МО оценивается по наибольшему значению одной из измеренных компонент вибрации.

Интервалы и предельные значения интенсивности вибрации для оценки общего состояния МО и электрических машин одноковшовых экскаваторов приведены в приложениях N 8 и N 9.

Приемка МО первой группы одноковшовых экскаваторов из монтажа и ремонта допускается, если вертикальная и горизонтальная компоненты интенсивности вибрации не превышают величины 1,1 мм/с, а осевая - 1,8 мм/с (оценка технического состояния - хорошо). При наличии составляющих в частотном диапазоне от 2 до 10 Гц размах радиальных вибросмещений не должен превышать 0,040 мм, а осевого - 0,065 мм.

Приемка МО второй группы из монтажа и ремонта допускается, если вертикальная и горизонтальная компоненты интенсивности вибрации не превышают величины 1,8 мм/с, а осевая - 2,8 мм/с (оценка технического состояния - хорошо). При наличии составляющих в частотном диапазоне от 2 до 10 Гц размах радиальных вибросмещений не должен превышать 0,065 мм, а осевого - 0,100 мм.

Длительная эксплуатация МО первой группы допускается при величине радиальных составляющих интенсивности вибрации подшипниковых опор, не превышающей 2,8 мм/с, а осевой - 4,5 мм/с (оценка технического состояния - удовлетворительно). При наличии составляющих в частотном диапазоне от 2 до 10 Гц длительная эксплуатация допускается при величине размаха радиальных колебаний, не превышающей 0,100 мм, а осевых - 0,160 мм.

Длительная эксплуатация МО второй группы допускается при величине радиальных составляющих интенсивности вибрации подшипниковых опор, не превышающей 4,5 мм/с, а осевой - 7,1 мм/с (оценка технического состояния - удовлетворительно). При наличии составляющих в частотном диапазоне от 2 до 10 Гц длительная эксплуатация допускается при величине размаха радиальных колебаний, не превышающей 0,160 мм, а осевых - 0,250 мм.

Не допускается длительная работа МО первой группы при интенсивности радиальной вибрации хотя бы одной подшипниковой опоры свыше 4,5 мм/с, а осевой - 7,1 мм/с (оценка технического состояния - допустимо). Дополнительным условием является ограничение размаха радиальных колебаний величиной 0,160 мм, а осевых - 0,250 мм. При превышении этого нормативного значения необходимо планировать остановку МО для проведения ремонтных работ в целях устранения причин повышенной вибрации.

Не допускается длительная работа МО второй группы при интенсивности радиальной вибрации хотя бы одной подшипниковой опоры > 7,1 мм/с, а осевой - 11,2 мм/с (оценка технического состояния - допустимо). Дополнительным условием является ограничение размаха радиальных колебаний величиной 0,250 мм, а осевых - 0,400 мм. При превышении этого нормативного значения необходимо планировать остановку МО для проведения ремонтных работ в целях устранения причин повышенной вибрации.

Не допускается работа МО первой группы при интенсивности радиальной вибрации хотя бы одной подшипниковой опоры свыше 7,1 мм/с, а осевой - 11,2 мм/с (оценка технического состояния - недопустимо). При наличии низкочастотных составляющих (в диапазоне 2-10 Гц) не допускается эксплуатация при величине размаха радиальных вибросмещений больше 0,250 мм, а осевых - 0,400 мм.

Допустимые уровни отдельных гармоник в спектре вибронагруженности (опорные маски):

- для опорных масок вводятся две границы: "предупреждение" и "тревога". Граница "предупреждение" для составляющих на частоте вращения ротора соответствует нижней границе класса "допустимо" для каждой группы МО (приложение N 10), а граница "тревога" вводится для этих составляющих умножением величины границы "предупреждение" на 1,6 согласно требованиям стандарта ISO 2372. Границы "предупреждение" и "тревога" для субгармоник и обертонов вводятся в долях от границ маски на частоте вращения, а для общего уровня интенсивности вибрации границы определяются как среднеквадратическое значение всех компонент опорной маски;

- нижний предел (граница "предупреждение") опорной маски определяет границу учитываемого динамического диапазона. Это значит, что изменения амплитуд спектральных составляющих ниже этого предела не вызывают опасных последствий.

Допустимые уровни вибрации на рабочем месте машиниста экскаватора приведены в приложении N 11.

Вибрационные параметры должны соответствовать нормам.

41. Проверка состояния электрооборудования (приводных электродвигателей, высоко- и низковольтных распределительных устройств, станции управления электродвигателями, заземления и пр.) должна включать следующее:

- внешний осмотр и проведение необходимых измерений;

- оценку соответствия установленного электрооборудования эксплуатационной документации;

- испытания.

Внешний осмотр, измерения и оценка соответствия электрооборудования осуществляются в соответствии с Правилами устройства электроустановок (утверждены приказом Министерства энергетики Российской Федерации от 08.07.2002. N 204), Правилами технической эксплуатации электроустановок потребителей (утверждены приказом Министерства энергетики Российской Федерации от 13.01.2003 N 6, зарегистрированным Министерством юстиции Российской Федерации 22.01.2003 г., регистрационный N 4145), Межотраслевыми правилами по охране труда (правилами безопасности) при эксплуатации электроустановок (ПОТ Р М-016-2001), утвержденными приказом Министерства энергетики Российской Федерации, постановлением Министерства по труду и социальным вопросам Российской Федерации от 05.01.2001 N 3, Инструкцией по безопасной эксплуатации электроустановок в горнорудной промышленности (ПБ 06-572-03), утвержденной постановлением Федерального горного и промышленного надзора Российской Федерации от 05.06.2003 N 65, зарегистрированным Министерством юстиции Российской Федерации 19.06.2003 г., регистрационный N 4736, Нормами безопасности на электроустановки угольных разрезов и требованиями по их безопасной эксплуатации (РД 05-334-99), утвержденными постановлением Федерального горного и промышленного надзора Российской Федерации от 24.12.99 N 96, в направлении от приключательных пунктов к потребителям электрической энергии экскаватора и включают проверку вспомогательного распределительного устройства, сетевого электродвигателя и генераторов преобразовательного агрегата, трансформатора, электропривода основных и вспомогательных механизмов.

Проверяют наличие табличек на электродвигателях, генераторах, надежность крепления колец, щеткодержателей, подводящих кабелей. Необходимо убедиться в наличии решеток и крыльчаток вентиляторов и проверить состояние светильников освещения кузова и аварийного освещения.

Проверяется наличие четких надписей на пусковых аппаратах, указывающих включаемую ими установку. Голые токоведущие части электрических установок, голые провода и шины, контакты рубильников и предохранителей, защиты электрических машин и аппаратов и т.п., доступные случайным прикосновениям, должны быть защищены надежными ограждениями.

Все электрооборудование, снабженное кожухами и дверьми (станции управления, высоковольтное распределительное устройство, клеммные устройства электрических машин и т.п.), должно быть закрытым.

Проверяется соответствие фактической схемы подключения потребителей паспортной схеме. При экспертизе обращается внимание на выполнение рекомендаций и требований к подключению электрического оборудования: марка, сечение и длина прокладки кабелей.

В процессе обследования технического состояния электрооборудования осуществляются также следующие проверки:

- уровня и характера вибрации;

- сопротивления изоляции;

- сопротивления заземления;

- температуры нагрева приводов;

- напряжения в сети (при необходимости).

Проверяется наличие заземлений металлических частей электроустановок в соответствии с требованиями Правил безопасности при разработке угольных месторождений открытым способом и Инструкцией по устройству и эксплуатации защитного заземления электроустановок угольных разрезов:

- корпусов КЭ;

- электроприводов механизмов и агрегатов;

- кожухов трансформаторных подстанций, распределительных устройств и приключательных пунктов;

- корпусов кабельных муфт, металлических оболочек кабелей;

- корпусов прожекторов и осветительной аппаратуры;

- ограждений частей машин, находящихся под напряжением.

Напряжение питания электрооборудования должно соответствовать паспортным значениям.

Электросварочные аппараты переменного тока должны быть оснащены устройствами снижения напряжения холостого хода.

42. При экспертном обследовании пневмосистемы КЭ проверяют состояние компрессорной установки, воздухосборника, пневмоэлектрораспределителя, вентилей, манометров, пневмоцилиндров, трубопроводов. При визуальном контроле проверяется крепление элементов системы, наличие повреждений, правильность настройки реле давления и предохранительного клапана. При обследовании технического состояния пневмосистемы проверяется наличие и работоспособность манометров, отсутствие конденсата в маслоотделителе и трещин в воздухосборнике. Конструкция, техническое состояние и порядок технического освидетельствования воздухосборников должны соответствовать Правилам проектирования, изготовления и приемки сосудов и аппаратов стальных сварных (ПБ 03-584-03), Единым правилам безопасности при разработке месторождений полезных ископаемых открытым способом (ПБ 03-498-02), Правилам устройства и безопасной эксплуатации стационарных компрессорных установок, воздухопроводов и газопроводов (ПБ 03-581-03), Правилам устройства и безопасной эксплуатации сосудов, работающих под давлением (ПБ 03-576-03).

Проверяется работа конечных выключателей и электропневмораспределителей.

43. При обследовании состояния гидравлических систем, в том числе систем густой и жидкой смазки, проверяют надежность закрепления, герметичность насосной установки, электромагнитных золотников, бака, трубопроводов. При осмотре смазочных станций проверяется поступление смазочного материала к точкам смазки (роликовый круг, зубчатый венец, смазочные пистолеты и др.). При осмотре гидроцилиндров проверяют их работоспособность и отсутствие утечек масла, в том числе через манжеты.

Объемный к.п.д. насосной установки определяется отношением полезного расхода рабочей жидкости, используемой исполнительным органом Qп дм3/мин, к теоретической производительности насосной установки Qт дм3/мин:

;

, дм3/мин.

где V - скорость выдвижения штока, дм/мин;

D - площадь поршня, дм2.

 

Для контроля давления в гидросистеме должны применяться манометры, прошедшие государственную поверку.

Уровни виброускорений в октавных полосах со среднегеометрическими частотами 500 и 2000 Гц должны быть соответственно в пределах 88-93 дБ и 111-115 дБ или соответствовать значениям, регламентированным технической документацией на насосную станцию.

44. При проверке состояния систем автоматизации, предупредительной сигнализации, защит, блокировок, приборов и устройств безопасности устанавливаются наличие предупредительного сигнала о пуске экскаватора в работу, его слышимость на рабочих местах в зонах возможного травмирования. Проверяется наличие и работоспособность средств сигнализации и других средств информации, предусмотренных рабочей документацией и предупреждающих о параметрах работы и нарушениях функционирования.

Проверяются работа блокировок от включения, оснащенность пульта управления сигнализацией, мнемосхемой о выполняемых командах. Приборы, применяемые для контроля параметров работы КЭ, должны быть в исправном состоянии, иметь отметку о периодической государственной поверке.

Проверяется наличие пломб на реле утечки, МТЗ, 33 и давления.

По записям в специальном журнале оценивается организация проверок исправности действия (срабатывания) реле утечки в цепях 127 - 380 В. Периодичность - проверяется в каждой смене перед началом работы, время срабатывания - не более 200 мс.

Электропривод КЭ должен быть оборудован электрической блокировкой, исключающей самозапуск механизмов после подачи напряжения питания.

Все двери высоковольтных камер, распределительных устройств и приключательных пунктов должны иметь надежное запирающее устройство, механическую блокировку между высоковольтными выключателями, распределителями и всеми дверями высоковольтных камер, препятствующую ошибочным операциям с разъединителем и выключателем и исключающую возможность открытия двери при включенном разъединителе, а также включение разъединителя при открытых дверях.

45. Испытания КЭ включают операции по проверке его работоспособности при номинальных и аварийных режимах работы. В первую очередь испытания включают проверку функционирования как отдельных машин и оборудования, так и их взаимодействие между собой при работе экскаватора. Работа гидрооборудования и насосной станции проверяется при их функционировании при номинальном давлении. При этом определяют давление срабатывания предохранительных клапанов и прочность металлоконструкций. Нормы испытания электрооборудования приведены в Правилах эксплуатации электроустановок потребителей.

Испытания токовых защит до и выше 1000 В, испытание электрооборудования и кабелей повышенным напряжением, испытания сосудов, работающих под давлением, и грузоподъемных механизмов проводятся специализированными организациями в установленные сроки. По результатам указанных испытаний экспертом могут быть назначены повторные или проверочные испытания.

В случае если в ходе экспертного обследования и испытаний будут выявлены неисправности КЭ, препятствующие его безопасной эксплуатации, эксперт обязан предупредить об этом обслуживающий персонал и руководство эксплуатирующей организации, внеся соответствующую запись в эксплуатационный журнал экскаватора.

46. При принятии решения о величине остаточного ресурса составных частей и агрегатов машины и сроках дальнейшей безопасной эксплуатации КЭ основным методом является экспертный. Определение срока безопасной эксплуатации является наиболее ответственным этапом работы по экспертизе промышленной безопасности КЭ, отработавшего расчетный (нормативный) срок службы. Исходя из этого, данную работу могут выполнять наиболее квалифицированные эксперты экспертной организации.

Основанием для принятия решения о возможности и условиях дальнейшей эксплуатации КЭ являются результаты проведенного экспертного обследования, а также:

- результаты предыдущих обследований;

- результаты проверки соответствия условий применения КЭ проектным значениям;

- оценка интенсивности и условий эксплуатации;

- профессионализм обслуживающего персонала;

- наличие системы текущих обслуживании и ремонтов и качество их выполнения;

- расчет остаточного ресурса КЭ.

Учитывая, что для большинства агрегатов и отдельных элементов КЭ в настоящее время отсутствуют утвержденные методики расчета остаточного ресурса, срок безопасной эксплуатации КЭ, на который может быть продлен ресурс после истечения нормативного срока службы, в соответствии с Положением о проведении экспертизы промышленной безопасности в угольной промышленности (РД-05-432-92) не должен превышать трех лет. После разработки и утверждения в установленном порядке методов оценки предельного состояния этот срок может быть скорректирован.

Работы по определению остаточного ресурса КЭ должны проводиться экспертами экспертных организаций, аттестованными в установленном порядке на право выполнения расчетов остаточного срока эксплуатации. Остаточный ресурс КЭ определяется на основании Методических указаний по определению остаточного ресурса потенциально опасных объектов, подконтрольных Госгортехнадзору России, и других нормативных документов Службы.

V. Оформление результатов экспертизы

47. Результаты рассмотрения документации, НК и испытаний оформляются экспертами в виде отчетов, актов (приложения N 12 и N 13) и протоколов и утверждаются руководителем экспертной организации по форме, принятой в экспертной организации. Оформленные в надлежащем порядке отчеты, акты и протоколы подшиваются к заключению экспертизы промышленной безопасности и являются его неотъемлемой частью.

48. Руководитель группы (ведущий эксперт) обобщает информацию, изложенную в частных документах экспертов, и на этой основе составляет проект экспертного заключения на экскаватор в целом.

49. Заключение экспертизы должно содержать:

- наименование заключения экспертизы;

- вводную часть, включающую основание для проведения экспертизы, сведения об экспертной организации и наличии лицензии на право проведения экспертизы промышленной безопасности экскаватора, сведения об экспертах;

- перечень объектов экспертизы, на которые распространяется действие заключения экспертизы;

- данные о заказчике;

- цель экспертизы;

- сведения о рассмотренных в процессе экспертизы документах (проектных, конструкторских, эксплуатационных, ремонтных и др.) с указанием объема материалов, имеющих шифр, номер, марку и другую индикацию, необходимую для идентификации;

- краткую характеристику и назначение объекта экспертизы;

- результаты проведенной экспертизы (анализ состояния составных частей, агрегатов и КЭ в целом);

- заключительную часть с обоснованными выводами, а также рекомендациями по техническим решениям и проведению корректирующих мероприятий (при необходимости). При проведении экспертизы в связи с истечением нормативного срока эксплуатации КЭ разрабатываются также рекомендации по продлению срока его эксплуатации;

- приложения, содержащие перечень использованной при экспертизе нормативной, технической и методической документации, а также результаты визуального обследования КЭ, вибродиагностики, неразрушающего контроля, испытаний оборудования.

50. В заключении экспертизы в обязательном порядке констатируется факт соответствия (или несоответствия) технического состояния КЭ установленным требованиям и в зависимости от этого формулируется один из следующих выводов:

- о продолжении эксплуатации КЭ в режиме установленных рабочих параметров;

- о продолжении эксплуатации КЭ в режиме ограничения установленных рабочих параметров;

- о необходимости ремонта (доработки, реконструкции) КЭ (с указанием конкретного объема выполняемых работ);

- о необходимости вывода КЭ из эксплуатации.

Указанное решение принимается методом экспертной оценки технического состояния РЭ, количества дефектов, интенсивности отказов и выхода из строя составных частей, наличия и оснащенности ремонтной базы в эксплуатирующей организации, экономической целесообразности принимаемого решения и т.п.).

51. По окончании экспертизы ее заказчику (эксплуатирующей организации) передаются (направляются) подлинный экземпляр заключения с приобщенными к нему первыми экземплярами соответствующих актов и протоколов, подписанный руководителем экспертной организации, а также перечень выявленных в процессе экспертизы недостатков.

52. В соответствии с вышеуказанным перечнем эксплуатирующая организация разрабатывает план мероприятий по устранению недостатков, выявленных в процессе экспертизы КЭ (приложение N 14), который согласовывается с экспертной организацией и территориальным органом Службы.

План мероприятий выполняет эксплуатирующая организация или другая по ее поручению (заказу).

О выполнении плана руководитель эксплуатирующей организации обязан официально уведомить руководителя экспертной организации. Ведущий эксперт (группа экспертов) проверяет выполнение и при положительных результатах проверки в соответствующей графе своей росписью подтверждает выполнение.

53. После окончания экспертизы в формуляр (паспорт) экскаватора вносится запись о ее результатах (с указанием даты и номера соответствующего заключения), которую удостоверяет руководитель экспертной группы. При наличии дефектов экскаватора, выявленных при экспертизе, эта запись вносится после выполнения плана корректирующих мероприятий.

54. Утверждение экспертного заключения производится в порядке, установленным Правилами проведения экспертизы промышленной безопасности (ПБ 03-246-98).

55. Копия экспертного заключения с приобщенными к ней копиями актов и протоколов хранится в экспертной организации до вывода КЭ из эксплуатации.

VI. Требования безопасности при проведении экспертной группой практических работ в процессе экспертизы промышленной безопасности одноковшовых экскаваторов

56. Специалисты, проводящие экспертизу КЭ, должны пройти обучение и аттестацию по промышленной безопасности в соответствии с Положением об организации работы по подготовке и аттестации специалистов организаций, поднадзорных Федеральной службе по экологическому, технологическому и атомному надзору (РД-03-19-2007), утвержденным приказом Федеральной службы по экологическому, технологическому и атомному надзору Российской Федерации от 29.01.07 N 37, зарегистрированным Министерством юстиции Российской Федерации 22.03.07 г., регистрационный N 9133.

57. К проведению УК, ВИК, вибродиагностике допускаются специалисты, прошедшие аттестацию на право выполнения работ в соответствии с требованиями Правил аттестации персонала в области неразрушающего контроля (ПБ 03-440-02), утвержденных постановлением Госгортехнадзора России от 23.01.02 N 3.

58. Перед проведением практических работ, предусмотренных процедурой экспертизы, все члены экспертной группы обязаны получить от уполномоченного представителя эксплуатирующей организации инструктаж по мерам безопасности (в том числе по безопасной работе на высоте).

59. При проведении практических работ, предусмотренных процедурой экспертизы, все члены экспертной группы должны соблюдать общие требования безопасности технических устройств и частные требования промышленной безопасности эксплуатируемых объектов. Запрещается подниматься (входить) на экскаватор во время его вращения или передвижения (шагания), а также находиться в это время на гусеницах (лыжах) или платформе вне кузова.

Работы по обследованию металлоконструкций КЭ допускается проводить только после полной остановки машины, блокировки пусковых аппаратов, приводящих в движение механизмы, и при рабочем органе, опущенном на землю.

Во время обследования механического оборудования КЭ должен быть отключен во избежание пуска его от случайного прикосновения к кнопкам рукояток командоконтроллера и т.п. На ключах управления и других выключателях должны быть вывешены плакаты "Не включать - работают люди", на ограждениях высоковольтного оборудования - "Стой - высокое напряжение", на временных ограждениях электрооборудования - "Стой - опасно для жизни".

Разборку и сборку оборудования необходимо производить с использованием специального инструмента и приспособлений, грузоподъемных и транспортных средств в соответствии с правилами безопасности при работе с инструментами и приспособлениями. Снятые при разборке детали укладывают на специальные приспособления, обеспечивающие их устойчивое положение, удобство проведения работ и исключающие их падение. Должно быть обеспечено устойчивое положение дефектоскопического оборудования.

При выполнении работ на стреле необходимо пользоваться предохранительном поясом. При скорости ветра более 8 м/с работать запрещается.

При невозможности проверки в закрытых помещениях дефектоскопия деталей может производиться на открытом воздухе. При этом для того, чтобы не снижалась достоверность и надежность контроля, дефектоскопия деталей должна производиться в сухую безветренную погоду при температуре окружающего воздуха не ниже + 5°С. При проведении дефектоскопии на высоте обязательно использование предохранительных поясов и других средств, обеспечивающих безопасность работ и сохранность аппаратуры.

Для понижения напряжения не допускается использовать реостаты, добавочные резисторы и автотрансформаторы. Можно применять только понижающие трансформаторы, у которых вторичная обмотка не имеет электрической связи с сетевой. Корпус трансформатора и один конец вторичной обмотки заземляют.

60. Управлять движением оборудования КЭ в ходе обследования должны работники эксплуатирующей организации, назначенные администрацией. Присутствие посторонних лиц в зоне воздействия обследуемого оборудования не допускается.

61. Применяемые средства управления и связи, используемые при экспертизе, должны соответствовать требованиям отраслевых правил безопасности.

62. Все постоянные ограждения вращающихся частей, снятые при проведении обследования, должны устанавливаться на место по мере окончания работ.

63. При экспертном обследовании необходимо соблюдать режим труда и отдыха, особенно при работе с приборами УЗК. Параметры ультразвука, действующего на оператора во время работы, и уровень шума на рабочих местах не должны превышать величин, регламентированных соответствующими нормативными документами.

64. Руководитель эксплуатирующей организации назначает должностное лицо, ответственное за обеспечение безопасных условий труда экспертной группы.

65. Руководитель экспертной группы является ответственным за соблюдение членами этой группы установленных требований безопасности.

______________________________

* Здесь и далее под территориальным органом Службы следует иметь ввиду орган, на установленной территории деятельности которого находится эксплуатирующая организация.

** Объем экспертизы определен в Положении о проведении экспертизы промышленной безопасности в угольной промышленности (РД 05-432-02), Положении о проведении экспертизы промышленной безопасности в горнорудной промышленности (РД 06-318-99), Положении о проведении экспертизы промышленной безопасности опасных металлургических и коксохимических производственных объектов (РД 11-589-03).

Приложение N 1

Термины и их определения

Дефект - каждое отдельное несоответствие экскаватора, узла, элемента требованиям КД или НД.

Повреждение - событие, заключающееся в нарушении исправного состояния экскаватора при сохранении работоспособного состояния.

Отказ - событие, заключающееся в полной или частичной утрате экскаватором работоспособного состояния.

Полный отказ - отказ, до устранения которого использование экскаватора по назначению становится невозможно.

Частичный отказ - отказ, до устранения которого остается возможность частичного использования экскаватора по назначению.

Безотказность - свойство экскаватора непрерывно сохранять работоспособность в течение некоторого интервала времени.

Исправное состояние - состояние экскаватора, при котором он соответствует всем требованиям НД и КД, установленным как в отношении основных параметров, характеризующих нормальное выполнение заданных функций, так и в отношении второстепенных параметров, характеризующих удобство и безопасность его эксплуатации.

Неисправное состояние - состояние экскаватора, при котором он не соответствует хотя бы одному из требований НД или КД, характеризующих нормальное выполнение заданных функций.

Работоспособное состояние - состояние экскаватора, при котором он соответствует всем требованиям, установленным в отношении основных параметров, характеризующих нормальное выполнение заданных функций согласно требованиям НД и КД.

Неработоспособное состояние - состояние экскаватора, при котором значение хотя бы одного параметра, характеризующего способность выполнять заданные функции, не соответствует требованиям НД и КД.

Предельное состояние - состояние экскаватора (агрегата, узла, элемента), при котором его дальнейшая эксплуатация недопустима или нецелесообразна либо восстановление его работоспособного состояния невозможно или нецелесообразно.

Критерий предельного состояния - признак или совокупность признаков предельного состояния экскаватора (агрегата, узла, элемента), установленные НД и (или) КД.

Долговечность - свойство экскаватора сохранять работоспособность (с возможными перерывами для технического обслуживания и ремонта) до предельного состояния (разрушения) по условиям безопасности (эффективности).

Ремонтопригодность - свойство экскаватора, выражающееся в его приспособленности к проведению операций технического обслуживания и ремонта, то есть к предупреждению, обнаружению и устранению неисправностей и отказов.

Документация техническая - совокупность документов, используемых для организации и осуществления производства, испытаний, эксплуатации и ремонта продукции

Документация эксплуатационная - часть технической документации, используемая для организации и осуществления эксплуатации, ремонта и испытаний КЭ, которая поставляется заводом-изготовителем вместе с экскаватором, включающая паспорт, техническое описание и инструкцию (руководство) по эксплуатации, инструкцию по монтажу и т.п.

Ресурс - суммарная наработка экскаватора от начала его эксплуатации или возобновления его эксплуатации после ремонта до перехода в предельное состояние.

Срок службы нормативный - календарная продолжительность работоспособного периода эксплуатации экскаватора до достижения ресурса базовыми частями экскаватора, установленного КД или НД.

Эксперт - специалист, имеющий право проведения экспертизы промышленной безопасности.

Экспертное обследование - комплекс работ по техническому диагностированию, проводимых в целях получения информации о реальном техническом состоянии экскаватора, анализа и расчетов остаточного ресурса отдельных узлов, агрегатов и экскаватора в целом, выдачи заключения о возможности и условиях его дальнейшей безопасной и безаварийной эксплуатации на определенный период.

Эксплуатация - стадия жизненного цикла экскаватора до его списания, в течение которой реализуются, поддерживаются и восстанавливаются его качества и которая включает использование экскаватора по назначению, транспортирование, хранение, монтаж (демонтаж), техническое обслуживание и ремонт.

Снятие с эксплуатации - событие, фиксирующее невозможность или нецелесообразность дальнейшего использования экскаватора по назначению и его ремонта, документально оформленное в установленном порядке.

Техническое обслуживание - комплекс операций по поддержанию работоспособности экскаватора для обеспечения использования его по назначению.

Приложение N 2

Форма рабочей карты экспертного обследования экскаватора карьерного гусеничного

____________________________
тип экскаватора, зав. N

Условный номер, индекс

Наименование машины, узла, элемента, документа

Состояние (удовл. или неудовл.)

Дефект, место его расположения

01

Эксплуатационная документация на экскаватор

 

 

01-01

Паспорт

 

 

01-02

Руководство по эксплуатации

 

 

01-03

Силовая электрическая, гидравлическая, пневматическая схемы

 

 

01-04

Схемы управления, защиты, сигнализации и связи

 

 

01-05

Формуляр

 

 

02

Конструкция экскаватора

 

 

02-01

Ковш

 

 

02-02

Механизм торможения днища

 

 

02-03

Подвеска и упряжь ковша

 

 

02-04

Механизм открывания днища ковша

 

 

02-05

Рукоять

 

 

02-06

Стрела

 

 

02-07

Напорный механизм

 

 

02-08

Подвеска стрелы

 

 

02-09

Двуногая стойка

 

 

02-10

Лебедка подъемная

 

 

02-11

Поворотный механизм

 

 

02-12

Круг роликовый

 

 

02-13

Центральная цапфа

 

 

02-14

Нижняя рама

 

 

02-15

Гусеничный ход

 

 

02-16

Кабельный барабан

 

 

02-17

Пневматическая система

 

 

02-18

Система густой смазки

 

 

02-19

Гидравлическая система

 

 

02-20

Кузов

 

 

02-21

Кабина

 

 

02-22

Противовес

 

 

02-23

Электрооборудование

 

 

Приложение N 3

Форма рабочей карты экспертного обследования экскаватора типа драглайн

_________________________

тип экскаватора, зав. N

Условный номер, индекс

Наименование машины, составной части, элемента, документа

Состояние (удовл. или неудовл.)

Дефект, место его расположения

01

Эксплуатационная документация на экскаватор

 

 

01-01

Паспорт

 

 

01-02

Руководство по эксплуатации

 

 

01-03

Силовая электрическая, гидравлическая, пневматическая схемы

 

 

01-04

Схемы управления, защиты, сигнализации и связи

 

 

01-05

Формуляр

 

 

02

Конструкция экскаватора

 

 

02-01

Ковш с упряжью

 

 

02-02

База опорная

 

 

02-03

Цапфа центральная

 

 

02-04

Роликовый круг

 

 

02-05

Поворотная платформа

 

 

02-06

Блоки наводки

 

 

02-07

Механизм вращения

 

 

02-08

Лебедка подъемная

 

 

02-09

Лебедка тяговая

 

 

02-10

Механизм шагания

 

 

02-11

Надстройка

 

 

02-12

Блоки тяговых канатов

 

 

02-13

Блоки подъемных канатов

 

 

02-14

Стрела

 

 

02-15

Установка предохранительных роликов

 

 

02-16

Блоки поддерживающие

 

 

02-17

Следящие блоки

 

 

02-18

Подвеска стрелы

 

 

02-19

Лебедка подъема стрелы

 

 

02-20

Пневматическая система

 

 

02-21

Системы жидкой смазки редукторов

 

 

02-22

Система густой смазки

 

 

02-23

Кузов

 

 

02-24

Электрооборудование

 

 

Приложение N 4

Средства измерений (СИ) и инструменты, требующиеся для экспертного обследования экскаваторов

Тип прибора, инструмента

Марка

ГОСТ, ТУ

Диапазон измерений

Погрешность

Изготовитель

Средства измерений

1. Угломер с нониусом

УН мод. 127

ГОСТ 5378

0 - 180°

± 2 мм

г. Москва,

 

2 УМ

 

 

± 2 мм

з-д "Калибр"

 

5 УМ

 

 

± 3 мм

 

 

4 УМ

 

 

± 15 мм

 

2. Штангенциркуль двусторонний с глубиномером

ШЦ-1-125-01

ГОСТ 166

0 - 125 мм

± 0,1 мм

г. Москва, з-д "Калибр"

3. Штангенциркуль двусторонний с микрометрической подачей

ШЦ-П-160

ГОСТ 166

0-160 мм

± 0,07 мм

Ленинградское инструментальное ПО

 

ШЦ-П-200-01

 

0-200 мм

± 0,08 мм

 

 

ШЦ-П-250-0,1

 

0-250 мм

± 0,1 мм

 

4. Линейка измерительная металлическая

 

ГОСТ 427

0 - 150 мм

± 0,1 мм

Ленинградское инструментальное ПО

 

 

 

0-300 мм

± 0,1 мм

 

 

 

 

0 - 500 мм

± 0,15 мм

 

 

 

 

0 - 1000 мм

± 0,2 мм

 

5. Рулетка в закрытом корпусе самосвертывающаяся

ЗПКЗ-1АНТ/1

ГОСТ 7502

0 - 1000 мм

± 2 мм

ПО "Метиз"

 

ЗПКЗ-2АНТ/1

 

0 - 2000 мм

± 2 мм

 

6. Толщиномер индикаторный

ТР 10-60

ГОСТ 11358

0 - 10 мм

± 0,018 мм

з-д "Красный инструментальщик"

 

ТР 25-60

 

0 - 25 мм

± 0,03 мм

 

 

ТР 50-250

 

0 - 50 мм

± 0,015 мм

 

7. Микрометр

МК50-1

ГОСТ 6507

25-50 мм

± 0,002 мм

"Красный инструментальщик"

 

МК75-1

 

50 - 75 мм

± 0,0025 мм

 

 

МК 100-1

 

75 - 100 мм

± 0,0025 мм

 

 

МК 125-1

 

100 - 125 мм

± 0,003 мм

 

 

МК 150-1

 

125 - 150 мм

± 0,003 мм

 

 

МК175-1

 

150 - 175 мм

± 0,003 мм

 

 

МК 200-1

 

175 - 200 мм

± 0,003 мм

 

8. Щуп

N 1

 

0,02 - 0,1 мм

 

Ленинградское

 

N 2

 

0,02 - 0,5 мм

 

инструментальное ПО

 

N 3

 

0,055 - 1,0 мм

 

 

 

N 4

 

0,1 - 1,0 мм

 

 

9. Набор радиусных шаблонов

РШ-1

 

0 - 25 мм

 

Ленинградское инструментальное ПО

 

РШ-2

 

 

 

 

 

РШ-3

 

 

 

 

10. Набор резьбовых шаблонов

М60°

 

Шаг резьбы, 0,4

 

Ленинградское инструментальное ПО

 

М55°

 

- 6,0 мм

 

 

11, Лупа складная карманная

ЛАЗ-6(Х)

ГОСТ 25706

Увеличение 6 кратное

 

 

12. Лупа измерительная

ЛИ-4-10х

ГОСТ 25706

Увеличение 10 кратное

 

 

13. Толщиномер ультразвуковой

УТ-93П

ШЮ 2.727.011

0,6 - 1000 мм

± 0,1 мм

 

14. Глубиномер микрометрический

ГМ

 

0 - 25 мм

0,01 мм

з-д "Красный инструментальщик"

15. Квадрант оптический

КО-1

МРТУ 3-75-63

± 120°

± 51

Новосибирский приборостроительный завод

16. Микроскоп отсчетный

МПБ-2

 

24-кратное увеличение

± 0,01 мм

 

17. Тахометр

ТЧ10-Р

ГОСТ 21339-82

10 000 об/мин

1-йкл

Чистопольский з-д

 

ИО-11

 

30 об/мин

1-йкл

 

 

2ТЭЗ0

 

30000 об/мин

1-йкл

 

18. Термометр

ТИ2000

ТУ 25-7514146-33

-50 ± 150°С

± 1,5°С

г. Омск, з-д "Электроточприбор"

19. Манометр

МО

ГОСТ 2405-88

40 МПа

0,4

 

 

 

 

60 МПа

0,4

 

2 0. Люфтометр

КИ4813

 

 

 

г. Москва, ГОСНИТИ

21. Угольник

 

ГОСТ 3749-77

Высота 160 -250 мм

 

 

22. Шумомер-виброметр

ВШВ.003

ГОСТ 17187-81

140 дБ

1 кл

 

23. Виброанализатор

Топаз

 

40 кГц

5%

г. Москва, з-д "Диамех"

 

Кварц

 

 

 

 

 

AU014

 

 

 

 

24. Дефектоскоп ультразвуковой

УД2-12

 

5 м

± 0,3 Н´2 мм

г. Кишинев, "Электроточприбор"

25. Мегаомметр

М 1.1021

 

2500 В

 

г. Умань,

(контроль сопротивления изоляции)

М 4100/5

 

1000 МОм

± 1%

з-д "Мегомметр"

26. Мегаомметр

М 1103

 

 

 

Кемерово, Экспериментальный завод средств безопасности

(контроль сопротивления заземления)

М 416

 

 

 

 

 

М 416/1

 

 

 

 

 

М 4124

 

10 Ом

2,5%

 

 

ИСЗ-1

 

0-50 Ом

± 4%

 

2 7. Манометры показывающие

ОБМГН-160

 

0-40 МПа

 

г. Москва, з-д "Манометр"

 

 

 

0-60 МПа

 

 

2 8. Индикатор часового типа

ИЧ10МН

ГОСТ 577-68

0 - 10 мм

± 0,01 мм

 

29. Часы

наручные

 

 

 

 

30. Секундомер

Агат

ТУ 25-1219.0021-90

60 с

2-й кл

 

Инструменты

1. Ключи гаечные двусторонние

 

ГОСТ 2839-80

Зев 3,2´4-75´80

 

 

2. Ключи торцовые

 

ГОСТ 11737-75

Размер под ключ 2,5´3 6 мм

 

 

3. Ключи гаечные разводные

 

ГОСТ 7275-75

Зев 12 - 46 мм

 

 

4. Молоток слесарный

 

ГОСТ 2310-77

Масса 0,2 -0,4 кг

 

 

5. Плоскогубцы комбинированные и простые

 

ГОСТ 5247-75

Ширина губок 8 -12 мм

 

 

6. Отвертки слесарно-монтажные

 

ГОСТ 17199-71

Комплект

 

 

7. Зубила слесарные

 

ГОСТ 7211-72

Ширина резца 5 -20 мм

 

 

8. Напильники слесарные

 

ГОСТ 1465-80

Комплект

 

 

9. Дрель ручная

2Др-00

 

диам. до 8 мм

 

 

Приложение N 5

Критерии предельных состояний составных частей и агрегатов

Составная часть, сборочная единица

Наименование изделия (составной части)

Критерии предельного состояния (КПС)

Метод диагностирования

Качественный признак

Количественный признак

1. Металлические конструкции

Соединения заклепочные

Трещины заклепок

Не допускаются

Визуальный

 

 

Ослабление заклепок

На опорных рамах более 8% общего числа; на остальных металлоконструкциях более 18% Прохождение щупа под головку на глубину более 3 мм

Инструментальный - простукивание молотком массой 0,2 - 0,4 кг. Глухой дребезжащий звук при ударе; с помощью щупа толщиной 0,2 ми

Соединения сварные

Непровар, шлаковые включения, поры, раковины, свищи, кратеры, подрезы, наплывы

Отклонение количественных характеристик шва (катет, длина) от проектных

ВИК (лупа с 6 -8-кратным увеличением, металлическая линейка, штангенциркуль)

 

 

Наличие трещин

Не допускается

ВИК (лупа с 6 - 8-

 

 

Наличие усталостных трещин, внутренних дефектов

Не допускается

кратный увеличением, металлическая линейка), ПВК

Соединения резьбовые (болты, гайки, шпильки)

Отсутствие болта, гайки, шпильки

Не допускается

 

 

 

Отсутствие контргайки, шплинта (где предусмотрено конструкцией)

Не допускается

 

Износ:

Более двух витков

Визуальный

 

 

- резьбы в резьбовых отверстиях деталей;

Более двух витков

Визуальный

 

 

- посадочного отверстия под придонный болт

Более 20% длины резьбовой части

 

 

 

Износ резьбы

Более двух витков

Визуальный

 

 

Срыв резьбы

Не допускается

 

 

 

Снятие граней болтов, гаек

Более 0,25 мм на 150 мм длины стержня

 

 

 

Деформация стержня болта, шпильки

Не допускается

Визуальный

 

 

Износ, смятие шлицев корончатых и круглых гаек

 

Измерительный

 

 

 

 

Визуальный

 

 

 

 

Визуальный

 

 

 

 

Измерительный

 

 

 

 

Визуальный

2. Ковш

Стенка передняя

Износ

Более 50% толщины (в зоне крепления зубьев – более 35%)

Штангенциркуль

 

 

Износ пяты

Более 10 мм на сторону

Металлическая линейка

 

 

Трещины

Длина более 80 – 100 мм в зависимости от места расположения

 

 

Засов днища

Ход засова

Менее 60 мм

ВИК, ПВК, МК

 

 

Перекрытие в передней стенке

Менее 30 мм

 

 

Стенка задняя

Износ отверстий под втулки в проушинах

Не допускается

Линейка, рулетка

 

Днище

Трещины

Длина более 100 - 400 мм в зависимости от места расположения

Штангенциркуль

 

 

 

 

ВИК, ПВК, МК

 

 

Износ по толщине:

 

 

 

 

- отверстий проушин;

Более 30%

Толщинометрия.

 

 

- направляющей

Более 10% диаметра отверстий

Измерительный

 

 

засова;

 

(штангенциркуль, металлическая линейка.

 

 

- отверстий засова и рычага

Более 11% толщины направляющей

рулетка)

 

 

 

Более 5% диаметра отверстий

 

 

Ось, втулка

 

 

 

 

 

Износ

Зазор в пазе "ось-втулка" более 1,6

 

 

Валик палец

 

мм

 

 

 

Износ

Более 0,8 мм

 

 

 

Трещины:

 

Измерительный (штангенциркуль)

 

 

- вне зоны проушин;

Более одной длиной до 200 мм

Измерительный (штангенциркуль)

 

 

- направляющей засова;

Более одной

ВИК, УК, ПВК

 

 

- петли днища

Более одной

 

3. Механизм торможения днища

Рычаг

Деформация

Более 5 мм

Рулетка, штангенциркуль

 

Втулка

Износ

Более 0,75 мм

Штангенциркуль

 

Пружина

Деформация

По высоте в свободном состоянии менее размера 135 мм (для ЭКГ-4,6, ЭКГ-8И)

Рулетка

 

Тормозной сектор

Износ по толщине

Более 6 мм

Рулетка

4. Подвеска и упряжь ковша

Коромысло

Трещины

Не допускается

ВИК, ПВК

 

 

Износ отверстий

Более 0,0 5% диаметра

Измерительный

 

Втулка

Износ отверстий

Зазор в паре "втулка - ось" более 1, 6 мм

Измерительный

 

Обойма подвески

Трещины

Более одной длиной более 50 мм (не проходящие через посадочные отверстия)

ВИК, УК, ПВК

 

 

Износ отверстий

Более 0,01% диаметра

Измерительный

 

Ролик

Износ профиля

Более 0,4 толщины стенки ролика

Рулетка

5. Механизм открывания днища ковша

Блок

Износ ручья блока

Более 0,4 исходной толщины стенки в средней части ручья при наружном диаметре блока более 1400 мм; более 9 мм - при диаметре менее 1400 мм

Измерительный (рулетка)

 

 

Трещины спиц

Более одной на спице

Визуальный

 

Втулка обоймы

Износ отверстия

Более 3,5 мм для отверстий диаметром 70 ... 150 мм; более 5 ми для отверстий диаметром более 150 ми

Штангенциркуль

 

Рычаг

Изгиб

Более 5 мм

Штангенциркуль

 

 

Износ отверстия

Более чем на два квалитета

Рулетка

6. Рукоять

Балка

Трещины балки

Более двух длиной до 50 мм

ВИК, УК, ПВК

 

 

Трещины сварных швов

Более трех длиной до 50 мм

ВИК, УК, ПВК

 

 

Трещины плиты

Более одной длиной до 20 мм

ВИК, УК, ПВК

 

 

Трещины головной отливки

Более двух длиной до 25 мм

ВИК, УК, ПВК

 

 

Трещины проушин головной отливки

Более одной на проушине длиной до 15 мм

ВИК, УК, ПВК

 

Кронштейн

Износ отверстия

Более чем на два квалитета

ВИК

 

 

Трещины

Не допускаются

ВИК, УК, ПВК

 

Полублок передний

Трещины

Не допускаются

ВИК, УК, ПВК

 

Полублок задний

Трещины

Не допускаются

ВИК, УК, ПВК

 

 

Трещины корпуса

Более двух длиной до 100 мм, не проходящих через основание корпуса

ВИК, УК, ПВК

 

 

Износ наружной поверхности

Более 12% первоначальной толщины

Измерительный (рулетка, штангенциркуль)

 

 

Износ отверстия

Более 0,0 5% диаметра

ВИК (штангенциркуль)

 

 

Износ ручья по луб ло ко в

Более 5 мм для стенок; более 10 мм - для дна

ВИК (штангенциркуль, рулетка)

7. Стрела

Секция

Отклонение от проектного положения.

 

ВИК (натянутая нить, рулетка)

 

 

Непрямолинейность оси стрелы (секции стрелы), мм

Отклонение более L/500, мм (где L-длина стрелы секции, мм)

 

 

 

Непрямолинейность оси отдельной секции (в 2 плоскостях), мм;

Отклонение более М/800, мм (где М - длина секции, мм)

 

 

 

Трещины сварных швов

Длина более 100 мм

ВИК, УК, ПВК

 

 

Трещины вертикального пояса и горизонтальных листов

Более двух длиной до 50 мм при расстоянии между трещинами не менее 1 м

ВИК, УК, ПВК

 

 

Зазоры в соединении нижней секции с верхней

Не допускаются

Измерительный (рулетка, штангенциркуль)

 

 

Зазоры между пятой стрелы и кронштейнам и поворотной платформы

Не допускаются

Измерительный (рулетка, штангенциркуль)

 

 

Отсутствие штифтов на пальцах крепления секций

Не допускается

Визуальный

 

 

Зазор между рукоятью и вкладышами

Более 8 мм

Измерительный (рулетка, штангенциркуль)

 

 

Ограждения лестниц и площадок

Отсутствие, ненадежность крепления

Визуальный

 

Серьга

Трещины

Не допускаются

ВИК, УК

 

 

Износ отверстий и осей

Износ, мм, отверстия DО и шейки оси DШ в зависимости от номинального диаметра отверстия Db. мм

Измерительный (штангенциркуль)

 

 

 

dB

DО

DШ

 

 

 

 

70 - 90

2,3

1,6

 

 

 

 

90 - 130

2,8

1,8

 

 

 

 

130 - 160

3,2

2,3

 

 

 

 

160 - 200

3,6

2,7

 

 

Двухручьевой блок

Трещины

Не допускаются

Измерительный

 

 

Износ поверхности ручья

Более 6 мм по всему профилю

(рулетка, штангенциркуль)

 

 

Трещины трубы

Длина более 100 мм

ВИК, УК, ПВК

8. Напорный

Корпус редуктора

Нагрев

Более 70°С

ВИК (устройство

механизм

 

 

 

контроля температуры, термометры, термопары, терморезисторы)

 

 

Трещины

Не допускаются

ВИК, МК

 

Зубчатая передача

Трещины и сколы на торцах зубьев

Наличие сколов кромок более чем у 10% зубьев

ВИК

 

 

Повреждения шлицевых и шпоночных соединений

Не допускаются

ВИК, УК

 

 

Трещины во впадинах зубьев

Не допускаются

ВИК

 

 

Излом зубьев

Не допускается

ВИК, МК

 

Подшипник седловой

Износ втулок

Более половины глубины смазочных канавок

Визуальный

 

Тормозные шкивы

Трещины

Не допускаются

ВИК

 

Тормозные накладки

Износ

Более 60% толщины

ВИК (лупа с 6-8-кратным увеличением,

 

 

Надрывы, расслоения, выкрашивания

Не допускаются

металлическая линейка, штангенциркуль)

 

 

Площадь прилегания к шкиву

Менее 60%

 

 

 

Отход колодок от шкива

Более 2 - 2,5 мм

 

 

Тормозные пружины

Сжатие

На размер 204 мм

ВИК (рулетка)

 

 

Функционирование

Неудержание ковша при вертикальном положении рукояти

Испытание

 

Муфты

Износ кулачков

Более 8 мм

ВИК (лупа с 6 -8-кратным увеличением, металлическая линейка, штангенциркуль)

 

 

Износ отверстий под пальцы, амортизаторы и резиновые втулки

Более 0,5 мм

 

9. Подвеска стрелы

Тяга, серьги, коуш, обойма

Трещины

Не допускаются

ВИК

 

Блоки

Износ ручья

Более 4 мм

ВИК

 

 

Износ посадочных отверстий

 

 

 

 

Трещины

Не допускаются

 

 

Клиновые втулки

Трещины

Не допускаются

ВИК

 

Растяжки

Разность длин

Более 50 мм

Измерительный

 

Коромысло, подкосы

Трещины

Не допускаются

ВИК, МК, ПВК

10. Двуногая стойка

Соединение с поворотной платформой

Трещины основного металла и сварных соединений

Не допускаются

ВИК, МК, ПВК

 

Соединение между пальцем и втулкой

Зазор

Более 30% начального

Измерительный

11. Лебедка подъемная

Функционирование

Неудержание груженого ковша при полном вылете рукояти при ее горизонтальном положении

Не допускается

Испытание

 

Шкив тормозной

Трещины

Не допускаются

ВИК

 

Накладка

Износ

Более 20% по толщине

Штангенциркуль

 

 

Отход тормозных колодок от шкива

Более 1 мм

 

 

Барабан

Трещины:

 

 

 

 

- вне ступицы

Более двух длиной до 20 мм

ВИК, УК, ПВК

 

 

- на ступице

Не допускаются

 

 

Тормозная пружина

Сжатие

На размер 204 мм

Измерительный

 

 

Заострение кромок рабочей поверхности

Не допускается

Визуальный

 

Муфта

Износ и выкрашивание упругих элементов

Не допускаются

Визуальный

 

 

Остаточная деформация пружины

Более 10% длины пружины

Измерительный (рулетка)

 

Цапфа

Износ

Зазор более 10% длины пружины

Измерительный

12. Поворотный механизм

Корпус редуктора

Нагрев

Более 70°С

ВИК (устройство контроля температуры, термометры, термопары, терморезисторы)

 

 

Трещины

Не допускаются

ВИК

 

Зубчатая передача

Трещины

Не допускаются

ВИК

 

 

Сколы на торцах зубьев

Наличие сколов кромок более чем у 10% зубьев

 

 

 

Повреждения шлицевых и шпоночных соединений

Не допускаются

ВИК, МК

 

 

Трещины во впадинах зубьев

Не допускаются

 

 

 

Излом зубьев

Не допускается

 

 

Подшипник седловой

Износ втулок

Более половины глубины смазочных канавок

ВИК

 

Тормозные шкивы

Трещины

Не допускаются

ВИК

 

Тормозные накладки

Износ

Более 60% толщины

ВИК

 

 

Надрывы, расслоения, выкрашивания

Не допускаются

ВИК

 

 

Площадь прилегания к шкиву

Менее 60%

ВИК

 

 

Отход колодок от шкива

Более 2-2,5 мм

ВИК

 

Тормозные пружины

Сжатие

На размер 204 мм

Измерительный

 

 

Функционирование

Неудержание ковша при вертикальном положении рукояти

Испытание

 

Муфты

Износ кулачков

Более 8 мм

ВИК

 

 

Износ отверстий под пальцы, амортизаторы и резиновые втулки

Более 0,5 мм

 

 

Вертикальные и горизонтальные листы балок

Трещины

Не допускаются

ВИК

 

Лючок для замены опорно-поворотных катков

Наличие

Отсутствие

Визуальный

 

Тормоз

Отход колодок от шкива

Более 1 мм

ВИК

 

 

Прилегание колодок

Менее 60%

ВИК

 

 

Функционирование

Неостановка поворотной платформы

Визуально при повороте на 90 в обе стороны

 

Главный вал

Трещины зубьев и впадин

Не допускаются

УК, МК

 

Зубчатый венец и вал-шестерня

Трещины

Не допускаются

УК, МК

13. Круг

Рельс

Износ по головке

Более 6 мм (ЭКГ5)

ВИК

роликовый

 

 

Более 8 мм (ЭКГ8)

 

 

 

Трещины

Не допускаются

 

 

 

Выкрашивание

Глубина более 0,8 мм

 

 

 

Раскат головок

Более 3 мм

 

 

Ролик

Биение

Более 0,25 мм

ВИК

 

 

Разность диаметров

Более 0,12 (ЭКГ5)

 

 

 

 

Более 0,45 мм (ЭКГ8)

 

 

 

Выкрашивание

Глубина более 0,45 мм и более 10% площади

 

14. Центральная цапфа

Цапфа и гайка

Трещины

Не допускаются

ВИК

 

Задние ролики и верхний рельс

Зазор

Менее 1 мм Более 4 мм

Измерительный при стопорении ковша в забое

 

Центральная цапфа и втулка нижней рамы

Зазор

Более 2,5 мм (ЭКГ5)

ВИК

 

 

 

Менее 4 мм, более 8 мм (ЭКГ8)

 

 

Сферическая шайба

Износ

Толщина менее 15 мм

ВИК

15. Нижняя рама

 

Трещины

Не допускаются

ВИК, УК

16. Гусеничный ход

Корпус редуктора

Негерметичность

Не допускается

Визуальный

 

Зубчатые передачи

Боковой зазор в конической паре

Менее 0,25 мм, более 0,54 мм

ВИК

 

Тормоз

Ход якоря электромагнита

Менее 2,5 мм, более 5,0 мм

ВИК

 

 

Отход колодок от шкива

Неравномерный, менее 0,7 мм, более 1,0 мм

ВИК

 

 

Функционирование

Неудержание экскаватора на уклоне

Испытания

 

Кожухи и ограждения

Наличие и исправность

Отсутствие, повреждения

Визуальный

 

Гусеничные ленты

Провис

Более 20 мм

ВИК

 

Гусеничные рамы

Трещины

Не допускаются

ВИК

 

Ведущие колеса

Износ боковых граней

Более 6-8 мм

ВИК

 

 

Трещины, сколы

Не допускаются

 

 

Натяжные колеса

Поверхности катания

Сколы до 10 мм

ВИК

 

 

 

Не допускаются

 

 

 

Трещины обода

Уменьшение диаметра более 22 мм.

 

 

 

Раскат обода

раскат обода более 4 мм

 

 

Крышка нижнего люка, закрывающая доступ к высоковольтному токоприемнику

Наличие

Отсутствие

Визуальный

17. Кабельный барабан

 

Деформация кожуха токоприемника

Не допускается

ВИК

18. Пневматичеекая система

Предохранительный клапан

Давление настройки

Более 0,75 МПа

Измерительный (манометр)

 

Пневмосистема

Герметичность

Включение компрессора ранее чем через 25 - 30 мин (снижение давления от 0,7 до 0,5 МПа)

Визуальный

 

Воздухосборник

Конденсат

Не допускается

УК, гидравлические

 

 

Трещины

Не допускаются

испытания

 

Маслоотделитель

Конденсат

Не допускается

Визуальный

 

Манометр

Нарушение показаний

Не допускается

ВИК

19. Система густой смазки

Реле давления

Регулировка

Более 15 МПа

Измерительный (манометр)

20. Гидравлическая система

Гидропривод в целом

Нестабильность частоты вращения вала насоса, температуры рабочей жидкости и режима нагружения

Не допускаются

Измерительный (секундомер, тахометр, термометр)

 

Гидропривод в целом, насос, гидрораспределитель, гидроцилиндр, гидромотор

Снижение объемного КПД (наличие утечек рабочей жидкости), см3

В соответствии с эксплуатационной документацией

Измерительный (секундомер и мерный сосуд или осциллографическая аппаратура)

 

Манометр

Зазоры (степень износа) в трущихся сопряжениях

 

Измерительный

 

Манометр

Отсутствие пломбы, клейма

Не допускается

Визуальный

 

Гидроцилиндры

Утечки масла

Не допускаются

Визуальный

 

 

Функционирование

Выдвижение не на всю длину, рывками, с заеданиями

Испытание

21. Кузов

 

Жесткость конструкции

По конструкторской документации

ВИК

 

Ограждения на крыше

Отсутствие, нарушение крепления

Не допускается

Визуальный

 

Листы обшивки

Вмятины, коробление

Более двух глубиной более 20 мм на площади 2м2

ВИК

 

Площадки, поручни, лестницы

Деформация

Более 15 мм на 1000 мм длины

ВИК

22. Кабина

Оборудование кабины

Отсутствие предусмотренных конструкцией органов управления, средств отображения информации

Не допускается

Визуальный

 

Окна

Отсутствие

Не допускается

Визуальный

 

Листы обшивки

Вмятины, коробление

Более двух глубиной более 20 мм на площади 2 м2

ВИК

22. Противовес

 

Уравновешенность поворотной части экскаватора

Отрыв заднего рельса от роликов

Визуальный при груженом ковше и полном вылете

23. Электрооборудование

Электрическое сопротивление изоляции обмоток статора, ротора, электропроводки

 

Менее 0,5 МОм

 

 

 

Нарушение состояния заземления

Не допускается

Измерительный (мегомметр

 

 

Величина переходного сопротивления

Более 4 Ом

М1102/1, омметр М4125/1)

 

 

 

 

Визуальный

 

 

 

 

Измерительный (приборы ИСЗ-1, МС-07, МС-08 в нормальном исполнении)

 

 

Отклонения напряжения питания электрооборудования в сетях с напряжением:

Более 10%

Измерительный (вольтметры в нормальном или искробезопасном исполнении в

 

 

- до 1 кВ

 

зависимости от

 

 

- 6 - 10 кВ

 

верхнего предела измерений прибора)

 

Электродвигатели, преобразовательный агрегат

Видимые повреждения обмоток

Не допускаются

 

 

 

Частота вращения вала

Для электродвигателей типа ЭДКОФ превышение скольжения более 1,8 + 0,3%

 

 

 

Температура активных частей

Более 65° - для изоляции класса А;

Визуальный

 

 

 

Более 80° - для изоляции класса Е;

 

 

 

 

Более 90° - для изоляции класса В;

 

 

 

 

Более 110° - для изоляции класса Г;

Измерительный

 

 

 

Более 135° - для изоляции класса Н.

 

 

 

 

Вибрация более предельных значений (приложение N 9)

Измерительный

 

 

Дисбаланс, расцентровка,

Не допускаются

 

 

 

неудовлетворительное состояние подшипниковых опор Трещины, деформация элементов вентилятора

Не допускаются

Вибродиагностика, ВИК

 

 

Температура корпусов подшипников

Более 65°

ВИК

 

 

Отсутствие и неисправность

 

Визуальный

 

 

крепления защитных кожухов

 

Измерительный

 

Осветительные установки

Загрязнение, выход из строя

Освещенность по всей высоте забоя и по всей высоте разгрузки менее 10 лк, горизонтальная на почве - менее 5 лк

Визуальный

 

Система управления главных приводов

Электрическое торможение привода подъема и напора в нулевом положении командоконтроллера

Неработоспособность при заполненном ковше и вытянутой рукояти

Визуальный

 

 

Зашиты от обрыва поля электродвигателей

Неработоспособность

Визуальный

 

 

Схема управления, сигнализации и блокировки:

Неработоспособность

Визуальный

 

 

- сигнализация между машинистом и помощником

Неработоспособность

Визуальный

 

 

- блокировка поворота и хода от положения лестницы

Неработоспособность

Визуальный

 

 

- концевые выключатели переподъема ковша и ограничения хода рукояти и входной двери

 

 

Нумерация пунктов в таблице приводится в соответствии с источником

Приложение N 6

Критерии предельных состояний составных частей и агрегатов экскаваторов типа драглайн

Составная часть, сборочная единица

Наименование изделия (составной части)

Критерии предельного состояния (КПС)

Метод диагностирования

Качественный признак

Количественный признак

1. Ковш с упряжью

Зубья

Отсутствие, качание

Не допускаются

 

Козырек

Износ

Более 50% первоначальной толщины

ВИК

Задняя стенка

Износ

Более 13 мм

ВИК

Нижние пластины днища

Износ

Более 50% первоначальной толщины

ВИК

Пальцы, оси

Износ

Более 8% начального диаметра

ВИК

Траверсы, тяговые и подъемные проушины, распорки

Износ втулок

Более 40% первоначальной толщины

ВИК

 

 

Трещины

Не допускаются

 

Разгрузочный блок

Трещины обоймы

Не допускаются

ВИК

 

 

Износ поверхности ручья

Более 5 мм

 

2. База опорная

Металлоконструкция круговой балки

Трещины

Не допускаются

ВИК, ПВК

Кольцевой пояс рамы под захваты

Зазор

Более ± 4 мм

ВИК

3. Цапфа центральная

Подшипник

Зазор

Более 2,4 мм

ВИК

4. Роликовый круг

Рельсы

Трещины

Не допускаются

ВИК

 

 

Выкрашивание

Глубина более 0,5 мм

 

 

 

Износ головки

Более 98 мм

 

 

 

Раскат головки

Более 72 мм

 

 

Ролики

Диаметр

Менее 195 мм

ВИК

 

 

Разность диаметров

Более 0,3 мм

 

5. Поворотная платформа

Соединения раскосов и кронштейна передней колонны надстройки с подпятником стрелы

Трещины сварных соединений

Не допускаются

ВИК

 

Металлоконструкция

Трещины

Не допускаются

ВИК, ПВК

6. Блоки наводки

Блоки

Трещины

Не допускаются

ВИК, ПВК

 

 

Износ стенок ручья

Более 5 мм

 

 

Амортизаторы

Износ дна ручья

Более 10 мм

 

 

 

Разрывы и расслоения

Не допускаются

 

 

Защитные секторы кожуха наводки

Износ

Более 50%

 

7. Механизм вращения

Тормоза

Функционирование

Остановка поворотной платформы от максимальной скорости должна происходить при угле поворота 60 - 90° после отключения двигателей

ВИК Испытание

 

Колодки

Прилегание

Менее 80%

ВИК

 

 

Зазор со шкивом

Более 1-2 мм для обеих колодок

 

 

 

Износ

Более 2 мм

 

 

Редуктор

Износ зубчатых соединений, подшипниковых опор

Уровень вибрации (приложение N 8)

ВД

 

Зубчатый венец

Трещины

Не допускаются

УК

 

Бал шестерни

Трещины

Не допускаются

УК

8. Лебедка подъемная

Редуктор

Утечки масла через уплотнения валов, крышек, подшипников, линии разъема редуктора

Не допускаются

Визуальный

 

 

Износ зубчатых соединений, подшипниковых опор

Уровень вибрации (приложение N 8)

ВД

 

Тормоз

Функционирование

Неудержание груженого ковша в какой-либо точке траектории

Испытание

 

 

Давление растормаживания

Менее 55 кгс/см2

Измерительный

 

 

Прилегание колодок

Менее 80% по длине и 60% по ширине

Измерительный

 

 

Зазор колодок со шкивом

Отклонения от размера 1-2 мм и неодинаковость для обеих колодок

ВИК

 

 

Износ накладок

Более 2 мм

Измерительный

9. Лебедка тяговая

Редуктор

Утечки масла через уплотнения валов, крышек, подшипников, линии разъема редуктора

Не допускаются

Визуальный

 

 

Износ

Уровень вибрации (приложение N 8)

ВД

 

Тормоз

Функционирование

Неудержание груженого ковша в какой-либо точке траектории

Испытание

 

 

Давление растормаживания

Менее 55 кгс/см2

Измерительный

 

 

Прилегание колодок

Менее 80% по длине и 60% по ширине

Измерительный

 

 

Зазор колодок со шкивом

Отклонение от размера 1-2 мм и неодинаковость для обеих колодок

Измерительный

 

 

Износ накладок

Более 2 мм

Измерительный

10. Механизм шагания

Редуктор

Износ зубчатых соединений и подшипниковых опор

 

ВИК

 

Кулачковая муфта

Зазор между сухарями и кулачками полумуфты Износ сухарей

Более 1,5 мм

ВИК

 

Тормоз

Функционирование

Удержание в любой точке траектории шагания

Испытание

 

 

Давление растормаживания

5,5 кгс/см2

Измерительный

 

 

Прилегание колодок

Менее 80% по длине и менее 60% по ширине

Измерительный

 

 

Износ колодок

Более 2 мм

Измерительный

 

Подшипники скольжения

Зазор между валом и вкладышем

Более 1,2 мм

ВИК

 

Сферический подшипник

Трещины корпуса и крышки

Не допускаются

ВИК

 

Лыжи

Трещины

Не допускаются

Визуальный

 

 

Деформации

Более 40 мм

ВИК

 

Механизм возврата лыж

Трещины кронштейнов

Не допускаются

Визуальный

 

 

Деформация рычагов и штоков

Не допускаются

Визуальный

 

Шаровая опора

Разрывы защитного кожуха

Не допускаются

Визуальный

 

 

Зазор в сопряжении вкладыш - шаровая опора

Более 1,5 мм

ВИК

 

 

Износ сферы

Остаточный размер 0 490 мм

Измерительный

11. Надстройка

Шарнирные соединения оттяжек, раскосов, передней колонны

Радиальный зазор

Превышение допуска на изготовление

ВИК

 

Соединения горизонтальной фермы с передней колонной и поперечной рамой

Трещины

Не допускаются

УК

12. Блоки тяговых

Блоки

Трещины

Не допускаются

ВИК

канатов

 

Износ стенок ручья

Более 6 мм

 

 

 

Износ дна ручья

Более 10 мм

 

 

Подшипники

Ослабление посадки, трещины, выкрашивание

Не допускаются

ВИК

13. Блоки подъемных

Блоки

Трещины

Не допускаются

ВИК

канатов

 

Износ стенок ручья

Более 6 мм

 

 

 

Износ дна ручья

Более 10 мм

 

 

Подшипники

Ослабление посадки, трещины, выкрашивание

Не допускаются

ВИК

14. Стрела

Ограждения, переходы, лестницы

Отсутствие, ослабление крепления

Не допускаются

Визуальный

 

Нижний пояс, верхний пояс, раскосы и

Трещины

Не допускаются

УК

 

стойки

Прогибы

Не допускаются

ВИК

 

Проушины, серьги.

Трещины

Не допускаются

ВИК

 

траверсы передней подвески

Износ

В пределах допуска на изготовление

 

 

Блоки

Износ поверхности ручья

Более 5 мм

ВИК

 

 

Износ боковых стенок

Более 3 мм

Измерительный

 

 

Износ втулок

Более половины глубины смазочной канавки

Измерительный

 

Фермы раскосов, верхняя и нижняя секции

Отклонение от прямолинейности

Отклонения от пределов допуска на изготовление

ВИК

 

Накладки раскосов

Износ

Более 6 им

Измерительный

 

Стрела

Геометрия

В соответствии с технической документацией

Нивелировка

15. Установка предохранительных клапанов

Крепление к стреле

Покачивание

Не допускается

Визуальный

 

Рана

Трещины

Не допускаются

 

 

Ролик

Износ рабочей поверхности

Более 5 мм на сторону

ВИК

16. Блоки

Рама, кронштейн

Трещины

Не допускаются

ВИК

поддерживающие

 

Прогиб

Не допускается

 

 

Блоки

Трещины

Не допускаются

ВИК

 

 

Износ дна

Более 6 им

 

 

 

Износ поверхности

Более 5 мм

 

17. Сидящие блоки

Ограждения

Трещины и деформации

Не допускаются

ВИК

 

Блоки

Износ дна ручья

Более 8 мм

ВИК

 

 

Износ стенок ручья

Более 6 мм

 

 

Подшипники

Ослабление посадки, трещины, выкрашивание

Не допускаются

Визуальный

18. Подвеска стрелы

Серьги, скобы, кронштейны, блоки

Трещины

Не допускаются

УК, ПВК

 

Серьги

Износ отверстий

Отклонения от допуска на изготовление

ВИК

19. Лебедка подъема стрелы

Тормоз

Функционирование

Неудержание стрелы на какой-либо фазе подъема или опускания

Испытание

 

 

Износ накладок

Более 50% их толщины

Измерительный

 

 

Зазор накладок со шкивом

Более 2 мм, неравномерность по длине

Измерительный

 

 

Зазор шарнирных соединений

Более 0,4 мм

Измерительный

 

Редуктор

Состояние зубчатых соединений и подшипниковых опор

Превышение допустимых пределов по вибрации (приложение N 8)

вд

20. Пневматическая

Трубопроводы

Снижение давления

Более 0,01 МПа в

Измерительный

система

 

из-за утечек

течение 2 мин при 0,8 МПа

 

 

Предохранительный клапан

Давление настройки

Более 0,28 МПа

Измерительный

 

Воздухосборник

Трещины

Не допускаются

УК, гидравлические испытания

 

Манометр

Наличие и функционирование

Отсутствие, неверность показаний

ВИК

21. Системы жидкой смазки редукторов

Маслопроводы

Утечки

Не допускаются

Визуальный

 

Предохранительный клапан

Давление настройки

Более 0,35-0,4 МПа

Измерительный

 

Манометр

Отсутствие, неисправность

Не допускаются

Визуальный

22. Система густой смазки

Маслопроводы

Утечки

Не допускаются

Визуальный

 

Манометр

Отсутствие, неисправность

Не допускаются

Визуальный

23. Кузов

Площадки, лестницы, поручни, ограждения

Прогиб, коробление

Более 15 мм на длине 1000 мм

ВИК

 

Обшивка

Вмятины, коробление

Более 30 мм и более двух на площади 2 м2

ВИК

 

 

Прогиб

Более 10 мм на длине 1000 мм

ВИК

 

 

Отсутствие, неплотности стенок, дверей

Не допускаются

Визуальный

24. Электрооборудование

Вводный ящик

Трещины и деформации

Не допускаются

ВИК

 

Изоляторы

Трещины и деформации

Не допускаются

ВИК

 

Заземление

Сопротивление заземления

Более 4 Ом

Измерительный

 

Изоляция

Сопротивление изоляции

Менее 0,5 МОм

Измерительный

 

Резиновые амортизаторы

Трещины, выкрашивание

Не допускаются

ВИК

 

Электродвигатели, преобразовательный агрегат, генераторы

Балансировка, состояние подшипниковых опор

В соответствии с приложением N 9

ВД

 

 

Температура активных частей

Более 65° - для изоляции класса А;

 

 

 

 

Более 80° - для изоляции класса

 

 

 

 

Более 90° - для изоляции класса Б;

 

 

 

 

Более 110° - для изоляции класса Г;

 

 

 

 

Более 135° - для изоляции класса Н

 

 

Система управления главных приводов:

Электрическое торможение привода подъема и тяги в нулевом положении командоконтроллера

Неработоспособность при вертикально опушенном ковше

Визуальный

 

 

Защита от обрыва поля (токов возбуждения) электродвигателей. Координатная защита

Неработоспособность

Пробным срабатыванием

 

 

Звуковая технологическая сигнализация

Неработоспособность

Пробным срабатыванием

 

 

Блокировка наложения тормозов при отключенном электроснабжении

Неработоспособность

Пробным срабатыванием

 

 

Блокировка наложения тормозов при аварийном отключении возбуждения

Неработоспособность

Пробным срабатыванием

 

 

Концевые выключатели переподъема и перетяга ковша, зашиты от

Неработоспособность

Пробным срабатыванием

 

 

растяжки стрел

Неработоспособность

Пробным срабатыванием

 

Синхронный двигатель

Сопротивление изоляции Статоры и роторы

Менее 1 МОм

ВИК

 

Подшипники

Посторонние шумы, удары

Не допускаются

ВД

 

 

Температура

Более 65°

Измерительный

 

Решетки, крыльчатки вентиляторов

Отсутствие решеток, крыльчаток, деформации

Не допускаются

Визуальный

Приложение N 7

Схемы размещения точек вибродиагностики составных частей и оборудования, подвергаемого неразрушающему контролю

Экскаваторы типа ЭКГ

 

Составные части и оборудование, подвергаемые неразрушающему контролю и вибродиагностике, указаны на рис. 1 и 2 настоящего приложения (НК - узлы, подвергаемые неразрушающему контролю).

Оборудование, подвергаемое вибродиагностике:

1. Преобразовательный агрегат

2. Электродвигатель механизма подъема

3. Редуктор механизма подъема

4. Редукторы поворотного механизма

5. Вертикальные электродвигатели поворотного механизма

6. Электродвигатель напорного механизма

7. Двухступенчатый, цилиндрический редуктор напорного механизма

 

"Рис. 1. Рабочее оборудование"

 

"Рис. 2 часть 1. Схемы контрольных точек измерения вибрации (ЭКГ-8и Преобразовательный агрегат)"

 

"Рис. 2 часть 2. Схемы контрольных точек измерения вибрации (ЭКГ-8и Лебедка подъема)"

 

"Рис. 2 часть 3. Схемы контрольных точек измерения вибрации (ЭКГ-8и Механизм поворота)"

 

"Рис. 2 часть 4. Схемы контрольных точек измерения вибрации (ЭКГ-8и Лебедка напора)"

Экскаваторы типа ЭШ

 

Узлы и оборудование, подвергаемые неразрушающему контролю и вибродиагностике, указаны на рис. 3 и 4 настоящего приложения (НК - узлы, подвергаемые неразрушающему контролю).

Оборудование, подвергаемое вибродиагностике:

1. Преобразовательный агрегат

2. Подъемная лебедка

3. Тяговая лебедка

4. Поворотный механизм

 

"Рис. 3 часть 1. Схемы контрольных точек измерения вибрации (Преобразовательный агрегат)"

"Рис. 3 часть 2. Схемы контрольных точек измерения вибрации (Лебедки подъемная и тяговая)"

 

"Рис. 3 часть 3. Схемы контрольных точек измерения вибрации (Механизм поворота)"

 

"Рис. 4. Рабочее оборудование"

Приложение N 8

Интервалы и предельные значения интенсивности вибрации механического оборудования экскаваторов

А. Карьерных гусеничных

Наименование оборудования

Группа

Класс оценок (Ve) мм/с

хорошо

удовлетворительно

допустимо

недопустимо

ЭКГ-4.6, ЭКГ-5А

Машинный агрегат

2

1,8

1,8...4,5

4,5...11

>11

Подъемный механизм

1

<1,1

1,1...2,8

2,8...7,1

>7,1

Напорный механизм

1

<1,1

1,1...2,8

2,8...7,1

>7,1

Механизм поворота

2

1,8

1,8...4,5

4,5...11

>11

ЭКГ-10, ЭКГ-8И

Машинный агрегат

2

1,8

1,8...4,5

4,5...11

>11

Подъемный механизм

2

1,8

1,8...4,5

4,5...11

>11

Напорный механизм

1

<1,1

1,1...2,8

2,8...7,1

>7,1

Механизм поворота

1

<1,1

1,1...2,8

2,8...7,1

>7,1

ЭКГ-12.5, ЭКГ-15

Машинный агрегат

2

1,8

1,8...4,5

4,5...11

>11

Подъемный механизм

2

1,8

1,8...4,5

4,5...11

>11

Напорный механизм

1

<1,1

1,1...2,8

2,8...7,1

>7,1

Механизм поворота

1

<1,1

1,1...2,8

2,8...7,1

>7,1

В. Шагающих

Наименование оборудования

Группа

Класс оценок (Ve), мм/с

хорошо

удовлетворительно

допустимо

недопустимо

ЭШ 6/45

Машинный агрегат

2

1,8

1,8...4,5

4,5...11

>11

Подъемная лебедка

2

1,8

1,8...4,5

4,5...11

>11

Тяговая лебедка

2

1,8

1,8...4,5

4,5...11

>11

Механизм поворота

1

<1,1

1,1...2,8

2,8...7,1

>7,1

ЭШ 10/70,ЭШ 13/50

Машинный агрегат

2

1,8

1,8...4,5

4,5...11

>11

Подъемная лебедка

2

1,8

1,8...4,5

4,5...11

>11

Тяговая лебедка

2

1,8

1,8...4,5

4,5...11

>11

Механизм поворота

2

1,8

1,8...4,5

4,5...11

>11

ЭШ 15/90, ЭШ 20/90

Машинный агрегат

2

1,8

1,8...4,5

4,5...11

>11

Подъемная лебедка

2

1,8

1,8...4,5

4,5...11

>11

Тяговая лебедка

2

1,8

1,8...4,5

4,5...11

>11

Механизм поворота

2

1,8

1,8...4,5

4,5...11

>11

Приложение N 9

Предельные значения интенсивности вибрации для электрических машин (рекомендации ГОСТ 16921-83)

Диапазон частоты вращения, об/мин

Предельные значения интенсивности вибрации (Ve, ни/с) для машин с высотой оси вращения, мм

132 - 225

225 - 400

<1800

1,8

2,8

1800-6000

2,8

4,5

Приложение N 10

Опорные маски для оценки степени опасности спектральных составляющих вибрации

Спектральные компоненты

Уровень опасности частотных компонент Vмм/с

Предупреждение

Тревога

 

Первая группа

 

Общий уровень

3,6

6,5

Субгармоники

1,1

2,3

1*fp

2,8

4,5

(2 - 3)*fp

2,4

3,4

>3*fp

1,1

2,3

 

Вторая группа

 

Общий уровень

6,5

10,3

Субгармоники

2,3

3,6

1*fp

4,5

7,1

(2 - 3)*fp

3,4

5,4

>3*fp

2,3

3,6

Приложение N 11

Допустимые уровни вибрации на рабочем месте машиниста экскаватора

Среднегеометрические частоты октавных полос, Гц

2

4

8

16,3

31,5

63

Среднеквадратическое значение виброскорости, мм/с

12,5

4,5

2,2

2,0

2,0

2,0

Приложение N 12

Форма акта визуального и (или) измерительного контроля

N ________________ от __________________

__________________________________________________________________________

(экспертная организация)

1. В соответствии с нарядом-заказом (заявкой)

__________________________________________________________________________

(номер)

выполнен

__________________________________________________________________________

(указать вид контроля (визуальный, измерительный))

контроль

__________________________________________________________________________

(наименование и размеры контролируемого объекта,

__________________________________________________________________________

шифр документации, ТУ, чертежа, номер объекта контроля)

Контроль выполнен согласно

__________________________________________________________________________

(наименование и (или) шифр

__________________________________________________________________________

технической документации)

2. При контроле выявлены следующие дефекты:

__________________________________________________________________________

(характеристика

__________________________________________________________________________

дефектов (форма, размеры, расположение и (или) ориентация

__________________________________________________________________________

для конкретных объектов)

3. Заключение по результатам визуального и измерительного контроля

__________________________________________________________________________

__________________________________________________________________________

Контроль выполнил _________________________________________________________

(уровень квалификации, N квалификационного удостоверения)

__________________________________________________________________________

(фамилия, инициалы, подпись)

 

Руководитель экспертной группы _______________________ (фамилия, инициалы, подпись)

Приложение N 13

Пояснения к оформлению акта визуального и (или) измерительного контроля

1. В п. 1 указываются вид контроля - визуальный, измерительный, наименование контролируемого объекта (деталь, составная часть, конструкция), выборка дефектного участка в материале и (или) сварном соединении, а также наименование и (или) шифры нормативного документа, регламентирующего требования к оценке качества контролируемого объекта при визуальном и измерительном контроле.

2. При контроле заклепочных и сварных соединений в п. 1 указываются схемы расположения соединений, а также размеры деталей соединения (диаметр, толщина).

При контроле выборок дефектных мест указываются наименование и размеры объекта (диаметр, толщина), а также расположение выборки.

3. В п. 2 указываются все отступления от норм нормативно-технической документации, выявленные при контроле конкретных объектов (элементов конструкции, участков, соединений и пр.), в привязке их к номерам рабочей карты обследования.

Приложение N 14

Форма плана мероприятий по устранению недостатков, выявленных в процессе экспертизы экскаватора

Согласовано:

Утверждаю:

Начальник горного отдела

Руководитель эксплуатирующей

территориального органа Федеральной

организации

службы по экологическому,

 

технологическому и атомному надзору

 

____________________________

____________________________

"_____" ________________ 200____ г.

"_____" ________________ 200____ г.

План мероприятий по устранению недостатков, выявленных в процессе экспертизы экскаватора

экскаватор ____________ N _______

_________________________________

наименование предприятия (организации)

 

N п/п

Мероприятие

Согласованный срок выполнения

Отметка о выполнении*

1

2

3

4

 

 

 

 

 

 

 

 

 

 

 

 

 

 

 

 

 

 

 

 

 

 

 

 

Согласовано:

Руководитель экспертной организации

_________ _____________________

 (подпись)              (Ф.И.О.)

"___" _________ 200__ г.

______________________________

* Делается экспертом

 




Яндекс цитирования



   Copyright © 2007-2026,  www.tehlit.ru.

[ ѓосты, стандарты, нормативы, инструкции, правила, строительные нормы ]