//
ТехЛит.ру
- крупнейшая бесплатная электронная интернет библиотека для "технически умных" людей.
WWW.TEHLIT.RU - ТЕХНИЧЕСКАЯ ЛИТЕРАТУРА

:: Алготрейдинг::


АЛГОТРЕЙДИНГ
шаг за шагом
с нуля по урокам!

Торговые роботы на PYTHON, BackTrader,
Pandas, Pine Script для TradingView. Связка с брокерами, телеграм и легкими приложениями.


ФЕДЕРАЛЬНОЕ АГЕНТСТВО
ПО ТЕХНИЧЕСКОМУ РЕГУЛИРОВАНИЮ И МЕТРОЛОГИИ

НАЦИОНАЛЬНЫЙ
СТАНДАРТ
РОССИЙСКОЙ
ФЕДЕРАЦИИ

гост р
52859-
2007

Подшипники качения
ОБЩИЕ ТЕХНИЧЕСКИЕ УСЛОВИЯ

Москва

Стандартинформ

2008

Предисловие

Цели и принципы стандартизации в Российской Федерации установлены Федеральным законом от 27 декабря 2002 г. № 184-ФЗ «О техническом регулировании», а правила применения национальных стандартов Российской Федерации - ГОСТ Р 1.0-2004 «Стандартизация в Российской Федерации. Основные положения»

Сведения о стандарте

1 РАЗРАБОТАН Открытым акционерным обществом «ВНИПП» (ОАО «ВНИПП») и Федеральным государственным унитарным предприятием «Всероссийский научно-исследовательский институт стандартизации и сертификации в машиностроении» (ВНИИНМАШ) на основе собственного аутентичного перевода стандартов, указанных в пункте 4

2 ВНЕСЕН Техническим комитетом по стандартизации ТК 307 «Подшипники качения»

3 УТВЕРЖДЕН И ВВЕДЕН В ДЕЙСТВИЕ Приказом Федерального агентства по техническому регулированию и метрологии от 27 декабря 2007 г. № 505-ст

4 В настоящем стандарте учтены основные нормативные положения следующих международных стандартов:

ИСО 492:2002 «Подшипники качения. Радиальные подшипники. Допуски» (ISO 492:2002 «Rolling bearings - Radial bearings - Tolerances», NEQ);

ИСО 199:2005 «Подшипники качения. Упорные шариковые подшипники. Допуски (ISO 199:2005 «Rolling bearings - Thrust ball bearings - Tolerances», NEQ)

5 ВВЕДЕН ВПЕРВЫЕ

Информация об изменениях к настоящему стандарту публикуется в ежегодно издаваемом информационном указателе «Национальные стандарты», а текст изменений и поправок - в ежемесячно издаваемых информационных указателях «Национальные стандарты». В случае пересмотра (замены) или отмены настоящего стандарта соответствующее уведомление будет опубликовано в ежемесячно издаваемом информационном указателе «Национальные стандарты». Соответствующая информация, уведомление и тексты размещаются также в информационной системе общего пользования - на официальном сайте Федерального агентства по техническому регулированию и метрологии в сети Интернет

Содержание

1 Область применения

2 Нормативные ссылки

3 Термины и определения

4 Условные обозначения

4.1 Условные обозначения основных размеров радиальных и радиально-упорных подшипников

4.2 Условные обозначения размерных параметров радиальных и радиально-упорных подшипников

4.3 Дополнительные условные обозначения основных размеров роликовых конических подшипников

4.4 Дополнительные условные обозначения размерных параметров роликовых конических подшипников

4.5 Условные обозначения основных размеров упорных и упорно-радиальных подшипников

4.6 Условные обозначения размерных параметров упорных и упорно-радиальных подшипников

5 Размеры

6 Технические требования

7 Допуски

7.1 Радиальные и радиально-упорные подшипники, кроме конических

7.2 Роликовые конические подшипники

7.3 Упорный борт наружного кольца радиальных и радиально-упорных подшипников

7.4 Конические отверстия, конусность 1:12 и 1:30

7.5 Упорные и упорно-радиальные одинарные и двойные подшипники

8 Дополнительные технические требования

9 Приемка

10 Методы контроля

11 Маркировка

12 Упаковка, транспортирование и хранение

13 Указания по применению и эксплуатации

14 Гарантии изготовителя

Приложение А (справочное)

Иллюстрация допусков на размер диаметров

Приложение Б (справочное)

Соответствие классов точности

Библиография

НАЦИОНАЛЬНЫЙ СТАНДАРТ РОССИЙСКОЙ ФЕДЕРАЦИИ

Подшипники качения

ОБЩИЕ ТЕХНИЧЕСКИЕ УСЛОВИЯ

Rolling bearings.
General specifications

Дата введения - 2009-01-01

1 Область применения

Настоящий стандарт распространяется на подшипники качения по ГОСТ 831, ГОСТ 832, ГОСТ 3478, ГОСТ 4252, ГОСТ 4657, ГОСТ 5377, ГОСТ 5721, ГОСТ 6364, ГОСТ 7242, ГОСТ 7634, ГОСТ 7872, ГОСТ 8328, ГОСТ 8338, ГОСТ 8419, ГОСТ 8545, ГОСТ 8882, ГОСТ 8995, ГОСТ 9592, ГОСТ 9942, ГОСТ 18572, ГОСТ 20531, ГОСТ 23179, ГОСТ 23526, ГОСТ 24696, ГОСТ 24850, ГОСТ 27057, ГОСТ 27365, ГОСТ 28428.

Настоящий стандарт устанавливает допуски на основные размеры (за исключением размеров фасок), точность вращения подшипников и другие технические требования, приемку, методы контроля, маркировку, упаковку, транспортирование, хранение, указания по применению и эксплуатации, гарантии изготовителя.

Настоящий стандарт не распространяется на некоторые подшипники определенных конструктивных исполнений (например, игольчатые подшипники со штампованным наружным кольцом) и на подшипники специальных видов применения (например, высокопрецизионные упорные и упорно-радиальные подшипники для применения в специальных средах). Допуски на такие подшипники приведены в соответствующих стандартах или в других технических документах.

Предельные размеры фасок приведены в ГОСТ Р 52598.

2 Нормативные ссылки

В настоящем стандарте использованы ссылки на следующие стандарты:

ГОСТ Р ИСО 2859-1-2007 Статистические методы. Процедуры выборочного контроля по альтернативному признаку. Часть 1. Планы выборочного контроля последовательных партий на основе приемлемого уровня качества

ГОСТ Р 52545.1-2006 (ИСО 15242-1:2004) Подшипники качения. Методы измерения вибрации. Часть 1. Основные положения

ГОСТ Р 52598-2006 (ИСО 15:1998) Подшипники качения. Радиальные и радиально-упорные подшипники. Основные размеры. Размерные ряды

ГОСТ 8.050-73 Государственная система обеспечения единства измерений. Нормальные условия выполнения линейных и угловых измерений

ГОСТ 515-77 Бумага упаковочная битумированная и дегтевая. Технические условия

ГОСТ 831-75 Подшипники шариковые радиально-упорные однорядные. Типы и основные размеры

ГОСТ 832-78 Подшипники шариковые радиально-упорные сдвоенные. Типы и основные размеры

ГОСТ 2789-73 Шероховатость поверхности. Параметры и характеристики

ГОСТ 2893-82 Подшипники качения. Канавки под упорные пружинные кольца. Кольца упорные пружинные. Размеры

ГОСТ 2991-85 Ящики дощатые неразборные для грузов массой до 500 кг. Общие технические условия

ГОСТ 3189-89 Подшипники шариковые и роликовые. Система условных обозначений

ГОСТ 3325-85 Подшипники качения. Поля допусков и технические требования к посадочным поверхностям валов и корпусов. Посадки

ГОСТ 3395-89 Подшипники качения. Типы и конструктивные исполнения

ГОСТ 3478-79 Подшипники качения. Основные размеры

ГОСТ 3722-81 Подшипники качения. Шарики. Технические условия

ГОСТ 4252-75 Подшипники шариковые радиально-упорные двухрядные. Основные размеры

ГОСТ 4657-82 Подшипники роликовые радиальные игольчатые однорядные. Основные размеры. Технические требования

ГОСТ 5377-79 Подшипники роликовые радиальные с короткими цилиндрическими роликами без внутреннего или наружного кольца. Типы и основные размеры

ГОСТ 5721-75 Подшипники роликовые радиальные сферические двухрядные. Типы и основные размеры

ГОСТ 6364-78 Подшипники роликовые конические двухрядные. Основные размеры

ГОСТ 6870-81 Подшипники качения. Ролики игольчатые. Технические условия

ГОСТ 7242-81 Подшипники шариковые радиальные однорядные с защитными шайбами. Технические условия

ГОСТ 7634-75 Подшипники радиальные роликовые многорядные с короткими цилиндрическими роликами. Типы и основные размеры

ГОСТ 7872-89 Подшипники упорные шариковые одинарные и двойные. Технические условия

ГОСТ 8328-75 Подшипники роликовые радиальные с короткими цилиндрическими роликами. Типы и основные размеры

ГОСТ 8338-75 Подшипники шариковые радиальные однорядные. Основные размеры

ГОСТ 8419-75 Подшипники роликовые конические четырехрядные. Основные размеры

ГОСТ 8530-90 (ИСО 2982-72, ИСО 2983-75) Подшипники качения. Гайки, шайбы и скобы для закрепительных и стяжных втулок. Технические условия

ГОСТ 8545-75 Подшипники шариковые и роликовые двухрядные с закрепительными втулками. Типы и основные размеры

ГОСТ 8882-75 Подшипники шариковые радиальные однорядные с уплотнениями. Технические условия

ГОСТ 8995-75 Подшипники шариковые радиально-упорные однорядные с одним разъемным кольцом. Типы и основные размеры

ГОСТ 9142-90 Ящики из гофрированного картона. Общие технические условия

ГОСТ 9592-75 Подшипники шариковые радиальные с выступающим внутренним кольцом. Технические условия

ГОСТ 9942-90 Подшипники упорно-радиальные роликовые сферические одинарные. Технические условия

ГОСТ 10354-82 Пленка полиэтиленовая. Технические условия

ГОСТ 13014-80 Втулки стяжные подшипников качения. Основные размеры

ГОСТ 14192-96 Маркировка грузов

ГОСТ 16148-79 Ящики деревянные для подшипников качения. Технические условия

ГОСТ 16272-79 Пленка поливинилхлоридная пластифицированная техническая. Технические условия

ГОСТ 18321-73 Статистический контроль качества. Методы случайного отбора выборок штучной продукции

ГОСТ 18572-81 Подшипники роликовые с цилиндрическими роликами для букс железнодорожного подвижного состава. Основные размеры

ГОСТ 18854-94 (ИСО 76-87) Подшипники качения. Статическая грузоподъемность

ГОСТ 18855-94 (ИСО 281-89) Подшипники качения. Динамическая расчетная грузоподъемность и расчетный ресурс (долговечность)

ГОСТ 20531-75 Подшипники роликовые игольчатые радиально-упорные комбинированные. Технические условия

ГОСТ 22696-77 Подшипники качения. Ролики цилиндрические короткие. Технические условия

ГОСТ 23179-78 Подшипники качения радиальные шариковые однорядные гибкие. Технические условия

ГОСТ 23526-79 Подшипники роликовые упорные с цилиндрическими роликами одинарные. Типы и основные размеры

ГОСТ 24208-80 Втулки закрепительные подшипников качения. Основные размеры

ГОСТ 24297-87 Входной контроль продукции. Основные положения

ГОСТ 24634-81*Э Ящики деревянные для продукции, поставляемой для экспорта. Общие технические условия

ГОСТ 24696-81 Подшипники роликовые радиальные сферические двухрядные с симметричными роликами. Основные размеры

ГОСТ 24810-81 Подшипники качения. Зазоры

ГОСТ 24850-81 Подшипники шариковые радиальные однорядные с двумя уплотнениями с широким внутренним кольцом и сферической наружной поверхностью наружного кольца. Основные размеры

ГОСТ 24955-81 Подшипники качения. Термины и определения

ГОСТ 25255-82 Подшипники качения. Ролики цилиндрические длинные. Технические условия

ГОСТ 25256-82 Подшипники качения. Допуски. Термины и определения

ГОСТ 25455-82 Подшипники качения. Втулки закрепительные и стяжные. Технические условия

ГОСТ 27057-86 Подшипники упорные роликовые конические одинарные. Основные размеры

ГОСТ 27365-87 Подшипники роликовые конические однорядные повышенной грузоподъемности. Основные размеры

ГОСТ 28428-90 Подшипники радиальные шариковые сферические двухрядные. Технические условия

Примечание - При пользовании настоящим стандартом целесообразно проверить действие ссылочных стандартов в информационной системе общего пользования - на официальном сайте Федерального агентства по техническому регулированию и метрологии в сети Интернет или по ежегодно издаваемому информационному указателю «Национальные стандарты», который опубликован по состоянию на 1 января текущего года, и по соответствующим ежемесячно издаваемым информационным указателям, опубликованным в текущем году. Если ссылочный стандарт заменен (изменен), то при пользовании настоящим стандартом следует руководствоваться заменяющим (измененным) стандартом. Если ссылочный стандарт отменен без замены, то положение, в котором дана ссылка на него, применяется в части, не затрагивающей эту ссылку.

3 Термины и определения

В настоящем стандарте применены термины по ГОСТ 24955 и ГОСТ 25256, а также следующие термины с соответствующими определениями.

3.1 открытый подшипник качения: Подшипник качения без уплотнений и защитных шайб.

3.2 закрытый подшипник качения: Подшипник качения с одним или двумя уплотнениями, с одной или двумя защитными шайбами или одним уплотнением и одной защитной шайбой.

3.3 желобной шариковый подшипник: Радиальный (радиально-упорный) шариковый подшипнике дорожками качения в форме желоба, поперечное сечение которого представляет собой дугу окружности радиусом, превышающим половину диаметра шарика.

3.4 глубокожелобной шариковый подшипник: Радиальный (радиально-упорный) шариковый подшипник, оба кольца которого имеют дорожку качения в форме желоба, длина дуги которого в поперечном сечении равна примерно одной трети длины окружности шарика.

3.5 железнодорожный буксовый подшипник (качения): Подшипник качения, по конструкции или исполнению предназначенный для применения в железнодорожных буксах.

3.6 сдвоенный подшипник: Два подшипника качения, смонтированных рядом на одном валу таким образом, что они работают, как один подшипник.

3.7 самоустанавливающийся подшипник: Подшипник качения, допускающий угловое смещение и угловое перемещение осей дорожек качения, так как одна из дорожек качения имеет сферическую форму.

3.8 подшипник с самоустанавливающимся кольцом: Подшипник качения, допускающий угловое смещение осей подшипника и корпуса благодаря сферической форме посадочной поверхности кольца радиального или упорного подшипника, которая сопрягается с соответствующей посадочной поверхностью корпуса или самоустанавливающегося корпусного кольца.

3.9 комплектный подшипник качения: Один из подшипников качения, входящих в состав сдвоенного подшипника или в комплект подшипников.

3.10 подузел подшипника: Кольцо подшипника стелами качения или без них, или с сепаратором и телами качения, или тела качения с сепаратором в сборе, которые могут быть свободно отделены от подшипника.

3.11 базовый типоразмер подшипника: Типоразмер подшипника, имеющий наиболее широко применяемую внутреннюю конструкцию и основное условное обозначение в соответствии с ГОСТ 3189 (например, 205, 7609).

3.12 модификация базового типоразмера подшипника: Типоразмер подшипника, имеющий тип, конструктивную разновидность и габаритные размеры соответствующего базового типоразмера, но отличающийся особенностями внутренней конструкции (сепаратора и др.) и определяемый в условном обозначении дополнительными знаками (например, 205К, 1000802Л).

3.13 измерительное усилие: Усилие, прилагаемое наконечником индикатора или самописца к измеряемой поверхности.

3.14 измерительная нагрузка: Усилие извне, прилагаемое к испытуемому образцу при проведении измерения.

4 Условные обозначения

Условные обозначения (за исключением тех, которые относятся к допускам) обозначают номинальные размеры, если не указано иное.

Подстрочные знаки в символах имеют следующие значения:

- a относится к собранному подшипнику или к внутреннему зазору в осевом направлении;

- e относится к наружному кольцу;

- i относится к внутреннему кольцу;

- m среднеарифметическое измерение;

- p плоскость, в которой проводят измерение;

- r относится к внутреннему зазору в радиальном направлении;

- s единичное или действительное измерение;

- w относится к телам качения;

- 1, 2... - цифровое обозначение там, где более чем один диаметр или ширина относятся к кольцу или комплекту.

4.1 Условные обозначения основных размеров радиальных и радиально-упорных подшипников

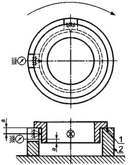
d - диаметр отверстия; D - наружный диаметр; D1 - диаметр упорного борта наружного кольца; d1 - диаметр теоретического большого конического отверстия; B - ширина внутреннего кольца; C - ширина наружного кольца; C1 - ширина упорного борта наружного кольца; α - угол конусности (половина угла конуса) отверстия внутреннего кольца; r- размер фаски
Рисунок 1 - Условные обозначения основных размеров радиальных и радиально-упорных подшипников

4.2 Условные обозначения размерных параметров радиальных и радиально-упорных подшипников

Bm

-

средняя ширина внутреннего кольца;

Bs

-

единичная ширина внутреннего кольца;

VBs

-

непостоянство ширины внутреннего кольца;

Bs

-

отклонение единичной ширины внутреннего кольца;

Cm

-

средняя ширина наружного кольца;

Cs

-

единичная ширина наружного кольца;

C1s

-

единичная ширина упорного борта наружного кольца;

VCs

-

непостоянство ширины наружного кольца;

Cs

-

отклонение единичной ширины наружного кольца;

VC1s

-

непостоянство ширины упорного борта наружного кольца;

C1s

-

отклонение единичной ширины упорного борта наружного кольца;

Dm

-

средний наружный диаметр;

Dmp

-

средний наружный диаметр в единичной плоскости;

Ds

-

единичный наружный диаметр;

Dsp

-

единичный наружный диаметр в единичной плоскости;

Ds

-

отклонение единичного наружного диаметра;

Vds

-

непостоянство наружного диаметра;

Vdsp

-

непостоянство наружного диаметра в единичной плоскости;

Vdmp

-

непостоянство среднего наружного диаметра;

Dm

-

отклонение среднего наружного диаметра;

Dmp

-

отклонение среднего наружного диаметра в единичной плоскости;

D1s

-

отклонение единичного диаметра упорного борта наружного кольца;

dm

-

средний диаметр отверстия;

dmp

-

средний диаметр отверстия в единичной плоскости;

ds

-

единичный диаметр отверстия;

dsp

-

единичный диаметр отверстия в единичной плоскости;

Vds

-

непостоянство диаметра отверстия;

ds

-

отклонение единичного диаметра отверстия;

dm

-

отклонение среднего диаметра отверстия;

Vdmp

-

непостоянство среднего диаметра отверстия;

dmp

-

отклонение среднего диаметра отверстия в единичной плоскости (для конического отверстия относится только к меньшему теоретическому отверстию);

Vdsp

-

непостоянство диаметра отверстия в единичной плоскости;

d1mp

-

отклонение среднего диаметра конического отверстия в единичной плоскости со стороны теоретического большего отверстия;

Ke

-

разностенность дорожки качения наружного кольца относительно наружной поверхности радиального и радиально-упорного подшипника;

Kea

-

радиальное биение наружного кольца собранного подшипника;

Ki

-

разностенность дорожки качения внутреннего кольца относительно отверстия радиального и радиально-упорного подшипника;

Kia

-

радиальное биение внутреннего кольца собранного подшипника;

SD

-

перпендикулярность наружной поверхности наружного кольца относительно торца;

Sd1

-

перпендикулярность наружной поверхности наружного кольца относительно опорного торца упорного борта;

Sd

-

перпендикулярность торца внутреннего кольца относительно отверстия;

Se

-

параллельность дорожки качения наружного кольца относительно торца радиального и радиально-упорного шарикового желобного подшипника;

Se1

-

параллельность дорожки качения наружного кольца с упорным бортом относительно опорного торца упорного борта радиального и радиально-упорного шарикового желобного подшипника;

Sea

-

осевое биение наружного кольца собранного подшипника;

Sea1

-

осевое биение опорного торца упорного борта наружного кольца собранного подшипника.

Si

-

параллельность дорожки качения внутреннего кольца относительно торца радиального и радиально-упорного шарикового желобного подшипника;

Sia

-

осевое биение внутреннего кольца собранного подшипника;

rs

-

единичный размер фаски;

rs min

-

наименьший единичный размер фаски;

rs max

-

наибольший единичный размер фаски.

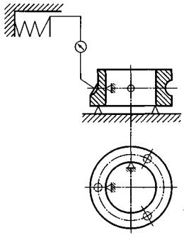
4.3 Дополнительные условные обозначения основных размеров роликовых конических подшипников

T - ширина (монтажная высота) роликового конического подшипника; T1 - монтажная высота внутреннего подузла роликового конического подшипника; T2 - монтажная высота наружного кольца роликового конического подшипника
Рисунок 2 - Дополнительные условные обозначения основных размеров роликовых конических подшипников

4.4 Дополнительные условные обозначения размерных параметров роликовых конических подшипников

Ts - действительная ширина (монтажная высота) роликового конического подшипника;

T1s - действительная монтажная высота внутреннего подузла роликового конического подшипника;

T2s - действительная монтажная высота наружного кольца роликового конического подшипника;

Ts - отклонение действительной ширины (монтажной высоты) роликового конического подшипника;

T1s - отклонение действительной монтажной высоты внутреннего подузла роликового конического подшипника;

T2s - отклонение действительной монтажной высоты наружного кольца роликового конического подшипника

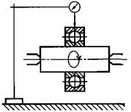
4.5 Условные обозначения основных размеров упорных и упорно-радиальных подшипников

d - диаметр отверстия тугого кольца одинарного подшипника; d2 - диаметр отверстия среднего кольца двойного подшипника; D - наружный диаметр свободного кольца; T - высота одинарного подшипника; T1 - высота двойного подшипника
Рисунок 3 - Условные обозначения основных размеров упорных и упорно-радиальных подшипников

4.6 Условные обозначения размерных параметров упорных и упорно-радиальных подшипников

Si - разностенность дорожки качения тугого кольца относительно широкого торца;

VDsp - непостоянство единичного наружного диаметра свободного кольца в единичной плоскости;

Vdsp - непостоянство единичного диаметра отверстия тугого кольца одинарного подшипника в единичной плоскости;

Vd2sp - непостоянство диаметра отверстия среднего кольца двойного подшипника в единичной плоскости;

Dmp - отклонение среднего наружного диаметра свободного кольца в единичной плоскости;

dmp - отклонение среднего диаметра отверстия тугого кольца одинарного подшипника в единичной плоскости;

d2mp - отклонение среднего диаметра отверстия среднего кольца двойного подшипника в единичной плоскости.

Примечание - Применяется только к упорным шариковым подшипникам и цилиндрическим роликовым упорным подшипникам с углом контакта 90°;

Se - разностенность дорожки качения свободного кольца относительно широкого торца.

Примечание - Применяется только к упорным шариковым подшипникам и цилиндрическим роликовым упорным подшипникам с углом контакта 90°;

Ts - отклонение действительной высоты одинарного подшипника;

T1s - отклонение действительной высоты двойного подшипника.

5 Размеры

Основные размеры подшипников должны соответствовать ГОСТ 3478, стандартам на типы и размеры подшипников или конструкторской документации, в которой имеется ссылка на настоящий стандарт.

6 Технические требования

6.1 Шариковые и роликовые подшипники должны быть изготовлены в соответствии с требованиями настоящего стандарта по конструкторской документации, утвержденной в установленном порядке.

6.2 В зависимости от значений предельных отклонений размеров, формы, взаимного положения поверхностей подшипников и точности вращения установлены следующие классы точности подшипников, указанные в порядке повышения точности:

- нормальный, 6, 5, 4, T, 2 - для шариковых и роликовых радиальных и шариковых радиально-упорных подшипников;

- 0, нормальный, 6X, 6, 5, 4, 2 - для роликовых конических подшипников;

- нормальный, 6, 5, 4, 2 - для упорных и упорно-радиальных подшипников.

Иллюстрация допусков на размер диаметров приведена в приложении А.

Соответствие классов точности шариковых и роликовых радиальных, радиально-упорных шариковых подшипников и роликовых конических подшипников настоящего стандарта классам точности по ГОСТ 520, ИСО 492 [1], ДИН 620 [2], AFBMA стандарт 20 [3], JISB B 1514 [4], AFBMA стандарт 19.1 [5] приведено в приложении Б.

Соответствие классов точности упорных и упорно-радиальных подшипников настоящего стандарта классам точности по ГОСТ 520, ИСО 199 [6], ДИН 620 [2] приведено в приложении Б.

6.3 Марку стали, твердость, обозначение других материалов, применяемых для изготовления деталей подшипников, указывают в конструкторской документации.

6.4 Твердость колец и роликов из наиболее часто применяемых марок сталей приведена в таблице 1. Требования таблицы 1 не распространяются на подшипники, имеющие в условном обозначении справа дополнительные знаки T, T1, ..., T5.

Таблица 1

Марка стали

Твердость колец и роликов, работающих при температуре до 110 °C, HRC

Кольца с толщиной стенки до 35 мм и ролики диаметром до 55 мм

Кольца с толщиной стенки свыше 35 мм и ролики диаметром свыше 55 мм

ШХ41)

60 ...63

ШХ15, ШХ15-Ш, ШХ15-В, ШХ15-ВД

61 ... 65

 

ШХ15СГ, ШХ15СГ-В, ШХ15СГ-Ш, ШХ15СГ-ВД

60 ... 64

ШХ20СГ

60 ... 64

58 ... 62

18ХГТ2)

61 ... 65

58 ... 62

20Х2Н4А2)

59 ... 64

15Г12)

58 ... 62

1) Твердость сердцевины 32 ... 44 HRC.

2) Глубина упрочненного слоя и твердость сердцевины должны соответствовать нормам, указанным в техническом документе, утвержденном в установленном порядке.

6.5 Неоднородность по твердости в пределах одного кольца подшипника должна быть не более 3HRC.

6.6 Параметр шероховатости Ra наружной поверхности, поверхностей отверстия и торцов колец подшипников не должен превышать значений, указанных в таблице 2.

Таблица 2

Наименование поверхности

Класс точности подшипника

Параметр шероховатости поверхности Ra по ГОСТ 2789, мкм

Номинальные диаметры d и D колец подшипников, мм

до 30

св. 30 до 80

св. 80 до 150

св. 150 до 250

св. 250 до 500

св. 500 до 2500

Поверхность отверстия подшипника

0, нормальный

1,25

1,25

1,25

1,25

2,5

2,5

6Х, 6, 5

0,63

0,63

1,25

1,25

1,25

2,5

4, Т, 2

0,32

0,32

0,63

0,63

0,63

-

Наружная поверхность подшипника

0, нормальный

0,63

0,63

1,25

1,25

1,25

2,5

6Х, 6, 5

0,32

0,32

0,63

0,63

0,63

1,25

4, Т, 2

0,32

0,32

0,63

0,63

0,63

-

Поверхность торцов колец подшипника

0, нормальный

2,5

2,5

2,5

2,5

2,5

2,5

6Х, 6, 5

1,25

1,25

1,25

1,25

2,5

2,5

4, Т, 21)

0,63

0,63

0,63

0,63

1,25

-

1) Для упорных шариковых подшипников класса точности 2 параметр шероховатости Ra должен быть не более 0,32 мкм для колец подшипников номинальным диаметром отверстия тугого кольца до 80 мм и не более 0,63 мкм - для колец подшипников номинальным диаметром отверстия тугого кольца свыше 80 мм.

Примечание - При изготовлении подшипников из нержавеющих сталей и сплавов параметр шероховатости Ra устанавливают по технической документации, утвержденной в установленном порядке.

7 Допуски

7.1 Радиальные и радиально-упорные подшипники, кроме конических

В настоящем пункте приведены предельные отклонения и допуски диаметра отверстия для цилиндрических отверстий. Предельные отклонения и допуски на конические отверстия приведены в 7.4.

Серии диаметров, приведенные в таблицах 3 - 10, соответствуют сериям диаметров ГОСТ 3478.

7.1.1 Нормальный класс точности (см. таблицы 3 и 4)

Таблица 3 - Внутреннее кольцо

Допуски в микрометрах

d, мм

dmp

Vdsp

Vdmp

Kia

Sd

Sia1), Si1)

Bs

VBs не более

серии диаметров

все подшипники

обычный подшипник

необычный подшипник2)

0, 8, 9

1, 7

2(5), 3(6), 4

верхн.

нижн.

не более

верхн.

нижн.

 

 

До

0,6

включ.

0

-8

10

8

6

6

10

20

24

0

-40

-

12

Св.

0,6

»

2,5

»

0

-8

10

8

6

6

10

20

24

0

-40

-

12

»

2,5

»

10

»

0

-8

10

8

6

6

10

20

24

0

-120

-250

15

»

10

»

18

»

0

-8

10

8

6

6

10

20

24

0

-120

-250

20

»

18

»

30

»

0

-10

13

10

8

8

13

20

24

0

-120

-250

20

»

30

»

50

»

0

-12

15

12

9

9

15

20

24

0

-120

-250

20

»

50

»

80

»

0

-15

19

19

11

11

20

25

30

0

-150

-380

25

»

80

»

120

»

0

-20

25

25

15

15

25

25

30

0

-200

-380

25

»

120

»

180

»

0

-25

31

31

19

19

30

30

35

0

-250

-500

30

»

180

»

250

»

0

-30

38

38

23

23

40

30

35

0

-300

-500

30

»

250

»

315

»

0

-35

44

44

26

26

50

35

42

0

-350

-500

35

»

315

»

400

»

0

-40

50

50

30

30

60

40

48

0

-400

-630

40

»

400

»

500

»

0

-45

56

56

34

34

65

45

54

0

-450

-

50

»

500

»

630

»

0

-50

63

63

38

38

70

-

-

0

-500

-

60

»

630

»

800

»

0

-75

-

-

-

-

80

-

-

0

-750

-

70

»

800

»

1000

»

0

-100

-

-

-

-

90

-

-

0

-1000

-

80

»

1000

»

1250

»

0

-125

-

-

-

-

100

-

-

0

-1250

-

100

»

1250

»

1600

»

0

-160

-

-

-

-

120

-

-

0

-1600

-

120

»

1600

»

2000

»

0

-200

-

-

-

-

140

-

-

0

-2000

-

140

1) Действительны только для желобных и глубокожелобных шариковых подшипников.

2) Действительны для внутренних и наружных колец одинарных подшипников, предназначенных для монтажа парами или по несколько штук, и для внутренних колец с коническим отверстием не менее 50 мм.

Таблица 4 - Наружное кольцо

Допуски в микрометрах

D, мм

Dmp

VDsp1)

VDmp1)

Kea

Sea2), Se2)

Cs, C1s3)

VCs, VC1s3) не более

открытый подшипник

закрытый подшипник

серии диаметров

0, 8, 9

1, 7

2(5), 3(6), 4

2(5), 3(6), 4, 7, 8

верхн.

нижн.

не более

верхн.

нижн.

 

 

До

2,5

включ.

0

-8

10

8

6

10

6

15

40

Равны ∆Bs и VBs того же подшипника соответственно

Св.

2,5

»

6

»

0

-8

10

8

6

10

6

15

40

»

6

»

18

»

0

-8

10

8

6

10

6

15

40

»

18

»

30

»

0

-9

12

9

7

12

7

15

40

»

30

»

50

»

0

-11

14

11

8

16

8

20

40

»

50

»

80

»

0

-13

16

13

10

20

10

25

40

»

80

»

120

»

0

-15

19

19

11

26

11

35

45

»

120

»

150

»

0

-18

23

23

14

30

14

40

50

»

150

»

180

»

0

-25

31

31

19

38

19

45

60

»

180

»

250

»

0

-30

38

38

23

-

23

50

70

»

250

»

315

»

0

-35

44

44

26

-

26

60

80

»

315

»

400

»

0

-40

50

50

30

-

30

70

90

»

400

»

500

»

0

-45

56

56

34

-

34

80

100

»

500

»

630

»

0

-50

63

63

38

-

38

100

120

»

630

»

800

»

0

-75

94

94

55

-

55

120

140

»

800

»

1000

»

0

-100

125

125

75

-

75

140

160

»

1000

»

1250

»

0

-125

-

-

-

-

-

160

-

»

1250

»

1600

»

0

-160

-

-

-

-

-

190

-

»

1600

»

2000

»

0

-200

-

-

-

-

-

220

-

»

2000

»

2500

»

0

-250

-

-

-

-

-

250

-

1) Действительны для колец до монтажа и после снятия внутреннего или наружного пружинного кольца.

2) Действительны только для желобных и глубокожелобных шариковых подшипников.

3) Действительны только для шариковых подшипников.

Примечание - Допуск наружного диаметра упорного борта наружного кольца D1 приведен в таблице 35.

7.1.2 Класс точности 6 (см. таблицы 5 и 6)

Таблица 5 - Внутреннее кольцо

Допуски в микрометрах

d, мм

dmp

Vdsp

Vdmp

Kia

Sd

Sia1), Si1)

Bs

VBs не более

серии диаметров

все подшипники

обычный подшипник

необычный подшипник2)

0, 8, 9

1, 7

2(5), 3(6), 4

верхн.

нижн.

не более

верхн.

нижн.

 

 

До

0,6

включ.

0

-7

9

7

5

5

5

10

12

0

-40

-

12

Св.

0,6

»

2,5

»

0

-7

9

7

5

5

5

10

12

0

-40

-

12

»

2,5

»

10

»

0

-7

9

7

5

5

6

10

12

0

-120

-250

15

»

10

»

18

»

0

-7

9

7

5

5

7

10

12

0

-120

-250

20

»

18

»

30

»

0

-8

10

8

6

6

8

10

12

0

-120

-250

20

»

30

»

50

»

0

-10

13

10

8

8

10

10

12

0

-120

-250

20

»

50

»

80

»

0

-12

15

15

9

9

10

12

15

0

-150

-380

25

»

80

»

120

»

0

-15

19

19

11

11

13

12

15

0

-200

-380

25

»

120

»

180

»

0

-18

23

23

14

14

18

15

18

0

-250

-500

30

»

180

»

250

»

0

-22

28

28

17

17

20

15

18

0

-300

-500

30

»

250

»

315

»

0

-25

31

31

19

19

25

17

21

0

-350

-500

35

»

315

»

400

»

0

-30

38

38

23

23

30

20

24

0

-400

-630

40

»

400

»

500

»

0

-35

44

44

26

26

35

22

27

0

-450

-

45

»

500

»

630

»

0

-40

50

50

30

30

40

25

-

0

-500

-

50

1) Действительны только для желобных и глубокожелобных шариковых подшипников.

2) Действительны для внутренних и наружных колец одинарных подшипников, предназначенных для монтажа парами или по несколько штук, и для внутренних колец с коническим отверстием не менее 50 мм.

Таблица 6 - Наружное кольцо

Допуски в микрометрах

D, мм

Dmp

VDsp1)

VDmp1)

Kea

Sea2), Se2)

Cs, C1s3)

VCs, VC1s3) не более

открытый подшипник

закрытый подшипник

серии диаметров

0, 8, 9

1, 7

2(5), 3(6), 4

1, 7, 2(5), 3(6), 4, 8

верхн.

нижн.

не более

верхн.

нижн.

 

 

До

2,5

включ.

0

-7

9

7

5

9

5

8

20

Равны Bs и VBs того же подшипника соответственно

Св.

2,5

»

6

»

0

-7

9

7

5

9

5

8

20

»

6

»

18

»

0

-7

9

7

5

9

5

8

20

»

18

»

30

»

0

-8

10

8

6

10

6

9

20

»

30

»

50

»

0

-9

11

9

7

13

7

10

20

»

50

»

80

»

0

-11

14

11

8

16

8

13

20

»

80

»

120

»

0

-13

16

16

10

20

10

18

22

»

120

»

150

»

0

-15

19

19

11

25

11

20

25

»

150

»

180

»

0

-18

23

23

14

30

14

23

30

»

180

»

250

»

0

-20

25

25

15

-

15

25

35

»

250

»

315

»

0

-25

31

31

19

-

19

30

40

»

315

»

400

»

0

-28

35

35

21

-

21

35

45

»

400

»

500

»

0

-33

41

41

25

-

25

40

50

»

500

»

630

»

0

-38

48

48

29

-

29

50

60

»

630

»

800

»

0

-45

56

56

34

-

34

60

70

»

800

»

1000

»

0

-60

75

75

45

-

45

75

80

1) Действительны для колец до монтажа и после снятия внутреннего или наружного пружинного кольца.

2) Действительны только для желобных и глубокожелобных шариковых подшипников.

3) Действительны только для шариковых подшипников.

Примечание - Допуск наружного диаметра упорного борта наружного кольца D1 приведен в таблице 35.

7.1.3 Класс точности 5 (см. таблицы 7 и 8)

Таблица 7 - Внутреннее кольцо

Допуски в микрометрах

d, мм

dmp

Vdsp

Vdmp

Kia

Sd

Sia1)

Bs

VBs не более

серии диаметров

все подшипники

обычный подшипник

необычный подшипник 2)

0, 8, 9

1, 7, 2(5), 3(6), 4

верхн.

нижн.

не более

верхн.

нижн.

 

 

До

0,6

включ.

0

-5

5

4

3

4

7

7

0

-40

-250

5

Св.

0,6

»

2,5

»

0

-5

5

4

3

4

7

7

0

-40

-250

5

»

2,5

»

10

»

0

-5

5

4

3

4

7

7

0

-40

-250

5

»

10

»

18

»

0

-5

5

4

3

4

7

7

0

-80

-250

5

»

18

»

30

»

0

-6

6

5

3

4

8

8

0

-120

-250

5

»

30

»

50

»

0

-8

8

6

4

5

8

8

0

-120

-250

5

»

50

»

80

»

0

-9

9

7

5

5

8

8

0

-150

-250

6

»

80

»

120

»

0

-10

10

8

5

6

9

9

0

-200

-380

7

»

120

»

180

»

0

-13

13

10

7

8

10

10

0

-250

-380

8

»

180

»

250

»

0

-15

15

12

8

10

11

13

0

-300

-500

10

»

250

»

315

»

0

-18

18

14

9

13

13

15

0

-350

-500

13

»

315

»

400

»

0

-23

23

18

12

15

15

20

0

-400

-630

15

1) Действительны только для желобных и глубокожелобных шариковых подшипников.

2) Действительны для внутренних и наружных колец одинарных подшипников, предназначенных для монтажа парами или по несколько штук, и для внутренних колец с коническим отверстием не менее 50 мм.

Таблица 8 - Наружное кольцо

Допуски в микрометрах

D, мм

Dmp

VDsp1)

VDmp

Kea

SD1), SD12)

Sea1), 2)

Sea12)

Cs, C1s2)

VCs, VC1s2) не более

серии диаметров

0, 8, 9

1, 7, 2(5), 3(6), 4

верхн.

нижн.

не более

верхн.

нижн.

 

 

До

2,5

включ.

0

-5

5

4

3

5

8

8

11

Равно Bs того же подшипника

5

Св.

2,5

»

6

»

0

-5

5

4

3

5

8

8

11

5

»

6

»

18

»

0

-5

5

4

3

5

8

8

11

5

»

18

»

30

»

0

-6

6

5

3

6

8

8

11

5

»

30

»

50

»

0

-7

7

5

4

7

8

8

11

5

»

50

»

80

»

0

-9

9

7

5

8

8

10

14

6

»

80

»

120

»

0

-10

10

8

5

10

9

11

16

8

»

120

»

150

»

0

-11

11

8

6

11

10

13

18

8

»

150

»

180

»

0

-13

13

10

7

13

10

14

20

8

»

180

»

250

»

0

-15

15

11

8

15

11

15

21

10

»

250

»

315

»

0

-18

18

14

9

18

13

18

25

11

»

315

»

400

»

0

-20

20

15

10

20

13

20

28

13

»

400

»

500

»

0

-23

23

17

12

23

15

23

33

15

»

500

»

630

»

0

-28

28

21

14

25

18

25

35

18

»

630

»

800

»

0

-35

35

26

18

30

20

30

42

20

1) Недействительны для подшипников с упорным бортом на наружном кольце.

2) Действительны только для желобных и глубокожелобных шариковых подшипников.

Примечание - Допуск наружного диаметра упорного борта наружного кольца D1 приведен в таблице 35.

7.1.4 Класс точности 4 (см. таблицы 9 и 10)

Таблица 9 - Внутреннее кольцо

Допуски в микрометрах

d, мм

dmp, ∆ds1)

Vdsp

Vdmp

Kia

Sd

Sia2)

Bs

VBs не более

серии диаметров

все подшипники

обычный подшипник

необычный подшипник 3)

0, 8, 9

1, 7, 2(5), 3(6), 4

верхн.

нижн.

не более

верхн.

нижн.

 

 

До

0,6

включ.

0

-4

4

3

2

2,5

3

3

0

-40

-250

2,5

Св.

0,6

»

2,5

»

0

-4

4

3

2

2,5

3

3

0

-40

-250

2,5

 

2,5

»

10

»

0

-4

4

3

2

2,5

3

3

0

-40

-250

2,5

 

10

»

18

»

0

-4

4

3

2

2,5

3

3

0

-80

-250

2,5

 

18

»

30

»

0

-5

5

4

2,5

3

4

4

0

-120

-250

2,5

 

30

»

50

»

0

-6

6

5

3

4

4

4

0

-120

-250

3

 

50

»

80

»

0

-7

7

5

3,5

4

5

5

0

-150

-250

4

 

80

»

120

»

0

-8

8

6

4

5

5

5

0

-200

-380

4

 

120

»

180

»

0

-10

10

8

5

6

6

7

0

-250

-380

5

 

180

»

250

»

0

-12

12

9

6

8

7

8

0

-300

-500

6

1) Действительны только для серий диаметров 1, 7, 2(5), 3(6) и 4.

2) Действительны только для желобных и глубокожелобных шариковых подшипников.

3) Действительны для внутренних и наружных колец одинарных подшипников, предназначенных для монтажа парами или по несколько штук.

Таблица 10 - Наружное кольцо

Допуски в микрометрах

D, мм

Dmp, ∆Ds1)

VDsp

VDmp

Kea

SD2), SD13)

Sea2), 3)

Sea13)

Cs, C1s3)

VCs, VC1s3) не более

серии диаметров

0, 8,9

1, 7, 2(5), 3(6), 4

верхн.

нижн.

не более

верхн.

нижн.

 

 

До

2,5

включ.

0

-4

4

3

2

3

4

5

7

Равно Bs того же подшипника

2,5

Св.

2,5

»

6

»

0

-4

4

3

2

3

4

5

7

2,5

»

6

»

18

»

0

-4

4

3

2

3

4

5

7

2,5

»

18

»

30

»

0

-5

5

4

2,5

4

4

5

7

2,5

»

30

»

50

»

0

-6

6

5

3

5

4

5

7

2,5

»

50

»

80

»

0

-7

7

5

3,5

5

4

5

7

3

»

80

»

120

»

0

-8

8

6

4

6

5

6

8

4

»

120

»

150

»

0

-9

9

7

5

7

5

7

10

5

»

150

»

180

»

0

-10

10

8

5

8

5

8

11

5

»

180

»

250

»

0

-11

11

8

6

10

7

10

14

7

»

250

»

315

»

0

-13

13

10

7

11

8

10

14

7

»

315

»

400

»

0

-15

15

11

8

13

10

13

18

8

1) Действительны только для серий диаметров 1, 7, 2(5), 3(6) и 4.

2) Недействительны для подшипников с упорным бортом на наружном кольце.

3) Действительны только для желобных и глубокожелобных шариковых подшипников.

Примечание - Допуск наружного диаметра упорного борта наружного кольца D1 приведен в таблице 35.

7.1.5 Класс точности Т (см. таблицы 11 и 12)

Таблица 11 - Внутреннее кольцо

Допуски в микрометрах

d, мм

dmp, ∆ds1)

Vdsp1)

Vdmp

Kia, Ki

Sd

Sia2), Si2)

Bs

VBs не более

верхн.

нижн.

не более

верхн.

нижн.

 

 

До

0,6

включ.

0

-4

4

2,5

2

2

2

0

-40

2

Св.

0,6

»

2,5

»

0

-4

4

2,5

2

2

2

0

-40

2

»

2,5

»

10

»

0

-4

4

2,5

2

2

2

0

-40

2

»

10

»

18

»

0

-4

4

2,5

2

2

2

0

-80

2

»

18

»

30

»

0

-4

4

2,5

2,5

2

2,5

0

-120

2

»

30

»

50

»

0

-4

4

2,5

2,5

2

2,5

0

-120

2

»

50

»

80

»

0

-5

5

2,5

2,5

2

2,5

0

-125

2

»

80

»

120

»

0

-5

5

2,5

2,5

2,5

2,5

0

-125

2,5

»

120

»

150

»

0

-7

7

3,5

2,5

2,5

2,5

0

-125

2,5

»

150

»

180

»

0

-7

7

3,5

5

4

5

0

-125

4

»

180

»

250

»

0

-9

9

4,5

6

5

7

0

-150

5

1) Допуски действительны только для серий диаметров 1, 7, 2(5), 3(6) и 4.

2) Действительны только для желобных и глубокожелобных шариковых подшипников.

Таблица 12 - Наружное кольцо

Допуски в микрометрах

D, мм

Dmp, ∆Ds1)

VDsp1)

VDmp

Kea, Ke

SD2), SD13)

Sea2), 3), Se2), 3)

Cs

C1s3)

VCs, VC1s3) не более

верхн.

нижн.

не более

верхн.

нижн.

 

 

До

2,5

включ.

0

-3

3

2

2

2

2

Равно Bs того же подшипника

1,5

Св.

2,5

»

6

»

0

-3

3

2

2

2

2

1,5

»

6

»

18

»

0

-3

3

2

2

2

2

1,5

»

18

»

30

»

0

-4

4

2

2,5

2

2,5

2

»

30

»

50

»

0

-4

4

2

2,5

2

2,5

2

»

50

»

80

»

0

-4

4

2

4

2

4

2

»

80

»

120

»

0

-5

5

2,5

5

2,5

5

2,5

»

120

»

150

»

0

-5

5

2,5

5

2,5

5

2,5

»

150

»

180

»

0

-7

7

3,5

5

2,5

5

2,5

»

180

»

250

»

0

-8

8

4

7

4

7

4

»

250

»

315

»

0

-10

10

5

8

6

8

5

»

315

»

400

»

0

-12

12

6

10

7

10

6

1) Действительны только для серий диаметров 1, 7, 2(5), 3(6) и 4.

2) Недействительны для подшипников с упорным бортом на наружном кольце.

3) Действительны только для желобных и глубокожелобных шариковых подшипников.

Примечание - Допуск наружного диаметра упорного борта наружного кольца D1 приведен в таблице 35.

7.1.6 Класс точности 2 (см. таблицы 13 и 14)

Таблица 13 - Внутреннее кольцо

Допуски в микрометрах

d, мм

dmp, ∆ds1)

Vdsp1)

Vdmp

Kia

Sd

Sia2)

Bs

VBs не более

все подшипники

обычный подшипник

необычный подшипник 3)

верхн.

нижн.

не более

верхн.

нижн.

 

 

До

0,6

включ.

0

-2,5

2,5

1,5

1,5

1,5

1,5

0

-40

-250

1,5

Св.

0,6

»

2,5

»

0

-2,5

2,5

1,5

1,5

1,5

1,5

0

-40

-250

1,5

»

2,5

»

10

»

0

-2,5

2,5

1,5

1,5

1,5

1,5

0

-40

-250

1,5

»

10

»

18

»

0

-2,5

2,5

1,5

1,5

1,5

1,5

0

-80

-250

1,5

»

18

»

30

»

0

-2,5

2,5

1,5

2,5

1,5

2,5

0

-120

-250

1,5

»

30

»

50

»

0

-2,5

2,5

1,5

2,5

1,5

2,5

0

-120

-250

1,5

»

50

»

80

»

0

-4

4

2

2,5

1,5

2,5

0

-150

-250

1,5

»

80

»

120

»

0

-5

5

2,5

2,5

2,5

2,5

0

-200

-380

2,5

»

120

»

150

»

0

-7

7

3,5

2,5

2,5

2,5

0

-250

-380

2,5

»

150

»

180

»

0

-7

7

3,5

5

4

5

0

-250

-380

4

»

180

»

250

»

0

-8

8

4

5

5

5

0

-300

-500

5

1) Допуски действительны только для серий диаметров 1, 7, 2(5), 3(6) и 4.

2) Действительны только для желобных и глубокожелобных шариковых подшипников.

3) Действительны для внутренних и наружных колец одинарных подшипников, предназначенных для монтажа парами или по несколько штук.

Таблица 14 - Наружное кольцо

Допуски в микрометрах

D, мм

Dmp, ∆Ds1)

VDsp1)

VDmp

Kea

SD2), SD13)

Sea2), 3)

Sea13)

Cs, ∆C1s3)

VCs, VC1s3) не более

верхн.

нижн.

не более

верхн.

нижн.

 

 

До

2,5

включ.

0

-2,5

2,5

1,5

1,5

1,5

1,5

3

Равно Bs того же подшипника

1,5

Св.

2,5

»

6

»

0

-2,5

2,5

1,5

1,5

1,5

1,5

3

1,5

»

6

»

18

»

0

-2,5

2,5

1,5

1,5

1,5

1,5

3

1,5

»

18

»

30

»

0

-4

4

2

2,5

1,5

2,5

4

1,5

»

30

»

50

»

0

-4

4

2

2,5

1,5

2,5

4

1,5

»

50

»

80

»

0

-4

4

2

4

1,5

4

6

1,5

»

80

»

120

»

0

-5

5

2,5

5

2,5

5

7

2,5

»

120

»

150

»

0

-5

5

2,5

5

2,5

5

7

2,5

»

150

»

180

»

0

-7

7

3,5

5

2,5

5

7

2,5

»

180

»

250

»

0

-8

8

4

7

4

7

10

4

»

250

»

315

»

0

-8

8

4

7

5

7

10

5

»

315

»

400

»

0

-10

10

5

8

7

8

11

7

1) Действительны только для открытых и закрытых подшипников серий диаметров 1, 7, 2(5), 3(6) и 4.

2) Недействительны для подшипников с упорным бортом на наружном кольце.

3) Действительны только для желобных и глубокожелобных шариковых подшипников.

Примечание - Допуск наружного диаметра упорного борта наружного кольца D1 приведен в таблице 35.

7.2 Роликовые конические подшипники

В настоящем пункте приведены допуски диаметра отверстия для цилиндрических отверстий. Допуски диаметра конических отверстий приведены в 7.4.

7.2.1 Класс точности 0 (см. таблицы 15 - 17)

Таблица 15 - Внутреннее кольцо

Допуски в микрометрах

d, мм

dmp

Vdsp

Vdmp

Kia, Ki

Sd

верхн.

нижн.

не более

От

10

До

18

включ.

0

-12

12

9

15

20

Св.

18

»

30

»

0

-12

12

9

18

20

»

30

»

50

»

0

-12

12

9

20

20

»

50

»

80

»

0

-15

15

11

25

25

»

80

»

120

»

0

-20

20

15

30

25

»

120

»

180

»

0

-25

25

19

35

30

»

180

»

250

»

0

-30

30

23

50

30

»

250

»

315

»

0

-35

35

26

60

35

»

315

»

400

»

0

-40

40

30

70

40

Таблица 16 - Наружное кольцо

Допуски в микрометрах

D, мм

Dmp

VDsp

VDmp

Kea, Ke

верхн.

нижн.

не более

От

18

До

30

включ.

0

-12

12

9

18

Св.

30

»

50

»

0

-14

14

11

20

»

50

»

80

»

0

-16

16

12

25

»

80

»

120

»

0

-18

18

14

35

»

120

»

150

»

0

-20

20

15

40

»

150

»

180

»

0

-25

25

19

45

»

180

»

250

»

0

-30

30

23

50

»

250

»

315

»

0

-35

35

26

60

»

315

»

400

»

0

-40

40

30

70

»

400

»

500

»

0

-45

45

34

80

»

500

»

630

»

0

-50

50

38

100

Таблица 17 - Ширина. Внутреннее и наружное кольца, однорядные подшипники и однорядные подузлы

Допуски в микрометрах

d, мм

Bs

Cs

Ts

T1s

T2s

верхн.

нижн.

верхн.

нижн.

верхн.

нижн.

верхн.

нижн.

верхн.

нижн.

От

10

До

18

включ.

0

-200

0

-200

+250

-250

+125

-125

+125

-125

Св.

18

»

30

»

0

-200

0

-200

+250

-250

+125

-125

+125

-125

»

30

»

50

»

0

-240

0

-240

+250

-250

+125

-125

+125

-125

»

50

»

80

»

0

-300

0

-300

+250

-250

+125

-125

+125

-125

»

80

»

120

»

0

-400

0

-400

+500

-500

+250

-250

+250

-250

»

120

»

180

»

0

-500

0

-500

+750

-750

+375

-375

+375

-375

»

180

»

250

»

0

-600

0

-600

+750

- 750

+375

-375

+375

-375

»

250

»

315

»

0

-700

0

-700

+750

-750

+375

-375

+375

-375

»

315

»

400

»

0

-800

0

-800

+1000

-1000

+500

-500

+500

-500

7.2.2 Нормальный класс точности (см. таблицы 18 - 20)

Таблица 18 - Внутреннее кольцо

Допуски в микрометрах

d, мм

dmp

Vdsp

Vdmp

Kia

Sd1)

верхн.

нижн.

не более

 

 

До

10

включ.

0

-12

12

9

15

20

Св.

10

»

18

»

0

-12

12

9

15

20

»

18

»

30

»

0

-12

12

9

18

20

»

30

»

50

»

0

-12

12

9

20

20

»

50

»

80

»

0

-15

15

11

25

25

»

80

»

120

»

0

-20

20

15

30

25

»

120

»

180

»

0

-25

25

19

35

30

»

180

»

250

»

0

-30

30

23

50

30

»

250

»

315

»

0

-35

35

26

60

35

»

315

»

400

»

0

-40

40

30

70

40

»

400

»

500

»

0

-45

45

34

80

-

»

500

»

630

»

0

-60

60

40

90

-

»

630

»

800

»

0

-75

75

45

100

-

»

800

»

1000

»

0

-100

100

55

115

-

»

1000

»

1250

»

0

-125

125

65

130

-

»

1250

»

1600

»

0

-160

160

80

150

-

»

1600

»

2000

»

0

-200

200

100

170

-

1) Действительны только по заказу потребителя.

Таблица 19 - Наружное кольцо

Допуски в микрометрах

D, мм

Dmp

VDsp

VDmp

Kea

верхн.

нижн.

не более

 

 

До

18

включ.

0

-12

12

9

18

Св.

18

»

30

»

0

-12

12

9

18

»

30

»

50

»

0

-14

14

11

20

»

50

»

80

»

0

-16

16

12

25

»

80

»

120

»

0

-18

18

14

35

»

120

»

180

»

0

-20

20

15

40

»

150

»

180

»

0

-25

25

19

45

»

180

»

250

»

0

-30

30

23

50

»

250

»

315

»

0

-35

35

26

60

»

315

»

400

»

0

-40

40

30

70

»

400

»

500

»

0

-45

45

34

80

»

500

»

630

»

0

-50

50

38

100

»

630

»

800

»

0

-75

80

55

120

»

800

»

1000

»

0

-100

100

75

140

»

1000

»

1250

»

0

-125

130

90

160

»

1250

»

1600

»

0

-160

170

100

180

»

1600

»

2000

»

0

-200

210

110

200

»

2000

»

2500

»

0

-250

265

120

220

Примечание - Допуск наружного диаметра упорного борта наружного кольца D1 приведен в таблице 35.

Таблица 20 - Ширина. Внутреннее и наружное кольца, однорядные подшипники и однорядные подузлы

Допуски в микрометрах

d, мм

Bs

Cs

Ts

T1s

T2s

верхн.

нижн.

верхн.

нижн.

верхн.

нижн.

верхн.

нижн.

верхн.

нижн.

 

 

До

10

включ.

0

-120

0

-120

+200

0

+00

0

+100

0

Св.

10

»

18

»

0

-120

0

-120

+200

0

+100

0

+100

0

»

18

»

30

»

0

-120

0

-120

+200

0

+100

0

+100

0

»

30

»

50

»

0

-120

0

-120

+200

0

+100

0

+100

0

»

50

»

80

»

0

-150

0

-150

+200

0

+100

0

+100

0

»

80

»

120

»

0

-200

0

-200

+200

-200

+100

-100

+100

-100

»

120

»

180

»

0

-250

0

-250

+350

-250

+150

-150

+200

-100

»

180

»

250

»

0

-300

0

-300

+350

-250

+150

-150

+200

-100

»

250

»

315

»

0

-350

0

-350

+350

-250

+150

-150

+200

-100

»

315

»

400

»

0

-400

0

-400

+400

-400

+200

-200

+200

-200

»

400

»

500

»

0

-450

0

-450

+450

-450

+225

-225

+225

-225

»

500

»

630

»

0

-500

0

-500

+500

-500

-

-

-

-

»

630

»

800

»

0

-750

0

-750

+600

-600

-

-

-

-

»

800

»

1000

»

0

-1000

0

-1000

+750

-750

-

-

-

-

»

1000

»

1250

»

0

-1250

0

-1250

+900

-900

-

-

-

-

»

1250

»

1600

»

0

-1600

0

-1600

+1050

- 1050

-

-

-

-

»

1600

»

2000

»

0

-2000

0

-2000

+1200

- 1200

-

-

-

-

7.2.3 Класс точности 6Х

Допуски и радиальное биение внутреннего и наружного колец этого класса точности соответствуют приведенным в таблицах 18 - 19 для нормального класса точности. Допуски ширины колец приведены в таблице 21.

Таблица 21 - Ширина. Внутреннее и наружное кольца, однорядные подшипники и однорядные подузлы

Допуски в микрометрах

d, мм

Bs

Cs

Ts

T1s

T2s

верхн.

нижн.

верхн.

нижн.

верхн.

нижн.

верхн.

нижн.

верхн.

нижн.

 

 

До

10

включ.

0

-50

0

-100

+100

0

+50

0

+50

0

Св.

10

»

18

»

0

-50

0

-100

+100

0

+50

0

+50

0

»

18

»

30

»

0

-50

0

-100

+100

0

+50

0

+50

0

»

30

»

50

»

0

-50

0

-100

+100

0

+50

0

+50

0

»

50

»

80

»

0

-50

0

-100

+100

0

+50

0

+50

0

»

80

»

120

»

0

-50

0

-100

+100

0

+50

0

+50

0

»

120

»

180

»

0

-50

0

-100

+150

0

+50

0

+100

0

»

180

»

250

»

0

-50

0

-100

+150

0

+50

0

+100

0

»

250

»

315

»

0

-50

0

-100

+200

0

+100

0

+100

0

»

315

»

400

»

0

-50

0

-100

+200

0

+100

0

+100

0

»

400

»

500

»

0

-50

0

-100

+200

0

+100

0

+100

0

7.2.4 Класс точности 6 (см. таблицы 22 - 24)

Таблица 22 - Внутреннее кольцо

Допуски в микрометрах

d, мм

dmp

Vdsp

Vdmp

Kia, Ki

Sd

верхн.

нижн.

не более

От

10

До

18

включ.

0

-7

7

5

7

10

Св.

18

»

30

»

0

-8

8

6

8

10

»

30

»

50

»

0

-10

10

8

10

10

»

50

»

80

»

0

-12

12

9

10

12

»

80

»

120

»

0

-15

15

11

13

12

»

120

»

180

»

0

-18

18

14

18

15

»

180

»

250

»

0

-22

22

16

20

15

»

250

»

315

»

0

-25

-

-

25

17

»

315

»

400

»

0

-30

-

-

30

20

Таблица 23 - Наружное кольцо

Допуски в микрометрах

D, мм

Dmp

VDsp

VDmp

Kea, Ke

верхн.

нижн.

не более

От

18

До

30

включ.

0

-8

8

6

9

Св.

30

»

50

»

0

-9

9

7

10

»

50

»

80

»

0

-11

11

8

13

»

80

»

120

»

0

-13

13

10

18

»

120

»

150

»

0

-15

15

11

20

»

150

»

180

»

0

-18

18

14

23

»

180

»

250

»

0

-20

20

15

25

»

250

»

315

»

0

-25

25

19

30

»

315

»

400

»

0

-28

28

21

35

»

400

»

500

»

0

-33

-

-

40

»

500

»

630

»

0

-38

-

-

50

Таблица 24 - Ширина. Внутреннее и наружное кольца, однорядные подшипники и однорядные подузлы

Допуски в микрометрах

d, мм

Bs

Cs

Ts

T1s

T2s

верхн.

нижн.

верхн.

нижн.

верхн.

нижн.

верхн.

нижн.

верхн.

нижн.

От

10

До

18

включ.

0

-200

0

-200

+250

-250

+125

-125

+125

-125

Св.

18

»

30

»

0

-200

0

-200

+250

-250

+125

-125

+125

-125

»

30

»

50

»

0

-240

0

-240

+250

-250

+125

-125

+125

-125

»

50

»

80

»

0

-300

0

-300

+250

-250

+125

-125

+125

-125

»

80

»

120

»

0

-400

0

-400

+500

-500

+250

-250

+250

-250

»

120

»

180

»

0

-500

0

-500

+750

-750

+250

-250

+400

-400

»

180

»

250

»

0

-600

0

-600

+750

-750

+250

-250

+400

-400

»

250

»

315

»

0

-700

0

-700

+750

-750

+375

-375

+400

-400

»

315

»

400

»

0

-800

0

-800

+1000

-1000

+500

-500

+500

-500

7.2.5 Класс точности 5 (см. таблицы 25 - 27)

Таблица 25 - Внутреннее кольцо

Допуски в микрометрах

d, мм

dmp

Vdsp

Vdmp

Kia

Sd

верхн.

нижн.

не более

 

 

До

10

включ.

0

-7

5

5

5

7

Св.

10

»

18

»

0

-7

5

5

5

7

»

18

»

30

»

0

-8

6

5

5

8

»

30

»

50

»

0

-10

8

5

6

8

»

50

»

80

»

0

-12

9

6

7

8

»

80

»

120

»

0

-15

11

8

8

9

»

120

»

180

»

0

-18

14

9

11

10

»

180

»

250

»

0

-22

17

11

13

11

»

250

»

315

»

0

-25

19

13

13

13

»

315

»

400

»

0

-30

23

15

15

15

»

400

»

500

»

0

-35

28

17

20

17

»

500

»

630

»

0

-40

35

20

25

20

»

630

»

800

»

0

-50

45

25

30

25

»

800

»

1000

»

0

-60

60

30

37

30

»

1000

»

1250

»

0

-75

75

37

45

40

»

1250

»

1600

»

0

-90

90

45

55

50

Таблица 26 - Наружное кольцо

Допуски в микрометрах

D, мм

Dmp

VDsp

VDmp

Kea

SD1), SD1

верхн.

нижн.

не более

 

 

До

18

включ.

0

-8

6

5

6

8

Св.

18

»

30

»

0

-8

6

5

6

8

»

30

»

50

»

0

-9

7

5

7

8

»

50

»

80

»

0

-11

8

6

8

8

»

80

»

120

»

0

-13

10

7

10

9

»

120

»

180

»

0

-15

11

8

11

10

»

150

»

180

»

0

-18

14

9

13

10

»

180

»

250

»

0

-20

15

10

15

11

»

250

»

315

»

0

-25

19

13

18

13

»

315

»

400

»

0

-28

22

14

20

13

»

400

»

500

»

0

-33

26

17

24

17

»

500

»

630

»

0

-38

30

20

30

20

»

630

»

800

»

0

-45

36

25

36

25

»

800

»

1000

»

0

-60

45

30

43

30

»

1000

»

1250

»

0

-80

65

38

52

38

»

1250

»

1600

»

0

-100

90

50

62

50

»

1600

»

2000

»

0

-125

120

65

73

65

1) Недействительны для подшипников с упорным бортом на наружном кольце.

Примечание - Допуск наружного диаметра упорного борта наружного кольца D1, приведен в таблице 35.

Таблица 27 - Ширина. Внутреннее и наружное кольца, однорядные подшипники и однорядные подузлы

Допуски в микрометрах

d, мм

Bs

Cs

Ts

T1s

T2s

верхн.

нижн.

не более

верхн.

нижн.

верхн.

нижн.

 

 

До

10

включ.

0

-200

0

-200

+200

-200

+100

-100

+100

-100

Св.

10

»

18

»

0

-200

0

-200

+200

-200

+100

-100

+100

-100

»

18

»

30

»

0

-200

0

-200

+200

-200

+100

-100

+100

-100

»

30

»

50

»

0

-240

0

-240

+200

-200

+100

-100

+100

-100

»

50

»

80

»

0

-300

0

-300

+200

-200

+100

-100

+100

-100

»

80

»

120

»

0

-400

0

-400

+200

-200

+100

-100

+100

-100

»

120

»

180

»

0

-500

0

-500

+350

-250

+150

-150

+200

-100

»

180

»

250

»

0

-600

0

-600

+350

-250

+150

-150

+200

-100

»

250

»

315

»

0

-700

0

-700

+350

-250

+150

-150

+200

-100

»

315

»

400

»

0

-800

0

-800

+400

-400

+200

-200

+200

-200

»

400

»

500

»

0

-900

0

-900

+450

-450

+225

-225

+225

-225

»

500

»

630

»

0

-1100

0

-1100

+500

-500

-

-

-

-

»

630

»

800

»

0

-1600

0

-1600

+600

-600

-

-

-

-

»

800

»

1000

»

0

-2000

0

-2000

+750

-750

-

-

-

-

»

1000

»

1250

»

0

-2000

0

-2000

+750

-750

-

-

-

-

»

1250

»

1600

»

0

-2000

0

-2000

+900

-900

-

-

-

-

7.2.6 Класс точности 4 (см. таблицы 28 - 30)

Таблица 28 - Внутреннее кольцо

Допуски в микрометрах

d, мм

dmp, ∆ds

Vdsp

Vdmp

Kia

Sd

Sia

верхн.

нижн.

не более

 

 

До

10

включ.

0

-5

4

4

3

3

3

Св.

10

»

18

»

0

-5

4

4

3

3

3

»

18

»

30

»

0

-6

5

4

3

4

4

»

30

»

50

»

0

-8

6

5

4

4

4

»

50

»

80

»

0

-9

7

5

4

5

4

»

80

»

120

»

0

-10

8

5

5

5

5

»

120

»

180

»

0

-13

10

7

6

6

7

»

180

»

250

»

0

-15

11

8

8

7

8

»

250

»

315

»

0

-18

12

9

9

8

9

Таблица 29 - Наружное кольцо

Допуски в микрометрах

D, мм

Dmp, ∆Ds

VDsp

VDmp

Kea

SD1), SD1

Sea1)

Sea1

верхн.

нижн.

не более

 

 

До

18

включ.

0

-6

5

4

4

4

5

7

Св.

18

»

30

»

0

-6

5

4

4

4

5

7

»

30

»

50

»

0

-7

5

5

5

4

5

7

»

50

»

80

»

0

-9

7

5

5

4

5

7

»

80

»

120

»

0

-10

8

5

6

5

6

8

»

120

»

180

»

0

-11

8

6

7

5

7

10

»

150

»

180

»

0

-13

10

7

8

5

8

11

»

180

»

250

»

0

-15

11

8

10

7

10

14

»

250

»

315

»

0

-18

14

9

11

8

10

14

»

315

»

400

»

0

-20

15

10

13

10

13

18

1) Недействительны для подшипников с упорным бортом на наружном кольце.

Примечание - Допуск наружного диаметра упорного борта наружного кольца D1 приведен в таблице 35.

Таблица 30 - Ширина. Внутреннее и наружное кольца, однорядные подшипники и однорядные подузлы

Допуски в микрометрах

d, мм

Bs

Cs

Ts

T1s

T2s

верхн.

нижн.

верхн.

нижн.

верхн.

нижн.

верхн.

нижн.

верхн.

нижн.

 

 

До

10

включ.

0

-200

0

-200

+200

-200

+100

-100

+100

-100

Св.

10

»

18

»

0

-200

0

-200

+200

-200

+100

-100

+100

-100

»

18

»

30

»

0

-200

0

-200

+200

-200

+100

-100

+100

-100

»

30

»

50

»

0

-240

0

-240

+200

-200

+100

-100

+100

-100

»

50

»

80

»

0

-300

0

-300

+200

-200

+100

-100

+100

-100

»

80

»

120

»

0

-400

0

-400

+200

-200

+100

-100

+100

-100

»

120

»

180

»

0

-500

0

-500

+350

-250

+150

-150

+200

-100

»

180

»

250

»

0

-600

0

-600

+350

-250

+150

-150

+200

-100

»

250

»

315

»

0

-700

0

-700

+350

-250

+150

-150

+200

-100

7.2.7 Класс точности 2 (см. таблицы 31 - 33)

Таблица 31 - Внутреннее кольцо

Допуски в микрометрах

d, мм

dmp, ∆ds

Vdsp

Vdmp

Kia

Sd

Sia

верхн.

нижн.

не более

 

 

До

10

включ.

0

-4

2,5

1,5

2

1,5

2

Св.

10

»

18

»

0

-4

2,5

1,5

2

1,5

2

»

18

»

30

»

0

-4

2,5

1,5

2,5

1,5

2,5

»

30

»

50

»

0

-5

3

2

2,5

2

2,5

»

50

»

80

»

0

-5

4

2

3

2

3

»

80

»

120

»

0

-6

5

2,5

3

2,5

3

»

120

»

180

»

0

-7

7

3,5

4

3,5

4

»

180

»

250

»

0

-8

7

4

5

5

5

»

250

»

315

»

0

-8

8

5

6

5,5

6

Таблица 32 - Наружное кольцо

Допуски в микрометрах

D, мм

Dmp, ∆Ds

VDsp

VDmp

Kea

SD1), SD1

Sea1)

Sea1

верхн.

нижн.

не более

 

 

До

18

»

0

-5

4

2,5

2,5

1,5

2,5

4

Св.

18

»

30

»

0

-5

4

2,5

2,5

1,5

2,5

4

»

30

»

50

»

0

-5

4

2,5

2,5

2

2,5

4

»

50

»

80

»

0

-6

4

2,5

4

2,5

4

6

»

80

»

120

»

0

-6

5

3

5

3

5

7

»

120

»

150

»

0

-7

5

3,5

5

3,5

5

7

»

150

»

180

»

0

-7

7

4

5

4

5

7

»

180

»

250

»

0

-8

8

5

7

5

7

10

»

250

»

315

»

0

-9

8

5

7

6

7

10

»

315

»

400

»

0

-10

10

6

8

7

8

11

1) Недействительны для подшипников с упорным бортом на наружном кольце.

Примечание - Допуск наружного диаметра упорного борта наружного кольца D1, приведен в таблице 35.

Таблица 33 - Ширина. Внутреннее и наружное кольца, однорядные подшипники и однорядные подузлы

Допуски в микрометрах

d, мм

Bs

Cs

Ts

T1s

T2s

верхн.

нижн.

верхн.

нижн.

верхн.

нижн.

верхн.

нижн.

верхн.

нижн.

 

 

До

10

включ.

0

-200

0

-200

+200

-200

+100

-100

+100

-100

Св.

10

»

18

»

0

-200

0

-200

+200

-200

+100

-100

+100

-100

»

18

»

30

»

0

-200

0

-200

+200

-200

+100

-100

+100

-100

»

30

»

50

»

0

-240

0

-240

+200

-200

+100

-100

+100

-100

»

50

»

80

»

0

-300

0

-300

+200

-200

+100

-100

+100

-100

»

80

»

120

»

0

-400

0

-400

+200

-200

+100

-100

+100

-100

»

120

»

180

»

0

-500

0

-500

+200

-250

+100

-100

+100

-150

»

180

»

250

»

0

-600

0

-600

+200

-300

+100

-150

+100

-150

»

250

»

315

»

0

-700

0

-700

+200

-300

+100

-150

+100

-150

7.2.8 Монтажная высота роликовых конических двухрядных и четырехрядных подшипников (см. таблицу 34)

Таблица 34 - Монтажная высота

d, мм

Типы подшипников

Ts, мкм

двухрядные

четырехрядные

верхн.

нижн.

верхн.

нижн.

От

18

До

30

включ.

+375

-375

-

-

Св.

30

»

50

»

+375

-375

-

-

»

50

»

80

»

+375

-375

-

-

»

80

»

120

»

+750

-750

+1000

-1000

»

120

»

180

»

+750

-750

+1000

-1000

»

180

»

250

»

+1000

-1000

+1500

-1500

»

250

»

315

»

+1000

-1000

+1500

-1500

»

315

»

400

»

+1000

-1000

+1500

-1500

»

400

»

500

»

+1000

-1000

+1500

-1500

»

500

»

630

»

+1500

-1500

+2000

-2000

»

630

»

800

»

+1500

-1500

+2000

-2000

»

800

»

1000

»

+2000

-2000

-

-

7.3 Упорный борт наружного кольца радиальных и радиально-упорных подшипников

Допуски диаметра упорного борта радиальных шариковых и роликовых, радиально-упорных шариковых и конических роликовых подшипников приведены в таблице 35.

Таблица 35 - Допуски наружного диаметра упорного борта

Допуски в микрометрах

D1 мм

D1s, мкм

фиксирующий упорный борт

не фиксирующий упорный борт

верхн.

нижн.

верхн.

нижн.

 

 

До

6

включ.

0

-36

+220

-36

Св.

6

»

10

»

0

-36

+220

-36

»

10

»

18

»

0

-43

+270

-43

»

18

»

30

»

0

-52

+330

-52

»

30

»

50

»

0

-62

+390

-62

»

50

»

80

»

0

-74

+460

-74

»

80

»

120

»

0

-87

+540

-87

»

120

»

180

»

0

-100

+630

-100

»

180

»

250

»

0

-115

+720

-115

»

250

»

315

»

0

-130

+810

-130

»

315

»

400

»

0

-140

+890

-140

»

400

»

500

»

0

-1,55

+970

-155

»

500

»

630

»

0

-175

+1100

-175

»

630

»

800

»

0

-200

+1250

-200

»

800

»

1000

»

0

-230

+1400

-230

»

1000

»

1250

»

0

-260

+1650

-260

»

1250

»

1600

»

0

-310

+1950

-310

»

1600

»

2000

»

0

-370

+2300

-370

»

2000

»

2500

»

0

-440

+2800

-440

7.4 Конические отверстия, конусность 1:12 и 1:30

7.4.1 Для конусности 1:12

Половина угла конуса α:

α = 2°23'9,4" = 2,38594° = 0,041643 рад.

Наибольший теоретический диаметр отверстия вычисляют по формуле

Для конусности 1:30

Половина угла конуса α:

α = 0°57'17,4" = 0,95484° = 0,016665 рад.

Наибольший теоретический диаметр отверстия вычисляют по формуле

Допуски конического отверстия состоят из:

- допуска среднего диаметра ∆dmp, заданного предельными отклонениями среднего диаметра наименьшего теоретического отверстия;

-допуска угла конуса ∆d1mp - ∆dmp, заданного разностью предельных отклонений средних диаметров наименьшего и наибольшего отверстий;

- допуска непостоянства диаметра Vdsp, заданного максимальным значением, относящимся к отверстию в любой радиальной плоскости отверстия.

Рисунок 4 - Номинальное коническое отверстие

Рисунок 5 - Коническое отверстие со средними диаметрами и их отклонениями

7.4.2 Значения допусков ∆dmp, ∆d1mp - ∆dmp, Vdsp приведены в таблицах 36 - 41.

Таблица 36 - Коническое отверстие, конусность 1:12, нормальный класс точности

Допуски в микрометрах

d, мм

dmp

d1mp - ∆dmp

Vdsp1), 2) не более

верхн.

нижн.

верхн.

нижн.

 

 

До

10

включ.

+22

0

+15

0

9

Св.

10

»

18

»

+27

0

+18

0

11

»

18

»

30

»

+33

0

+21

0

13

»

30

»

50

»

+39

0

+25

0

16

»

50

»

80

»

+46

0

+30

0

19

»

80

»

120

»

+54

0

+35

0

22

»

120

»

180

»

+63

0

+40

0

40

»

180

»

250

»

+72

0

+46

0

46

»

250

»

315

»

+81

0

+52

0

52

»

315

»

400

»

+89

0

+57

0

57

»

400

»

500

»

+97

0

+63

0

63

»

500

»

630

»

+110

0

+70

0

70

»

630

»

800

»

+125

0

+80

0

-

»

800

»

1000

»

+140

0

+90

0

-

»

1000

»

1250

»

+165

0

+105

0

-

»

1250

»

1600

»

+195

0

+125

0

-

1) Действительны в любой единичной радиальной плоскости отверстия.

2) Недействительны для серий диаметров 0 и 8.

Таблица 37 - Коническое отверстие, конусность 1:12, класс точности 6

Допуски в микрометрах

d, мм

dmp

d1mp - ∆dmp

Vdsp1), 2) не более

верхн.

нижн.

верхн.

нижн.

 

 

До

10

включ.

+15

0

+9

0

9

Св.

10

»

18

»

+18

0

+11

0

11

»

18

»

30

»

+21

0

+13

0

13

»

30

»

50

»

+25

0

+16

0

16

»

50

»

80

»

+30

0

+19

0

19

»

80

»

120

»

+35

0

+22

0

25

»

120

»

180

»

+40

0

+25

0

31

»

180

»

250

»

+46

0

+29

0

38

»

250

»

315

»

+52

0

+32

0

44

»

315

»

400

»

+57

0

+36

0

50

»

400

»

500

»

+63

0

+40

0

56

»

500

»

630

»

+70

0

+43

0

-

1) Действительны в любой единичной радиальной плоскости отверстия.

2) Недействительны для серий диаметров 0 и 8.

Таблица 38 - Коническое отверстие, конусность 1:12, класс точности 5

Допуски в микрометрах

d, мм

dmp

d1mp - ∆dmp

Vdsp1), 2) не более

верхн.

нижн.

верхн.

нижн.

 

 

До

10

включ.

+9

0

+6

0

9

Св.

10

»

18

»

+11

0

+8

0

11

»

18

»

30

»

+13

0

+9

0

13

»

30

»

50

»

+16

0

+11

0

16

»

50

»

80

»

+19

0

+13

0

19

»

80

»

120

»

+22

0

+15

0

22

»

120

»

180

»

+25

0

+18

0

25

»

180

»

250

»

+29

0

+20

0

29

»

250

»

315

»

+32

0

+23

0

32

»

315

»

400

»

+36

0

+25

0

36

»

400

»

500

»

+40

0

+27

0

-

1) Действительны в любой единичной радиальной плоскости отверстия.

2) Недействительны для серий диаметров 0 и 8.

Таблица 39 - Коническое отверстие, конусность 1:12, класс точности 4

Допуски в микрометрах

d, мм

dmp

d1mp - ∆dmp

Vdsp1), 2) не более

верхн.

нижн.

верхн.

нижн.

От

18

До

30

»

+9

0

+4

0

4

Св.

30

»

50

»

+11

0

+6

0

6

»

50

»

80

»

+13

0

+6

0

6

»

80

»

120

»

+15

0

+8

0

8

»

120

»

180

»

+18

0

+8

0

8

»

180

»

250

»

+20

0

+10

0

10

»

250

»

315

»

+32

0

+12

0

12

»

315

»

400

»

+36

0

+12

0

12

»

400

»

500

»

+40

0

+14

0

-

1) Действительны в любой единичной радиальной плоскости отверстия.

2) Недействительны для серий диаметров 0 и 8.

Таблица 40 - Коническое отверстие, конусность 1:12, класс точности 2

Допуски в микрометрах

d, мм

dmp

d1mp - ∆dmp

Vdsp1), 2) не более

верхн.

нижн.

верхн.

нижн.

От

18

До

30

включ.

+6

0

+2

0

2

Св.

30

»

50

»

+7

0

+3

0

3

»

50

»

80

»

+8

0

+3

0

3

»

80

»

120

»

+10

0

+4

0

4

»

120

»

180

»

+12

0

+4

0

4

»

180

»

250

»

+14

0

+5

0

5

1) Действительны в любой единичной радиальной плоскости отверстия.

2) Недействительны для серий диаметров 0 и 8.

Таблица 41 - Коническое отверстие, конусность 1:30, нормальный класс точности

Допуски в микрометрах

d, мм

dmp

d1mp - ∆dmp

Vdsp1), 2) не более

верхн.

нижн.

верхн.

нижн.

 

 

До

50

включ.

+15

0

+30

0

19

Св.

50

»

80

»

+15

0

+30

0

19

»

80

»

120

»

+20

0

+35

0

22

»

120

»

180

»

+25

0

+40

0

40

»

180

»

250

»

+30

0

+46

0

46

»

250

»

315

»

+35

0

+52

0

52

»

315

»

400

»

+40

0

+57

0

57

»

400

»

500

»

+45

0

+63

0

63

»

500

»

630

»

+50

0

+70

0

70

1) Действительны в любой единичной радиальной плоскости отверстия.

2) Недействительны для серий диаметров 0 и 8.

7.5 Упорные и упорно-радиальные одинарные и двойные подшипники

7.5.1 Нормальный класс точности (см. таблицы 42 и 43)

Таблица 42 - Тугое и среднее кольца, высота подшипника

Допуски в микрометрах

d, d2, мм

dmp, ∆d2mp

Vdsp, Vd2sp

Si

Ts

T1s

верхн.

нижн.

не более

верхн.

нижн.

верхн.

нижн.

 

 

До

18

включ.

0

-8

6

10

+20

-250

+150

-400

Св.

18

»

30

»

0

-10

8

10

+20

-250

+150

-400

»

30

»

50

»

0

-12

9

10

+20

-250

+150

-400

»

50

»

80

»

0

-15

11

10

+20

-300

+150

-500

»

80

»

120

»

0

-20

15

15

+25

-300

+200

-500

»

120

»

180

»

0

-25

19

15

+25

-400

+200

-600

»

180

»

250

»

0

-30

23

20

+30

-400

+250

-600

»

250

»

315

»

0

-35

26

25

+40

-400

-

-

»

315

»

400

»

0

-40

30

30

+40

-500

-

-

»

400

»

500

»

0

-45

34

30

+50

-500

-

-

»

500

»

630

»

0

-50

38

35

+60

-600

-

-

»

630

»

800

»

0

-75

55

40

+70

-750

-

-

»

800

»

1000

»

0

-100

75

45

+80

-1000

-

-

»

1000

»

1250

»

0

-125

95

50

+100

-1400

-

-

»

1250

»

1600

»

0

-160

120

60

+120

-1600

-

-

»

1600

»

2000

»

0

-200

150

75

+140

-1900

-

-

»

2000

»

2500

»

0

-250

190

90

+160

-2300

-

-

Примечание - Для двойных подшипников приведенные допуски действительны с d2 до 190 мм включительно.

Таблица 43 - Свободное кольцо

Допуски в микрометрах

D, мм

Dmp

Dsp

Se

верхн.

нижн.

не более

От

10

До

18

включ.

0

-11

8

Равно Si тугого кольца того же подшипника

Св.

18

»

30

»

0

-13

10

»

30

»

50

»

0

-16

12

»

50

»

80

»

0

-19

14

»

80

»

120

»

0

-22

17

»

120

»

180

»

0

-25

19

»

180

»

250

»

0

-30

23

»

250

»

315

»

0

-35

26

»

315

»

400

»

0

-40

30

»

400

»

500

»

0

-45

34

»

500

»

630

»

0

-50

38

»

630

»

800

»

0

-75

55

»

800

»

1000

»

0

-100

75

»

1000

»

1250

»

0

-125

95

»

1250

»

1600

»

0

-160

120

»

1600

»

2000

»

0

-200

150

»

2000

»

2500

»

0

-250

190

»

2500

»

2850

»

0

-300

225

Примечание - Для двойных подшипников приведенные допуски действительны с D до 360 мм включительно.

7.5.2 Класс точности 6 (см. таблицы 44 и 45)

Таблица 44 - Тугое и среднее кольца, высота подшипника

Допуски в микрометрах

d, d2, мм

dmp, ∆d2mp

Vdsp, Vd2sp

Si

Ts

T1s

верхн.

нижн.

не более

верхн.

нижн.

верхн.

нижн.

 

 

До

18

включ.

0

-8

6

5

+20

-250

+150

-400

Св.

18

»

30

»

0

-10

8

5

+20

-250

+150

-400

»

30

»

50

»

0

-12

9

6

+20

-250

+150

-400

»

50

»

80

»

0

-15

11

7

+20

-300

+150

-500

»

80

»

120

»

0

-20

15

8

+25

-300

+200

-500

»

120

»

180

»

0

-25

19

9

+25

-400

+200

-600

»

180

»

250

»

0

-30

23

10

+30

-400

+250

-600

»

250

»

315

»

0

-35

26

13

+40

-400

-

-

»

315

»

400

»

0

-40

30

15

+40

-500

-

-

»

400

»

500

»

0

-45

34

18

+50

-500

-

-

»

500

»

630

»

0

-50

38

21

+60

-600

-

-

»

630

»

800

»

0

-75

55

25

+70

-750

-

-

»

800

»

1000

»

0

-100

75

30

+80

-1000

-

-

»

1000

»

1250

»

0

-125

95

35

+100

-1400

-

-

»

1250

»

1600

»

0

-160

120

40

+120

-1600

-

-

»

1600

»

2000

»

0

-200

150

45

+140

-1900

-

-

»

2000

»

2500

»

0

-250

190

50

+160

-2300

-

-

Примечание - Для двойных подшипников приведенные допуски действительны с d2 до 190 мм включительно.

Таблица 45 - Свободное кольцо

Допуски в микрометрах

D, мм

Dmp

Dsp

Se

верхн.

нижн.

не более

От

10

До

18

включ.

0

-11

8

Равно Si тугого кольца того же подшипника

Св.

18

»

30

»

0

-13

10

»

30

»

50

»

0

-16

12

»

50

»

80

»

0

-19

14

»

80

»

120

»

0

-22

17

»

120

»

180

»

0

-25

19

»

180

»

250

»

0

-30

23

»

250

»

315

»

0

-35

26

»

315

»

400

»

0

-40

30

»

400

»

500

»

0

-45

34

»

500

»

630

»

0

-50

38

»

630

»

800

»

0

-75

55

»

800

»

1000

»

0

-100

75

»

1000

»

1250

»

0

-125

95

»

1250

»

1600

»

0

-160

120

»

1600

»

2000

»

0

-200

150

»

2000

»

2500

»

0

-250

190

»

2500

»

2850

»

 

-300

225

Примечание - Для двойных подшипников приведенные допуски действительны с D до 360 мм включительно.

7.5.3 Класс точности 5 (см. таблицы 46 и 47)

Таблица 46 - Тугое и среднее кольца, высота подшипника

Допуски в микрометрах

d, d2, мм

dmp, ∆d2mp

Vdsp, Vd2sp

Si

Ts

T1s

верхн.

нижн.

не более

верхн.

нижн.

верхн.

нижн.

 

 

До

18

включ.

0

-8

6

3

+20

-250

+150

-400

Св.

18

»

30

»

0

-10

8

3

+20

-250

+150

-400

»

30

»

50

»

0

-12

9

3

+20

-250

+150

-400

»

50

»

80

»

0

-15

11

4

+20

-300

+150

-500

»

80

»

120

»

0

-20

15

4

+25

-300

+200

-500

»

120

»

180

»

0

-25

19

5

+25

-400

+200

-600

»

180

»

250

»

0

-30

23

5

+30

-400

+250

-600

»

250

»

315

»

0

-35

26

7

+40

-400

-

-

»

315

»

400

»

0

-40

30

7

+40

-500

-

-

»

400

»

500

»

0

-45

34

9

+50

-500

-

-

»

500

»

630

»

0

-50

38

11

+60

-600

-

-

»

630

»

800

»

0

-75

55

13

+70

-750

-

-

»

800

»

1000

»

0

-100

75

15

+80

-1000

-

-

»

1000

»

1250

»

0

-125

95

18

+100

-1400

-

-

»

1250

»

1600

»

0

-160

120

25

+120

-1600

-

-

»

1600

»

2000

»

0

-200

150

30

+140

-1900

-

-

»

2000

»

2500

»

0

-250

190

40

+160

-2300

-

-

Примечание - Для двойных подшипников приведенные допуски действительны с d2 до 190 мм включительно.

Таблица 47 - Свободное кольцо

Допуски в микрометрах

D, мм

Dmp

Dsp

Se

верхн.

нижн.

не более

От

10

До

18

включ.

0

-11

8

Равно Si тугого кольца того же подшипника

Св.

18

»

30

»

0

-13

10

»

30

»

50

»

0

-16

12

»

50

»

80

»

0

-19

14

»

80

»

120

»

0

-22

17

»

120

»

180

»

0

-25

19

»

180

»

250

»

0

-30

23

»

250

»

315

»

0

-35

26

»

315

»

400

»

0

-40

30

»

400

»

500

»

0

-45

34

»

500

»

630

»

0

-50

38

»

630

»

800

»

0

-75

55

»

800

»

1000

»

0

-100

75

»

1000

»

1250

»

0

-125

95

»

1250

»

1600

»

0

-160

120

»

1600

»

2000

»

0

-200

150

»

2000

»

2500

»

0

-250

190

»

2500

»

2850

»

0

-300

225

Примечание - Приведенные допуски действительны для двойных подшипников с D до 360 мм включительно.

7.5.4 Класс точности 4 (см. таблицы 48 и 49)

Таблица 48 - Тугое и среднее кольца, высота подшипника

Допуски в микрометрах

d, d2, мм

dmp, ∆d2mp

Vdsp, Vd2sp

Si

Ts

T1s

верхн.

нижн.

не более

верхн.

нижн.

верхн.

нижн.

 

 

До

18

включ.

0

-7

5

2

+20

-250

+150

-400

Св.

18

»

30

»

0

-8

6

2

+20

-250

+150

-400

»

30

»

50

»

0

-10

8

2

+20

-250

+150

-400

»

50

»

80

»

0

-12

9

3

+20

-300

+150

-500

»

80

»

120

»

0

-15

11

3

+25

-300

+200

-500

»

120

»

180

»

0

-18

14

4

+25

-400

+200

-600

»

180

»

250

»

0

-22

17

4

+30

-400

+250

-600

»

250

»

315

»

0

-25

19

5

+40

-400

-

-

»

315

»

400

»

0

-30

23

5

+40

-500

-

-

»

400

»

500

»

0

-35

26

6

+50

-500

-

-

»

500

»

630

»

0

-40

30

7

+60

-600

-

-

»

630

»

800

»

0

-50

40

8

+70

-750

-

-

Примечание - Приведенные допуски действительны для двойных подшипников с d2 до 190 мм включительно.

Таблица 49 - Свободное кольцо

Допуски в микрометрах

D, мм

Dmp

Dsp

Se

верхн.

нижн.

не более

От

10

До

18

включ.

0

-7

5

Равно Si тугого кольца того же подшипника

Св.

18

»

30

»

0

-8

6

»

30

»

50

»

0

-9

7

»

50

»

80

»

0

-11

8

»

80

»

120

»

0

-13

10

»

120

»

180

»

0

-15

11

»

180

»

250

»

0

-20

15

»

250

»

315

»

0

-25

19

»

315

»

400

»

0

-28

21

»

400

»

500

»

0

-33

25

»

500

»

630

»

0

-38

29

»

630

»

800

»

0

-45

34

»

800

»

1000

»

0

-60

45

Примечание - Для двойных подшипников приведенные допуски действительны с D до 360 мм включительно.

7.5.5 Класс точности 2 (см. таблицы 50 и 51)

Таблица 50 - Тугое и среднее кольца

Допуски в микрометрах

d, d2, мм

dmp, ∆d2mp

Vdsp, Vd2sp

Si

верхн.

нижн.

не более

 

 

До

18

включ.

0

-7

5

1

Св.

18

»

30

»

0

-8

6

1,2

»

30

»

50

»

0

-10

8

1,5

»

50

»

80

»

0

-12

9

2

»

80

»

120

»

0

-15

11

2

»

120

»

180

»

0

-18

14

3

»

180

»

250

»

0

-22

17

3

»

250

»

315

»

0

-25

19

4

»

315

»

400

»

0

-30

23

4

»

400

»

500

»

0

-35

26

-

»

500

»

630

»

0

-40

30

-

»

630

»

800

»

0

-50

-

-

Примечание - Для двойного подшипника допускаемое значение Si равно Si соответствующего (при том же наружном диаметре) одинарного подшипника. Соответствующие диаметры отверстия d приведены в ГОСТ 3478.

Таблица 51 - Свободное кольцо

Допуски в микрометрах

D, мм

Dmp

Dsp

Se

верхн.

нижн.

не более

От

10

До

18

включ.

0

-7

5

Равно Si того же подшипника

Св.

18

»

30

»

0

-8

6

»

30

»

50

»

0

-9

7

»

50

»

80

»

0

-11

8

»

80

»

120

»

0

-13

10

»

120

»

180

»

0

-15

11

»

180

»

250

»

0

-20

17

»

250

»

315

»

0

-25

19

»

315

»

400

»

0

-28

21

»

400

»

500

»

0

-33

25

»

500

»

630

»

0

-38

29

»

630

»

800

»

0

-45

34

Примечание - Для двойного подшипника допускаемое значение Se равно Se соответствующего (при том же наружном диаметре) одинарного подшипника. Соответствующие диаметры отверстия d приведены в ГОСТ 3478.

8 Дополнительные технические требования

8.1 Допускается проводить измерение разностенности дорожек качения внутренних и наружных колец Ki и Ke вместо радиального биения колец Kia и Kea собранных подшипников:

- классов точности 4, Т и 2;

- с отверстием диаметром до 3 мм включительно и свыше 180 мм и массой более 5 кг всех классов точности;

- разъемных шариковых радиально-упорных, роликовых радиальных с цилиндрическими роликами с прямолинейной и выпуклой образующей и роликовых конических с выпуклыми поверхностями качения всех классов точности.

Допускается проводить измерение параллельности дорожек качения внутреннего и наружного колец относительно торца Si, Se вместо осевого биения колец Sia, Sea и параллельности дорожки качения наружного кольца с упорным бортом относительно опорного торца упорного борта Se1 вместо осевого биения опорного торца упорного борта наружного кольца Sea1 собранных радиальных и радиально-упорных шариковых подшипников с желобом:

- классов точности 4, Т и 2;

- с отверстием диаметром до 10 мм включительно и свыше 180 мм и массой более 5 кг классов точности 5, 4, Т и 2;

- разъемных шариковых радиально-упорных классов точности 5, 4, Т и 2.

Значения параметров Ki, Ke, Si, Se, Se1 не должны превышать уменьшенных на 15 % значений параметров Kia, Kea, Sia, Sea, Sea1 соответственно, указанных в таблицах 3 - 14, 25 - 26, 28 - 29 для перечисленных подшипников. При этом значения параметров Si, Se и Se1 для подшипников с отверстием диаметром до 10 мм включительно принимают равными значениям параметров Sia, Sea и Sea1, указанным в таблицах 7 - 14.

8.2 Допуск угла конуса d1mp - dmp конического отверстия приведен для номинальной ширины кольца.

8.3 Значения непостоянства ширины внутренних колец с коническим отверстием самоустанавливающихся подшипников и подшипников с самоустанавливающимся кольцом нормального и 6-го классов точности не установлены.

8.4 Зазоры подшипников - по ГОСТ 24810. В технически обоснованных случаях по согласованию с потребителем допускается изготовление подшипников с зазорами, значения которых установлены в технической документации, утвержденной в установленном порядке.

8.5 Наружные кольца и неразъемный комплект, состоящий из внутреннего кольца, сепаратора и шариков, разъемных радиально-упорных шариковых подшипников типа 6000 должны быть взаимозаменяемыми.

По согласованию с потребителем допускается невзаимозаменяемость наружных колец неразъемного комплекта этих подшипников классов точности 6, 5, 4, Т и 2.

Съемные кольца роликовых радиальных подшипников и комплект, состоящий из кольца, сепаратора и роликов, могут быть как взаимозаменяемыми, так и невзаимозаменяемыми.

Наружные кольца, а также внутренние кольца с комплектом тел качения роликовых конических однорядных подшипников должны быть взаимозаменяемыми.

8.6 Значения динамической и статической грузоподъемностей базовых типоразмеров подшипников и их модификаций рассчитывают по ГОСТ 18855 и ГОСТ 18854 соответственно.

8.7 90 %-ный ресурс подшипников, установленный по результатам стендовых испытаний, должен быть не менее ресурса по критерию усталостного разрушения поверхностей качения, рассчитанного по значениям динамической грузоподъемности, с учетом условий испытаний.

8.8 Подшипники должны быть размагничены. Допускаемые значения остаточной намагниченности - по технической документации, утвержденной в установленном порядке.

8.9 Подшипники должны вращаться легко, без заеданий.

8.10 Подшипники не должны иметь коррозии.

8.11 По заказу потребителя устанавливают допускаемые значения момента трения в подшипнике.

8.12 Для подшипников с уплотнениями по заказу потребителя устанавливают γ %-ный ресурс по критерию сохранения герметичности (по выделению смазки). Дополнительные технические требования к подшипникам с защитными шайбами - по ГОСТ 7242 и ГОСТ 9592, к подшипникам с уплотнениями - по ГОСТ 8882.

8.13 На поверхностях монтажных фасок не допускаются грубые токарные риски и острые кромки.

8.14 Размеры канавок под упорные пружинные кольца и размеры упорных пружинных колец - по ГОСТ 2893.

8.15 Шарики должны соответствовать требованиям ГОСТ 3722, игольчатые ролики - ГОСТ 6870, цилиндрические короткие ролики с прямолинейной образующей - ГОСТ 22696, цилиндрические длинные ролики - ГОСТ 25255, ролики со скосами на краях, конические ролики с прямолинейной образующей, ролики с выпуклой образующей всех типов (выпуклые, бомбинированные, бочкообразные) - технической документации, утвержденной в установленном порядке.

8.16 Специальные требования, отличающиеся от требований настоящего стандарта и дополняющие их, к подшипникам для авиации, железнодорожного транспорта, автомобилестроения, станкостроения, приборостроения и др. устанавливают в технических условиях на соответствующие подшипники.

8.17 По заказу потребителя на кольцах подшипников класса точности 5 и выше указывают место наибольшего биения.

8.18 На монтажных поверхностях подшипников не допускаются токарные и грубые шлифовальные риски, забоины, раковины, хромирование.

8.19 Прижоги (шлифовочные штрихи, полосы и пятна вторичной закалки и вторичного отпуска) на поверхностях качения деталей подшипников не допускаются. Размер допустимых штрихов вторичного отпуска на шариках устанавливают контрольным образцом или фотоэталоном в соответствии с технической документацией, утвержденной в установленном порядке.

8.20 Допускаемое значение забоин на монтажных фасках и состояние поверхностей монтажных фасок после термообработки устанавливают контрольным образцом или фотоэталоном, утвержденным изготовителем.

8.21 Закрепительные и стяжные втулки должны соответствовать ГОСТ 13014, ГОСТ 24208 и ГОСТ 25455, стопорные шайбы и скобы - ГОСТ 8725, гайки - ГОСТ 8530.

Допускается изготовлять закрепительные втулки, гайки и стопорные шайбы по техническим условиям, утвержденным в установленном порядке.

8.22 Значения параметров вибрации подшипников, имеющих в условном обозначении символы вибрационных разрядов, должны быть не больше соответствующих данному разряду норм вибрации, установленных в технической документации, утвержденной в установленном порядке.

9 Приемка

9.1 Подшипники подвергают контролю и испытаниям на соответствие требованиям настоящего стандарта. Контролируемые параметры, методы контроля и испытаний при изготовлении подшипников устанавливает изготовитель.

9.2 Серийно выпускаемые подшипники стандартных конструкций изготовитель подвергает периодическим стендовым испытаниям для подтверждения динамической грузоподъемности на представителях отдельных испытательных групп подшипников. Испытаниям подлежат подшипники с отверстием диаметром от 3 до 130 мм следующих типов:

- шариковые радиальные однорядные;

- шариковые радиально-упорные однорядные;

- шариковые радиальные сферические двухрядные;

- шариковые упорные;

- роликовые радиальные с короткими цилиндрическими роликами;

- роликовые радиальные сферические двухрядные;

- роликовые конические однорядные.

К одной испытательной группе относят подшипники отдельных конструктивных разновидностей одного типа по ГОСТ 3395, входящие в одну размерную группу по таблице 52.

Таблица 52 - Размерные группы

Обозначение размерной группы

Диаметр отверстия, мм

1

 

 

До

15

включ.

2

Св.

15

»

30

»

3

»

30

»

60

»

4

»

60

»

100

»

5

»

100

»

130

»

9.2.1 В одну испытательную группу допускается включение подшипников разных конструктивных разновидностей, имеющих незначительные отличия, не влияющие на контактную усталость (например, шариковый радиальный однорядный подшипник с канавками на наружном кольце, шариковый радиальный однорядный подшипник с упорным бортом и т.д.; роликовый радиальный однорядный подшипник без бортиков на внутреннем кольце, роликовый радиальный однорядный подшипнике безбортовым внутренним и плоским упорным выступающим кольцом и т.д.; роликовый радиальный однорядный подшипник с одно-бортовым внутренним и фасонным упорным кольцом, роликовый радиальный однорядный подшипник с однобортовым внутренним кольцом и плоским упорным кольцом и т.д.; шариковый радиальный однорядный подшипник с двусторонним уплотнением, шариковый радиальный однорядный подшипник с двумя уплотнениями с широким внутренним кольцом сферической наружной поверхностью наружного кольца на закрепительной втулке и т.д.).

9.2.2 Результаты проведенных по установленной методике испытаний распространяют на все типоразмеры подшипников, относящихся к одной испытательной группе.

9.2.3 Периодичность и объем испытаний, средства и методы их проведения регламентируют в технической документации на испытания подшипников, утвержденной в установленном порядке.

9.2.4 Подшипники, не указанные в 9.2, по согласованию с потребителем могут быть подвергнуты эксплуатационным испытаниям в изделиях потребителя на соответствие ресурсу.

В случае невозможности проведения эксплуатационных испытаний на соответствие назначенному ресурсу указанные подшипники подвергают испытаниям в лабораторных условиях измерительными методами (метрологическими, металлографическими, виброакустическими и др.) по технической документации на методы контроля и испытаний, утвержденной в установленном порядке.

9.3 На предприятии-изготовителе подшипники подвергают приемочному измерительному контролю.

9.4 Подшипники предъявляют для контроля партиями. Партия подшипников - некоторое количество подшипников одного типа, размера, исполнения, класса точности, предъявляемых к приемке по одному документу.

9.5 При партии до 8 шт. включительно все подшипники подвергают контролю по тем параметрам, регламентируемым настоящим стандартом, контроль которых не приводит к разрушению подшипника или снижению его работоспособности.

9.6 По техническим параметрам подшипники подвергают статистическому контролю по альтернативному признаку в соответствии с требованиями ГОСТ Р ИСО 2859-1 и технической документации на статистический приемочный контроль подшипников, утвержденной в установленном порядке.

9.7 Приемлемый уровень качества (по числу несоответствующих подшипников, отнесенному к числу проконтролированных) для подшипников с классом несоответствия C - AQL = 7,5 %, для подшипников с классом несоответствия B - AQL = 2,5 % по ГОСТ Р ИСО 2859-1.

Перечень несоответствий классов C и B устанавливают в технической документации на статистический контроль подшипников, утвержденной в установленном порядке.

9.8 Типы планов контроля при объемах партии от 9 до 150 шт. - одноступенчатые, при объемах партии свыше 150 шт. - двухступенчатые по ГОСТ Р ИСО 2859-1 и технической документации на статистический контроль подшипников, утвержденной в установленном порядке.

9.9 Твердость проверяют по одноступенчатому плану при уровне контроля S-2 по ГОСТ Р ИСО 2859-1.

9.10 Объемы выборок, приемочные числа Ac и браковочные числа Re в зависимости от объемов партии подшипников, виды контроля и приемлемый уровень качества - по ГОСТ Р ИСО 2859-1 и технической документации на статистический контроль подшипников, утвержденной в установленном порядке.

9.11 Правила отбора подшипников - по ГОСТ 18321.

9.12 При проведении входного контроля подшипников предприятие-потребитель руководствуется ГОСТ 24297.

10 Методы контроля

10.1 Контроль подшипников проводят при одинаковой температуре деталей подшипников и измерительных средств. Основные размеры подшипника или детали подшипника не должны иметь отклонения от номинального размера более чем на применяемый допуск при условии, если измерение проводят при нормальных условиях выполнения линейных и угловых измерений в соответствии с ГОСТ 8.050 и детали подшипника полностью свободны от напряжений вследствие действий внешних сил, включая измерительные нагрузки и влияние силы собственной массы. Исключением из этого правила являются нежесткие детали, где требуется ограничение их деформации во время проверки указанных размеров и допусков.

10.2 Твердость и состояние поверхностей деталей подшипников проверяют в соответствии с технической документацией, утвержденной в установленном порядке.

10.3 Шероховатость поверхностей подшипников контролируют методом сравнения с утвержденным образцом или на приборах для измерения шероховатости.

В случае разногласия решающим является измерение шероховатости поверхности на приборах.

10.4 Остаточную намагниченность подшипников контролируют на торцах наружных и внутренних колец измерительными средствами в соответствии с технической документацией, утвержденной в установленном порядке.

10.5 Легкость вращения подшипников контролируют сравнением с контрольным образцом, утвержденным предприятием-изготовителем.

Момент трения подшипников, для которых он регламентирован, контролируют на измерительных устройствах по технической документации, утвержденной в установленном порядке.

10.6 Контроль подшипников и их деталей на отсутствие коррозии осуществляют под рассеянным светом невооруженным глазом. В случае разногласия решающим является контроль под рассеянным светом при восьмикратном увеличении.

10.7 Контроль внутренних зазоров подшипников - по технической документации, утвержденной в установленном порядке.

Контроль зазоров и биений подшипников с защитными шайбами и уплотнениями проводят в соответствии с ГОСТ 7242, ГОСТ 8882, ГОСТ 9592.

10.8 Вибрацию подшипников контролируют в соответствии с ГОСТ Р 52545 и технической документацией, утвержденной в установленном порядке.

10.9 Ресурс подшипников по герметичности проверяют по технической документации, утвержденной в установленном порядке.

10.10 Приведенные в разделе схемы измерения размерных параметров применимы ко всем типам подшипников, на которые распространяется настоящий стандарт, кроме случаев, особо оговоренных в стандарте. Поверхность базирования при измерении может быть наклонной.

10.11 При подготовке подшипников к измерению любую смазку, в том числе антикоррозионную, нанесенную на подшипник, удаляют, если она влияет на результаты измерения. После завершения измерений подшипники покрывают антикоррозионной смазкой.

10.12 Максимальное измерительное усилие и минимальный радиус измерительного наконечника приведены в таблице 53.

Таблица 53

Диаметр

Номинальный диаметр, мм

Измерительное усилие1), H, не более

Радиус измерительного наконечника2) мм, не менее

Диаметр отверстия d

До 10 включ.

1,5

0,8

Св. 10

1,5

2,5

Наружный диаметр D

Все диаметры

1,5

2,5

1) Максимальное измерительное усилие предназначено для применения повторяемых измерений, не вызывающих деформацию образца. Там, где происходит деформация, можно использовать более низкое усилие.

2) Меньшие радиусы следует применять при уменьшении измерительного усилия.

Во избежание прогиба тонких колец измерительные усилия должны быть минимальными. Если имеет место деформация, то вводят коэффициент деформации для корректировки измеренного значения до значения без нагружения.

10.13 Для удержания деталей собранных подшипников в их соответствующих относительных положениях должна применяться соосная измерительная нагрузка P, приведенная в таблицах 54 и 55, для методов, где это рекомендовано.

Таблица 54 - Соосные измерительные нагрузки для шариковых радиальных и радиально-упорных подшипников с углами контакта ≤ 30°

Наружный диаметр, мм

Минимальная соосная нагрузка на подшипник P, H

 

 

До

30

включ.

5

Св.

30

»

50

»

10

»

50

»

80

»

20

»

80

»

120

»

35

»

120

»

180

»

70

»

180

 

 

 

140

Таблица 55 - Соосные измерительные нагрузки для конических роликовых и радиально-упорных шариковых подшипников с углами контакта > 30°

Наружный диаметр, мм

Минимальная соосная нагрузка на подшипник P, H

 

 

До

30

включ.

40

Св.

30

»

50

»

80

»

50

»

80

»

120

»

80

»

120

»

150

»

120

 

 

 

150

10.14 Пределы отклонений диаметра отверстий или наружного диаметра применимы к измерениям в радиальных плоскостях, расположенных в зоне измерения на расстоянии большем, чем а, от торца кольца или торца упорного борта кольца. Значения а приведены в таблице 56.

Таблица 56 - Пределы зоны измерения

Размеры в миллиметрах

rs min

a

До 0,6 включ.

rs max + 0,5

Св. 0,6

1,2rs max

10.15 Единичный диаметр отверстия внутренних (тугих) колец или собранных подшипников dsp или ds измеряют универсальными измерительными средствами или на измерительных устройствах по схемам, приведенным на рисунках 6 и 7.

Рисунок 6

Рисунок 7

Допускается базировать внутреннее (тугое) кольцо на три опоры.

Устанавливают индикатор на нуль для соответствующего размера, используя плоскопараллельные концевые меры длины или установочное кольцо. Измеряют и записывают минимальный и максимальный единичные диаметры отверстия dsp min и dsp max в нескольких угловых направлениях в единичной плоскости в пределах зоны измерения.

Повторяют измерения и записи в нескольких радиальных плоскостях для определения наибольшего ds max и наименьшего ds min единичных диаметров отверстия отдельного кольца. По результатам измерения dsp min и dsp max рассчитывают:

- средний диаметр отверстия в единичной плоскости dmp;

- отклонение среднего диаметра отверстия в единичной плоскости ∆dmp;

- непостоянство диаметра отверстия в единичной плоскости Vdsp;

- непостоянство среднего диаметра отверстия Vdmp.

По результатам измерения ds max и ds min рассчитывают:

- отклонение единичного диаметра отверстия ∆ds;

- непостоянство диаметра отверстия Vds;

- средний диаметр отверстия dm.

- отклонение среднего диаметра отверстия ∆dm.

Диаметр отверстия колец подшипников менее 10 мм допускается контролировать предельными калибрами. Размеры калибров назначают исходя из предельно допустимых отклонений среднего диаметра цилиндрического отверстия.

Допуск угла конуса конического отверстия ∆d1mp - ∆dmp определяют как разность между отклонениями средних (единичных) диаметров конического отверстия, измеренных в крайних плоскостях, или на измерительном устройстве по схеме, приведенной на рисунке 8, при этом настройку индикатора проводят по установочной мере конуса конического отверстия. Упор и наконечник индикатора устанавливают на одной образующей конической поверхности в крайних плоскостях.

Рисунок 8

Кольцо поворачивают вокруг оси не менее чем на полный оборот или проводят измерение не менее чем в трех примерно равно расположенных по окружности осевых плоскостях. За результат измерения принимают удвоенное среднее значение наибольшего и наименьшего показаний индикатора.

10.16 Единичный наружный диаметр наружных (свободных) колец или собранных подшипников Dsp или Ds измеряют универсальными измерительными средствами или на измерительных устройствах по схемам, приведенным на рисунках 9 и 10. Допускается базировать наружное (свободное) кольцо на три опоры.

Рисунок 9

Рисунок 10

Устанавливают индикатор на нуль для соответствующего размера, используя плоскопараллельные концевые меры длины или установочное кольцо. Измеряют и записывают минимальный Dsp min и максимальный Dsp max единичные наружные диаметры в нескольких угловых направлениях в единичной плоскости в пределах зоны измерения. Повторяют измерения и записи в нескольких радиальных плоскостях для определения наибольшего Ds max и наименьшего Ds min единичных наружных диаметров отдельного кольца.

По результатам измерения Dsp max и Dsp min рассчитывают:

- средний наружный диаметр в единичной плоскости Dmp;

- отклонение среднего наружного диаметра в единичной плоскости ∆Dmp;

- непостоянство среднего наружного диаметра VDmp.

По результатам измерения Ds max и Ds min рассчитывают:

- отклонение единичного наружного диаметра ∆Ds;

- непостоянство наружного диаметра VDs;

- средний наружный диаметр Dm;

- отклонение среднего наружного диаметра ∆Dm.

10.17 Единичную ширину отдельных колец или колец собранных подшипников Bs и Cs измеряют универсальными измерительными средствами или на измерительных устройствах по схемам, приведенным на рисунках 11 и 12.

Рисунок 11

Рисунок 12

Допускается базировать кольца на плоскость при измерении единичной ширины отдельных колец.

Устанавливают индикатор на нуль на соответствующей высоте от измерительной поверхности измерительного устройства, используя плоскопараллельные концевые меры длины или установочное кольцо.

Для определения наибольшей Bs max (Cs max) и наименьшей Bs min (Cs min) единичных ширин измеряемое кольцо поворачивают вокруг оси на полный оборот или измеряют ширину не менее чем в трех примерно равнорасположенных по окружности осевых плоскостях.

По результатам измерения Bs или Cs рассчитывают:

- отклонение ширины кольца ∆Bs или ∆Cs;

- непостоянство ширины кольца VBs или VCs;

- среднюю ширину кольца Bm или Cm.

10.18 Единичную ширину упорного борта наружного кольца подшипника C1s измеряют универсальными измерительными средствами или на измерительных устройствах по схеме, приведенной на рисунке 13.

Рисунок 13

Устанавливают индикатор на нуль на соответствующей высоте от измерительной поверхности измерительного устройства, используя плоскопараллельные концевые меры длины или установочную меру.

Для определения наибольшей и наименьшей единичных ширин упорного борта измеряемое кольцо поворачивают вокруг оси на полный оборот или измеряют ширину не менее чем в трех примерно равнорасположенных по окружности осевых плоскостях.

По результатам измерения C1s рассчитывают:

- отклонение единичной ширины упорного борта наружного кольца ∆C1s;

- непостоянство ширины упорного борта наружного кольца VC1s.

10.19 Действительную ширину (монтажную высоту) подшипника Ts измеряют на измерительных устройствах по схемам, приведенным на рисунках 14, 15.

Рисунок 14

Рисунок 15

Первый метод является основным методом, применяемым для измерения действительной ширины радиально-упорных или упорно-радиальных подшипников, в которых базовый торец внутреннего кольца и базовый торец наружного кольца ограничивают ширину подшипника.

Метод применим к коническим роликовым подшипникам, однорядным радиально-упорным сферическим роликовым и шариковым подшипникам, однорядным сферическим роликовым упорно-радиальным подшипникам. Данный метод измерения исключает влияние плоскостности поверхности торца кольца.

Устанавливают индикатор на нуль на соответствующей высоте от измерительной поверхности измерительного устройства, используя плоскопараллельные концевые меры длины или установочную меру. Производят несколько оборотов наружного кольца для достижения минимальной ширины и снимают показания индикатора. Для конических роликовых подшипников обеспечивают контакт роликов с опорным торцом бортика внутреннего кольца и дорожками качения. Действительная ширина (монтажная высота) подшипника Ts будет равна показаниям индикатора без известной ширины плиты.

Второй метод является альтернативным методом для измерения действительной ширины (монтажной высоты) подшипника Ts. Для крупных подшипников стабилизирующее кольцо можно не использовать. Для конических роликовых подшипников обеспечивают контакт роликов с опорным торцом бортика внутреннего кольца и дорожками качения. Данный метод измерения включает в себя влияние плоскостности поверхности базового торца наружного кольца.

Устанавливают индикатор на нуль на соответствующей высоте от измерительной поверхности измерительного устройства, используя плоскопараллельные концевые меры длины или установочную меру. Помещают стабилизирующее кольцо на широком торце наружного кольца, прикладывают динамически постоянную соосную нагрузку. Помещают наконечник индикатора на широком торце наружного кольца и снимают показания индикатора. Повторяют снятие показаний индикатора в нескольких точках по окружности подшипника и в нескольких радиальных плоскостях для определения действительной ширины (монтажной высоты) подшипника Ts. Действительной шириной (монтажной высотой) подшипника является среднее показание, снятое непосредственно с индикатора. Отклонение действительной ширины подшипника ∆Ts является разностью между действительной шириной подшипника Ts и номинальной шириной подшипника.

Действительную ширину (монтажную высоту) подшипников с отверстием не менее 180 мм допускается измерять на измерительных устройствах по схемам, приведенным на рисунках 16, 17. При этом действительную ширину (монтажную высоту) определяют как среднеарифметическое значение результатов измерений не менее чем в трех примерно равнорасположенных по окружности осевых плоскостях.

Рисунок 16

Рисунок 17

Действительную ширину (монтажную высоту) двухрядных и четырехрядных конических подшипников определяют без дистанционных колец.

10.20 Действительную высоту упорных подшипников Ts измеряют на измерительных устройствах по схемам, приведенным на рисунках 18, 19. Устанавливают индикатор на нуль на соответствующей высоте от измерительной поверхности измерительного устройства, используя плоскопараллельные концевые меры длины или установочную меру. Производят несколько оборотов колец для достижения минимальной высоты и снимают показания индикатора. Действительная высота подшипника Ts будет равна показанию индикатора без известной ширины плиты. Данный метод измерения исключает влияние отклонения от плоскостности поверхности кольца. Отклонение действительной высоты подшипника ∆Ts определяют по результатам измерения Ts.

Рисунок 18

Рисунок 19

10.21 Действительную монтажную высоту внутреннего подузла конического подшипника T1s измеряют на измерительных устройствах по схеме, приведенной на рисунке 20. Устанавливают индикатор на нуль на соответствующую высоту от измерительной поверхности измерительного устройства, используя плоскопараллельные концевые меры длины или установочную меру. Помещают наружное образцовое кольцо на внутренний подузел.

Рисунок 20

Производят несколько оборотов наружного образцового кольца для достижения минимальной высоты и снимают показания индикатора.

Действительная монтажная высота внутреннего подузла с образцовым наружным кольцом T1s равна показанию индикатора без известной ширины плиты.

10.22 Действительную монтажную высоту наружного кольца конического подшипника T2s измеряют на измерительных устройствах по схеме, приведенной на рисунке 21. Устанавливают индикатор на нуль на соответствующую высоту от измерительной поверхности измерительного устройства, используя плоскопараллельные концевые меры длины или установочную меру. Устанавливают образцовую калибр-пробку внутреннего подузла широким торцом на измерительную поверхность измерительного устройства и помещают наружное кольцо на калибр-пробку. Производят несколько оборотов наружного кольца для достижения минимальной ширины и снимают показания индикатора. Действительная монтажная высота наружного кольца с образцовой калибр-пробкой внутреннего подузла T2s равна показанию индикатора без известной ширины плиты.

Рисунок 21

10.23 Перпендикулярность торца внутреннего кольца относительно отверстия Sd отдельных колец или колец собранных подшипников измеряют двумя альтернативными методами.

Метод 1. Измерение перпендикулярности торца внутреннего кольца относительно отверстия на измерительных устройствах по схеме, приведенной на рисунке 22.

Рисунок 22

Метод наиболее применим к подшипникам и их внутренним кольцам при соотношении диаметра отверстия кольца к его ширине, меньшем четырех. Допускается вертикальное расположение оправки. При монтаже подшипника на оправке необходимо приложить достаточное, но не чрезмерное усилие для обеспечения центрирования кольца на оправке. Индикатор устанавливают на середине торца внутреннего кольца. Кольцо с оправкой поворачивают вокруг оси не менее чем на полный оборот. Перпендикулярность торца внутреннего кольца относительно отверстия Sd принимают равной разности наибольшего и наименьшего показаний индикатора.

Метод 2. Измерение перпендикулярности отверстия внутреннего кольца относительно торца на измерительных устройствах по схеме, приведенной на рисунке 23. Допускается кольцо базировать на три опоры. Данный метод, как правило, применяют для измерения больших колец, когда на измерения оказывает влияния масса подшипника или внутренних колец с отношением диаметр; отверстия к ширине кольца не менее четырех. Упор и индикатор устанавливают на одной образующей поверхности отверстия внутреннего кольца в крайних плоскостях зоны измерения. Кольцо поворачивают вокруг оси не менее чем на полный оборот. Перпендикулярность отверстия внутреннего кольца относительно торца принимают равной разности наибольшего и наименьшего показаний индикатора, которая преобразуется в перпендикулярности базового торца внутреннего кольца относительно отверстия Sd, мм, путем вычисления по формуле

где Sdr - разность между максимальным и минимальным показаниями индикатора;

d1 - средний диаметр торца внутреннего кольца;

b1 - расстояние между точками касания упора и измерительного наконечника с поверхностью кольца.

Рисунок 23

10.24 Перпендикулярность наружной поверхности наружного кольца относительно торца SD отдельных колец или собранных подшипников измеряют на измерительных устройствах по схеме, приведенной на рисунке 24. Упор и индикатор устанавливают на одной образующей наружной поверхности в крайних плоскостях зоны измерения. Наружное кольцо поворачивают вокруг оси не менее чем на полный оборот. Допускается базировать торец кольца на плоскость при измерении перпендикулярности наружной поверхности наружного кольца относительно торца отдельных колец. Параметр SD принимают равным разности наибольшего и наименьшего показаний индикатора за один оборот кольца.

Рисунок 24

10.25 Перпендикулярность наружной поверхности наружного кольца относительно опорного торца упорного борта SD1 отдельных колец или собранных подшипников измеряют на измерительных устройствах по схеме, приведенной на рисунке 25. Упор и индикатор устанавливают на одной образующей наружной поверхности в крайних плоскостях зоны измерения. Устанавливают наружное кольцо опорным торцом упорного борта на торец кольцеобразной цилиндрической опоры, оставив внутреннее кольцо свободным, если подшипник собранный. Диаметр отверстия кольцеобразной опоры должен быть равен среднему диаметру упорного борта.

1 - опорный торец упорного борта; 2 - кольцеобразная цилиндрическая опора; а - предел зоны измерения (таблица 57)
Рисунок 25

Для центрирования наружного кольца поверхность наружного диаметра устанавливают на два боковых упора, расположенных под углом 90° друг к другу. Канавки в кольцеобразной опоре должны обеспечивать доступ к боковым упорам. Наружное кольцо поворачивают вокруг оси не менее чем на полный оборот. Перпендикулярность наружной поверхности наружного кольца относительно опорного торца упорного борта SD1 есть разность между наибольшим и наименьшим показаниями индикатора.

10.26 Радиальное биение внутреннего кольца собранного подшипника шариковых однорядных радиальных (кроме сферических) и радиально-упорных, шариковых подшипников с трехточечным или четырехточечным контактом и роликовых конических подшипников Kia измеряют на измерительных устройствах по схемам, приведенным на рисунках 26 - 29. Наконечник индикатора устанавливают в плоскости середины дорожки качения. Внутреннее кольцо или внутреннее кольцо с оправкой поворачивают вокруг оси не менее чем на полный оборот, при этом наружное кольцо не должно вращаться.

Рисунок 26

Рисунок 27

Рисунок 28

Рисунок 29

Радиальное биение внутреннего кольца собранного подшипника Kia есть разность между наибольшим и наименьшим показаниями индикатора.

10.27 Радиальное биение внутреннего кольца Kia собранного роликового радиального подшипника измеряют на измерительных устройствах по схемам, приведенным на рисунках 27, 30, 31, шариковых и роликовых сферических подшипников - по схемам, приведенным на рисунках 30, 31.

Рисунок 30

Рисунок 31

Наконечник индикатора устанавливают в плоскости середины дорожки качения. Внутреннее кольцо или внутреннее кольцо с оправкой поворачивают вокруг оси не менее чем на полный оборот.

Радиальное биение внутреннего кольца собранного подшипника Kia есть разность между наибольшим и наименьшим показаниями индикатора.

10.28 Радиальное биение наружного кольца собранного подшипника Kea шариковых радиальных (кроме сферических) и радиально-упорных, шариковых подшипников с четырехточечным контактом и роликовых конических подшипников измеряют на измерительных устройствах по схемам, приведенным на рисунках 26 (кроме радиально-упорных и конических), 32, 33. Наконечник индикатора и упоры устанавливают в плоскости середины дорожки качения. Измеряемое кольцо поворачивают вокруг оси не менее чем на полный оборот.

Рисунок 32

Рисунок 33

Радиальное биение наружного кольца собранного подшипника Kea есть разность между наибольшим и наименьшим показаниями индикатора.

10.29 Радиальное биение наружного кольца собранного подшипника Kea шариковых радиальных подшипников измеряют на измерительных устройствах по схеме, приведенной на рисунке 27, роликовых радиальных - по схемам, приведенным на рисунках 27, 30, 31, шариковых и роликовых сферических - по схемам, приведенным на рисунках 30, 31. Наконечник индикатора и упоры устанавливают в плоскости середины дорожки качения. Измеряемое кольцо поворачивают вокруг оси не менее чем на полный оборот. Радиальное биение наружного кольца собранного подшипника Kea есть разность между наибольшим и наименьшим показаниями индикатора.

10.30 Асинхронное радиальное биение внутреннего кольца собранного подшипника Kiaa шариковых радиальных и радиально-упорных однорядных подшипников, шариковых подшипников с четырехточечным контактом и конических роликовых подшипников измеряют на измерительных устройствах по схеме, приведенной на рисунке 34. Устанавливают внутреннее кольцо базовым торцом на вращающуюся оправку с выступом для центрирования по отверстию и прикладывают динамически постоянную соосную нагрузку к базовому торцу наружного кольца для создания контакта между телами и дорожками качения. Предотвращают относительное вращение между внутренним кольцом подшипника и оправкой.

Рисунок 34

Для конических роликовых подшипников обеспечивают контакт роликов с опорным торцом бортика внутреннего кольца и дорожками качения.

Измерения следует проводить при вращении внутреннего кольца в обоих направлениях.

Устанавливают наконечник индикатора на наружной поверхности неподвижного наружного кольца, по возможности ближе к середине его дорожки качения. Во время многократных вращений внутреннего кольца (с оправкой) записывают наибольшие показания индикатора за каждый оборот.

Устанавливают наконечник индикатора в другом радиальном направлении наружной поверхности наружного кольца и повторяют измерения за время многократных вращений внутреннего кольца. Вновь повторяют измерения, расположив наконечник индикатора в различных радиальных направлениях на наружной поверхности наружного кольца.

Асинхронное радиальное биение внутреннего кольца собранного подшипника Kiaa есть диапазон наибольших показаний индикатора в различных неподвижных точках на наружном кольце, снятых за время многократного вращения внутреннего кольца.

10.31 Осевое биение внутреннего кольца собранного подшипника Sia шариковых однорядных радиальных и радиально-упорных подшипников, шариковых подшипников с четырехточечным контактом и конических роликовых подшипников измеряют на измерительных устройствах по схемам, приведенным на рисунках 35, 36. Устанавливают наружное кольцо базовым торцом на поверочной плите с пояском для центрирования кольца по наружному диаметру.

Рисунок 35

Рисунок 36

Прикладывают динамическую постоянную соосную нагрузку к базовому торцу внутреннего кольца для создания контакта между телами и дорожками качения. Для конических роликовых подшипников обеспечивают контакт роликов с опорным торцом бортика внутреннего кольца и дорожками качения. Наконечник индикатора устанавливают на середине базового торца внутреннего кольца. Измеряемое кольцо поворачивают вокруг оси не менее чем на полный оборот. Осевое биение внутреннего кольца собранного подшипника Sia есть разность между наибольшим и наименьшим показаниями индикатора.

Осевое биение внутреннего кольца указанных собранных подшипников допускается измерять по схеме, приведенной на рисунке 37.

Рисунок 37

Для шариковых радиальных однорядных подшипников допускается установка груза сверху на противобазовый торец кольца с расположением индикатора снизу.

Оправку с внутренним кольцом поворачивают вокруг оси не менее чем на полный оборот.

Разность между наибольшим и наименьшим показаниями индикатора не должна превышать установленное настоящим стандартом предельное значение осевого биения, умноженное на коэффициент 1,67.

10.32 Осевое биение наружного кольца собранного подшипника Sea шариковых однорядных радиальных и радиально-упорных подшипников, шариковых подшипников с четырехточечным контактом и конических роликовых подшипников измеряют на измерительных устройствах по схеме, приведенной на рисунке 38. Наконечник индикатора устанавливают на середине базового торца наружного кольца. Для шариковых радиальных однорядных подшипников с узким торцом допускается установка груза сверху на противобазовый торец кольца с расположением наконечника индикатора снизу. Измеряемое кольцо поворачивают вокруг оси не менее чем на полный оборот. Осевое биение наружного кольца собранного подшипника Sea есть разность между наибольшим и наименьшим показаниями индикатора.

Рисунок 38

10.33 Осевое биение опорного торца упорного борта наружного кольца собранного подшипника Sea1 шариковых радиальных и радиально-упорных однорядных подшипников, шариковых подшипников с четырехточечным контактом и конических роликовых подшипников с упорными бортами на наружном кольце измеряют на измерительных устройствах по схемам, приведенным на рисунках 39, 40.

Рисунок 39

Рисунок 40

Устанавливают наконечник индикатора к опорному торцу упорного борта наружного кольца посередине упорного борта и снимают показания индикатора за один оборот наружного кольца. Осевое биение опорного торца упорного борта наружного кольца собранного подшипника Sea1 есть разность между наибольшим и наименьшим показаниями индикатора.

10.34 Разностенность дорожки качения внутреннего кольца относительно отверстия Ki и разностенность дорожки качения наружного кольца относительно наружной поверхности Ke шариковых радиальных и радиально-упорных подшипников измеряют на измерительных устройствах по схемам, приведенным на рисунках 41, 42 (обе схемы равнозначны как для внутренних, так и для наружных колец). Допускается базирование измеряемого кольца на плоскость. Наконечник индикатора и упоры устанавливают в плоскости середины дорожки качения напротив одной из опор. Измеряемое кольцо поворачивают вокруг оси не менее чем на полный оборот. Разностенность дорожки качения есть разность между наибольшим и наименьшим показаниями индикатора.

Рисунок 41

Рисунок 42

10.35 Разностенность дорожки качения внутреннего кольца относительно отверстия Ki и разностенность дорожки качения наружного кольца относительно наружной поверхности Ke роликовых подшипников измеряют на измерительных устройствах по схемам, приведенным на рисунках 43, 44 (обе схемы равнозначны как для внутренних, так и для наружных колец). Допускается базировать измеряемое кольцо на три опоры по торцу.

Рисунок 43

Рисунок 44

Наконечник индикатора и упоры устанавливают в крайних плоскостях дорожки качения. Крайняя плоскость дорожки качения - радиальная плоскость, отстоящая от борта или края поверхности качения (для безбортовых колец) кольца на расстоянии, равном удвоенному значению номинального размера галтеля или координаты фаски кольца.

Измеряемое кольцо поворачивают вокруг оси не менее чем на полный оборот. Разностенность дорожки качения есть разность между наибольшим и наименьшим показаниями индикатора.

10.36 Разностенность дорожки качения внутреннего кольца относительно отверстия Ki шариковых и роликовых подшипников допускается измерять на измерительных устройствах по схеме, приведенной на рисунке 45.

Рисунок 45

Допускается вертикальное расположение оправки. Оправку с кольцом поворачивают вокруг оси не менее чем на полный оборот. Разностенность дорожки качения внутреннего кольца относительно отверстия Ki есть разность между наибольшим и наименьшим показаниями индикатора.

10.37 Разностенность дорожки качения тугого Si и свободного Se колец относительно широкого торца упорного шарикового и цилиндрического роликового подшипников измеряют на измерительных устройствах по схемам, приведенным на рисунке 46, - для тугих колец, на рисунке 47 - для центральных тугих колец, а на рисунке 48 - для свободных колец. Наконечник индикатора устанавливают на середине дорожки качения в одной осевой плоскости над одной из опор. Измеряемое кольцо поворачивают вокруг оси не менее чем на полный оборот. Разностенность дорожки качения есть разность между наибольшим и наименьшим показаниями индикатора.

Рисунок 46

Рисунок 47

Рисунок 48

10.38 Параллельность дорожки качения внутреннего Si и наружного Se колец относительно торца радиального и радиально-упорного шариковых подшипников с желобом измеряют на измерительных устройствах по схемам, приведенным на рисунках 49, 50.

Рисунок 49

Рисунок 50

Допускается базировать измеряемое кольцо на плоскость.

Параллельность дорожки качения внутреннего Si и наружного Se колец относительно торца радиального и радиально-упорного шариковых подшипников с желобом допускается измерять на приборах по схемам, приведенным на рисунках 51, 52. Кольцо базируют по дорожке качения на трех опорах. Наконечник измерителя устанавливают на середине базового торца кольца. Измеряемое кольцо поворачивают вокруг оси не менее чем на полный оборот. Параллельность дорожки качения есть разность между наибольшим и наименьшим показаниями индикатора.

Рисунок 51

Рисунок 52

10.39 Конусообразность и радиальное биение оправок, применяемых при измерении подшипников, не должны превышать значений, указанных в таблице 57.

Таблица 57

Допуски в микрометрах

Номинальный диаметр оправки, мм

Допускаемое биение оправки по всей длине

Конусообразность на длине 100 мм ±1

Класс точности подшипников

Нормальный, 0, 6Х

6

5

4

не более

 

 

До

3

включ.

2

1,5

1

0,7

8

Св.

3

»

»

30

2

1,3

0,7

0,5

8

»

30

»

»

50

2

1,5

1

0,7

10

»

50

»

»

80

3

2

1,5

1

13

»

80

 

 

 

4

2,5

1,5

1

15

10.40 Радиальный внутренний зазор измеряют в соответствии с технической документацией, утвержденной в установленном порядке, или на измерительных устройствах по схемам, приведенным на рисунках 53 (метод А) или 54 (метод Б)

Рисунок 53

Рисунок 54

Метод А. Данный метод применим ко всем радиальным подшипникам.

Закрепляют внутреннее кольцо собранного подшипника на поверочной плите с прокладкой, вставленной между внутренним кольцом и поверочной плитой. В случае со сферическими подшипниками наружное кольцо следует предотвратить от опрокидывания. Устанавливают наконечник индикатора на наружной поверхности наружного кольца в плоскости середины дорожки качения. Удерживают наружное кольцо в контакте с опорой подшипника в направлении A, стараясь не поднимать противоположную сторону.

Неоднократно перемещают наружное кольцо в данной точке вверх и вниз по оси и производят колебание по окружности (с целью перемещения шариков в нижнюю часть дорожки качения) до тех пор, пока индикатор не даст постоянное максимальное показание.

Продолжая слегка удерживать наружное кольцо в контакте с опорой подшипника в направлении A, перемещают наружное кольцо в этой точке сначала вверх, а затем вниз без перемещения по окружности. Когда шарики переместятся через нижнюю часть дорожек качения, индикатор даст максимальное показание, которое записывают.

Не меняя основного положения наружного кольца, удерживают его в контакте с подшипником в направлении B, стараясь не поднимать противоположную сторону. Неоднократно перемещают наружное кольцо в данной точке вверх и вниз и производят колебание по окружности до тех пор, пока индикатор не даст постоянное минимальное показание.

Затем, продолжая слегка удерживать наружное кольцо в контакте с опорой подшипника в направлении B, перемещают наружное кольцо в этой точке сначала вверх, а затем вниз без перемещения по окружности. Когда шарики переместятся через нижнюю часть дорожек качения, индикатор даст минимальное показание, которое записывают.

Скомпенсировать возможное отклонение от крутости наружного и внутреннего колец путем повторения одной и той же процедуры несколько раз в различных угловых положениях.

Разность между минимальным и максимальным показаниями индикатора есть измеренный радиальный внутренний зазор. Среднее значение нескольких измерений есть радиальный внутренний зазор Gr подшипника.

Предварительно смазанные подшипники и некоторые конструкции уплотнений или защитных шайб подшипников могут отрицательно повлиять на точность измерения.

Примечание - Если стрелка индикатора не показывает наибольшее и наименьшее показания соответственно, то прокладка, вероятно, слишком тонка.

Метод Б. Данный метод применим к желобным и глубокожелобным шариковым подшипникам, радиальным цилиндрическим и сферическим роликовым подшипникам.

Помещают собранный подшипник на плотно подогнанную жесткую оправку. Устанавливают индикатор A по наружной поверхности наружного кольца в плоскости середины дорожки качения. Устанавливают индикатор B на поверхности отверстия внутреннего кольца в плоскости середины дорожки качения. Приводят во вращение внутреннее кольцо и смещают наружное кольцо в радиальном направлении под измерительной нагрузкой, приблизительно составляющей 0,5 % базовой динамической грузоподъемности Cr, рассчитанной в соответствии с ГОСТ 18855. Рекомендуемые измерительные нагрузки приведены в таблице 58. Записывают средние показания индикаторов A и B. Изменяют направление радиальной нагрузки и записывают средние показания индикаторов A и B. Записывают разности A и B между двумя сериями показаний. Повторяют измерения дважды после каждого поворота кольца на 120° (всего три измерения).

Таблица 58 - Радиальные измерительные нагрузки

d, мм

Номинальная измерительная нагрузка1), H

Шариковые подшипники

Роликовые подшипники

 

 

До

30

включ.

25

50

Св.

30

»

50

»

30

60

»

50

»

80

»

35

70

»

80

»

120

»

40

80

»

120

»

200

»

50

100

1) Номинальная измерительная нагрузка не должна быть более 0,005Cor, приведенной в ГОСТ 18854.

Радиальный внутренний зазор подшипника Gr есть среднее из трех измерений. Предварительное смазывание подшипников и некоторые конструкции уплотнений или защитных шайб подшипников могут отрицательно повлиять на точность измерения.

Поскольку радиальный внутренний зазор задается без учета прикладываемой внешней нагрузки, измеренные значения следует корректировать для компенсации деформаций, которые могут возникнуть при измерении.

Скомпенсировать влияние деформации вызванной нагрузкой.

11 Маркировка

11.1 На подшипниках должна быть маркировка их условного обозначения в соответствии с ГОСТ 3189, условного обозначения предприятия-изготовителя и условного знака года выпуска.

11.2 Для всех подшипников, кроме конических, для обозначения нормального класса точности применяют знак «0». Для конических подшипников для обозначения нулевого класса точности применяют знак «0», нормального класса точности применяют знак «N», класса точности 6Х применяют знак «X».

Знак «0» маркируют только в том случае, если слева от него имеется знак маркировки.

Пример: 60-7516А1, 30-3628.

Допускается уточнение условного обозначения подшипников путем исправления отдельных знаков маркировки.

Кроме маркировки, предусмотренной настоящим стандартом, на подшипниках допускается нанесение знаков, условно обозначающих отдельные технические требования.

Допускается дополнительно маркировать на подшипниках или указывать на коробке, бандероли или в товаросопроводительной документации обозначение инофирменного аналога с указанием слова «аналог».

11.3 Подшипники, направляемые на экспорт, должны содержать дополнительную маркировку страны-изготовителя на английском языке: RUSSIA.

В контракте на поставку подшипников на экспорт при наличии требований по маркировке условного обозначения подшипников, отличного от ГОСТ 3189, допускается маркировать обозначение, оговоренное контрактом.

11.4 Маркировку наносят на любые поверхности подшипника, кроме поверхностей качения, однако маркировка не должна нарушать технические требования и нормы точности настоящего стандарта.

Для подшипников с торцевой площадкой шириной менее 2 мм:

- маркировку условного обозначения типоразмера, условного знака года выпуска и предприятия-изготовителя наносят на поверхность наружного диаметра или на упаковочную коробку;

- маркировку класса точности, отдельных технических требований, страны-изготовителя наносят на упаковочную коробку и (или) указывают в товаросопроводительной документации.

Для подшипников с защитными шайбами и уплотнениями маркировку страны-изготовителя допускается наносить на упаковочную коробку или на защитные шайбы и уплотнения.

11.5 Разъемные шариковые подшипники с невзаимозаменяемыми кольцами должны иметь маркировку, исключающую возможность перепутывания колец подшипников.

Разъемные шариковые и роликовые подшипники, кроме шариковых подшипников с отверстием диаметром не более 10 мм с невзаимозаменяемыми кольцами, должны иметь маркировку условного обозначения подшипников на каждом кольце. Допускается нанесение маркировки на одном из колец, при этом должна быть исключена возможность перепутывания колец подшипников.

Упорные шариковые подшипники с отверстием диаметром не более 10 мм и упорные шариковые подшипники классов точности 4 и 2 не маркируют. Допускается маркировку обозначения упорных шариковых подшипников с отверстием диаметром более 10 мм нормального класса точности наносить на одном из колец.

11.6 При применении одних и тех же колец для подшипников разных типоразмеров на этих кольцах допускается наносить следующую маркировку:

- для шариковых подшипников - условное обозначение подшипников через тире.

Пример:

Наружное кольцо общее для шариковых радиальных подшипников типов 25 и 34 маркируют: 25 - 34;

-для роликовых подшипников - условное обозначение типа основного подшипника.

Пример:

Внутреннее кольцо роликового подшипника 7510 с коническими роликами применяют в двухрядном подшипнике 97510 и однорядном с бортом на наружном кольце 67510. В этом случае на внутреннее кольцо наносят условное обозначение 7510.

Двухбортовое наружное кольцо роликового подшипника с цилиндрическими роликами применяют в подшипниках типов 32210, 42210, 52210 и др. В этом случае на наружное кольцо наносят условное обозначение 32210.

Полную маркировку, характеризующую конструктивную особенность подшипника, наносят на одно из спаренных колец.

Для подшипника с односторонним уплотнением или с одной защитной шайбой допускается применение уплотнения или защитной шайбы с маркировкой от аналогичных подшипников с двумя уплотнениями или защитными шайбами. Для подшипника с двумя уплотнениями или защитными шайбами допускается применение уплотнения или защитной шайбы с маркировкой от аналогичных подшипников с односторонним уплотнением или с одной защитной шайбой.

При этом маркировку типа подшипника наносят на наружном кольце или в товаросопроводительной документации.

Для модификаций базового типоразмера подшипников закрытого типа допускается использовать уплотнения и шайбы базового типоразмера подшипника и подшипников других модификаций. При этом маркировку типа подшипника наносят на наружном кольце или в товаросопроводительной документации.

11.7 Маркирование проводят любым способом, не вызывающим коррозии подшипников.

При маркировании собранных подшипников электрографическим способом электрический ток не должен проходить через тела качения.

11.8 Знаки, нанесенные на подшипниках или упаковочных коробках, должны быть выполнены четко и разборчиво.

12 Упаковка, транспортирование и хранение

12.1 Консервацию и упаковывание подшипников для защиты от коррозии проводят в соответствии с технической документацией на консервацию и упаковывание подшипников, утвержденной в установленном порядке. Срок хранения определяют в зависимости от способа консервации и упаковывания.

В технически обоснованных случаях способ консервации должен быть согласован между предприятием-изготовителем и потребителем.

12.2 Подшипники должны быть извлечены потребителем из транспортной тары, храниться только в упаковке предприятия-изготовителя в закрытом, отапливаемом, вентилируемом помещении при температуре (20 ± 5)°С, относительной влажности воздуха не более 60 % и, по возможности, на торцах.

В технически обоснованных случаях правила и сроки хранения должны быть согласованы между предприятием-изготовителем и потребителем.

12.3 В случае истечения гарантийного срока хранения подшипников у потребителя допускается их переконсервация и упаковывание на предприятии - изготовителе подшипников. Переконсервацию и упаковывание подшипников проводят в соответствии с технической документацией на консервацию и упаковывание подшипников, утвержденной в установленном порядке.

12.4 Подшипники наружным диаметром до 300 мм и массой до 8 кг классов точности 5, 4, Т и 2 должны быть упакованы в коробки.

Приборные подшипники наружным диаметром до 30 мм всех классов точности должны быть упакованы в коробки. При этом подшипники классов точности 6, 5, 4, Т и 2 предварительно упаковывают в пластмассовые пробирки или полиэтиленовые пакеты.

Допускается по заказу потребителя упаковывание подшипников другим способом, обеспечивающим защиту подшипников от коррозии.

12.5 Коробки после укладки в них подшипников могут быть оклеены бандеролью.

Подшипники во внутренней упаковке в соответствии с технической документацией, утвержденной в установленном порядке, или коробки с подшипниками для транспортирования упаковывают в ящики по ГОСТ 2991, ГОСТ 9142, ГОСТ 16148, ГОСТ 24634.

Подшипники массой свыше 8 кг или диаметром свыше 300 мм упаковывают в ящики без коробки.

Ящики должны быть выстланы внутри битумной бумагой по ГОСТ 515 или полимерной пленкой по ГОСТ 10354, ГОСТ 16272 или другими материалами, обеспечивающими сохранность подшипников.

12.6 Допускается применять другие виды транспортной тары, обеспечивающие сохранность подшипников, внутренней упаковки, не допускающие попадания внутрь капельно-жидкой влаги и не выделяющие коррозионно-активных веществ.

12.7 Допускается перевозка подшипников массовым потребителям (по согласованию с ними) в многооборотной таре, железнодорожных, автомобильных и речных контейнерах, в крытых железнодорожных вагонах во внутренней упаковке (без упаковывания в ящиках). При вагонной отгрузке подшипники должны быть пакетированы.

12.8 При укладке подшипников в ящик или контейнер пустоты между коробками с подшипниками и стенками ящика должны быть заполнены вспомогательными материалами, не вызывающими коррозию и повреждение подшипников.

12.9 В каждый ящик или контейнер (при упаковывании подшипников без ящиков) должен быть вложен сопроводительный документ (паспорт).

12.10 Коробки или бандероли, сопроводительный документ (паспорт), вкладываемый в ящик, должны иметь надписи:

- наименование или товарный знак предприятия-изготовителя;

- условное обозначение подшипников;

- знаки дополнительных технических требований (при наличии);

- количество подшипников;

- дату консервации (месяц, год);

- обозначение настоящего стандарта или обозначение по 8.16.

Примечание - Обозначение настоящего стандарта или обозначение по 8.16 указывают с годом их принятия.

12.11 Транспортную тару следует маркировать в соответствии с требованиями ГОСТ 14192. Маркировку наносят на ярлык или непосредственно на ящик.

Дополнительно под основными надписями должно быть нанесено:

- наименование изделия;

- условное обозначение подшипников;

- обозначение настоящего стандарта или обозначение по 8.16;

- число подшипников;

- манипуляционные знаки по ГОСТ 14192: «Хрупкое. Осторожно», «Беречь от влаги».

Допускается дополнительные информационные надписи при длине грузового места до 0,5 м включительно наносить шрифтом высотой знаков до 15 мм.

Примечание - Обозначение настоящего стандарта или обозначение по 8.16 указывают с годом их принятия.

12.12 Транспортирование подшипников следует проводить только в закрытых транспортных средствах (вагонах, автомашинах, трюмах, самолетах).

Крупногабаритные подшипники допускается транспортировать на открытых транспортных средствах при условии дополнительной защиты ящиков от попадания атмосферных осадков.

Допускается транспортировать подшипники в ящиках, пакетированных и уложенных по определенной схеме на поддоне или без него, обтянутых металлической лентой или другим материалом, обеспечивающим неизменность форм пакета и сохранность подшипников при транспортировании.

13 Указания по применению и эксплуатации

13.1 Применение и эксплуатация подшипника должны осуществляться в строгом соответствии с назначением и эксплуатационными показателями данного конструктивного исполнения, размера и класса точности подшипника.

13.2 В изделиях при применении и эксплуатации подшипников без встроенных уплотнений должны быть приняты необходимые меры для защиты подшипника от попадания в него посторонних частиц, возникновения коррозии на деталях подшипников и для своевременного пополнения предусмотренным смазочным материалом.

13.3 Технические требования к посадочным поверхностям под подшипники - по ГОСТ 3325 или стандартам на подшипники без одного или обоих колец, содержащим указанные требования.

13.4 Расконсервацию подшипников проводят в соответствии с технической документацией изготовителя на хранение, расконсервацию подшипников и обращение с ними, утвержденной в установленном порядке.

14 Гарантии изготовителя

14.1 Изготовитель гарантирует соответствие подшипников требованиям настоящего стандарта при соблюдении условий транспортирования, хранения, применения и эксплуатации.

14.2 Гарантийный срок эксплуатации подшипников в изделиях, кроме опытных изделий, должен быть не менее гарантийного срока эксплуатации изделий, подтвержденного эксплуатационными (натурными) испытаниями и истекающего одновременно с истечением гарантийного срока эксплуатации на это изделие при соблюдении условий монтажа, правил применения и эксплуатации.

14.3 Гарантийный срок хранения подшипников - 12 мес, а подшипников, упакованных в полиэтиленовую пленку, - 24 мес со дня консервации (месяц, год) при соблюдении условий транспортирования и хранения, установленных настоящим стандартом.

Приложение А
(справочное)

Иллюстрация допусков на размер диаметров

А.1 Диаметры отверстий

А.1.1 Единичный диаметр отверстия ds или dsp

Имеется т единичных плоскостей для отдельной детали и n единичных диаметров отверстия (измеряемые размеры) в единичной плоскости (рисунок А.1, таблица А.1).

Рисунок А.1 - Единичные плоскости 1, 2 и i и единичные диаметры отверстия

Таблица А.1 - Единичные диаметры отверстия

Номер плоскости

Измеренный размер

1

ds11, ds12, ds13,..., ds1j,..., ds 1n

2

ds11, ds12, ds13,..., ds1j,..., ds 2n

3

ds11, ds12, ds13,..., ds1j,..., ds 3n

·····

·············································

i

ds11, ds12, ds13,..., ds1j,..., ds in

·····

·············································

m

ds11, ds12, ds13,..., ds1j,..., ds mn

Примечание - ds ij обозначает любой единичный диаметр j в единичной плоскости i.

A.1.2 Средний диаметр отверстия dm

Средний диаметр отдельной детали представлен как среднеарифметическое значение наивысшего максимального и среднеарифметическое значение наинизшего минимального значений всех единичных диаметров отверстия, полученных для отдельной детали в виде следующего уравнения.

dm = [max(ds11, ds12, ds13,..., ds1j, ..., ds mn) + min(ds11, ds12, ds13, ..., ds1j, ..., ds mn)]/2.

Отдельная деталь имеет только одно значение для dm.

Примечание - max(а1, a2, a3, ....., an) означает максимальные значения а1, a2, a3, ....., an.

min(а1, a2, a3, ....., an) означает минимальные значения а1, a2, a3, ....., an.

А.1.3 Средний диаметр отверстия в единичной плоскости dmp

Средний диаметр отверстия детали в единичной плоскости представляет собой среднеарифметическое значение максимального и минимального диаметров в любой единичной плоскости, как представлено в следующих уравнениях (см. таблицу А.2). Этот параметр в каждой единичной плоскости имеет одно значение.

Таблица А.2 - Средние диаметры отверстия в единичной плоскости

Номер плоскости

dmp

Уравнение

1

dmp 1

[max(ds 11.....ds 1n) + min(ds 11...ds 1n)]/2

2

dmp 2

[max(ds 21.....ds 2n) + min(ds 21...ds 2n)]/2

3

dmp 3

[max(ds 31.....ds 3n) + min(ds 31...ds 3n)]/2

·····

 

····························································

i

dmp i

[max(ds i1.....ds in) + min(ds i1.....ds in)]/2

·····

 

····························································

m

dmp m

[max(ds m1...ds mn) + min(ds m1...ds mn)]/2

A.1.4 Непостоянство среднего диаметра отверстия в единичной плоскости Vdmp

Непостоянство среднего диаметра отверстия в единичной плоскости есть разность между максимальным и минимальным значениями средних диаметров отверстия в единичной плоскости для всех плоскостей отдельной детали. Этот параметр имеет одно значение для отдельной детали и может означать показатель цилиндричности.

Vdmp = max(dmp1, dmp2, dmp3, ....., dmpm) - min(dmp1, dmp2, dmp3, ..., dmpm).

A.1.5 Непостоянство диаметра отверстия в единичной плоскости Vdsp

Термин «непостоянство диаметра отверстия в единичной плоскости» указывает на разность между максимальным и минимальным значениями среди единичных диаметров отверстия, измеренных в единичной плоскости (см. таблицу А.3). Этот параметр имеет более одного значения для отдельной детали и может означать показатель крутости.

Таблица А.3 - Непостоянство диаметров отверстия в единичной плоскости

Номер плоскости

Vdsp

Уравнение

1

Vdsp 1

[max(ds 11.....ds 1n) - min(ds 11...ds 1n)]

2

Vdsp 2

[max(ds 21.....ds 2n) - min(ds 21...ds 2n)]

3

Vdsp 2

[max(ds 31.....ds 3n) - min(ds 31...ds 3n)]

·····

··········

····························································

i

Vdsp i

[max(ds i1.....ds in) - min(ds i1.....ds in)]

·····

··········

····························································

m

Vdp m

[max(ds m1...ds mn) - min(ds m1...ds mn)]

A.1.6 Непостоянство диаметра отверстия Vds

Непостоянство диаметра отверстия есть разность между максимальным и минимальным из всех единичных диаметров отверстия (измеряемые величины), полученных для отдельной детали. Отдельная деталь имеет только одно значение Vds.

Vds = max(ds 11, ds 12, ds 13, .....,ds mn) - min(ds 11, ds 12, ds 13, ..., ds mn).

A.2 Наружные диаметры

Допуски на размер наружного диаметра получены так же, как и для диаметров отверстия в А.1. Параметрами эквивалентного наружного диаметра являются:

- единичный наружный диаметр Ds или Dsp;

- средний наружный диаметр Dm;

- средний наружный диаметр в единичной плоскости Dmp;

- непостоянство наружного диаметра в единичной плоскости VDsp;

- непостоянство наружного диаметра VDs.

Приложение Б
(справочное)

Соответствие классов точности

Соответствие классов точности подшипников по настоящему стандарту классам точности по международным стандартам и национальным стандартам приведено в таблицах Б.1 - Б.3.

Таблица Б.1 - Шариковые и роликовые радиальные и радиально-упорные шариковые подшипники

Класс точности по

настоящему стандарту

ГОСТ 520

ИСО 492[1]

ДИН 620 [2]

AFBMA Стандарт 20 [3]

JISBB1514 [4]

Нормальный

Нормальный

Нормальный

Р0

АВЕС-1
RBEC-1

0

6

6

6

Р6

АВЕС-3
RBEC-3

6

5

5

5

Р5

АВЕС-5
RBEC-5

5

4

4

4

Р4

АВЕС-7

4

Т

Т

-

-

-

-

2

2

2

Р2

АВЕС-9

2

Таблица Б.2 - Роликовые конические подшипники

Класс точности по

настоящему стандарту

ГОСТ 520

ИСО 492[1]

ДИН 620 [2]

AFBMA Стандарт 19.1 [5]

JISB B1514 [4]

0

0

-

-

-

-

Нормальный

Нормальный

Нормальный

Р0

K

0

Р6Х

N

6

6

-

-

-

6

5

5

5

Р5

C

5

4

4

4

Р4

B

4

2

-

2

-

A

-

-

2

-

-

-

-

Таблица Б.3 - Упорные и упорно-радиальные подшипники подшипники

Класс точности по

настоящему стандарту

ГОСТ 520

ИСО 199 [6]

ДИН 620 [2]

Нормальный

Нормальный

Нормальный

Р0

6

6

6

Р6

5

5

5

Р5

4

4

4

Р4

2

2

-

-

Библиография

[1]

ИСО 492:2002 Подшипники качения. Радиальные подшипники. Допуски

[2]

ДИН 620-1988 Часть 2. Подшипники качения. Допуски для радиальных подшипников

[3]

AFBMA Стандарт 20-1987. Подшипники радиальные шариковые, цилиндрические и сферические. Метрическая конструкция

[4]

JISB В 1514 Допуски для подшипников качения

[5]

AFBMA Стандарт 19.1-1987. Подшипники конические роликовые. Метрическая конструкция

[6]

ИСО 199-2005 Подшипники качения. Упорные подшипники. Допуски

Ключевые слова: подшипник качения, класс точности, динамическая грузоподъемность, статическая грузоподъемность, ресурс, наружное кольцо, внутреннее кольцо

 




Яндекс цитирования



   Copyright © 2007-2026,  www.tehlit.ru.

[ ѓосты, стандарты, нормативы, инструкции, правила, строительные нормы ]