//
ТехЛит.ру
- крупнейшая бесплатная электронная интернет библиотека для "технически умных" людей.
WWW.TEHLIT.RU - ТЕХНИЧЕСКАЯ ЛИТЕРАТУРА

:: Алготрейдинг::


АЛГОТРЕЙДИНГ
шаг за шагом
с нуля по урокам!

Торговые роботы на PYTHON, BackTrader,
Pandas, Pine Script для TradingView. Связка с брокерами, телеграм и легкими приложениями.


ГОСУДАРСТВЕННЫЙ СТАНДАРТ СОЮЗА ССР

ПОКРОВЫ ЗАЩИТНЫЕ КАБЕЛЕЙ

КОНСТРУКЦИЯ И ТИПЫ, ТЕХНИЧЕСКИЕ ТРЕБОВАНИЯ И МЕТОДЫ ИСПЫТАНИЙ

ГОСТ 7006-72

 

КОМИТЕТ СТАНДАРТИЗАЦИИ И МЕТРОЛОГИИ СССР

Москва

 

 

ГОСУДАРСТВЕННЫЙ стандарт СОЮЗА ССР

ПОКРОВЫ ЗАЩИТНЫЕ КАБЕЛЕЙ

Конструкция и типы, технические требования и методы испытаний

Protective coverings of cables.
Design and types, technical requirements and test methods

ГОСТ
7006-72

Срок действия с 01.01 75

до 01.01 95

Настоящий стандарт распространяется на защитные покровы, предназначенные для защиты кабелей от механических повреждений и от коррозии в течение срока службы кабелей, установленного в нормативно-технической документации на конкретные изделия.

Стандарт не распространяется на защитные покровы маслонаполненных кабелей.

1. КОНСТРУКЦИЯ И ТИПЫ

1.1. Конструкция элементов защитного покрова и их обозначения должны соответствовать указанным в табл. 1.

Таблица 1

Конструкция элементов защитного покрова

Обозначение

Подушка

1. Без подушки

б

2. а) битумный состав или битум

б) крепированная бумага или кабельная пропитанная

в) битумный состав или битум

г) крепированная бумага или кабельная пропитанная

д) битумный состав или битум

Без обозначения

3. а) битумный состав или битум

б) крепированная бумага или кабельная пропитанная

в) битумный состав или битум

г) пропитанная кабельная пряжа или стеклянная пряжа из штапелированного волокна

д) битумный состав или битум

Без обозначения

4. а) битумный состав или битум

б) ленты полиэтилентерефталатные

в) крепированная бумага или кабельная пропитанная

г) битумный состав или битум

д) крепированная бумага или кабельная пропитанная

е) битумный состав или битум

л

5. а) битумный состав или битум

б) ленты полиэтилентерефталатные

в) крепированная бумага или кабельная пропитанная

г) битумный состав или битум

д) пропитанная кабельная пряжа или стеклянная пряжа из штапелированного волокна

е) битумный состав или битум

л

6. а) битумный состав или битум

б) ленты полиэтилентерефталатные

в) крепированная бумага или кабельная пропитанная

г) битумный состав или битум

д) ленты полиэтилентерефталатные

е) крепированная бумага или кабельная пропитанная

ж) битумный состав или битум

7. а) битумный состав или битум

б) ленты полиэтилентерефталатные

в) крепированная бумага или кабельная пропитанная

г) битумный состав или битум

д) ленты полиэтилентерефталатные

е) пропитанная кабельная пряжа или стеклянная пряжа из штапелированного волокна

ж) битумный состав или битум

7а. а) битумный состав или битум

б) ленты полиэтилентерефталатные

в) лента поливинилхлоридная

г) стеклянная пряжа из штапелированного волокна или стеклолента;

нл

8. а) битумный состав, вязкий подклеивающий состав или битум

б) (Исключен. Изм. № 3).

в) выпрессованный полиэтиленовый защитный шланг

г) крепированная бумага или кабельная пропитанная

д) битумный состав или битум

е) крепированная бумага или кабельная пропитанная

ж) битумный состав или битум

п

9. а) битумный состав, вязкий подклеивающий состав или битум

б) лента полиэтилентерефталатная

в) выпрессованный поливинилхлоридный защитный шланг

г) крепированная бумага или кабельная пропитанная

д) битумный состав или битум

е) крепированная бумага или кабельная пропитанная

ж) битумный состав или битум

в

Броня

10. Броня из стальных или стальных оцинкованных лент

Б

11. (Исключен, Изм. № 3).

 

12. Броня из стальных оцинкованных круглых проволок

К

Наружный покров

13. а) битумный состав или битум, или вязкий подклеивающий состав

б) пропитанная кабельная пряжа или стеклянная пряжа из штапелированного волокна

в) битумный состав или битум, или вязкий подклеивающий состав

г) покрытие, предохраняющее витки кабеля от слипания

Без обозначения

14. а) негорючий состав

б) стеклянная пряжа из штапелированного волокна

в) негорючий состав

г) покрытие, предохраняющее витки кабеля от слипания

н

15. а) битумный состав, вязкий подклеивающий состав или битум

б) лента поливинилхлоридная, полиэтилентерефталатная или другая равноценная

в) выпрессованный полиэтиленовый защитный шланг

Шп

16. а) битумный состав, вязкий подклеивающий состав и или битум

б) лента полиэтилентерефталатная

в) выпрессованный поливинилхлоридный защитный шланг

Шв

17. Без наружного покрова

Г

Примечания:

1. Допускается применение в подушках л, 2л, в поливинилхлоридных, полиэтиленовых лент. При применении в подушках л, 2л полиэтилентерефталатных лент допускается по согласованию с потребителем исключение крепированной или кабельной пропитанной бумаги (пп. 4в; 5в; 6в; 7в).

2. Допускается применение стальной гофрированной брони. Требования к броне и методы ее испытаний должны быть указаны в нормативно технической документации на кабели определенных марок. При этом бумага и битумный состав или битум в подушке по защитному шлангу не накладываются.

3. Допускается сохранение индекса «П» без замены на индекс «К» в марках силовых и контрольных кабелей по действующей нормативно-технической документации при соответствии защитных покровов кабелей требованиям к покровам с броней «К».

(Измененная редакция, Изм. № 3, 4).

1.2. Типы защитных покровов кабелей должны соответствовать указанным в табл. 2.

Преимущественные области и температурный, диапазон применения защитных покровов указываются в технической документации на кабели определенных марок.

Таблица 2

Тип защитного покрова

Элементы конструкции защитного покрова

 

Подушка

Броня

Наружный покров

БбГ

б

Б

 

БГ

Табл. 1, п. 2, п. 1.5

В

Г

БлГ

л (табл. 1, п. 4)

Б

г

Б2лГ

2л (табл. 1, п. 6)

Б

г

БилГ

нл (табл. 1, п. 7а)

Б

г

БпГ

п

Б

г

БвГ

в

Б

г

Б

Табл. 1, п. 2, п. 1.5

Б

Табл. 1, п. 13

Бл

л (табл. 1, п. 4)

Б

Табл. 1, п. 13

Кл

л (табл. 1, п. 5)

К

Табл. 1, п. 13

Б2л

2л (табл.. 1, п. 6)

Б

Табл. 1, п. 13

Бп

п

Б

Табл. 1, п. 13

Бв

в

Б

Табл. 1, п. 13

Бн

Табл. 1, п. 2, п. 1.5

Б

н

Блн

л (табл. 1, п. 4)

Б

н

Б2лн

2л (табл. 1, п. 6)

Б

н

БбШп; Шп

б

Б, без брони

Шп

БШп

Табл. 1, п. 2

Б

Шп

БлШп

л (табл. 1, п. 4)

Б

Шп

Б2лШп

2л (табл. 1, п. 6)

Б

Шп

БпШп или КпШп

П

Б или К

Шп

БбШв; Шв

б

Б, без брони

Шв

БШв

Табл. 1, п. 2

Б

Шв

БлШв

л (табл. 1 п. 4)

Б

Шв

Б2лШв

2л (табл. 1, п. 6)

Б

Шв

БвШв

в

Б

Шв

Кп

п

К

Табл. 1, п. 13

К

Табл. 1, п. 3 п. 1.5

К

Табл. 1, п. 13

Кн

Табл. 1, п. 3

К

н

КГ

Табл. 1, п. 3

К

Г

К2л

2л (табл. 1, п. 7)

К

Табл. 1, п. 13

КбШв

б

К

Шв

Клн

л (табл. 1, п. 5)

К

н

К2лн

2л (табл. 1, п. 7)

К

н

КлГ

л. (табл. 1, п. 5)

к

Г

К2лГ

2л (табл. 1, п. 7)

к

Г

Примечания:

1. Для кабелей в неметаллической оболочке подушка покровов типов Б; БГ; Бн, должна быть наложена без первого и второго слоев битумного состава или битума.

2. В покрове типа Бв допускается наложение подушки без пластмассовых лент.

3. Допускается наложение наружных покровов типа Шп без пластмассовых лент.

4. Для кабелей связи с защитными покровами шлангового типа в качестве поливочного состава по металлической оболочке или броне под шланг должен применяться вязкий подклеивающий состав, или пластичный битум, или масса битумная кабельная

5. В защитных покровах типов БбШп и БбШв в случае применения брони с цинковым покрытием и в защитном покрове типа КбШв битумный состав, вязкий подклеивающий состав, битум и пластичный битум, а также пластмассовые ленты не накладываются.

(Измененная редакция, Изм. № 2, 3, 4).

1.3. Типы защитных покровов, предназначенные для различных оболочек кабелей, должны соответствовать указанным в табл. 3.

Таблица 3

Типы защитных покровов для различных оболочек кабелей

Кабель, не подвергающийся значительным растягивающим усилиям

Кабель подвергающийся значительным растягивающим усилиям

Оболочки кабелей

Свинцовая

Алюминиевая

Стальная гофрированная

Неметаллическая

Без оболочки

Свинцовая

Алюминиевая

Без оболочки

Б

 

 

 

 

 

 

 

Бп

Бл;

Шв;

БГ;

БбШв;

К

КпШп

КбШв

Бл;

БлШп;

Шп

БбГ;

БбШп

Кл

Кп

 

Б2л;

Шв;

 

Бн;

 

К2л

К2л

 

Б2лШп;

Б2л;

 

Б

 

КГ

Клн

 

Б2лШв;

Шп;

 

БбШп

 

Кн

К2лн

 

БШп;

Бп;

 

БбШв

 

Клн

КлГ

 

БШв;

Бв;

 

 

 

К2лн

К2лГ

 

БГ;

БлШв;

 

 

 

 

 

 

БлГ;

БпШп;

 

 

 

 

 

 

Б2лГ;

Б2лШв;

 

 

 

 

 

 

Шв;

БвШв;

 

 

 

 

 

 

БлШв;

Б2лШп;

 

 

 

 

 

 

Бн;

БлГ;

 

 

 

 

 

 

Блн;

Блн;

 

 

 

 

 

 

Б2лн;

Б2лГ;

 

 

 

 

 

 

БвГ;

БШп;

 

 

 

 

 

 

Шп;

БпГ;

 

 

 

 

 

 

БпШп

БвГ;

 

 

 

 

 

 

БпГ

БнлГ

 

 

 

 

 

 

(Измененная редакция, Изм. № 3, 4).

1.4. В трехжильных кабелях с отдельными свинцовыми оболочками на каждой из них должен быть защитный покров, состоящий из следующих слоев:

а) битумного состава или битума;

б) полиэтилентерефталатных лент;

в) крепированной или пропитанной кабельной бумаги.

Скрученные жилы могут быть обмотаны тканевой лентой или пропитанными кабельной бумагой или пряжей.

1.5. Подушка для кабелей, имеющих отдельные свинцовые оболочки на каждой жиле, должна состоять из следующих слоев:

а) битумного состава или битума;

б) пропитанной кабельной пряжи или стеклянной пряжи из штапелированного волокна;

в) битумного состава или битума.

1.4, 1.5. (Измененная редакция, Изм. № 2).

1.6. Номинальная толщина брони должна соответствовать указанной в табл. 4.

1.1 - 1.6. (Измененная редакция, Изм. № 1).

1.7. Броня из оцинкованных стальных проволок должна накладываться поверх подушки кабеля сплошным повивом.

Суммарный просвет между проволоками не должен превышать одного диаметра проволоки.

(Измененная редакция, Изм. № 3).

1.8. (Исключен, Изм. № 3).

1.9. В одножильных кабелях переменного напряжения проволоки брони должны быть разделены не менее чем на четыре части немагнитным материалом.

(Измененная редакция, Изм. № 2).

1.10. Взамен брони из стальных лент толщиной 0,3 мм допускается применение брони из стальных лент толщиной 0,5 мм или брони из стальных оцинкованных проволок диаметром 1,4 - 1,8 мм.

Для кабелей с диаметром оболочки 13 - 20 мм допускается применение двух бронелент толщиной 0,3 мм, если это предусмотрено в нормативно-технической документации на кабели определенных марок.

Допускается для кабелей, имеющих в марках индекс «П», применение для брони проволоки диаметром не менее 2,0 мм для кабелей с диаметром по оболочке (поясной изоляции) до 37 мм включ. и не менее 2,2 мм - для остальных кабелей.

(Измененная редакция, Изм. № 1, 3, 4).

Таблица 4

мм

Тип защитного покрова

Диаметр кабеля по оболочке*

до 13

св. 13 до 16

св. 16 до 37

св. 37 до 50

св. 50

Число, толщина лент и диаметр проволоки брони, не менее

Б; Бл; Бп; Бн; Блн; Б2лн БШп; БШв; Б2лШп; БпШп; Б2лШв; БГ; БлГ; Б2лГ; БпГ; БлШп; БлШв; Бв; БвГ; Б2л; БвШв

2´0,3

2´0,5

2´0,5

2´0,5

2´0,8

БбШв; БбШп

2´0,3

2´0,3

2´0,3

2´0,3

2´0,3

БбГ

1´0,3

1´0,3

1´0,5

1´0,5

1´0,5

К; Кл; КпШп; Кп; Кн; К2л; КГ; КбШв; Клн; К2лн; КлГ; К2лГ

1,4-2,8

1,6-2,8

4

4-6

6

_________

* Для кабелей без оболочки диаметр должен измеряться по поясной изоляции или по скрутке отдельно освинцованных жил.

(Измененная редакция, Изм. № 3).

1.11. Минимальная толщина подушки и наружного покрова должна соответствовать указанным в табл. 5.

Таблица 5

мм

Тип защитного покрова

Диаметр кабеля по оболочке

до 20

св. 20 до 30

св. 30 до 40

св. 40 до 50

св. 50 до 60

св. 60

 

Минимальная толщина подушки

Б, Бн, БШп, БШв, БГ, Бл, Блн, БлГ, БлШв, БлШп, Б2л, Б2лн, Б2лШп, Б2лШв, Б2лГ

1,5

1,5

1,5

1,5

1,5

1,5

К;Кл; К2л; Клн; К2лн; КлГ; К2лГ; КГ; Кн

2,0

2,0

2,0

2,0

2,0

2,0

БпШп, КпШп, БвШв, БпГ, БвГ, Бп, Бв, Кп

2,5

2,6

2,8

2,9

3,1

3,2

БнлГ

1,6

1,6

1,6

1,6

1,6

1,6

 

Минимальная толщина наружного покрова

Б, К, Бл, Кл, Б2л, Бн, Блн, Б2лн, Бп, Бв; Кп; К2л; Клн; К2лн; Кн

2,0

2,0

2,0

2,0

2,0

2,0

БбШп, Шп, БШп, БпШп, КпШп, Б2лШп, БлШп

по металлической оболочке

1,6

1,6

1,6

1,8

2,0

2,2

 

по броне

1,7

1,9

2,1

2,3

2,5

2,7

БбШв, Щв, БШв, БвШв, Б2лШв, БлШв, КбШв

1,8

2,0

2,2

2,4

2,6

3,1

Примечания:

1. Для кабелей в неметаллической оболочке с покровами типов Б; БГ; Бн минимальная толщина подушки должна быть не менее 1,0 мм.

2. Для кабелей без оболочки диаметр должен измеряться по поясной изоляции.

3. Для трехжильных кабелей с отдельными свинцовыми оболочками диаметр должен измеряться поверх скрученных жил.

(Измененная редакция, Изм. № 3, 4).

1.12. Номинальная толщина пластмассового защитного шланга, наложенного в подушке под броней и поверх брони или металлической оболочки, должна соответствовать указанной в табл. 6.

Таблица 6

мм

Диаметр кабеля по оболочке

Номинальная толщина пластмассового защитного шланга

в подушке под броней

поверх брони

поверх металлической оболочки

полиэтиленовый шланг

поливинилхлоридный шланг

полиэтиленовый шланг

поливинилхлоридный шланг

До 20

1,4

1,7

1,8

1,4

1,8

Св. 20 до 30

1,4

1,8

2,0

1,4

2,0

» 30 » 40

1,6

2,1

2,2

1,6

2,2

» 40 » 50

1,7

2,4

2,4

1,9

2,4

» 50 » 60

1,9

2,7

2,6

2,2

2,6

» 60

2,2

2,8

3,1

2,3

3,1

Предельное отклонение толщины защитного шланга - минус 15 % + 0,1 мм плюсовый допуск не нормируется.

Для кабелей связи допускается увеличение номинальной толщины защитного шланга, если это предусмотрено в нормативно-технической документации на кабели определенных марок.

1.11-1.12. (Измененная редакция, Изм. № 1, 2, 4).

2. ТЕХНИЧЕСКИЕ ТРЕБОВАНИЯ

2.1. Ленточная броня защитных покровов типов БГ; БлГ; Б2лГ; БнлГ; БвГ; БпГ и БбГ должна быть с предварительно нанесенным цинковым покрытием.

Допускается применять стальные неоцинкованные ленты (за исключением защитного покрова типа БнлГ) покрытые битумом в процессе наложения брони на кабель с последующим нанесением покрытия, предотвращающего витки кабеля от слипания.

(Измененная редакция, Изм. № 2, 3).

2.2. Броня из двух стальных лент должна быть наложена так, чтобы верхняя лента перекрывала зазоры между витками нижней ленты.

Броня покрова типа БбГ должна быть профилирована и наложена «взамок».

2.3. Пластмассовый защитный шланг должен плотно прилегать к синтетическим лентам (пластмассовым лентам).

2.4. Пластмассовый защитный шланг при отсутствии в подушке или наружном покрове синтетических лент должен обеспечивать плотное прилегание битума, битумного состава или вязкого подклеивающего состава к металлической оболочке.

Битум, битумный состав, пластичный битум, вязкий подклеивающий состав должны обладать адгезией к металлической оболочке.

(Измененная редакция, Изм. № 1, 2, 3).

2.5. Пластмассовый защитный шланг должен быть герметичен.

2.6. Пластмассовый защитный шланг не должен иметь вмятин, трещин и рисок, выводящих его толщину за предельное отклонение.

2.7. Поливинилхлоридные, полиамидные, полиэтилентерефталатные и другие равноценные ленты должны быть наложены с перекрытием не менее 10 мм для кабелей с диаметром по оболочке 25 мм и выше и с перекрытием не менее 20 % от ширины ленты для кабелей с диаметром по оболочке до 25 мм.

2.8. Кабельная пряжа и кабельная бумага должны быть предварительно пропитаны антисептическим составом АС-2, содержание которого в пропитанной пряже и кабельной бумаге должно быть не менее 4 %.

2.7, 2.8 (Измененная редакция, Изм. № 1, 3, 5).

2.9. Битумный состав, битум или пластичный битум покровов типов Б; К; Бп; БШп; БпШп; КпШп; Бв; БШв; БвШв; Кп не должен вытекать при температуре плюс 50 °С.

Битумный состав, битум или пластичный битум покровов типов Бл; Б2л; Кл; БГ; БлГ; Б2лГ; БпГ; БвГ; БбШп; Б2лШп; БбШв; Б2лШв; Шп; Шв; БлШп; БлШв, К2л; КлГ; К2лГ; КГ; КбШв не должен вытекать при температуре плюс 60 °С.

Негорючий состав покровов типов Бн; Блн; Б2лн; Клн; К2лн; Кн не должен вытекать при температуре 45 °С.

В покровах кабелей связи допускается применение битума, битумного состава или вязкого подклеивающего состава с температурой невытекания не ниже 50 °С.

Битумный состав или битум во всех типах защитных покровов, наложенных на силовые кабели напряжением до 3 кВ, кроме кабелей с резиновой изоляцией не должен вытекать при температуре плюс 70 °С.

(Измененная редакция, Изм. № 1, 2, 3).

2.10. Слой битума, битумного состава, пластичного битума и вязкого подклеивающего состава, наложенный по металлической оболочке, должен быть сплошным по окружности и длине.

(Измененная редакция, Изм. № 2).

2.11. Наружный покров должен быть холодоустойчивым.

2.12. Наружный покров типов Бн; Блн; Б2лн; Кн; Клн; К2лн; КбШв; БбШв; БШв; БлШв; Б2лШв; БвШв; Шв и в случае применения стальной оцинкованной бронеленты покровы типов БГ; БлГ; Б2лГ; БпГ; БвГ; БнлГ не должны распространять горение.

2.13. Подушка покровов типов Б2л; К2лГ; К2лн; К2л; Б2лн; Б2лШп; Б2лШв; Б2лГ должна выдерживать испытание постоянным напряжением 5 кВ или переменным напряжением 2 кВ частотой 50 Гц в течение 1 мин.

2.14. Кабели с защитными покровами, за исключением кабелей с покровами типов Б; К; Бн; Кн; КлГ; КГ; БГ; БлГ; БбГ должны проходить последовательно испытание на изгиб, истирание и циклический нагрев в солевой ванне. Кабели с защитными покровами типов Б2лГ; К2лГ; БпГ; БвГ должны проходить испытания на изгиб и циклический нагрев в солевой ванне. После указанных испытаний электрическое сопротивление защитного покрова при температуре (20 ± 5) °С должно быть не менее указанных величин в табл. 7.

Таблица 7

Наружный диаметр кабеля, мм

Защитный покров

Электрическое сопротивление защитного покрова, МОм×км

От 11 до 30

Полиэтиленовый шланговый

10,0

 

Ленточный и ПВХ-шланговый

0,06

От 30 до 60

Полиэтиленовый шланговый

4,1

 

Ленточный и ПВХ-шланговый

0,025

От 60 и выше

Полиэтиленовый шланговый

2,5

 

Ленточный и ПВХ-шланговый

0,015

2.12 - 2.14. (Измененная редакция, Изм. № 2, 3, 4).

2.15. Для кабелей, требующих постоянного контроля электрического сопротивления защитных покровов в процессе эксплуатации, нормы сопротивления, методы проверки и правила приемки (количество строительных длин и периодичность) должны указываться в стандартах или технических условиях на кабели определенных марок. Для кабелей связи в алюминиевых и стальных гофрированных оболочках измерение сопротивления защитных покровов должно производиться на каждой строительной длине кабеля в состоянии поставки, если в стандартах или технических условиях на кабели определенных марок не указано, что измерение электрического сопротивления защитного покрова должно производиться на другом количестве строительных длин (процент отбора строительных длин для испытаний).

Результаты измерений должны быть внесены в протокол испытаний, прикладываемый к барабану с кабелем.

2.16. Разрывная прочность и относительное удлинение при разрыве пластмассового защитного шланга должны составлять не менее 75 % от величины этих характеристик, указанных в стандартах или технических условиях на материал соответствующей марки.

2.16а*. Поливинилхлоридный защитный шланг должен быть стойким к деформации при повышенной температуре.

_________

* Требование вводится с 01.01.92.

(Введен дополнительно, Изм. № 4).

2.17. Битум, битумный состав и вязкий подклеивающий состав не должны взаимодействовать с синтетическими материалами.

Материалы, применяемые для изготовления подушки защитного покрова кабелей, должны быть некоррозионно-активными по отношению к металлической оболочке и броне.

2.18. Материалы, применяемые для изготовления защитных покровов, должны соответствовать:

пряжа кабельная

- ОСТ 17-05-047-2001

лента стальная и стальная оцинкованная

- ГОСТ 3559-75

лента из углеродистой стали холоднокатаная резанная

- ГОСТ 19851-74

лента холоднокатаная из низкоуглеродистой стали

- ГОСТ 503-81

проволока круглая стальная оцинкованная

- ГОСТ 1526-81

антисептический состав АС-2

- ТУ 2416-007-05773103-98

бумага кабельная крепированная марки БКК

- ТУ 5456-004-05773101-98

бумага кабельная для изоляции силовых кабелей на напряжение до 35 кВ включительно

- ГОСТ 23436-83

композиции полиэтилена

- ГОСТ 16336-77

мел

- ГОСТ 12085-88

слюда дробленая

- ГОСТ 19571-74

пластикат поливинилхлоридный

- ГОСТ 5960-72

ленты полиэтилентерефталатные

- ГОСТ 24234-80

ленты поливинилхлоридные

- ГОСТ 16272-79

стеклолента марки ЛЭС

- ГОСТ 5937-81

В качестве битума, битумного состава, вязкого подклеивающего состава должны применяться:

битум марки БНД 60/90

- ГОСТ 22245-90

битум марок БН 70/30 и БН 90/10

- ГОСТ 6617-76

битум марки БНИ-IV

- ГОСТ 9812-74

Кроме того, для изготовления защитных покровов должны применяться пряжа пенько-джутовая, пряжа стеклянная штапелированная, жесть холоднокатаная черная неполированная отожженная, состав негорючий битум нефтяной пластичный БЗК, масса кабельная специальная, полугудрон по нормативно-технической документации.

По согласованию с потребителем допускается применение других равноценных материалов.

2.17, 2.18. (Измененная редакция, Изм. № 1, 2, 3, 5).

3. ПРАВИЛА ПРИЕМКИ

3.1. Для проверки защитных покровов на соответствие требованиям настоящего стандарта устанавливаются приемо-сдаточные, периодические и типовые испытания.

3.2. Приемо-сдаточные испытания на соответствие требованиям пп. 1.3-1.12; 2.1; 2.2 (визуальный осмотр); 2.3; 2.5; 2.6; 2.7; 2.10 и 2.13 должны проводиться на каждой строительной длине кабеля.

Проверка на соответствие требованию пп. 2.6 и 2.10 должна производиться при наложении защитного покрова.

3.3. Периодические испытания защитных покровов на соответствие требованиям пп. 2.2 (изгибание кабеля); 2.9 и 2.16 должны проводиться не реже одного раза в три месяца на трех образцах каждого типа защитного покрова, взятых от разных строительных длин партии.

Периодические испытания на соответствие требованиям п. 2.8 должны проводиться не реже одного раза в три месяца на трех бобинах или рулонах пропитанной кабельной пряжи или бумаги, отобранных от партии.

Периодические испытания на соответствие требованиям пп. 2.4 и 2.12 должны проводиться не реже одного раза в год на двух образцах каждого типа защитного покрова, взятых от разных строительных длин партии.

При получении неудовлетворительных результатов испытаний хотя бы по одному показателю для кабелей и по п. 2.8 для пропитанных кабельной пряжи и бумаги по этому показателю должны быть проведены повторные испытания удвоенного количества строительных длин кабелей или образцов пропитанной кабельной пряжи и бумаги от той же партии.

При получении неудовлетворительных результатов повторной проверки хотя бы на одном образце все строительные длины партии должны быть подвергнуты испытанию на соответствие требованию, по которому были получены неудовлетворительные результаты, а вся партия пропитанных пряжи и бумаги подвергнута вторичной пропитке.

За партию принимают количество пропитанных кабельной пряжи и бумаги и кабелей с одинаковыми типами защитных покровов, предназначенных для одновременной сдачи.

3.4. Типовые испытания проводят на соответствие всем требованиям настоящего стандарта по программе, утвержденной в установленном порядке.

3.1-3.4. (Измененная редакция, Изм. № 2).

4. МЕТОДЫ ИСПЫТАНИЙ

4.1. Испытания должны проводиться при температуре окружающего воздуха 25 ± 10 °С, относительной влажности 65 ± 15 % и атмосферном давлении 720 - 780 мм рт. ст., если не указаны другие условия.

4.2. Проверка конструктивных элементов защитных покровов и их размеров по пп. 1.3-1.12; 2.6 и 2.7 должна производиться по ГОСТ 12177-79.

4.3. Наличие покрытия на ленточной броне (п. 2.1) и битумного покрытия на металлической оболочке (п. 2.10) должно быть проверено визуально.

(Измененная редакция, Изм. № 2).

4.4. Проверка качества наложения брони (п. 2.2) должна проводиться визуально после снятия наружного покрова до брони и изгибания вокруг цилиндра образца кабеля, взятого на расстоянии не менее 1 м от конца строительной длины. Диаметр цилиндра, на который навивается образец кабеля, должен быть равен 15-кратному диаметру кабеля. Длина образца кабеля должна быть не менее длины окружности цилиндра. При этом считать образцы выдержавшими испытание, если после изгибания верхняя лента брони не открывает зазоры между витками нижней ленты. В случае наложения одной ленты не должно происходить раскрытия замка.

(Измененная редакция, Изм. № 3).

4.5. Плотность прилегания пластмассового шланга (п. 2.3) должна быть проверена на образце кабеля длиной не менее 200 мм осмотром внутренней поверхности шланга, на котором должны быть видны отпечатки ленты.

4.6. Плотность прилегания пластмассового защитного шланга при наложении подушки или наружного покрова без пластмассовых лент (п. 2.4) должна быть проверена в растворе на образце кабеля длиной не менее 1,5 м следующим методом.

Образец кабеля предварительно изгибают на цилиндре, диаметр которого указан в табл. 10.

В защитное шланге должны быть высверлены четыре отверстия диаметром 10 мм на расстоянии (100 ± 2) мм друг от друга по длине образца; отверстия должны быть расположены по окружности под углом 90° друг к другу. На участках, c которых удален шланг, с поверхности металлической оболочки должен быть полностью удален битум, битумный состав или вязкий подклеивающий состав. Образец, которому должна быть придана U-образная форма с радиусом кривизны изогнутой части не менее установленного в методике на изгиб (п. 4.14), помещают в ванну, содержащую раствор массовой концентрации сульфата натрия 1 %. Концы образца должны находиться над поверхностью раствора; та часть образца, на которой в шланге высверлены отверстия, должна быть погружена в раствор на глубину не менее 500 мм. Отрицательный полюс источников напряжения постоянного тока должен быть присоединен к металлической оболочке, а положительный - к металлической пластинке, помещенной в раствор.

Величина напряжения - 100 В. Образец должен находиться в растворе (100 ± 2) ч.

Сопротивлением, отдельным для каждого образца (40 кОм - для кабелей с наружным диаметром до 25 мм или 10 кОм - для остальных кабелей) должно поддерживаться постоянное значение тока (2,5 мА для сопротивления 40 кОм и 10 мА для сопротивления 10 кОм).

Образец должен быть вынут из раствора, пластмассовый шланг вместе с битумом, битумным составом или вязким подклеивающим составом должен быть удален.

На металлической оболочке не должно быть видно следов коррозии на расстоянии более 10 мм от участка, соответствующего высверленному отверстию в шланге.

Адгезия битума, битумного состава, пластичного битума, вязкого подклеивающего состава к металлической оболочке (п. 2.4) должна быть проверена по ГОСТ 6997-77.

________

* Требование по адгезии к стальной ленте вводится с 01.01.90.

(Измененная редакция, Изм. № 4).

4.7. Герметичность пластмассового защитного шланга (п. 2.5), наложенного поверх металлической оболочки, брони или под броней, должна быть проверена на строительной длине кабеля одним из методов:

1) испытание на герметичность в воде (стационарно или на проход).

При стационарных испытаниях кабель должен быть погружен в воду при температуре (20 ± 10) °C.

Концы испытываемых изделий, покрытые изоляцией, должны выступать над поверхностью воды не менее, чем на 200 мм. Ко всем виткам кабельного изделия должен быть обеспечен надежный доступ воды. Причем броня или металлическая оболочка должны быть доступны для подачи на них напряжения и надежно изолированы от воды.

Пластмассовый защитный шланг в течение 1 мин должен выдержать испытания постоянным напряжением, равным 8 кВ на 1 мм номинальной толщины шланга, или переменным напряжением частотой 50 Гц, равным 3,2 кВ на 1 мм номинальной толщины. Максимальные испытательные постоянное или переменное напряжения должны быть равны соответственно 25 и 10 кВ.

Водные испытания на проход должны проводиться в процессе наложения шлангов или при перемотке кабеля. При этом защитный шланг должен выдержать испытание переменным или импульсным напряжением частотой следования импульсов не менее 50 Гц, равным 10 кВ на 1 мм номинальной толщины Максимальное испытательное напряжение 20 кВ. Время приложения испытательного напряжения не менее 2 с.

Испытательное напряжение в течение всего времени испытания должно поддерживаться с допустимым отклонением ± 5 %;

2) испытание на герметичность напряжением на проход.

Пластмассовый защитный шланг должен выдержать испытание переменным напряжением с пиковым значением 6 кВ частотой не менее 50 Гц или импульсным с частотой следования импульсов не менее 50 Гц, или постоянным напряжением, равным 9 кВ на 1 мм номинальной толщины, приложенным между металлической оболочкой (броней) и электродом. Максимальные испытательные переменное, импульсное и постоянное напряжения должны быть равны соответственно 18, 26 и 27 кВ. Время приложения испытательного напряжения не менее 0,06 с.

Испытательное напряжение в течение всего времени испытания должно поддерживаться с допустимым отклонением ± 5 %.

(Измененная редакция, Изм. № 1, 2, 3).

4.8. Содержание антисептического состава АС-2 (п. 2.8) в кабельной пряже и кабельной бумаге определяют после их предварительной пропитки методом потенциометрического титрования экстрагента, полученного из образцов пропитанной пряжи или бумаги по следующей методике.

Образец кабельной пряжи или бумаги разрезают на отрезки или полоски соответственно длиной 50 - 60 мм или шириной 3 - 5 мм. Затем отбирают навеску пряжи или бумаги в количестве 4 - 5 г. взвешенную с погрешностью не более 0,0002 г на лабораторных весах по ГОСТ 24104-2001.

При экстрагировании применяют бензол по ГОСТ 5955-75.

Для экстрагирования используют экстракционный аппарате объемом колбы не более 200 мл и емкостью сборника не более 85 мл.

Экстрагирование проводят до получения чистого бензола. Бензол из насадки не должен попасть в колбу с экстрагентом.

Количество экстрагента в колбе не должно превышать 30 мл. После проведения экстрагирования полученный экстракт остужают до комнатной температуры и добавляют равное по объему количество этилового спирта.

Титрование приготовленных проб проводят 1,0 н. спиртовым раствором соляной кислоты.

Для измерения потенциала используют потенциометр или рН-метр любого типа с ценой деления не более 5 мВ, чувствительностью не ниже 2 мВ и диапазоном измерения не менее 500 мВ.

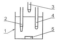
Схема устройства для титрования представлена на черт. 1.

1 - стеклянный стакан; 2 - электрод сравнения; 3 - бюретка;
4 - стеклянный электрод; 5 - мешалка

Черт. 1

Для титрования применяют бюретку емкостью 2 - 10 мл с иеной деления не более 0,1 мл.

Титрование проводят следующим образом.

В стакан для титрования наливают приготовленный экстракт. Стакан устанавливают на магнитную мешалку и помешают в пего электроды. Включают мешалку.

Бюретку заполняют 1,0 н. спиртовым раствором соляной кислоты и помещают в штатив так, чтобы конец бюретки находился на расстоянии 20 - 25 мм от поверхности титруемого раствора. Отмечают начальный уровень раствора в бюретке и начальное показание потенциометра, затем прибавляют небольшими порциями (по 0,1 мл) 1,0 н. спиртовой раствор соляной кислоты. После добавления каждой порции соляной кислоты фиксируют показания потенциометра. Титрование заканчивают, когда потенциал после добавления 0,2 мл соляной кислоты изменяется менее, чем на 5 мВ.

Вычерчивают кривую титрования, откладывая на оси ординат показания потенциометра Е в милливольтах, а на оси абсцисс - объем добавленного раствора V в миллилитрах. За точку эквивалентности принимают точку перегиба кривой титрования.

На черт. 2 представлен характерный вид кривой титрования.

Черт. 2

Содержание антисептика А, в процентах, в пряже или бумаге определяют по формуле

%,

где  - количество 1,0 н. спиртового раствора соляной кислоты, идущего на титрование навески пряжи или бумаги, мл;

0,53 - количество Na2СО3, г, соответствующее количеству в мл точно 1,0 н. спиртового раствора соляной кислоты, идущего yа титрование 1 г антисептика (соответствует показателю «общая щелочность» антисептика АС-2, равному 10 %);

М - навеска пряжи или бумаги, г.

Содержание антисептика определяют как среднее значение по трем измерениям.

(Измененная редакция, Изм. № 1, 2, 3, 4, 5).

4.9. Испытание на невытекание битума (битумного, вязкого подклеивающего или негорючего составов) (п. 2.9) должно проводиться на образце кабеля длиной 250-300 мм. Для исключения вытекания пропиточного состава из изоляции кабеля образец обматывается с торцов резиновой или пластмассовой лентой. Битумное покрытие по стальной неоцинкованной ленте (п. 2.1) должно быть предварительно снято.

С образцов кабелей с защитными покровами типов БШп; Б2лШп; БпШп; КпШв; БШв; БлШп; Б2лШв; БвШв; Шп; Шв; БбШв; КбШв; БлШв; БбШп предварительно перед испытанием должен быть удален защитный покров до металлической оболочки или брони (в покровах типов БбШв; КбШв; БбШп) с обоих концов на расстоянии (40 ± 5) мм. С оболочки или брони должны быть удалены остатки битума. Образец выдерживают в горизонтальном положении в термостате в течение 4 ч при температурах, указанных в п. 2.9.

При этом битумный состав не должен вытекать.

(Измененная редакция, Изм. № 3, 4).

4.10. Испытание на холодоустойчивость (п. 2.11) покровов типов Б; Бн; К; Кн; Клн; К2лн; К2л; Бл; Блн; Кл; Б2л; Б2лн; Бп; Бв; Кп должно проводиться путем выдерживания образцов кабеля длиной 200-250 мм в холодильной камере при температуре минус (40 ± 2) °С в течение 2 ч. Затем при той же температуре образец кабеля подвергают трехкратному удару грузом массой не менее 3 кг при его свободном падении с высоты (200 ± 10) мм. Допускается осыпание битума, битумного и негорючего составов в виде мелких частиц или пыли.

Груз должен быть в виде стержня диаметром 50 ± 1 мм. Нижние края стержня должны быть закруглены. Радиус закругления 8 ± 1 мм.

Испытания на холодоустойчивость покровов типов БбШп; Шп; БбШв; КбШв; Шв; БШп; БШв; БлШп; БлШв; Б2лШп; Б2лШв; БпШп; КпШп; БвШв должны проводиться на образцах кабеля, плотно намотанных на испытательный цилиндр и помещенных в холодильную камеру. Время выдержки образцов в холодильной камере после достижения в ней заданной температуры испытания должно быть не менее 55 мин для кабелей с наружным диаметром до 20 мм, 120 мин - для кабелей с наружным диаметром от 20,1 до 40 мм, 180 мин - для кабелей с наружным диаметром от 40,1 до 60 мм и 240 мин - для кабелей с наружным диаметром 60,1 мм и выше. Число витков, диаметры испытательных цилиндров и температуры испытаний должны быть указаны в технической документации на кабельные изделия. Защитные покровы кабелей считаются выдержавшими испытания, если шланги не имеют трещин, видимых невооруженным глазом, осмотр образцов проводится без их размотки с испытательных цилиндров после выдержки при температуре 25 ± 10 °С не менее 60 мин.

(Измененная редакция, Изм. № 1, 2, 3).

4.11. Испытание на нераспространение горения (п. 2.12) проводят по ГОСТ 12176-89.

(Измененная редакция, Изм. № 4).

4.12. Испытание напряжением подушки защитных покровов (п. 2.13) должно быть проведено по ГОСТ 2990-78 на строительной длине кабеля.

При испытании жилы кабелей должны быть соединены с оболочкой и выводом высокого напряжения испытательной установки, а броня должна быть соединена с заземленным выводом испытательной установки.

4.13. При испытании на истирание (п. 2.14), проводимом при температуре (20 ± 5) °С, на среднюю часть горизонтально расположенного на твердом основании образца кабеля (черт. 3) длиной не менее 2,5 м перпендикулярно устанавливают стальной угольник из мягкой стали шириной (35 ± 2) мм. Наружный радиус закругления края угольника должен быть не менее 1 и не более 2 мм.

1 - угольник; 2 - образец кабеля; Q - нагрузка

Черт. 3*

К стальному угольнику должна быть приложена нагрузка в соответствии с указанной в табл. 7а.

Угольник перемещают вдоль кабеля на длине не менее 600 мм в количестве 25 двойных перемещений со скоростью 25-30 см/с.

Таблица

Наружный диаметр кабеля, мм

Нагрузка, Н

От 30 до 40

65

Св. 40 до 50

106

» 50 » 60

155

» 60 » 70

210

» 70 » 80

270

» 80 » 90

340

» 90 » 100

420

» 100 » 110

500

100 и выше

550

(Измененная редакция, Изм. № 1, 4).

4.14. Испытание на изгиб (п. 2.14) должно проводиться на образцах кабеля при температуре 10 - 25 °С.

Образец должен быть навит на цилиндр одним полным витком.

Диаметр цилиндра, на который должен быть навит образец кабеля, указан в табл. 10.

Таблица 10*

Конструкция кабеля«

Диаметр цилиндра, мм, с предельным отклонением не более плюс 5 %

Кабель в алюминиевой оболочке

30 (D + d)

Кабель бронированный, не имеющий оболочки, и кабель, имеющий стальную гофрированную оболочку

20D

Кабель связи в свинцовой оболочке

15D

Кабель связи в неметаллической оболочке

30D

Кабель силовой в неметаллической оболочке:

 

одножильный

20 (Dн + d)

многожильный

15 (Dн + d)

Кабель силовой с бумажной изоляцией:

 

в алюминиевой оболочке

25D

в свинцовой оболочке одножильный на напряжение:

 

1-3 кВ

18 (D + d)

20 кВ

21 (D + d)

35 кВ

25 (D + d)

многожильные на напряжение 1-10 кВ

15 (D + d)

с отдельными свинцовыми оболочками на напряжение:

 

20 кВ

15 (2,l5D + d)

35 кВ

18 (2,l5D + d)

(Измененная редакция, Изм. № 4).

_________

* Табл. 8 и 9 исключены (Изм. № 2).

D - наружный диаметр металлической оболочки или окружности, описанной вокруг скрученных жил кабеля с отдельными металлическими оболочками, или диаметр по поясной изоляции, мм;

d - диаметр круглой жилы кабеля или диаметр жилы круглой формы, имеющей ту же площадь поперечного сечения, что и секторная или сегментная жила, мм.

Dн - наружный диаметр кабеля, мм.

После того как образец навит на цилиндр, он должен быть размотан, а затем снова намотан на цилиндр, но противоположной стороной.

Образец кабеля должен быть подвергнут трехкратному двустороннему изгибу, за исключением кабеля в алюминиевой оболочке, который должен быть подвергнут двукратному двустороннему изгибу.

4.15. При испытании в солевой ванне (п. 2.14), содержащей 0,5 %-ный водный раствор хлористого натрия, образец кабеля должен быть погружен на дно ванны, как показано на черт. 4. Концы кабеля длиной не менее 300 мм должны находиться над поверхностью солевого раствора, глубина которого не менее 500 мм, а испытуемая длина образца должна быть полностью погружена в солевой раствор. Между солевым раствором и броней (в покровах типов БбШв; КбШв; БбШп) или металлической оболочкой должно быть приложено напряжение 10 В постоянного тока. Отрицательный полюс источника тока должен быть присоединен к металлической оболочке или броне.

R - радиус изгиба, 1 - образец кабеля; 2 - солевая ванна

Черт. 4

Образец должен подвергаться 100-суточным тепловым циклам.

Каждый тепловой цикл должен состоять из нагревания солевого раствора до температуры (65 ± 5) °С, поддержания этой температуры в течение 5 ч и охлаждения раствора до (30 ± 5) °С в течение остального времени суток.

Измерение электрического сопротивления защитного покрова должно производиться по ГОСТ 3345-76, после 25 ч пребывания образца в растворе, еженедельно в процессе испытания и после последнего теплового цикла.

Покров считается соответствующим требованиям стандарта, если значение электрического сопротивления, измеренное после последнего теплового цикла, будет соответствовать указанному в п. 2.14.

(Измененная редакция, Изм. № 1, 3).

4.16. Разрывная прочность шланга и его относительное удлинение при разрыве (п. 2.16) должны быть проверены по методике ГОСТ 25018-81.

4.16а. Стойкость поливинилхлоридного защитного шланга к деформации (п. 2.16а) проверяют по ГОСТ 22220-76.

(Введен дополнительно, Изм. № 4).

4.17. Взаимодействие битума, битумного состава, подклеивающего состава и пластического битума с синтетическими материалами (п. 2.17) должно проверяться по методике, согласованной между Минэлектротехпромом, Минсвязи СССР и Минэнерго СССР.

(Измененная редакция, Изм. № 1).

4.18. (Исключен, Изм. № 3).

ИНФОРМАЦИОННЫЕ ДАННЫЕ

1. РАЗРАБОТАН И ВНЕСЕН Министерством электротехнической промышленности СССР

ИСПОЛНИТЕЛИ

М. Б. Кнастер (руководитель темы), А. И. Балашов

2. УТВЕРЖДЕН И ВВЕДЕН В ДЕЙСТВИЕ Постановлением Государственного комитета СССР по стандартам от 25.10.72 № 1966

3. Периодичность проверки - 5 лет

4. Стандарт полностью соответствует международному стандарту МЭК 229-82

5. ВЗАМЕН ГОСТ 7006-62

6. ССЫЛОЧНЫЕ НОРМАТИВНО-ТЕХНИЧЕСКИЕ ДОКУМЕНТЫ

Обозначение НТД, на который дана ссылка

Номер пункта

ГОСТ 244-76

4.8

ГОСТ 503-81

2.18

ГОСТ 905-78

2.18

ГОСТ 1526-81

2.18

ГОСТ 3559-75

2.18

ГОСТ 4204-77

4.8

ГОСТ 4232-74

4.8

ГОСТ 5937-81

2.18

ГОСТ 5960-72

2.18

ГОСТ 6617-76

2.18

ГОСТ 6997-77

2.18; 4.6

ГОСТ 9549-80

2.18; 4.8

ГОСТ 9812-74

2.18

ГОСТ 10163-76

4.8

ГОСТ 10396-84

2.18

ГОСТ 12085-88

2.18

ГОСТ 12176-89

4.11

ГОСТ 16272-79

2.18

ГОСТ 16336-77

2.18

ГОСТ 19571-74

2.18

ГОСТ 19851-74

2.18

ГОСТ 22220-76

4.16а

ГОСТ 22245-90

2.18

ГОСТ 23436-83

2.18

ГОСТ 24104-2001

4.8

ГОСТ 24234-80

2.18

7. Срок действия продлен до 01.01.95 Постановлением Госстандарта СССР от 22.06.88 № 2086

8. ПЕРЕИЗДАНИЕ (август, 1991 г.) с изменениями № 1, 2, 3, 4, утвержденными в январе 1979 г., июле 1983 г., июне 1988 г., декабре 1989 г. (ИУС 3-79, 11-83, 10-88, 4-90).




Яндекс цитирования



   Copyright © 2007-2026,  www.tehlit.ru.

[ ѓосты, стандарты, нормативы, инструкции, правила, строительные нормы ]