//
ТехЛит.ру
- крупнейшая бесплатная электронная интернет библиотека для "технически умных" людей.
WWW.TEHLIT.RU - ТЕХНИЧЕСКАЯ ЛИТЕРАТУРА

:: Алготрейдинг::


АЛГОТРЕЙДИНГ
шаг за шагом
с нуля по урокам!

Торговые роботы на PYTHON, BackTrader,
Pandas, Pine Script для TradingView. Связка с брокерами, телеграм и легкими приложениями.


МИНИСТЕРСТВО ВНУТРЕННИХ ДЕЛ
РОССИЙСКОЙ ФЕДЕРАЦИИ

ГОСУДАРСТВЕННАЯ ПРОТИВОПОЖАРНАЯ СЛУЖБА

НОРМЫ ПОЖАРНОЙ БЕЗОПАСНОСТИ

ИЗВЕЩАТЕЛИ ПОЖАРНЫЕ ДЫМОВЫЕ
РАДИОИЗОТОПНЫЕ.

ОБЩИЕ ТЕХНИЧЕСКИЕ ТРЕБОВАНИЯ.
МЕТОДЫ ИСПЫТАНИЙ

НПБ 81-99

МОСКВА 2000

Разработаны Санкт-Петербургским филиалом Всероссийского научно-исследовательского института противопожарной обороны (СПбФ ВНИИПО) МВД России (С.В Сычев, Д. И. Павлов).

Внесены и подготовлены к утверждению нормативно-техническим отделом Главного управления Государственной противопожарной службы (ГУГПС) МВД России (Е.П. Шаститко, В.А. Дубинин).

Утверждены и введены в действие приказом ГУГПС МВД России от 20 октября 1999 г. № 81.

Дата введения в действие 1 декабря 1999 г.

МИНИСТЕРСТВО ВНУТРЕННИХ ДЕЛ
РОССИЙСКОЙ ФЕДЕРАЦИИ

ГОСУДАРСТВЕННАЯ ПРОТИВОПОЖАРНАЯ СЛУЖБА

НОРМЫ ПОЖАРНОЙ БЕЗОПАСНОСТИ

ИЗВЕЩАТЕЛИ ПОЖАРНЫЕ ДЫМОВЫЕ РАДИОИЗОТОПНЫЕ.

ОБЩИЕ ТЕХНИЧЕСКИЕ ТРЕБОВАНИЯ.
МЕТОДЫ
ИСПЫТАНИЙ.

DETECTORS USING IONIZATION.

GENERAL TECHNICAL REQUIREMENTS. TEST METHODS.

НПБ 81-99

Дата введения 01.12.1999

I. ОБЛАСТЬ ПРИМЕНЕНИЯ

1. Настоящие нормы пожарной безопасности распространяются на пожарные дымовые радиоизотопные извещатели (далее - радиоизотопные извещатели), предназначенные для применения в качестве автоматических средств обнаружения пожара в помещениях зданий и сооружений различного назначения. Радиоизотопные извещатели не являются средствами измерения.

2. Нормы пожарной безопасности устанавливают общие требования, предъявляемые к радиоизотопным извещателям, условия эксплуатации извещателей, требования к их надежности, безопасности, а также методы соответствующих испытаний, обеспечивающих контроль технических характеристик радиоизотопных извещателей при производстве и всех видах испытаний (включая сертификационные).

3. Нормы пожарной безопасности не распространяются на пожарные дымовые радиоизотопные извещатели с принудительной доставкой среды (с пробоотбором) и извещатели специального назначения.

II. ОБЩИЕ ТЕХНИЧЕСКИЕ ТРЕБОВАНИЯ

4. Радиоизотопные извещатели должны соответствовать требованиям настоящих норм и технической документации на извещатели.

5. Требования назначения

5.1. По виду выходного сигнала радиоизотопные извещатели разделяют на два типа:

с дискретным выходным сигналом;

с аналоговым выходным сигналом.

5.2. Порог срабатывания радиоизотопного извещателя должен находиться в пределах от 0,2 до 3,0 относительных единиц (о. е.).

5.3. Порог срабатывания радиоизотопного извещателя не должен зависеть от количества срабатываний (повторяемость).

5.4. Порог срабатывания радиоизотопного извещателя не должен зависеть от изменения направления воздушного потока.

5.5. Порог срабатывания радиоизотопного извещателя должен быть одинаковым для всех образцов (воспроизводимость).

5.6. Порог срабатывания радиоизотопного извещателя не должен меняться при воздействии воздушного потока со скоростью 1,0 (±0,1) м×с-1.

5.7. При скорости воздушного потока 10,0 (±0,5) м×с-1 радиоизотопный извещатель не должен выдавать ложный сигнал "Тревога".

5.8. Сигнал срабатывания радиоизотопного извещателя должен сохраняться после окончания воздействия продуктов горения (аэрозоля).

5.9. Радиоизотопный извещатель с аналоговым выходным сигналом должен обеспечивать однозначность преобразования контролируемой концентрации продуктов горения (аэрозоля) в выходной сигнал.

5.10. Радиоизотопные извещатели должны быть классифицированы по чувствительности к дымам различной природы в соответствии с требованиями ГОСТ Р 50898.

6. Требования устойчивости к внешним воздействиям

6.1. Радиоизотопный извещатель должен сохранять работоспособность при воздействии повышенной температуры, значение которой установлено в технических условиях на извещатели, но не ниже 55° С.

6.2. Радиоизотопный извещатель должен сохранять работоспособность при воздействии пониженной температуры, значение которой установлено в технических условиях на извещатели, но не выше минус 10° С.

6.3. Радиоизотопный извещатель должен сохранять работоспособность при воздействии относительной влажности воздуха 95 (±3)% при температуре 40° С.

6.4. Радиоизотопный извещатель должен сохранять работоспособность после воздействия одиночных механических ударов со следующими характеристиками:

форма ударного импульса - полусинусоида;

длительность ударного импульса - 6 мс;

пиковое ускорение - (100-20М)g, где М - масса извещателя в кг, g - стандартное ускорение, обусловленное земной гравитацией;

число направлений ударного воздействия - 6;

число ударов в каждом направлении - 3.

6.5. Радиоизотопный извещатель должен сохранять работоспособность после нанесения прямого механического удара с энергией 1,9 (±0,1) Дж.

6.6. Радиоизотопный извещатель должен сохранять работоспособность при воздействии синусоидальной вибрации с амплитудой смещения не менее 0,35 мм в диапазоне частот от 10 до 55 Гц.

6.7. Номинальное значение напряжения питания радиоизотопных извещателей следует выбирать из ряда: 6, 9, 12, 18, 20, 24 и 30 В.

6.8. Радиоизотопный извещатель должен быть устойчивым к изменению напряжения питания в пределах ±10% от номинального значения.

6.9. Радиоизотопный извещатель должен быть прочным к изменению полярности питающего напряжения.

6.10. Значение мощности, потребляемой радиоизотопным извещателем, не должно превышать 0,3 Вт.

7. Требования помехоустойчивости и помехоэмиссии

По устойчивости к электрическим помехам и по помехоэмиссии радиоизотопные извещатели должны соответствовать требованиям НПБ 57-97.

8. Требования надежности

8.1. Радиоизотопный извещатель должен быть рассчитан на круглосуточную непрерывную работу.

8.2. Средняя наработка на отказ радиоизотопного извещателя должна быть не менее 60000 ч.

Примечание. Условия, для которых нормируются показатели безотказности, сохраняемости и долговечности, должны быть указаны в технической документации на извещатель.

9. Требования к конструкции

9.1. Радиоизотопный извещатель должен быть снабжен устройством для проверки его работоспособности.

9.2. Радиоизотопный извещатель должен иметь встроенную оптическую индикацию срабатывания красного цвета.

9.3. Степень защиты радиоизотопного извещателя должна соответствовать ГОСТ 14254. При этом первая цифра обозначения, характеризующая защиту от проникновения внутрь оболочки твердых тел, должна быть не менее 4.

9.4. Масса и габаритные размеры радиоизотопного извещателя должны соответствовать значениям, установленным в технической документации на извещатели.

10. Требования к маркировке

10.1. Маркировка радиоизотопного извещателя должна содержать следующие сведения:

условное обозначение;

год выпуска;

степень защиты оболочки извещателя по ГОСТ 14254;

товарный знак изготовителя;

указание типа используемого радионуклида;

знак радиационной опасности по ГОСТ 17925;

активность источника ионизирующего излучения.

Дополнительные надписи должны оговариваться в технической документации на извещатели.

10.2. Место и способ нанесения маркировки должны быть указаны в чертежах на извещатель.

10.3. Содержание и место нанесения транспортной маркировки должны соответствовать ГОСТ 14192.

11. Требования к комплектности

Комплект поставки радиоизотопного извещателя должен обеспечивать его монтаж, проведение пусконаладочных работ и эксплуатацию без применения нестандартного оборудования и нестандартных инструментов (кроме кабельных изделий, предназначенных для выполнения соединительных линий).

12. Требования к упаковке

12.1. Радиоизотопные извещатели должны быть упакованы в потребительскую тару в соответствии с требованиями ГОСТ 9.014.

12.2. Радиоизотопные извещатели должны быть упакованы в транспортную тару в целях защиты от повреждений при транспортировании и хранении.

12.3. Радиоизотопные извещатели следует упаковывать в закрытых вентилируемых помещениях с температурой от 15 до 40° С и относительной влажности воздуха до 80% при отсутствии в окружающей среде агрессивных примесей.

13. Требования безопасности

13.1. Радиоизотопные извещатели должны быть безопасными в эксплуатации, а также при монтаже, ремонте и регламентных работах в соответствии с требованиями ГОСТ 12.2.003, ГОСТ 12.2.006, ГОСТ 12.2.007.0 и ПУЭ.

13.2. Радиоизотопные извещатели должны соответствовать требованиям НРБ-96 и ОСП-72/87.

Мощность экспозиционной дозы рентгеновского и гамма-излучений на поверхности радиоизотопных извещателей должна нормироваться по возможному действительному значению и не должна превышать 0,3 мР×ч-1.

III. ПРАВИЛА ПРИЕМКИ

14. Для контроля соответствия радиоизотопного извещателя требованиям настоящих норм и технической документации (технических условий) на извещатель или другой действующей нормативной документации устанавливают следующие виды испытаний: приемо-сдаточные, периодические, типовые, контрольные испытания на надежность и сертификационные.

15. Приемо-сдаточные испытания проводятся в целях контроля соответствия радиоизотопного извещателя требованиям, установленным в технической документации на изделие, и принятия решения о пригодности радиоизотопного извещателя к поставке потребителю. Контроль соответствия радиоизотопного извещателя требованиям технической документации на извещатель проводится службой технического контроля предприятия-изготовителя методом сплошного контроля в объеме, установленном в технической документации.

16. Если в процессе приемо-сдаточных испытаний будет обнаружено несоответствие радиоизотопного извещателя хотя бы одному требованию, этот радиоизотопный извещатель считается не выдержавшим испытания и приемке не подлежит. Такой извещатель должен быть возвращен для устранения дефекта. После устранения дефекта извещатель должен пройти повторные приемо-сдаточные испытания.

Результаты повторных испытаний являются окончательными.

17. Периодические испытания следует проводить не реже одного раза в год.

Испытаниям должны подвергаться не менее 10 радиоизотопных извещателей, произвольно выбранных из предъявленной партии и прошедших приемо-сдаточные испытания.

18. Если при периодических испытаниях будет обнаружено несоответствие радиоизотопного извещателя требованиям технической документации на извещатель, должны быть проведены испытания в полном объеме на удвоенном количестве извещателей.

19. Контрольные испытания на надежность проводят один раз в три года, начиная с установочной серии, а также в случае модернизации, влияющей на показатели надежности, на партии не менее чем из 10 радиоизотопных извещателей. Исходные данные для планирования контрольных испытаний на надежность устанавливают в технической документации на извещатель в соответствии с ГОСТ 27.410.

20. Радиоизотопные извещатели, предъявляемые на контрольные испытания на надежность, должны пройти приемо-сдаточные испытания.

21. Контрольные испытания на надежность и оценку их результатов проводят по программе и методике испытаний, разработанным предприятием-изготовителем радиоизотопных извещателей, в соответствии с ГОСТ 27.410 и согласно технической документации на извещатель.

22. Радиоизотопные извещатели, выдержавшие контрольные испытания на надежность, подлежат поставке потребителям с указанием в паспорте количества наработанных часов.

23. Результаты испытаний должны оформляться актом испытаний.

24. Объем и рекомендуемая последовательность испытаний, которым подвергают радиоизотопные извещатели при приемо-сдаточных, периодических и сертификационных испытаниях, приведены в табл. 1.

25. Типовые испытания следует проводить по программе, предусматривающей обязательную проверку параметров (характеристик), на которые могли повлиять изменения, внесенные в конструкцию или технологию изготовления радио изотопного извещателя.

Таблица 1

Контролируемый параметр

Номер пункта настоящих норм

Вид испытаний

Общие технические требования

Методы испытаний

Приемо-сдаточные

Периодические

Сертификационные

Порог срабатывания и повторяемость

5.2, 5.3

29.1

-

+

+

Устойчивость к изменению направления воздушного потока

5.4

29.2

-

+

+

Воспроизводимость значений порога срабатывания

5.5

29.3

-

+

+

Устойчивость к воздействию воздушного потока

5.6, 5.7

29.4

-

+

 +

Сохранение сигнала срабатывания после окончания воздействия аэрозоля

5.8

29.5

-

+

+

Однозначность преобразования контролируемой концентрации аэрозоля в выходной сигнал (только для аналоговых извещателей)

5.9

29.6

-

-

+

Чувствительность к дымам различной природы (огневые испытания)

5.10

29.7

Осуществляется при постановке изделия на производство

 Устойчивость к воздействию повышенной температуры

6.1

29.8

-

+

+

Устойчивость к воздействию пониженной температуры

6.2

29.9

-

+

+

Устойчивость к воздействию повышенной влажности

6.3

29.10

-

+

+

Устойчивость к одиночным механическим ударам

6.4

29.11

-

+

+

Устойчивость к прямому механическому удару

6.5

29.12

-

+

+

Устойчивость к синусоидальной вибрации

6.6

29.13

-

+

+

Устойчивость к изменению напряжения питания

6.7, 6.8

29.14

-

+

+

Прочность к изменению полярности напряжения питания

6.9

29.15

-

+

+

Потребляемая мощность

6.10

29.16

-

+

+

Помехоустойчивость и помехоэмиссия

7

29.17

-

+

+

Наличие устройства для проверки работоспособности

9.1

29.18

-

+

+

Наличие встроенной оптической индикации срабатывания

9.2

29.18

-

+

+

Степень защиты оболочки

9.3

29.19

-

+

+

Масса и габаритные размеры

9.4

29.20

-

+

+

Маркировка

10

29.21

+

+

+

Комплектность

11

29.22

+

+

+

Упаковка

12

29.23

-

+

-

Безопасность

13.1

29.24

-

+

+

Радиационная безопасность

13.2

29.25

-

+

+

IV. МЕТОДЫ ИСПЫТАНИЙ

26. Методы контроля требований назначения (п. 5), устойчивости к внешним воздействиям (п. 6), помехоустойчивости и помехоэмиссии (п. 7), надежности (п. 8), к конструкции (п. 9), требований к маркировке (п. 10), комплектности (п. 11) и упаковке (п. 12), а также требований безопасности (п. 13) должны быть изложены в технической документации (технических условиях) на извещатель.

27. Общие положения

27.1. Для проведения сертификационных испытаний методом случайной выборки берутся 8 радиоизотопных извещателей.

Необходимое для проведения испытаний на соответствие требованиям п. 7 количество извещателей определяется на основе требований НПБ 57-97.

Необходимое для проведения огневых испытаний количество извещателей определяется по ГОСТ Р 50898.

Извещатели с перестраиваемым порогом срабатывания испытывают при минимальном и максимальном устанавливаемом значении порога срабатывания.

27.2. Проверку радиоизотопного извещателя проводят при:

температуре окружающего воздуха от 18 до 29° С;

относительной влажности от 45 до 75%;

атмосферном давлении от 86 до 106 кПа.

27.3. По умолчанию погрешность измерений не должна превышать 5%.

27.4. Испытания радиоизотопных извещателей проводят в соответствии с программой испытаний, приведенной в табл. 2.

28. Аппаратура, оборудование и вспомогательные средства

28.1. Контрольно-измерительная аппаратура, оборудование и вспомогательные средства, применяемые при испытаниях радиоизотопных извещателей, должны соответствовать стандартам и технической документации на извещатель и должны быть поверены или аттестованы в установленном порядке.

28.2. Для испытаний радиоизотопных извещателей следует применять испытательную камеру, размеры и технические характеристики которой представлены в рекомендуемом приложении 1 к настоящим нормам.

28.3. Порог срабатывания радиоизотопных извещателей при испытаниях определяют по относительному изменению тока контрольной ионизационной камеры, рассчитываемому по формуле

Y=I0 × I-1- I×I0-1                                                       (1)

где I0 - ток контрольной ионизационной камеры в чистом воздухе, А; I - ток контрольной ионизационной камеры при наличии в нем аэрозоля, А.

28.4. Для определения концентрации дыма (аэрозоля) в испытательной камере должна применяться контрольная ионизационная камера по ГОСТ 22522.

28.5. При проведении испытаний радиоизотопных извещателей в качестве материала дымообразования должен использоваться хлопчатобумажный фитиль или сигаретный табак по ГОСТ 3935.

Допускается применение генератора аэрозоля, использующего в качестве материала дымообразования парафиновое масло, со средним диаметром частиц аэрозоля от 0,5 до 1,0 мкм и показателем преломления частиц 1,4 (±0,1).

Характеристики частиц генерируемого аэрозоля должны быть стабильны во время проведения испытаний.

Таблица 2

Контролируемый параметр

Номер пункта настоящих норм

Номера извещателей

Общие технические требования

Методы испытаний

1

2

3

4

5

6

7

8

Повторяемость значений порога срабатывания

5.3

29.1

+

 

 

 

 

 

 

 

Устойчивость к изменению направления воздушного потока

5.4

29.2

 

+

 

 

 

 

 

 

Воспроизводимость значений порога срабатывания

3.3

29.3

+

+

+

+

+

+

+

+

Устойчивость к воздействию воздушного потока

5.6,

5.7

29.4

 

 

+

 

 

 

 

 

Сохранение сигнала срабатывания после окончания воздействия аэрозоля

5.8

29.5

 

 

 

+

 

 

 

 

Однозначность преобразования контролируемой концентрации аэрозоля в выходной сигнал (только для аналоговых извещателей)

5.9

29.6

 

 

 

 

+

 

 

 

Чувствительность к дымам различной природы (огневые испытания)

5.10

29.7

В соответствии с ГОСТ 50898

Устойчивость к воздействию повышенной температуры

6.1

29.8

+

 

 

 

 

 

 

 

Устойчивость к воздействию пониженной температуры

6.2

29.9

 

+

 

 

 

 

 

 

Устойчивость к воздействию повышенной влажности

6.3

29.10

 

 

+

 

 

 

 

 

Устойчивость к одиночным механическим ударам

6.4

29.11

 

 

 

+

 

 

 

 

Устойчивость к прямому механическому удару

6.5

29.12

 

 

 

 

+

 

 

 

Устойчивость к синусоидальной вибрации

6.6

29.13

 

 

 

 

 

+

 

 

Устойчивость к изменению напряжения питания

6.7, 6.8

29.14

 

 

 

 

 

 

+

 

Прочность к изменению полярности напряжения питания

6.9

29.15

 

 

 

 

 

 

 

+

Потребляемая мощность

6.10

29.16

 

 

 

 

 

 

 

+

Помехоустойчивость и помехоэмиссия

7

29.17

В соответствии с НПБ 57-97

Наличие устройства для проверки работоспособности

9.1

29.18

+

 

 

 

 

 

 

 

Наличие встроенной оптической индикации срабатывания

9.2

29.18

 

 

 

+

 

 

 

 

Степень защиты оболочки

9.3

29.19

 

+

 

 

 

 

 

 

Масса и габаритные размеры

9.4

29.20

 

 

+

 

 

 

 

 

Маркировка

10

29.21

+

+

+

+

+

+

+

+

Комплектность

11

29.22

+

+

+

+

+

+

+

+

Упаковка

12

29.23

+

+

+

+

+

+

+

+

Безопасность

13.1

29.24

+

+

+

+

+

+

+

+

Радиационная безопасность

13.2

29.25

В соответствии с требованиями нормативных документов, регламентирующих требования к радиационной безопасности изделий

Примечание. Нумерация испытываемых образцов радиоизотопных извещателей осуществляется произвольно.

29. Проведение испытаний

29.1. Проверку порога срабатывания (п. 5.2) и зависимости порога срабатывания радиоизотопного извещателя от количества срабатываний (п. 5.3) проводят в следующей последовательности.

29.1.1. Проверяемый радиоизотопный извещатель устанавливают в испытательную камеру в рабочем положении и выдерживают во включенном состоянии в течение 15 мин. Ориентация радиоизотопного извещателя относительно направления воздушного потока в испытательной камере произвольная (но одинаковая для всех испытаний).

29.1.2. В испытательной камере устанавливают скорость воздушного потока 0,20 (±0,04) м×с-1.

29.1.3. Создают концентрацию продуктов горения (аэрозоля), удовлетворяющую неравенству:

0,015 £ DY×Dt -1 £ 0,3                                                     (2)

где DY - величина изменения концентрации продуктов горения, о. е.; Dt - промежуток времени между измерениями, мин.

29.1.4. В момент срабатывания радиоизотопного извещателя определяют значение порога срабатывания, рассчитываемое по формуле (1).

29.1.5. Повторяют испытания шесть раз.

29.1.6. Определяют наибольшее Yмакс и наименьшее Yмин значение порога срабатывания радиоизотопного извещателя и определяют отношение Yмакс/Yмин.

29.1.7. Радиоизотопный извещатель считается выдержавшим испытания, если отношение Yмакс/Yмин не превышает 1,6.

Примечание. Наименьшая величина порога срабатывания радиоизотопного извещателя должна быть не менее 0,2.

29.2. Проверку устойчивости извещателя к изменению направления воздушного потока (п. 5.4) проводят в следующей последовательности.

29.2.1. Подключают радиоизотопный извещатель в условиях, соответствующих п. 29.1.2.

29.2.2. По методике, изложенной в пп. 29.1.2 - 29.1.4, определяют восемь раз порог срабатывания радиоизотопного извещателя. Каждый раз перед определением порога срабатывания извещатель следует повернуть на 45 (±3)° вокруг вертикальной оси.

29.2.3. Определяют Yмакс и Yмин, рассчитывают отношение Yмакс/Yмин

29.2.4. Радиоизотопный извещатель считается выдержавшим испытания, если отношение Yмакс/Yмин не превышает 1,6.

Примечания. 1. Наименьшее значение порога срабатывания радиоизотопного извещателя должно быть не менее 0,2.

2. В последующих испытаниях положение радиоизотопного извещателя, при проверке которого зафиксировано наибольшее значение концентрации продуктов горения (аэрозоля), считается положением с минимальным порогом срабатывания, положение радиоизотопного извещателя, при проверке которого зафиксировано наименьшее значение концентрации продуктов горения (аэрозоля), - положением с максимальным порогом срабатывания.

29.3. Проверку воспроизводимости значений порога срабатывания радиоизотопных извещателей (п. 5.5) проводят в следующей последовательности.

29.3.1. Устанавливают радиоизотопный извещатель в испытательную камеру в положение с минимальным порогом срабатывания. По методике, изложенной в пп. 29.1.2 - 29.1.4, определяют порог срабатывания всех испытываемых радиоизотопных извещателей.

29.3.2. Определяют Yмакс и Yмин и среднее арифметическое значение Yср, порога срабатывания испытываемых радиоизотопных извещателей.

29.3.3. Радиоизотопный извещатель считается выдержавшим испытания, если выполнены неравенства:

Yмакс/Yср £ 1,33,                                                             (3)

Yср/Yмин £ 1,5.                                                             (4)

Примечание. Умин Должен быть не менее 0,2.

29.4. Проверку устойчивости радиоизотопного извещателя к воздействию воздушного потока (пп. 5.6, 5.7) проводят в следующей последовательности.

29.4.1. Подключают радиоизотопный извещатель в условиях, соответствующих п. 29.1.2.

29.4.2. По методике, изложенной в пп. 29.1.2 - 29.1.4, определяют порог срабатывания радиоизотопного извещателя для положения с минимальным Y(0,2)мин и максимальным Y(0,2)макс порогом срабатывания.

29.4.3. Устанавливают значение скорости воздушного потока в испытательной установке равным 1,0 (±0,2) м×с-1.

29.4.4. По методике, изложенной в пп. 29.1.2 - 29.1.4, определяют порог срабатывания радиоизотопного извещателя для положения с минимальным Y(1,0)мин и максимальным Y(1,0)макс порогом срабатывания.

29.4.5. Образец радиоизотопного извещателя, установленный в испытательной камере в наиболее чувствительной ориентации, должен быть подвергнут воздействию потока воздуха (без аэрозоля), значение скорости которого составляет 10,0 (±0,5) м×с-1, в течение 5 мин.

29.4.6. Радиоизотопный извещатель считается выдержавшим испытания, если выполнено отношение

0,67 £ [Y(0,2)мин + Y(0,2)макс]×[Y(1,0)мин + Y (1,0)макс ]-1 £ 1,5.                          (5)

Кроме того, радиоизотопный извещатель не должен выдавать сигнал "Тревога" при воздействии на него потока воздуха (по п. 29.4.5) без аэрозоля.

29.5. Проверку сохранения сигнала срабатывания радиоизотопного извещателя после окончания воздействия аэрозоля (п. 5.8) проводят в следующей последовательности.

29.5.1. По методике, изложенной в пп. 29.1.2, 29.1.3, вызывают срабатывание радиоизотопного извещателя.

29.5.2. Извлекают радиоизотопный извещатель из испытательной камеры.

29.5.3. Радиоизотопный извещатель считается выдержавшим испытания, если после окончания воздействия продуктов горения (аэрозоля) сохранился сигнал срабатывания.

29.6. Проверку однозначности преобразования контролируемой концентрации аэрозоля в выходной сигнал радиоизотопным извещателем с аналоговым выходным сигналом (п. 5.9) проводят в следующей последовательности.

29.6.1. Устанавливают радиоизотопный извещатель в испытательную камеру в положение с минимальным порогом срабатывания. По методике, изложенной в пп. 29.1.2 - 29.1.4, определяют порог срабатывания испытываемого радиоизотопного извещателя. В процессе испытаний (один раз за 15 с) фиксируют значения концентрации аэрозоля в испытательной камере и соответствующие им значения концентрации, выдаваемые испытываемым извещателем на пожарный приемно-контрольный прибор, в шлейф которого включен извещатель.

29.6.2. Извещатель считается выдержавшим испытания, если полученные значения концентрации продуктов горения в испытательной камере отличаются от значений, определенных испытываемым извещателем, не более чем на 20%.

29.7. Огневые испытания на определение чувствительности радиоизотопных извещателей к дымам различной природы (п. 5.10) проводят в соответствии с методами испытаний, регламентируемыми ГОСТ Р 50898.

29.8. Проверку сохранения работоспособности радиоизотопного извещателя при воздействии повышенной температуры (сухое тепло) (п. 6.1) проводят в соответствии с методом испытания В по ГОСТ 28200 в следующей последовательности.

29.8.1. Радиоизотопный извещатель устанавливают в испытательную камеру в положение с минимальным порогом срабатывания и выдерживают во включенном состоянии в течение 15 мин.

29.8.2. Повышают температуру в испытательной камере до 55 (±2)° С со скоростью не более 1° С×мин-1 и выдерживают радиоизотопный извещатель в течение 2 ч.

29.8.3. По методике, изложенной в пп. 29.1.2 - 29.1.4, определяют порог срабатывания радиоизотопного извещателя при температуре 55 (±2)° С и отношение Yмакс/Yмин, для расчета которого берутся значения порога срабатывания, полученные при данных испытаниях и при испытаниях по п. 29.3.

29.8.4. Радиоизотопный извещатель считается выдержавшим испытания, если в процессе испытании отсутствовали сигналы "Неисправность", "Тревога" и отношение Yмакс/ Yмин не превышает 1,6.

29.9. Проверку сохранения работоспособности радиоизотопного извещателя при воздействии окружающей среды с пониженной температурой (п. 6.2) проводят в соответствии с методом испытания А по ГОСТ 28199 следующим образом.

29.9.1. Радиоизотопный извещатель во включенном состоянии помещают в камеру холода, температура в которой соответствует нормальным условиям.

29.9.2. Понижают температуру в камере до нижнего предела, указанного в технической документации, со скоростью не более 1 °С×мин-1 и поддерживают температуру в указанных пределах в течение 2ч.

29.9.3. После окончания выдержки радиоизотопный извещатель должен оставаться в камере, температура в которой должна постепенно повышаться до значения, указанного в п. 6.2.

29.9.4. Выдерживают радиоизотопный извещатель при условиях, указанных в п. 26.2, в течение 1 ч.

29.9.5. Устанавливают радиоизотопный извещатель в испытательную камеру в положение с минимальным порогом срабатывания. По методике, изложенной в пп. 29.1.2 - 29.1.4, определяют порог срабатывания радиоизотопного извещателя и отношение Yмакс/Yмин, для расчета которого берутся значения порога срабатывания, измеренные при данных испытаниях и при испытаниях по п. 29.3.

29.9.6. Радиоизотопный извещатель считается выдержавшим испытания, если в процессе испытаний отсутствовали сигналы "Неисправность", "Тревога" и отношение Yмакс/Yмин не превышает 1,6.

29.10. Проверку сохранения работоспособности радиоизотопного извещателя при воздействии повышенной влажности (влажное тепло) (по п. 6.3) проводят в соответствии с методом испытаний Са по ГОСТ 28201 следующим образом.

29.10.1. Радиоизотопный извещатель во включенном состоянии помещают в камеру тепла и влаги, температура в которой соответствует нормальным условиям. Выдерживают извещатель во включенном состоянии в течение 15 мин.

29.10.2. Доводят относительную влажность в камере до 95 (±3)% при температуре 40 (±2)° С и выдерживают радиоизотопный извещатель при данных условиях в течение 2 суток.

29.10.3. По окончании указанного периода выдержки радиоизотопный извещатель выдерживают в нормальных условиях (п. 26.2) не менее 1 ч.

29.10.4. Устанавливают радиоизотопный извещатель в испытательную камеру в положение с минимальным порогом срабатывания. По методике, изложенной в пп. 29.1.2 - 29.1.4, определяют порог срабатывания радиоизотопного извещателя и отношение Yмакс/Yмин, для расчета которого берутся значения порога срабатывания, измеренные при данных испытаниях и при испытаниях по п. 29.3.

29.10.5. Радиоизотопный извещатель считается выдержавшим испытания, если в процессе испытаний отсутствовали сигналы "Неисправность", Тревога" и отношение Yмакс/Yмин не превышает 1,6.

29.11. Проверку сохранения работоспособности радиоизотопного извещателя при воздействии одиночных механических ударов (п. 6.4) проводят в соответствии с методом испытаний по ГОСТ 28213 следующим образом.

29.11.1. Визуально осматривают составные части радиоизотопного извещателя, чтобы убедиться в отсутствии механических повреждений.

29.11.2. Выдерживают извещатель во включенном состоянии в течение 15 мин.

29.11.3 Наносят по три последовательных удара в шести направлениях по трём взаимно перпендикулярным осям с параметрами, указанными в п. 6.4.

29.11.4. Устанавливают радиоизотопный извещатель в испытательную камеру в положение с минимальным порогом срабатывания. По методике, изложенной в пп. 29.1.2 - 29.1.4, определяют порог срабатывания радиоизотопного извещателя и отношение Yмакс/Yмин, для расчета которого берутся значения порога срабатывания, полученные при данных испытаниях и при испытаниях по п. 29.3.

29.11.5. Радиоизотопный извещатель считается выдержавшим испытания, если в процессе испытаний отсутствовали сигналы "Неисправность", "Тревога" и отношение Yмакс/ Yмин не превышает 1,6.

29.12. Проверку устойчивости радиоизотопного извещателя к воздействию прямого механического удара (удар молотком) в соответствии с п. 6.5 проводят в следующей последовательности.

29.12.1. Визуально осматривают составные части извещателя, чтобы убедиться в отсутствии механических повреждений.

29.12.2. Закрепляют радиоизотопный извещатель на опорной горизонтальной плите с помощью фиксирующих устройств.

Примечание. При проведении испытаний используют устройство для проверки устойчивости радиоизотопных извещателей к прямому механическому удару (удар молотком), эскиз которого представлен в обязательном приложении 2.

29.12.3. Подвергают радиоизотопный извещатель механическому удару с энергией удара 1,9 Дж и линейной скоростью движения ударного элемента в момент касания радиоизотопного извещателя, равной 1,50 (±0,12) м×с-1.

29.12.4. Устанавливают радиоизотопный извещатель в испытательную камеру в положение с минимальным порогом срабатывания. По методике, изложенной в пп. 29.1.2 - 29.1.4, определяют порог срабатывания извещателя и отношение Yмакс/Yмин, для расчета которого берутся значения порога срабатывания, полученные при данных испытаниях и при испытаниях того же извещателя по п. 29.3.

29.12.5. Радиоизотопный извещатель считается выдержавшим испытания, если в процессе испытаний отсутствовали сигналы "Неисправность", "Тревога", отношение Yмакс/Yмин не превышало 1,6 и не было механических повреждений.

29.13. Проверку сохранения работоспособности радиоизотопного извещателя при воздействии синусоидальной вибрации (п. 6.6) проводят в соответствии с методами испытаний по ГОСТ 28203 следующим образом.

29.13.1. Визуально осматривают составные части радиоизотопного извещателя, чтобы убедиться в отсутствии механических повреждений.

29.13.2. Подвергают извещатель во включенном состоянии воздействию вибрации с параметрами, указанными в п. 6.6, в трёх взаимно перпендикулярных направлениях, причем одна из осей должна быть перпендикулярна к нормальной плоскости монтажа.

29.13.3. Устанавливают извещатель в испытательную камеру в положение с минимальным порогом срабатывания. По методике, изложенной в пп. 29.1.2 - 29.1.4, определяют порог срабатывания радиоизотопного извещателя и отношение Yмакс/Yмин, для расчета которого берутся значения порога срабатывания, полученные при данных испытаниях и при испытаниях того же извещателя по п. 29.3.

29.13.4. Радиоизотопный извещатель считается выдержавшим испытания, если в процессе испытаний отсутствовали сигналы "Неисправность", "Тревога" и отношение Yмакс/Yмин не превышало 1,6.

29.14. Проверку устойчивости радиоизотопного извещателя к изменению напряжения питания (пп. 6.7, п. 6.8) проводят в следующей последовательности.

29.14.1. Радиоизотопный извещатель помещают в испытательную камеру в положение с минимальным порогом срабатывания, устанавливают номинальное значение напряжения питания и выдерживают во включенном состоянии в течение 15 мин.

29.14.2. Устанавливают напряжение питания радиоизотопного извещателя, соответствующее верхнему пределу напряжения питания, указанного в технической документации на извещатель. Выдерживают извещатель в течение 5 мин.

29.14.3. По методике, изложенной в пп. 29.1.2 - 29.1.4, определяют порог срабатывания радиоизотопного извещателя.

29.14.4. Определяют Yмакс и Yмин, отношение Yмакс/Yмин

29.14.5. Устанавливают напряжение питания радиоизотопного извещателя, соответствующее нижнему пределу напряжения питания, указанного в технической документации на извещатель, и повторяют испытания по пп. 29.14.3, п. 29.14.4.

29.14.6. Радиоизотопный извещатель считается выдержавшим испытания, если выполняется неравенство

Yмакс/Yмин £ 1,6                                                            (6)

Примечания. 1. Номинальное значение напряжения питания должно соответствовать значению из ряда, приведенного в п. 6.7.

2. Наименьшее значение порога срабатывания радиоизотопного извещателя должно быть не менее 0.2.

29.15. Проверку прочности радиоизотопного извещателя к изменению полярности питающего напряжения (п. 6.9) проводят в следующей последовательности.

29.15.1. Подключают извещатель в условиях, соответствующих п. 29.1.2.

29.15.2. Изменяют полярность напряжения питания на обратную и выдерживают извещатель в течение 5 мин.

29.15.3. Восстанавливают прямую полярность напряжения питания.

29.15.4. Устанавливают извещатель в испытательную камеру в положение с минимальным порогом срабатывания. По методике, изложенной в пп. 29.1.2 - 29.1.4, определяют порог срабатывания радиоизотопного извещателя и отношение Yмакс/Yмин, для расчета которого берутся значения порога срабатывания, полученные при данных испытаниях и при испытаниях того же извещателя по п. 29.3.

29.15.5. Радиоизотопный извещатель считается выдержавшим испытания, если в процессе испытаний отсутствовали сигналы "Неисправность", "Тревога" и отношение Yмакс/Yмин не превышает 1,6.

29.16. Проверку значения потребляемой мощности радиоизотопного извещателя (п. 6.10) проводят в следующей последовательности .

29.16.1. Подключают извещатель в условиях, соответствующих п. 29.1.2.

29.16.2. При номинальном значении питающего напряжения измеряют значение потребляемого тока.

29.16.3. Вычисляют значение потребляемой мощности по формуле

Pпотр = Iпотр × Uном                                                      (7)

29.16.4. Радиоизотопный извещатель считается выдержавшим испытания, если рассчитанное значение потребляемой мощности не превышает значения, указанного в п. 6.10 настоящих норм.

Примечание. Испытания следует проводить только для извещателей, использующих принцип увеличения тока в шлейфе сигнализации при переходе извещателя и режим "Тревога".

29.17. Испытания по проверке устойчивости радиоизотопных извещателей к воздействию электрических помех в цепи электрического питания, электромагнитного поля и электростатического разряда (п. 7) проводят в соответствии с методами испытаний, регламентированными НПБ 57-97.

29.18. Проверку наличия устройства для проверки работоспособности (п. 9.1) и наличия встроенной оптической индикации срабатывания (п. 9.2) проводят следующим образом.

29.18.1. Подключают извещатель в условиях, соответствующих п. 29.1.2.

29.18.2. Приводят в действие устройство для проверки работоспособности.

29.18.3. Контролируют включение оптической индикации срабатывания.

29.18.4. Извещатель считается выдержавшим испытания, если при приведении в действие устройства для проверки работоспособности радиоизотопный извещатель выдал на пожарный приемно-контрольный прибор сигнал "Тревога" и при этом включилась оптическая индикация срабатывания.

29.19. Определение степени защиты радиоизотопного извещателя (п. 9.3) по ГОСТ 14254 осуществляется в соответствии с методами испытаний, регламентированными указанным стандартом.

Радиоизотопный извещатель считается выдержавшим испытания, если проведенные испытания подтвердили соответствие степени защиты оболочки требованиям, указанным в технических условиях на извещатель. При этом первая цифра обозначения степени защиты должна быть не менее 4 (для обеспечения защиты радиоизотопного извещателя от доступа насекомых).

29.20. Определение массы и габаритных размеров радиоизотопного извещателя (п. 9.4) осуществляют методом непосредственных измерений, например, при помощи электронных весов (погрешность измерения ±0,3 г) и штангенциркуля (предел измерения - 200 мм, погрешность измерения ±0,05 мм).

Радиоизотопный извещатель считается выдержавшим испытания, если его масса и габаритные размеры соответствуют значениям, указанным в технической документации на извещатель.

29.21. Проверку маркировки (п. 10) проводят методом определения соответствия информации, находящейся на испытываемом радиоизотопном извещателе, требованиям технической документации на него.

Радиоизотопный извещатель считается выдержавшим испытания, если находящаяся на нем информация соответствует требованиям технической документации на извещатель.

29.22. Проверку комплектности (п. 11) осуществляют методом определения соответствия комплектующих, находящихся в упаковочной коробке (ящике) с испытываемым (испытываемыми) радиоизотопным извещателем, требованиям технической документации на него.

Радиоизотопный извещатель считается выдержавшим испытания, если состав комплектующих, находящихся в упаковочной коробке (ящике) с испытываемым (испытываемыми) радиоизотопным извещателем, соответствует перечню комплектующих, регламентируемому технической документацией на извещатель.

29.23. Проверку соответствия упаковки радиоизотопного извещателя требованиям п. 12 настоящих норм осуществляют методом сравнения упаковки изделий с требованиями ГОСТ 9.014 и требованиями к упаковке, изложенными в технических условиях на извещатель.

Радиоизотопный извещатель считается выдержавшим испытания, если упаковка изделия соответствует требованиям ГОСТ 9.014, а также требованиям к упаковке, изложенным в технических условиях на изделие.

29.24. Проверка безопасности (п. 13.1) радиоизотопных извещателей в условиях эксплуатации, а также при монтаже, ремонте и регламентных работах осуществляется в соответствии с методами испытаний, регламентируемыми ГОСТ 12.2.003, ГОСТ 12.2.006 и ГОСТ 12.2.007.0.

29.25. Проверку радиационной безопасности (п. 13.2) осуществляют соответствующие организации Госатомнадзора России, аккредитованные в установленном порядке на проведение указанных испытаний, при постановке изделия на производство и сертификационных испытаниях по аттестованным методикам.

V. ТРАНСПОРТИРОВАНИЕ И ХРАНЕНИЕ

30. Транспортирование радиоизотопных извещателей в транспортной упаковке должно осуществляться всеми видами наземного транспорта в закрытых транспортных средствах.

31. Хранение радиоизотопных извещателей в упаковке должно осуществляться на закрытых складах, обеспечивающих защиту от влаги, солнечной радиации, вредных испарений и плесени. Температурный режим хранения должен соответствовать условиям хранения по ГОСТ 15150.

VI. ГАРАНТИИ ИЗГОТОВИТЕЛЯ

32. Изготовитель должен гарантировать соответствие радиоизотопных извещателей требованиям настоящих норм и технической документации при соблюдении потребителем требований транспортирования, хранения, монтажа и эксплуатации.

33. Гарантийный срок эксплуатации радиоизотопных извещателей должен быть не менее 18 месяцев с момента ввода в эксплуатацию или 24 месяцев с момента изготовления.

VII. НОРМАТИВНЫЕ ССЫЛКИ

В настоящих нормах использованы ссылки на следующие стандарты и другие нормативные документы:

ГОСТ 12.2.003-91 ССБТ. Оборудование производственное. Общие требования безопасности.

ГОСТ 12.2.006-87 Безопасность аппаратуры электронной сетевой и сходных с ней устройств, предназначенных для бытового и аналогичного общего применения. Общие требования и методы испытаний.

ГОСТ 12.2.007.0-75 ССБТ. Изделия электротехнические. Общие требования безопасности.

ГОСТ 14192-96 Маркировка грузов.

ГОСТ 14254-96 Степени защиты, обеспечиваемые оболочками (Код IP).

ГОСТ 15150-69 Машины, приборы и другие технические изделия. Исполнения для различных климатических районов. Категории, условия эксплуатации, хранения и транспортирования в части воздействия климатических факторов внешней среды.

ГОСТ 17925-72 Знак радиационной опасности.

ГОСТ 22522-91 Извещатели радиоизотопные пожарные. Общие технические условия.

ГОСТ 27.410-87 Надежность в технике. Методы контроля показателей надежности и планы контрольных испытаний на надежность.

ГОСТ 28199-89 Основные методы испытаний на воздействие внешних факторов. Часть 2. Испытания. Испытание А: Холод.

ГОСТ 28200-89 Основные методы испытаний на воздействие внешних факторов. Часть 2. Испытания. Испытание В: Сухое тепло.

ГОСТ 28201-89 Основные методы испытаний на воздействие внешних факторов. Часть 2. Испытания. Испытание Са: Влажное тепло, постоянный режим.

ГОСТ 28203-89 Основные методы испытаний на воздействие внешних факторов. Часть 2. Испытания. Испытание Fc и руководство: Вибрация (синусоидальная).

ГОСТ 28213-89 Основные методы испытаний на воздействие внешних факторов. Часть 2. Испытания. Испытание Еа и руководство: Одиночный удар.

ГОСТ 3935-81 Сигареты. Общие технические условия.

ГОСТ Р 50898-96 Извещатели пожарные. Огневые испытания.

ГОСТ 9.014-78 ЕСЗКС. Временная противокоррозионная защита изделий. Общие требования.

НПБ 57-97 Приборы и аппаратура автоматических установок пожаротушения и пожарной сигнализации. Помехоустойчивость и помехоэмиссия. Общие технические требования. Методы испытаний.

ПУЭ-86 Правила устройства электроустановок.

ОСП-76/87 Основные санитарные правила работы с радиоактивными веществами и другими источниками ионизирующих излучений.

НРБ-96 Нормы радиационной безопасности.

ПРИЛОЖЕНИЕ 1

(рекомендуемое)

ИСПЫТАТЕЛЬНАЯ КАМЕРА

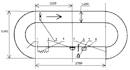
1. Испытательная камера, которая состоит из аэродинамической трубы замкнутого типа, снабженной специальным устройством ввода продуктов горения (аэрозоля), применяется при определении порога срабатывания радиоизотопных извещателей.

2. Схема испытательной камеры, а также размещение измерительной аппаратуры и испытываемых радиоизотопных извещателей показаны на рисунке.

В измерительной зоне испытательной камеры устанавливается испытываемый радиоизотопный извещатель. Воздушный поток в объеме камеры создается с помощью вентилятора. Подъем температуры в объеме испытательной камеры обеспечивается электронагревателем. Сетка предназначена для равномерного распределения продуктов горения (аэрозоля) по поперечному сечению и выравнивания воздушного потока. Контроль температуры осуществляется при помощи датчика температуры, установленного на расстоянии, не превышающем 20 мм от испытываемого пожарного извещателя, контроль скорости воздушного потока - при помощи измерителя скорости воздушного потока, а концентрации продуктов горения - при помощи контрольной ионизационной камеры.

3. Поперечное сечение аэродинамической трубы испытательной камеры - не менее 380´380 мм.

4. Длина измерительной зоны испытательной камеры должна быть не менее 750 мм.

5. Испытательная камера должна обеспечивать возможность повышения температуры контролируемой среды до 55° С со скоростью не более 1° С×мин-1.

6. Испытательная камера должна обеспечивать создание скорости воздушного потока от 0,2 (±0,04) до 1,0 (±0,04) м×с-1.

Схема измерительной камеры:

1 - внутренний объем испытательной камеры; 2 - радиоизотопный извещатель; 3 - крыльчатка вентилятора; 4 - электронагреватель; 5 - сетка; 6 - датчик температуры; 7 - измеритель скорости воздушного потока; 8 - контрольная ионизационная камера

ПРИЛОЖЕНИЕ 2

(обязательное)

УСТРОЙСТВО ДЛЯ ПРОВЕРКИ УСТОЙЧИВОСТИ РАДИОИЗОТОПНЫХ ПОЖАРНЫХ ИЗВЕЩАТЕЛЕЙ К ПРЯМОМУ МЕХАНИЧЕСКОМУ УДАРУ (УДАР МОЛОТКОМ)

Устройство (см. рисунок) состоит из качающегося молотка, включающего в себя ударник со скошенной под углом 60° толчковой поверхностью, который закреплен на ручке молотка. Молоток зафиксирован в стальном цилиндре, который свободно вращается на подшипниках на фиксированном стальном столбе, установленном на жесткой стальной раме. Конструкция жесткой рамы позволяет молотку совершать полный оборот при отсутствии испытываемого извещателя.

Ударник выполнен из алюминиевого сплава AlCu4SiMg и имеет габариты 76´50´94 мм. Ручка молотка выполнена из стальной трубки, которая имеет внешний диаметр 25,0 (±0,1) мм и стенки толщиной 1,6 (±0,1) мм.

Продольная ось ударника находится на расстоянии 305 мм от оси вращения конструкции, эти оси взаимно перпендикулярны. Стальной цилиндр имеет внешний диаметр 102 мм, длину 200 мм и установлен соосно на фиксированном стальном столбе диаметром 25 мм (диаметр стального столба зависит от диаметра используемых подшипников).

Диаметрально противоположно молотку к стальному цилиндру прикреплены две стальные ручки с внешним диаметром 20 мм и длиной 185 мм. Ручки ввинчиваются в стальной цилиндр. На ручки установлен стальной противовес, чтобы сбалансировать массу молотка и противовеса. На конце стального цилиндра установлен ворот шириной 12 мм и диаметром 150 мм, выполненный из алюминиевого сплава. На ворот накручена нерастяжимая нить, один конец которой зафиксирован в вороте. К другому концу нити прикреплен рабочий груз.

К жесткой раме крепится плита, на которую устанавливается испытываемый извещатель. Плита крепится таким образом, чтобы центр ударной поверхности ударника попадал в извещатель тогда, когда молоток движется горизонтально.

При подготовке к испытаниям извещатель устанавливают на плиту, после чего плита крепится к жесткой раме. Затем молоток тщательно балансируют путем подстройки противовеса при удаленном рабочем весе. После этого молоток отводят от извещателя на угол 3/2p (ручка молота - в горизонтальном положении) и устанавливают рабочую массу. При освобождении сборки рабочая масса вращает молоток на угол 3/2p. Рабочая масса, необходимая для создания энергии удара 1,9 Дж, равна 0,388/3 r, где r - радиус порота в метрах.

Для достижения скорости ударника 1,50 (±0,12) м×с-1 его масса должна быть равна 0,56 (±0,01) кг.

Схема устройства для проверки устойчивости радиоизотопных извещателей к прямому механическому удару (удар молотком):

1 - доска; 2 - радиоизотопный извещатель; 3 - ударник; 4 - ручка молотка; 5 - стальной цилиндр; 6 - подшипники; 7 - рам; 8 - ворот; 9 - стальные ручки; 10 - стальной противовес; 11 - нить; 12 - рабочий груз

СОДЕРЖАНИЕ

 




Яндекс цитирования



   Copyright © 2007-2026,  www.tehlit.ru.

[ ѓосты, стандарты, нормативы, инструкции, правила, строительные нормы ]