//
ТехЛит.ру
- крупнейшая бесплатная электронная интернет библиотека для "технически умных" людей.
WWW.TEHLIT.RU - ТЕХНИЧЕСКАЯ ЛИТЕРАТУРА

:: Алготрейдинг::


АЛГОТРЕЙДИНГ
шаг за шагом
с нуля по урокам!

Торговые роботы на PYTHON, BackTrader,
Pandas, Pine Script для TradingView. Связка с брокерами, телеграм и легкими приложениями.


ПРАВИТЕЛЬСТВО МОСКВЫ
МОСКОМАРХИТЕКТУРА

РЕКОМЕНДАЦИИ
по проектированию и применению
для строительства и реконструкции
зданий в
г. Москве

ФАСАДНОЙ СИСТЕМЫ
С ВЕНТИЛИРУЕМЫМ ВОЗДУШНЫМ ЗАЗОРОМ
«U-KON»

2003

Предисловие

1. Разработаны: Центральным научно-исследовательским и проектным институтом жилых и общественных зданий (ЦНИИЭП жилища).

Авторский коллектив:

д.т.н. Николаев С. В.                          - руководитель работы

д.т.н. Граник Ю. Г.                             - научно-техническое руководство

инж. Ставровский Г. А.                     - общая редакция и конструкция системы

д.т.н. Зырянов В. С.                            - прочностные расчеты

к.т.н. Беляев В. С.                               - теплотехнические расчеты

инж. Кашулина Ю. Л.                        - конструкции системы

инж. Грибанова И. В.                         - компьютерная графика

Консультанты:

Директор ООО «Алкон-Трейд» -      организационно-технические

Соловьев А. Н.                                    решения и конструкция системы

Менеджер коммерческого отдела Миронов А. К.

Инженер-конструктор Агапова Т.

2. Подготовлены к утверждению и изданию Управлением перспективного проектирования и нормативов Москомархитектуры

3. Утверждены указанием Москомархитектуры от 18.03.03 № 11

СОДЕРЖАНИЕ

1. Введение. 1

2. Назначение и область применения. 2

3. Конструктивное решение систем.. 3

4. Исходные данные для проектирования системы.. 17

5. Определение основных параметров системы.. 17

6. Прочностные расчеты.. 18

7. Теплотехнические расчеты.. 23

8. Состав проектно-сметной документации. 36

9. Технико-экономические показатели. 36

10. Основные положения по производству работ и системе контроля качества. 37

11. Правила эксплуатации системы.. 38

12. Перечень нормативных документов и литературы.. 39

Приложение. 39

1. Введение

1.1. Рекомендации являются методическим и справочным пособием для разработки проектов наружной отделки и утепления зданий и сооружений с применением навесных фасадных систем с вентилируемым воздушным зазором «U-KON».

1.2. Навесные фасадные системы с вентилируемым воздушным зазором являются одним из наиболее эффективных способов отделки и утепления наружных стен зданий различного назначения. В том числе системы «U-KON», где для наружной отделки зданий применяются высокого качества отделочные материалы - кассетные панели из композитного листового материала типа «Alucobond», керамические и керамогранитные плиты, которые позволяют создавать выразительные архитектурные решения фасадов зданий. Фасадные системы «U-KON» достаточно широко апробированы на построенных и реконструированных зданиях, в том числе в г. Москве. На рис. 1.1-1.3 приведены фотографии зданий с отделкой и утеплением фасадными системами «U-KON».

1.3. Разработчиком фасадных систем «U-KON», изготовителем и поставщиком элементов систем является ООО «Алкон-Трейд» г. Москва.

1.4. На навесные фасадные системы «U-KON» выданы следующие технические свидетельства Госстроя России:

- на системы - АТС-КА-СХ-ВХ - № ТС-07-0597-02 зарегистрировано 14.10.2002 г.;

- на системы - АТС-ПК-ВХ-ВХ - № ТС-07-0617-02 зарегистрировано 18.11.2002 г.;

- на системы - АТС-ПК-СХ-ВХ(rz) - № ТС-07-0618-02 зарегистрировано 18.11.2002 г.

1.5. Рекомендации содержат следующие данные: назначение и область применения систем, конструктивные решения систем, состав исходных данных для проектирования, методики расчетов всех расчетных параметров систем, способы производства работ, правила эксплуатации систем и их технико-экономические показатели.

2. Назначение и область применения

2.1. Системы «U-KON» предназначены для фасадной отделки и теплоизоляции наружных стен в соответствии с II этапом энергосбережений СНиП II-3-79* и МГСН 2.01-99.

2.2. Системы допускается применять для строящихся и реконструируемых зданий в г. Москве с несущими конструкциями наружных стен из кирпича, бетона и других материалов плотностью более 600 кг/м2.

Максимальная этажность зданий в соответствии с требованиями пожарной безопасности приводится в разделах 5 приложений к Техническим свидетельствам Госстроя РФ, приведенных в п. 1.4.

Рис. 1.1. Жилой дом, ул. Новочеремушкинская, г. Москва

Рис. 1.2. Здание УМНС России по Московской обл., Походный проезд, г. Москва

Рис. 1.3. Здание бизнес-центра, Ушаковская наб., г. Санкт-Петербург

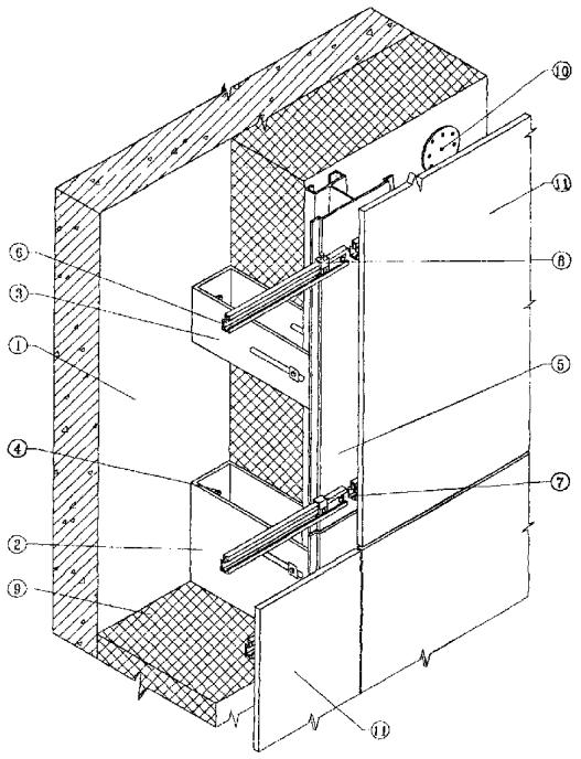
3. Конструктивное решение систем

3.1. Системы являются многослойными конструкциями, включающими несущий каркас, прикрепленный к основанию (несущие конструкции наружной стены), слой утеплителя, также прикрепленный к основанию, и фасадный облицовочный слой в виде кассетных панелей из композитных листов типа «Alucobond», а также керамических или керамогранитных плит, прикрепленных к элементам (в основном к вертикальным профилям) несущего каркаса. При этом между облицовочным слоем и слоем утеплителя устраивается вентилируемый воздушный зазор, с помощью которого влага, накапливающаяся в утеплителе, эффективно удаляется. Возможен вариант применения этих систем без утеплителя только в качестве фасадной отделки зданий.

3.2. Системы «U-KON» в соответствии с техническими свидетельствами отличаются видом облицовочного материала и способами его крепления к несущему каркасу.

3.2.1. В системах АТС-КА-СХ-ВХ в качестве облицовочного материала применяются кассетные панели из композитного листового материала «Alucobond» А2, В1 и В2 (рис. 3.1 и 3.2). В этой системе есть 3 подсистемы (АТС-101, АТС-102и и АТС-103), отличающиеся конструкцией крепежных элементов для крепления кассетных панелей к вертикальным профилям.

3.2.2. В системах АТС-ПК-ВХ-ВХ в качестве облицовочного материала применяются керамические и керамогранитные плиты, которые кляммерами или клипсами крепятся к вертикальным профилям (рис. 3.3 и 3.4). В системе имеется 5 подсистем (204А, 214А, 234А, 214 и 234), которые отличаются видом применяемого вертикального профиля и крепежными элементами (кляммерами или клипсами).

3.2.3. В системах АТС-ПК-СХ-ВХ (rz) для облицовки фасада тоже применяются керамические и керамогранитные плиты, которые крепятся на вертикальных профилях невидимыми снаружи крепежными устройствами (рис. 3.5 и 3.6). В этой системе, в зависимости от вида крепежных устройств, имеется 5 подсистем (228, 228А, 235, 236 и 201).

3.3. Несущие каркасы всех систем «U-KON» включают кронштейны, удлинители кронштейнов, вертикальные профили, салазки, крепежные детали и другие изделия. Перечень применяемых деталей и изделий приводится в разделе 2 приложения к техническому свидетельству Госстроя РФ на каждую систему.

3.3.1. Кронштейны - это элементы, которые с помощью дюбелей и анкерных болтов соединяют несущий каркас с основанием. Для сокращения теплопотерь кронштейны примыкают к основанию через паронитовую прокладку. Кронштейны без удлинителей позволяют сделать систему со слоем утеплителя до 120 мм, если по теплотехническому расчету требуется утеплитель большей толщины, следует применять кронштейны с удлинителями, которые соединяются между собой вытяжными заклепками. Кронштейны с удлинителями и без них соединяются с вертикальными профилями с помощью салазок, которые одеваются на вертикальный профиль до его соединения с кронштейнами. При этом, направляющие на вертикальном профиле входят в пазы салазок.

Это соединение позволяет вертикальному профилю перемещаться в вертикальном направлении относительно салазок и быть жестко фиксированным от перемещений в горизонтальном направлении.

Соединение салазок с кронштейнами (или с удлинителями) производят вытяжными заклепками через шайбы с рифлением. Горизонтальные прорези на кронштейнах (или удлинителях) позволяют регулировать положение салазок с вертикальным профилем относительно основания.

В системе применяются кронштейны 2-х типов: несущие и опорные. Несущие кронштейны воспринимают вертикальные нагрузки от собственного веса элементов системы и горизонтальные - от ветрового давления (напора, отсоса). Опорные кронштейны воспринимают только горизонтальную нагрузку и позволяют вертикальному профилю перемещаться в следствии температурных деформаций. Для восприятия несущими кронштейнами вертикальных нагрузок они соединяются вытяжными заклепками не только с салазками, но и с вертикальным профилем.

Чертежи кронштейнов, удлинителей и салазок представлены на рис. 7.

3.3.2. Вертикальные профили, закрепленные на кронштейнах (или удлинителях), являются базой, на которую прикрепляют элементы фасадной облицовки здания - кассетные панели, керамические или керамогранитные плиты. В зависимости от вида облицовочного материала и способа его крепления применяют вертикальные профили разного поперечного сечения.

Виды (поперечные сечения) вертикальных профилей приведены на рис. 8. Для различных подсистем системы «U-KON» применяют следующие вертикальные профили:

А-04 -   для подсистем АТС-101, АТС-204А, АТС-228, АТС-228А, АТС-201;

А-14 -   для подсистем АТС-214А, АТС-228, АТС-228А, АТС-201, АТС-236 и АТС-214;

А-26 -   для подсистемы АТС-103;

А-30 -   для подсистем АТС-102И, АТС-228, АТС-228А и АТС-201;

А-34 -   для подсистем АТС-234, АТС-234А, АТС-228, АТС-228А, АТС-201 и АТС-236;

А-35 -    для подсистем АТС-235.

В подсистеме АТС-101 применяют вертикальные профили, длина которых меньше высоты кассетных панелей. Эти профили устанавливают с разрывом, в который входят верхние и нижние грани кассетной панели. А для того, чтобы исключить затекание в разрыв воды, его перекрывают дренажной вставкой (АД-091).

3.3.3. В системах для крепления на вертикальных профилях облицовочного материалов применяют следующие крепежные элементы:

- в подсистемах АТС-101 в вертикальный профиль А-04 вставляют и фиксируют салазки с горизонтальными штифтами, на боковых гранях кассетной панели прорезают отверстия в виде крючков, которые позволяют навесить кассетную панель на штифты (рис. 3.9);

- в подсистеме АТС-102И вертикальные профили тоже оснащены салазками со штифтами, а к боковым граням кассетных панелей заклепками прикреплены пластины с прорезью в виде крючка, которыми пластина одевается на штифты (рис. 3.10);

- в подсистеме 103 применяют специальный вертикальный профиль А-26 с пазами, куда вставляются крепежные элементы в виде крючков, захват которых направлен вверх, а с внутренней стороны боковых граней кассетной панели приклепаны отрезки прямоугольных труб, одна из стенок которых входит в захват крюка (рис. 3.11);

- в подсистемах АТС-204А, АТС-214А и АТС-234А плиты керамогранита удерживаются на вертикальных профилях кляммерами, выполненными в виде пластины с четырьмя скобками для углов 4-х плит, сходящихся в одной точке, отличие в этих подсистемах заключается в том, что кляммеры крепят на разных вертикальных профилях (см. п. 3.3.2);

- в подсистемах АТС-214 и АТС-234 единственное отличие от подсистем АТС-214А и АТС-234А заключается в том, что вместо кляммеров применяются клипсы (см. рис. 3.4 и 3.12);

- в подсистемах АТС-228, АТС-228А и АТС-235 скрытое крепление плит керамогранита осуществляется с помощью устройства с распорными винтами (крепежный элемент), которые входят в 4 несквозных отверстия с обратным уклоном в каждой плите или в керамические бабышки с отверстиями, приклеенные по 4 штуки к каждой плите (подсистема АТС-228А), крепежные элементы в системах АТС-228 и АТС-228А фиксируются на горизонтальных профилях, прикрепленных к вертикальным профилям вытяжными заклепками (рис. 3.13), а в подсистеме АТС-235 применяются специальные вертикальные профили А-35, на который предусмотрена установка кронштейнов отдельно для каждого крепежного элемента (рис. 3.14);

- в подсистеме АТС-201 в качестве облицовочного материала применяют плиты фасадные керамические типа Kera Twin K1 с отверстиями в боковых гранях, для установки плит на вертикальных профилях вытяжными заклепками крепят пластины с четырьмя (рядовой случай), горизонтально расположенными скобами, которые входят в отверстия четырех, сходящихся в этом месте, плит (рис. 3.6 и 3.16);

- в подсистеме АТС-236 в качестве облицовочного материала применяют плиты фасадные керамические типа Kera Twin K3, на тыльной стороне которых сверху и снизу расположены две горизонтальные складки для подвески этих плит на горизонтальных профилях, в этом случае на горизонтальных профилях с определенным интервалом имеются приливы, входящие в складки на тыльной стороне плит, за счет чего производится их надежная фиксация на несущем каркасе (рис. 3.6 и 3.15).

3.4. Конструктивные решения системы в ее нижней части - у цоколя и сверху на парапете, у оконного проема и на внешнем углу здания представлены на рис. 3.17 ÷ 3.20.

3.5. Основные элементы несущего каркаса - кронштейны, удлинители, салазки, вертикальные профили и другие алюминиевые детали прессуются из алюминиевых составов AlMgSiO, 5 по ГОСТ 22233-01, оконные откосы, отливы, противопожарные отсечки изготовлены из стали листовой оцинкованной ОЭПС ХП, ПК по ГОСТ 14918-80, кляммеры и крепежные скобы для крепления керамических и керамогранитных плит - из нержавеющей стали. Кассетные панели изготавливают из листового материала Alucobond A2, Alucobond B1 и Alucobond B2.

Изделия и материалы, разрешенные для применения в системах «U-KON» и требования, которым они должны отвечать, приводятся в разделах 2 и 5 приложений к Техническим свидетельствам Госстроя РФ на эти системы.

3.6. Контакт стальных деталей (из нержавеющей стали и оцинкованных) с алюминиевыми следует исключить за счет прокладки между ними полимерных шайб или посадки стальных деталей на свежую краску.

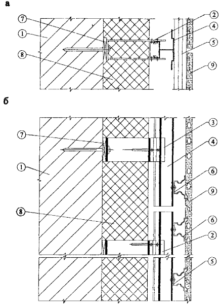
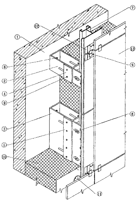
1. Основание.

2. Несущий кронштейн с салазками.

3. Опорный кронштейн с салазками.

4. Анкерный болт.

5. Вертикальный профиль.

6. Дренажный элемент.

7. Горизонтальный штифт.

8. Кассетная панель.

9. Шайба с рифлением и заклепка.

10. Заклепка.

11. Утеплитель.

12. Тарельчатый дюбель.

Рис. 3.1. Системы «U-KON», конструктивный вариант с облицовкой кассетными панелями «АТС-КАХ-ВХ», АТС-101.

1. Вертикальный профиль.

2. Кассетная панель.

3. Салазки с горизонтальным штифтом.

4. Проушина на кассетной панели.

5. Проушина на вертикальном профиле.

6. Деталь навески кассетной панели на проушину 5.

Рис. 3.2. Система «U-KON», конструктивный вариант с облицовкой кассетными панелями «АТС-КА-СХ-ВХ».

Узлы навески кассетных панелей

а) в подварианте АТС-10

б) в подварианте АТС-103

1. Основание.

2. Кронштейн опорный.

3. Кронштейн несущий.

4. Удлинитель опорного кронштейна с салазкой.

5. Удлинитель несущего кронштейна с салазкой.

6. Анкерный болт.

7. Вертикальный профиль.

8. Шайба с рифлением и заклепка.

9. Заклепка.

10. Утеплитель.

11. Тарельчатый дюбель.

12. Кляммер.

13. Плиты из керамогранита.

Рис. 3.3. Системы «U-KON», конструктивный вариант с облицовкой плитами керамогранита на кляммерах.

1. Вертикальный профиль.

2. Плита керамогранита.

3. Клипса.

4. Заклепка.

Рис. 3.4. Система «U-KON», конструктивный вариант с облицовкой плитами керамогранита.

Узлы открытого крепления плит керамогранита

АТС-234 - подвариант с клипсами.

1. Вертикальный профиль.

2. Плита керамогранита.

3. Крепежная скоба.

4. Горизонтальный профиль.

Рис. 3.6. Система «U-KON», конструктивный вариант с облицовкой плитами керамогранита.

Узлы скрытого крепления плит керамогранита

а) АТС-201 - скобами в боковые отверстия

б) АТС-236 - выступами в горизонтальном профиле в складку на тыльной стороне плиты

1. Основание.

2. Несущий кронштейн с салазками.

3. Опорный кронштейн с салазками.

4. Анкерный болт.

5. Вертикальный профиль.

6. Горизонтальный профиль.

7. Крепежный элемент.

8. Крепежный элемент с фиксирующим болтом.

9. Утеплитель.

10. Тарельчатый дюбель.

11. Плиты керамогранита.

Рис. 3.5. Системы «U-KON», конструктивный вариант с облицовкой плитами керамогранита со скрытым креплением «АТС-ПК-СХ-ВХ(rz)», АТС-228.

Рис. 3.7. Система «U-KON», кронштейны, удлинители, салазки.

Рис. 3.8. Система «U-KON», вертикальные профили, дренажная вставка.

1. Основание.

2. Несущий кронштейн с салазками.

3. Опорный кронштейн с салазками.

4. Вертикальный профиль.

5. Салазки с горизонтальным штифтом.

6. Дренажный элемент.

7. Паронитовая прокладка.

8. Утеплитель минераловатный.

9. Кассетная панель.

Рис. 3.9. Конструктивный вариант системы «U-KON» с облицовкой кассетными панелями АТС-101.

а - горизонтальный разрез

б - вертикальный разрез

1. Основание.

2. Несущий кронштейн с салазками.

3. Опорный кронштейн с салазками.

4. Вертикальный профиль.

5. Салазки с горизонтальным штифтом.

6. Крепежный элемент.

7. Паронитовая прокладка.

8. Утеплитель минераловатный.

9. Кассетная панель.

Рис. 3.10. Конструктивный вариант системы «U-KON» с облицовкой кассетными панелями «АТС-КА-СХХ», АТС-102и.

а - горизонтальный разрез

б - вертикальный разрез

1. Основание.

2. Несущий кронштейн с салазками.

3. Опорный кронштейн с салазками.

4. Вертикальный профиль.

5. Крепежный элемент «Икля».

6. Крепежный элемент.

7. Утеплитель минераловатный.

8. Паронитовая прокладка.

9. Кассетная панель.

Рис. 3.11. Конструктивный вариант системы «U-KON» с облицовкой кассетными панелями «АТС-КА-СХ-ВХ», АТС-103.

а - горизонтальный разрез

б - вертикальный разрез

1. Основание.

2. Несущий кронштейн.

3. Опорный кронштейн.

4. Вертикальный профиль.

5. Кляммер.

6. Паронитовая прокладка.

7. Утеплитель минераловатный.

8. Плита керамогранита.

Рис. 3.12. Конструктивный вариант системы «U-KON» с облицовкой плитами керамогранита на кляммерах, АТС-214.

а - горизонтальный разрез

б - вертикальный разрез

1. Основание.

2. Несущий кронштейн.

3. Опорный кронштейн.

4. Вертикальный профиль.

5. Горизонтальный профиль.

6. Крепежный элемент с фиксирующим болтом.

7. Крепежный элемент.

8. Паронитовая прокладка.

9. Утеплитель минераловатный.

10. Плита керамогранита.

Рис. 3.13. Конструктивный вариант системы «U-KON» с облицовкой плитами керамогранита со скрытым креплением, АТС-228.

а - горизонтальный разрез

б - вертикальный разрез

1. Основание.

2. Несущий кронштейн.

3. Опорный кронштейн.

4. Вертикальный профиль.

5. Кронштейн /правый/.

6. Кронштейн /левый/.

7. Крепежный элемент.

8. Распорный винт.

9. Паронитовая прокладка.

10. Утеплитель минераловатный.

11. Плита керамогранита.

Рис. 3.14. Конструктивный вариант системы «U-KON» с облицовкой плитами керамогранита со скрытым креплением, АТС-235.

а - горизонтальный разрез

б - вертикальный разрез

1. Основание.

2. Несущий кронштейн.

3. Опорный кронштейн.

4. Вертикальный профиль.

5. Горизонтальный профиль.

6. Горизонтальный профиль для стыка.

7. Паронитовая прокладка.

8. Утеплитель минераловатный.

9. Плита керамогранита.

Рис. 3.15. Конструктивный вариант системы «U-KON» с облицовкой плитами керамогранита со скрытым креплением, АТС-236.

а - горизонтальный разрез

б - вертикальный разрез

1. Основание.

2. Несущий кронштейн.

3. Опорный кронштейн.

4. Вертикальный профиль.

5. Крепежная скоба.

6. Паронитовая прокладка.

7. Утеплитель минераловатный.

8. Плита керамогранита.

Рис. 3.16. Конструктивный вариант системы «U-KON» с облицовкой плитами керамогранита со скрытым креплением, АТС-201.

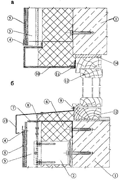
а - горизонтальный разрез

б - вертикальный разрез

1. Основание.

2. Кронштейн опорный.

3. Вертикальный профиль.

4. Анкерный болт.

5. Утеплитель минераловатный.

6. Плита керамогранита.

7. Кляммер.

8. Перфорированная алюминиевая пластина.

9. Козырек.

10. Дренажная вставка.

Рис. 3.17. Узел примыкания системы «U-KON» к цоколю на примере подсистемы АТС-204А

1. Основание.

2. Кронштейн несущий.

3. Вертикальный профиль.

4. Кляммер.

5. Плита керамогранита.

6. Утеплитель минераловатиый.

7. Отсечка из оцинкованной стали.

8. Дополнительный крепежный элемент.

9. Саморез.

10. Оконное обрамление.

11. Профиль алюминиевый.

12. Оконный блок.

13. Слив.

14. Пеноутеплитель «Макрофлекс».

Рис. 3.18. Примыкание системы «U-KON» к оконному проему на примере подсистемы АТС-204А

а) в верхней части

б) в нижней части

1. Основание.

2. Кронштейн несущий.

3. Вертикальный элемент.

4. Плита керамогранита.

5. Утеплитель минераловатный.

6. Алюминиевый уголок.

7. Дополнительный алюминиевый профиль.

8. Болт из оцинкованной стали.

9. Анкерный болт.

10. Паронитовая прокладка.

Рис. 3.19. Узел крепления системы «U-KON» на наружном углу здания

1. Основание.

2. Кронштейн несущий.

3. Вертикальный профиль.

4. Утеплитель.

5. Плита керамогранита.

6. Кляммер.

7. Усилитель угловой.

8. Покрытие.

9. Профиль алюминиевый.

10. Кронштейн специальный.

11. Анкерный болт.

Рис. 3.20. Узел примыкания системы «U-KON» к парапету на примере подсистемы АТС-204А

4. Исходные данные для проектирования системы

4.1. Проектно-сметная документация на систему для конкретного объекта разрабатывается на основе задания на проектирование, подготовленного в соответствии с существующим в г. Москве порядком и утвержденного заказчиком. Задание на проектирование обязательно должно содержать требование о соответствии системы II этапу энергосбережений СНиП II-3-79* (изд. 1998 г.) и МГСН 2.01-99.

4.2. Задание на проектирование должно включать следующие исходные данные:

- архитектурные чертежи фасадов здания, включающие данные о фактуре и цвете облицовочных материалов, чертежи архитектурных деталей (карнизов, обрамления проемов и т.п.) и другие необходимые данные, если это не входит в состав работ по данному заданию;

- строительные чертежи наружных стен от фундаментов до парапетов, включая узлы, поясняющие решение и размеры всех конструкций;

- данные от разработчиков фундаментов о величине допустимой дополнительной нагрузки на стены здания или заключение компетентной организации о несущей способности фундаментов здания;

- план участка, где расположено здание.

Для реконструируемых зданий задание на проектирование дополнительно должно содержать акт обследования наружных стен здания, где указывается состояние поверхности фасадов, результаты испытаний на усилия, с которым принятые дюбели можно вырвать из стены и геодезическую съемку поверхностей фасадов с данными о величине отклонений их отдельных участков от вертикальной плоскости.

4.3. К заданию на проектирование должно быть приложено Приложение к Техническому свидетельству Госстроя России на эту фасадную систему.

5. Определение основных параметров системы

5.1. К основным параметрам системы следует отнести:

-         тип и размер облицовочных материалов и способ их крепления к несущему каркасу;

-         характеристику принятых плит утеплителя: марку, размеры, плотность, теплопроводность, наличие или отсутствие защитного слоя;

-         величину воздушного зазора;

-         схему размещения на фасаде здания кронштейнов и вертикальных профилей со всеми необходимыми размерами, в том числе, расстояние от основания до экрана;

-         марку дюбелей для крепления кронштейнов несущего каркаса к основанию;

-         марку дюбелей для крепления плит утеплителя к основанию.

5.2. Тип и размер облицовочных плит, их цвет, фактуру поверхности и способ крепления к несущему каркасу, определяет главный архитектор проекта, если эти данные не приведены в задании на проектирование системы.

5.3. Выбор плит утеплителя выполняется на основании теплотехнических расчетов, методика которых приводится ниже. Там же (в разделе «Теплотехнические расчеты») имеются рекомендации по определению величины воздушного зазора.

В случае применения плит утеплителя с кашированной поверхностью можно обойтись без гидроветрозащитной мембраны.

5.4. Схема размещения на фасаде здания элементов несущего каркаса разрабатывается, исходя из следующих данных:

- размеров по ширине облицовочных плит, вертикальный шов между которыми должен располагаться в центре вертикального профиля;

- геометрии фасада здания, размещении на фасаде проемов, балконов, карнизов и других отступающих (выступающих) от плоскости фасада элементов для минимизации применения облицовочных плит с нестандартными размерами;

- результатов прочностных расчетов системы, благодаря которым, в том числе, уточняется шаг по вертикали установки кронштейнов;

- расстояния от основания до экрана, принятого на основании теплотехнических расчетов, при этом следует учитывать величину фактических отклонений фасада от проектного положения.

5.5. Марку дюбелей для крепления кронштейнов и утеплителя выбирают с учетом результатов прочностных расчетов системы, материала основания, паспортных данных рассматриваемых дюбелей и результатов испытаний принятых дюбелей на выдергивание.

6. Прочностные расчеты

6.1. Методические предпосылки

Прочностные расчеты включают проверку прочности и деформаций металлических профилей, анкерных болтов и стержней, несущих нагрузки от их собственной массы, массы облицовочных плит, утеплителя и от давления ветра, стыковых соединений профилей между собой, их креплений к основным несущим конструкциям здания.

Физико-механические характеристики материалов профилей, их соединений и крепежных элементов следует принимать по СНиП [2, 3].

Нагрузки от собственной массы облицовочных плит и утеплителя принимаются по техническим условиям или паспортным данным предприятий-изготовителей. Временные нагрузки от ветра принимаются по СНиП [2], в данном случае для I ветрового района г. Москвы. Кроме того, учитываются дополнительные коэффициенты к ветровым нагрузкам в соответствии с письмом ЦНИИСКа № 1-945 от 14.11.2001 г. (см. Приложение). Нагрузку от собственной массы профилей в случаях, когда она относительно мала, возможно не учитывать.

Усилия: изгибающие моменты, поперечные и продольные силы; прогибы определяются с использованием основных положений сопротивления материалов и строительной механики. Коэффициенты надежности по нагрузкам γf, а также единый коэффициент надежности по ответственности γп = 0,95 принимаются по СНиП [2].

При проверке прочности и деформаций элементов и стыковых соединений формулы СНиП [] трансформируются по форме к условиям примеров.

Подробно методика расчета проиллюстрирована в приводимом ниже примере (п. 6.4). В примере исходные параметры даны для конкретных материалов и конструкций (п. 6.2). В то же время приведенная методика, где все расчетные формулы даются как в буквенном, так и в числовом выражениях со ссылками на нормативные источники, может быть использована и для других вариантов и сочетаний материалов и конструктивных решений.

6.2. Характеристики материалов

Расчетные сопротивления несущих профилей и заклепок, изготовленных из алюминиевого сплава марки АД31Т1, согласно [3] Па): профилей: на растяжение, сжатие и изгиб R = 120; на сдвиг Rs = 75; на смятие Rlp = 90; модуль упругости Е = 7 · 104; соединений на заклепках: на срез Rrs = 70; на смятие Rrp = 110; Коэффициент условий работы γс = 1.

Расчетные сопротивления стальных болтов по [4] (МПа): на растяжение Rвt = 170; на срез Rвs = 150. Коэффициент условий работы γв = 0,8.

Тип, конструкция и допускаемое усилие на 1 болт с дюбелем подбираются по каталогам фирм с учетом материала и состояния стены.

Утеплитель - минераловатные плиты «Венти-Баттс» плотностью γ = 110 кг3, толщиной δ = 150 мм. Прочность на сжатие утеплителя «Венти-Баттс» при 10 % деформации 0,02 МПа

6.3. Расчетные схемы

Направления координатных осей приняты:

ось х - горизонтальная в плоскости стены;

ось у - горизонтальная по нормали к стене;

ось z - вертикальная в плоскости стены.

Расчетная схема вертикальных направляющих профилей - двухпролетная неразрезная балка, жестко (в запас прочности) закрепленная на верхней опоре и шарнирно - подвижно в направлении оси «z» - на остальных опорах (рис. 6.1).

Пролеты в направлении оси «z» соответствуют шагам кронштейнов.

К вертикальным профилям прикладывается вертикальная нагрузка от собственного веса и веса облицовочных плит и горизонтальная ветровая нагрузка.

Расчетная схема несущего (верхнего) кронштейна - консоль с вылетом еу (рис. 6.2), диктуемым толщиной слоя утеплителя. На кронштейны через вертикальные профили передаются вертикальные и ветровые нагрузки.

Соединения кронштейна с вертикальной направляющей и со стеной в запас прочности системы приняты рамного типа, т.е. способные воспринимать изгибающие моменты.

Расчетная схема крепления несущего кронштейна к стене (рис. 6.3) принята с учетом реальной возможности восприятия как горизонтальных сил, так и изгибающего момента от вертикальной нагрузки.

Рис. 6.1. Расчетные схемы вертикального направляющего профиля.

а - на вертикальные нагрузки;

б - на ветровые нагрузки.

Рис. 6.2. Расчетная схема несущего кронштейна.

а - схема опирания и нагрузок;

б - усилия.

Рис. 6.3. Расчетная схема крепления несущего кронштейна.

Расчетная схема распорных стержней для крепления утеплителя - консоль с вылетом ly = δут.

Заклепочные и болтовые соединения между профилями и со стеной, анкеровка в стене, рассчитываются на действие усилий среза от вертикальных нагрузок, растяжения, изгиба и вырыва от совместного действия вертикальной и ветровой нагрузок.

6.4. Пример расчета

6.4.1. Исходные данные и нагрузки

В данном примере принят вариант с облицовочными плитами из керамогранита плотностью γ = 2500 кг/м3, размеры плит 600 × 600 мм, толщина δ = 10 мм. Крепление плит - алюминиевыми профилями: толщина стенок вертикальных направляющих переменная δ = 1,6 ÷ 2,5 мм; кронштейнов - δ = 2 мм.

Шаги вертикальных направляющих профилей и кронштейнов вдоль здания lх = 0,6 м, шаги кронштейнов по вертикали lz = 1,35 м.

Крепление кронштейна к стене - одним стальным болтом Ø 10 мм с дюбелем.

Утеплитель - минераловатные плиты - по п. 6.2, крепится к стене независимо от облицовки, стальными распорными стержнями Ø 5 мм с шляпками Ø 80 мм.

Вертикальные нагрузки (Н/м2): от веса облицовочных плит: нормативная qzn = 2500 · 10 · 10-3 · 101 = 250; расчетная qz = γf · qzn = 1,1 · 250 = 275; от веса утеплителя - расчетная qут. = γf · γ · δ = 1,3 · 110 · 150 · 10-3 · 101 = 215; собственным весом алюминиевых профилей пренебрегается.

Горизонтальные нагрузки от ветрового давления приняты условно для высоты Н = 80 м; нормативное значение ветрового давления для I ветрового района wo = 0,23 кПа; коэффициент «К» для зданий высотой 80 м, тип местности «В», по табл. 6 [2] К = 1,45; аэродинамический коэффициент принимается максимальным - для угловых зон здания С = 2; коэффициент γр = 1,3, учитывающий пульсационную составляющую ветровой нагрузки и коэффициент γm = 1,2 увеличения средней величины ветрового давления при расчете узлов крепления (γp и γm - по рекомендации ЦНИИСК, как дополнение к СНиП [2]).

Нормативная ветровая нагрузка для элементов конструкций qyn = wn = 0,23 · 1,45 · |-2| · 1,3 = 0,867 кПа = 867 Н/м2; то же для узлов креплений qуn = 867 · 1,2 = 1040 Н/м2. Расчетная нагрузка при коэффициенте надежности по нагрузке γf = 1,4 [2]: для элементов qу = 1,4 · 867 = 1214 Н/м2, для узлов qу = 1,4 · 104 = 1456 Н/м2.

Далее расчет профилей и их креплений производится лишь для участков около углов здания. При этом в средних зонах фасада для некоторых элементов и узлов образуется небольшой запас прочности. Во избежание перерасхода материалов при необходимости в конструкции могут быть внесены коррективы с соответствующим перерасчетом прочности и жесткости несущих элементов и их креплений.

Расчет для средних зон фасада отличается величиной аэродинамического коэффициента С = 0,8 и определением коэффициента γр по формуле (8) СНиП [2].

6.4.2. Расчет кортикального направляющего профиля

Геометрические характеристики

Длина Lz = 3 м: параметры поперечного сечения А = 458 мм2; J = 163884 мм4; W = 4849 мм3; t = δст = 2,2 мм; So = 4309 мм3.

Определение усилий

Нагрузки на 1 м профиля (Н/м):

- вертикальные от плит: нормативная рzn = qzn · lx = 250 · 0,6 = 150; расчетная pz = qz · lх = 275 · 0,6 = 165; эксцентрицитет еyc = 170 мм; - горизонтальные от ветра: для элементов нормативная py1n = qyn · lx = 867 · 0,6 = 520; расчетная ру1 = qу · lх = 1214 · 0,6 = 728; для узлов крепления py2n = γm ·py1n = 520 · 1,2 = 624; ру2 = py1 · γm = 728 · 1,2 = 874.

Изгибающие моменты в плоскости, перпендикулярной стене (Нм):

- от вертикальной нагрузки: нормативной Мzn = Ктабл. · pzn · Lz · eyc = 0,5 · 150 · 3 · 0,17 = 38; расчетной Мz = Ктабл. · рz · Lz · еyc = 0,5 · 165 · 3 · 0,17 = 42;

- от ветровой нагрузки: нормативной Муn = Ктабл. · py1n · lz2 = 0,125 · 520 · 1,352 = 118; расчетной Му = Кта6л. · ру1 · lz2 = 0,125 · 728 · 1,352 = 166.

Продольное усилие для элементов Nz1 = рz · Lz = 165 · 3 = 495 Н; для узлов креплений Nz2 = Nz1 · γm = 495 · 1,2 = 594 Н.

Поперечная сила для элементов: Qy1 = ру1 · lz / 2 + Му / lz = 728 · 1,35 / 2 + 166 / 1,35 = 614 Н; горизонтальное усилие для узлов креплений на верхней опоре Qy2 = [рy1 (lz / 2 + az) + (1,5Мz - Му) / lz] γm = [728 (1,35 / 2 + 0,15) + (1,5 · 42 - 166) / 1,35] · 1,2 = 812 Н.

Проверка прочности профиля на растяжение с изгибом

По формуле (29) [3] для сечения над средней опорой при наиболее невыгодном сочетании усилий (с максимальной величиной момента Му)

;

 МПа < 120 · 1 = 120 МПа;

прочность на растяжение с изгибом обеспечивается.

Проверка профиля на сдвиг (срез)

По формуле (21) [3] ;

 МПа < 75 · 1 = 75 МПа;

прочность на сдвиг (срез) обеспечивается.

Проверка прочности крепления профиля к несущему кронштейну

Крепление производится алюминиевыми заклепками d = 5 мм, площадью сечения А = 13 мм2, с расчетными сопротивлениями на 1 заклепку: на растяжение 2000 Н, на срез 1650 Н (по данным ООО «Алкон-Трейд»).

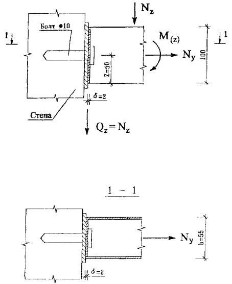
Вертикальная сила Nz2 воспринимается двумя фиксирующими заклепками, момент Мz - четырьмя заклепками с плечом z = 50 мм; горизонтальная нагрузка - всеми шестью заклепками.

Усилия среза в одной фиксирующей заклепке (11): от вертикальной нагрузки Qz = Nz2 / 2 = 594 / 2 = 297; от горизонтальной нагрузки Qy = Qy2 / 6 = 812 / 6 = 135; суммарные: Qz = Q1 = 108; Qу = Q2 + Q3 = 71 + 164 = 235.

По формулам (73), (74) [3]: на срез

;  МПа < 70 МПа;

на смятие                                   ;

 МПа < 110 МПа;

прочность фиксирующих заклепок на срез и кронштейна под ними на смятие обеспечивается. Остальные заклепки работают с меньшими усилиями, поэтому расчет их опускается.

Проверка жесткости вертикального профиля

Проверяется прогиб в направлении оси «у», т.е. но нормали к стене, от действия нормативной ветровой нагрузки ру1n = 520 Н/м, с изгибающим моментом на средней опоре Муn = 118 Нм.

По формулам строительной механики

f / l - 0,75 / 1350 = 1 / 1800, что меньше предельно допустимой величины [f / l] = 1 / 200, жесткость профиля достаточна.

6.4.3. Расчет несущего кронштейна

Геометрические характеристики

Параметры поперечного сечения за вычетом четырех отверстий под заклепки Ø 5,1 мм: h = 100 мм; hn = 90 мм; δ = 2 мм; Аn = 360 мм2; Wn = 6014 мм3; Jn = 300693 мм4; Sn = 4184 мм3; t = 2 · δ = 4 мм.

Усилия

От вертикальной нагрузки Nz1 = 495 Н; от вертикальной и горизонтальной нагрузок: для элементов Nу1 = ру1 (lz / 2 + аz) + (1,5 Мz - Mу) / lz = 728 (1,35 / 2 + 0,15) + (1,5 · 42 - 166) / 1,35 = 677 Н, где Мz и Мy - те же, что и в вертикальном профиле, см. п. 6.4.2. Продольное растягивающее усилие Ny = Ny1 = 677 Н, поперечная сила Qz = Nz1 = 495 Н.

Проверка прочности поперечного сечения на растяжение с изгибом и сдвиг (срез)

По формуле (29) [3] на растяжение с изгибом

;

 МПа < 120 · 1 = 120 МПа;

По формуле (21) [3] на сдвиг (срез) от вертикальной нагрузки

 МПа < 75 · 1 = 75 МПа;

прочность несущего кронштейна на растяжение с изгибом и сдвиг (срез) обеспечивается.

6.4.4. Расчет опорного кронштейна

Опорные кронштейны воспринимают только продольные усилия от горизонтальной ветровой нагрузки; наиболее нагруженным является кронштейн на средней опоре, на который действует усилие Ny1 = рy1 · lz + 2 Му / lz = 728 · 1,35 + 2 · 166 / 1,35 = 1229 Н.

Площадь поперечного сечения за вычетом четырех отверстий под заклепки Аn = 220 мм2. По формуле (1) [3] Nу1 · γn R · γc · Аn; 1229 · 0,95 = 1168 Н <120 · 1 · 220 = 26400 Н; прочность опорного кронштейна на растяжение обеспечивается.

6.4.5. Расчет крепления кронштейнов к стене

Крепление производится одним стальным болтом Ø 10 мм с расчетным диаметром 8 мм и расчетной площадью сечения: на растяжение Аn = 50,3 мм2; на сдвиг и смятие A = 78,5 мм2.

Прочность болтового соединения несущего кронштейна

Изгибающий момент М = Мz · γm = 42 · 1,2 = 50,4 Нм; продольная сила Ny = Qy2 = 812 Н; поперечная сила Qz2 = Nz2 = 594 Н.

Растягивающее усилие в болте: от продольной силы N1 = Ny = 812 Н; от момента N2 = М / z = 42 · 103 / 50 = 840 Н; суммарное Nу = N1 + N2 = 812 + 840 = 1652 Н. Усилие на срез и на смятие, приходящееся на болт Nz = Qz2 = 594 Н.

По формуле (129) [4] на растяжение: Ny · γnRвtAвn; 1652 · 0,95 = 569 Н < 170 · 50,3 = 8551 Н; по формуле (127) [4] на сдвиг (срез): Nz · γn Rвs · γв · A · ns; 594 · 0,95 = 564 Н < 150 · 0,8 · 78,5 · 1 = 9420 Н; прочность болтов на растяжение и сдвиг (срез) обеспечивается.

По формуле (74) [3] Nz · γnRrp · n · d · t на смятие стенки кронштейна под болтом: 564 Н < 110 · 1 · 10 · 2 = 2200 Н; прочность кронштейна на смятие под болтом обеспечивается.

Прочность болтового соединения опорного кронштейна

Продольное растягивающее усилие в болте Ny = Nу2 = Nу1 · γm = 1229 · 1,2 = 1475 Н. Прочность болта на растяжение по формуле (129) [4] : Ny · γnRвtAвn; 1475 · 0,95 = 1401 Н < 170 · 50,3 = 8551 Н; прочность болта на растяжение обеспечивается.

Крепление болтов к стене

Вырывающие усилия раины: у несущего кронштейна Nу = 1652 Н, у опорного Nу = 1475 Н. Под эти усилия следует подбирать конструкцию дюбелей и болтов и условия их заделки в стену по каталогам фирм-изготовителей, в частности, швейцарской фирмы «Mungo».

6.4.6. Расчет крепления утеплителя

На 1 м2 стены принимается 4 распорных стержня: на 1 стержень с расчетной площадью сечения А = 19,6 мм2, приходится Аут.1 = 0,25 м2.

При диаметре шляпки dш = 80 мм утеплитель может воспринять усилие сжатия не более [N] = Rут · Аш = 0,02 · π · 802 / 4 = 100,5 Н.

Контроль за ограничением этого усилия осуществляется по величине деформации обжатия утеплителя под шляпкой, которая при δут = 150 мм не должна превышать Δ = 0,1 · 150 = 15 мм.

Поперечная сила, приходящаяся на 1 стержень от веса утеплителя, Qz = qут · Аут = 215 · 0,25 = 53,8 Н.

По формуле (127) [4]: Qz · γn = 53,8 · 0,95 = 51,1 Н < 150 · 0,8 · 19,6 = 2352 Н; прочность стержней на срез обеспечивается.

7. Теплотехнические расчеты

7.1. Введение

В настоящем разделе анализируются принципы теплотехнического проектирования систем наружных стен «U-KON» с вентилируемыми воздушными прослойками между экраном и теплоизоляционным слоем, приводятся рекомендации по различным техническим параметрам.

Принципы теплотехнического проектирования включают методы теплотехнических расчетов, расчеты воздухообмена и влагообмена в воздушных прослойках.

Методика теплотехнических расчетов базируется на требованиях СНиП II-3-79* [5] и МГСН 2.01-99 [10].

7.2. Основные, используемые в тексте, понятия

Воздушная прослойка между утеплителем и экраном, вентилируемая наружным воздухом; швы, зазоры - приточные (воздухозаборные) и вытяжные (воздуховыводящие) отверстия. Путями прохождения наружного воздуха могут являться в основном горизонтальные стыковые швы элементов экрана, поскольку вертикальные, как правило, закрыты.

Условное сопротивление паропроницанию - приведенное, учитывающее сопротивление паропроницанию материалов экрана с учетом швов между облицовочными панелями.

7.3. Основные положения по проектированию фасадных систем наружных стен с вентилируемой воздушной прослойкой

При проектировании зданий с вентилируемыми фасадами системы «U-KON» следует учитывать особенности экранируемых стен.

Минимальный размер швов* для притока воздуха рекомендуется 10-20 мм (при размерах плит экрана 1200 × 600 мм) для Москвы.

* - то же, что швы-зазоры.

Общая толщина воздушной прослойки принимается, как правило, 60 мм для Москвы.

Площадь отверстий щели* для вытяжки воздуха не должно быть менее сечения отверстий щели для притока.

* - то же, что швы-зазоры.

7.4. Правила теплотехнического проектирования наружных ограждений с вентилируемым фасадом

Теплотехническое проектирование наружных стен с вентилируемыми фасадами системы «U-KON» включает в себя два этапа. Причем второй этап применяется, если после первого этапа расчетов не выявится надежность рассматриваемой конструкции в теплотехническом отношении.

Первый этап

Назначается конструктивное решение стены, в т.ч. параметры экранов, приточных и выводных щелей с учетом раздела 7.3.

Выполняется теплотехнический расчет наружной стены с экраном, т. определяется необходимая толщина теплоизоляции, исходя из требований 2-ого этапа СНиП II-3-79* (98) [5] и с учетом требований МГСН 2.01-99 [10].

Выполняется расчет влажностного режима стены по методике СНиП II-3-79* (98) [4] с учетом коэффициента паропроницаемости по глади экрана.

Проверяется расчетом упругость водяного пара на выходе из воздушной прослойки по формуле (18) с учетом параметров стены при расходе воздуха равном нулю, если требования СНиП II-3-79* (98) будут выполнены.

Если влажностный режим стены удовлетворяет требованиям норм строительной теплотехники СНиП II-3-79* (98) [5], то на этом теплотехническое проектирование заканчивается.

Если влажностный режим экранированных стен не удовлетворяет требованиям, то подбирается такой размер швов и экрана, чтобы с ними конструкция стены удовлетворяла требованиям СНиП [5].

Если расчет влажностного режима наружного ограждения с вентилируемым фасадом покачал невыполнение требований СНиП II-3-79* (98) [5], а другой материал стены и экрана подобрать нельзя, то переходят ко второму этапу теплотехнического проектирования.

1) Определяется условное сопротивление паропроницанию экрана с учетом швов по методике раздела 7.6.6.

2) С учетом этого показателя проводят расчет влажностного режима по методике СНиП II-3-79* (98 г.).

3) При необходимости определяется влажностный режим рассматриваемой конструкции в годовом цикле с учетом средних месячных температур.

4) С учетом результатов расчета по п. 2, 3 анализируются результаты, при необходимости корректируют материалы и их толщины в конструкции с целью исключения влагонакопления в годовом цикле. В основном, проведенных упомянутых расчетов для определения применимости конструкции, бывает достаточно. В других случаях расчет может быть продолжен в следующей последовательности.

4.1) С учетом этажности здания и района строительства определяется скорость движения воздуха в прослойке за экраном и расход воздуха.

Для выполнения п. 5 определяется термическое сопротивление воздушной прослойки по формуле (16).

4.2) Определяется температура на выходе из воздушной прослойки.

4.3) Определяется действительная упругость водяного пара на выходе из прослойки еу по формуле (18). Определяется упругость водяного пара на выходе из прослойки и проверяется условие еу < Ен, где Ен - максимальная упругость водяного пара на выходе из прослойки. Анализируются результаты расчетов и корректируется конструкция стены.

7.5. Краткая характеристика объекта и нормативные требования

Для расчета принято многоэтажное (6-ти этажное) жилое здание, расположенное в г. Москве.

Наружные стены двух вариантов: с внутренним слоем из монолитного железобетона γo = 2500 кг/м3, толщиной 0,18 м (λБ = 2,04) и кирпича, толщиной 0,51 м (λБ = 0,58 Вт/м °С).

Снаружи внутреннего слоя располагается утеплитель - базальтовая минвата, толщиной определяемой расчетом с λ = 0,045 [10], покрытая паропроницаемой влаговетрозащитной пленкой «TYVEK». Также к наружной стороне стены прикреплен несущий каркас, состоящий в основном из алюминиевых кронштейнов и линейных вертикальных элементов, на которые навешивается экран - облицовочный слой из кассетных панелей. Кассетные панели шириной 0,6 и высотой 1,2 м выполнены из композитного листового материала «Alucobond» толщиной 4 мм. Кассетные панели, укрепленные на несущем каркасе, установлены с воздушным зазором относительно слоя утеплителя 60 мм. В нижней части экрана (у цоколя) устраивается отверстие для притока воздуха, а в верхней части (у карниза) - вытяжное отверстие. Кроме того, обмен воздуха может происходить в зазоры горизонтальных стыков отдельных кассетных панелей. Толщины утеплителя и воздушного зазора определяются соответствующими расчетами.

Требования к теплотехническим характеристикам конструкций содержатся в СНиП II-3-79* [5] и МГСН 2.01-99 [10].

Требования к сопротивлению теплопередаче конструкций приведены в [5], исходя из санитарно-гигиенических и комфортных условий и условий энергосбережения. Так как требования из условия энергосбережения являются более жесткими, они и приняты в настоящей работе в качестве критерия оценки системы.

Согласно [5] требования по второму этапу нужно принимать для зданий, строительство которых начинается с 1 января 2000 года.

На основе [5] и [10] составлена таблица 1 исходных расчетных данных, где представлены требуемые сопротивления теплопередаче наружных стен жилых домов.

Таблица 1.

Значения нормативных требований к наружным ограждениям жилых зданий

№ пп

Название нормативного документа

Требуемое сопротивление теплопередаче наружных стен

ГСОП

Город

1

2

3

4

5

1.

СНиП 23.01-99 [5],

СНиП II-3-79* (98 г.), табл. 1б

3,13

4943

Москва

7.6. Методика теплотехнического расчета наружных стен с вентилируемой воздушной прослойкой

7.6.1. Общие требования

Расчет наружных стен с экраном и вентилируемой воздушной прослойкой основан на расчете теплотехнических характеристик стен и расчета влажностного режима.

Теплотехнический расчет наружных стен с вентилируемой прослойкой в соответствии с настоящим разделом включает в себя:

- подбор толщины теплоизоляционного слоя:

- определение влажностного режима в соответствии с действующими теплотехническими нормами;

- определение параметров воздухообмена в прослойке;

- определение тепловлажностного режима прослойки;

- определение условного приведенного сопротивления паропроницанию экранов с учетом швов-зазоров между панелями-экранами.

Таким образом, для стен с вентилируемой воздушной прослойкой производится несколько теплотехнических расчетов: расчет теплового режима стен и прослойки и влажностного режима стены и прослойки.

7.6.2. Определение толщины теплоизоляционного слоя

Методика теплотехнического расчета разработана в соответствии с рядом документов, подготовленных ЦНИИЭП жилища и НИИСФ как авторами СНиП II-3-79* и полностью удовлетворяет нормативным требованиям [5], [10].

В основу конструктивных решений наружных стен при определении приведенных сопротивлений теплопередаче главных фрагментов принимаются толщины утеплителя, рассчитанные по формуле:

                                           (1)

где:

Rоreq (или) Roтрпр - требуемое приведенное сопротивление теплопередаче стен, м2 · °С/Вт;

r - коэффициент теплотехнической однородности по табл. 2; 3.

Таблица 2.

Значения r кирпичных утепленных снаружи стен

Толщина, м

Коэффициент r при λ, Вт/м °С

стены (без дополнительного утепления)

утеплителя

0,04

0,05

0,08

0,38

0,1

0,705

0,726

0,73

0,15

0,693

0,713

0,73

0,2

0,68

0,7

0,715

0,51

0,1

0,694

0,714

0,73

0,15

0,682

0,702

0,72

0,2

0,667

0,687

0,702

0,64

0,1

0,685

0,7

0,715

0,15

0,675

0,69

0,705

0,2

0,665

0,68

0,695

Примечания:

1. В таблице даны r для фрагмента с оконным проемом (проемность 25 %).

2. Для получения значений r с учетом глухих участков приведенные в таблице значения умножаются на 1,05.

Таблица 3.

Значения r бетонных утепленных снаружи стен

Толщина, м

Коэффициент r при λ, Вт/м °С

панели (без дополнительного утепления)

утеплителя

0,04

0,05

0,08

0,3

0,05

0,9

0,92

0,95

0,1

0,84

0,87

0,88

0,15

0,81

0,84

0,85

0,35

0,05

0.87

0,9

0,93

0,1

0,8

0,83

0,86

0,15

0,78

0,81

0,83

0,4

0,05

0,82

0,87

0,9

0,1

0,77

0,8

0,83

0,15

0,75

0,78

0,8

0,2

0,74

0,765

0,785

Для проверки правильности принятых толщин утепляющих слоев определяются приведенные сопротивления теплопередаче наружных стен для основных «фрагментов». Каждый рассчитываемый фрагмент делится на отдельные участки, характеризуемые одним или несколькими видами теплопроводных включений.

Средневзвешенное значение приведенного сопротивления теплопередаче слоистых наружных стен определяется (на секцию) по формуле:

,                                                            (2)

где:

 - сумма площадей фрагментов наружных стен (k - количество фрагментов стен), м2;

Fi, Roiпр - соответственно площадь и приведенное сопротивление теплопередаче i-го фрагмента стен, м2 · °С/Вт;

Если Rorcp > Roreq**) по табл. 16 СНиП II-3-79* [5], конструкция стены удовлетворяет требованиям теплотехнических норм. Если Rorcp < Rоreq пр, то следует либо увеличить толщину утепляющего слоя, либо рассмотреть возможность включения в проект энергосберегающих мероприятий (утепление узлов и т.п.).

**) Rоrcp, то же, что Roпрср и Ror, то же, что Roпр.

Для практических расчетов допускается при определении Roпр (Ror) коэффициент теплотехнической однородности наружных стен с вентилируемой прослойкой применять табл. 3.

Для расчета средневзвешенного значения многослойных наружных стен при наличии в стенах глухих (без проемов) участков может быть также использована формула:

Rorcp = Ror · n                                                                   (3)

где:

n = 1,05 - коэффициент, учитывающий наличие глухих участков в наружных стенах.

7.6.3. Определение влажностного режима наружных стен

Влажностный режим наружных стен может определяться двумя методами. По СНиП II-3-79* (98 г.)* и исходя из баланса влаги в годовом цикле.

* В связи с отсутствием данных по паропроницаемости пленки «TYVEK» ее коэффициент паропроницаемости «μ» принят равным «μ» утеплителя.

Определение влажностного режима наружных стен в годовом цикле производится в следующей последовательности:

1. Определяются исходные данные для расчета;

2. Определяются сопротивления паропроницанию слоев конструкции наружной стены, параметры внутреннего и наружного воздуха;

3. Определяется приток и отток влаги (пара) к рассматриваемому сечению по формулам:

 и                                      (4)

где:

ев, ен - упругость водяного пара внутреннего и наружного воздуха;

еτ - то же, в рассматриваемом сечении;

,                                                 (5)

Rоп.вн.сл - сопротивление паропроницанию от внутренней поверхности до границы зоны возможной конденсации (с учетом пограничного слоя);

ΣRп.сл - сумма сопротивлений паропроницанию слоев до рассматриваемого сечения;

Rоп - сопротивления паропроницанию всей стены.

По указанным формулам определяется упругость водяного пара еi в характерных сечениях конструкции в годовом цикле.

Если еτ окажется больше максимальной упругости водяного пара Е, то в данном сечении может образовываться конденсат.

7.6.4. Определение параметров воздухообмена в прослойке

Движение воздуха в прослойке осуществляется за счет гравитационного (теплового) и ветрового напора. В случае расположения приточных и вытяжных отверстий на разных стенах скорость движения воздуха в прослойках Vпр может определяться по следующим формулам:

 м/с,                            (6)

где кн, кз - аэродинамические коэффициенты на разных стенах здания по СНиП 2.01.07-85 [2];

Vн - скорость движения наружного воздуха;

к - коэффициент учета изменения скорости потока по высоте по СНиП 2.01.07-85;

Н - разности высот от входа воздуха в прослойку до ее выхода из нее;

tср, tн - средняя температура воздуха в прослойке и температура наружного воздуха;

Σξ - сумма коэффициентов местных сопротивлений (определяется сложением аэродинамических сопротивлений).

Другим вариантом определения Vпр служит формула:

,                                (7)

γн, γпр - плотности наружного воздуха и в прослойке.

Другой вариант определения Vпр по разности давлений воздуха на входе и выходе:

ΔРΔ = ΔРвх - ΔРвых,

ΔPвх и ΔPвых = H (γн - γпр) + 0,5 γн · Vн2 (кн - кз) к,                         (8)

Vпр по формуле

.                                                             (9)

При расположении воздушной прослойки на одной стороне здания, можно принять кн = кз. В этом случае, если пренебречь изменением скорости ветра по высоте формула (6) примет вид:

,                                                    (10)

Формула (7) примет вид:

,                                                     (11)

γпр - плотность воздуха в прослойке.

Указанные формулы применены в технической системе. При этом γ имеет размерность кг/м3.

В системе СИ в числителе «g» будет отсутствовать, а «γ» имеет размерность Н/м3.

Из полученных по указанным формулам скорость движения воздуха корректируется с учетом потерь давления на трение по известным из курса «Вентиляция» методам.

Расход воздуха в прослойке определяется по формуле:

W = Vпр · 3600 · δпр · γпр,                                                 (12)

где δпр - толщина воздушной прослойки шириной 1 м, или площадь Fпр, м2.

7.6.5. Определение параметров тепловлажностного режима прослойки

Температура входящего в прослойку воздуха τо определяется по формуле:

,                                         (13)

где tв, tн - расчетные температуры внутреннего и наружного воздуха;

m - коэффициент, равный 0,26 в системе СИ и 0,3 - в технической.

Остальные обозначения даны в [17].

Допускается определять температуру воздуха, входящего в воздушную прослойку, по формуле

τo = n · tн,                                                                  (14)

где n = 0,95.

Температура воздуха по длине прослойки определяется по формуле:

,              (15)

где кв и кн - коэффициенты теплопередачи внутреннего и наружного частей стены до середины прослойки;

hу - расстояние между стыковыми горизонтальными швами, служащими для поступления (или вытяжки) воздуха.

При определении термического сопротивления прослойки Rпр следует пользоваться формулами:

,                                                                   (16)

где                                              αпр = 5,5 + 5,7Vпр + αл,                                                    (17)

где αл - коэффициент лучистого теплообмена;

Св - переводной коэффициент: в технической системе равен 1, а в СИ В = 3,6.

Действительная упругость водяного пара на выходе из прослойки определяется по формуле:

.           (18)

Полученная по данной формуле величина упругости водяного пара на выходе из прослойки еу должна быть меньше максимальной упругости водяного пара Еу.

Если ey > Ey, то необходимо изменить геометрические параметры прослойки стены здания.

В формуле (18) Мв и Мн равны соответственно:

                                                (19)

где:

Rвп и Rпн - сумма сопротивлений паропроницанию от внутренней поверхности до воздушной прослойки и от воздушной прослойки до наружной поверхности;

ев и ен - действительная упругость водяного пара с внутренней стороны стены и снаружи;

еo - упругость водяного пара воздуха, входящего в прослойку;

                                                          (20)

n - переводной коэффициент.

7.6.6. Методика определения условного приведенного сопротивления паропроницанию с учетом швов-зазоров между панелями экранами

Для расчета используются либо коэффициенты паропроницаемости материалов - экрана по СНиП II-3-79* (98 г.), либо полученные экспериментально.

Расчет приведенного сопротивления паропроницанию экранов с учетом швов-зазоров производится в следующей последовательности:

1) Определяется условное сопротивление паропроницанию в стыковых щелях по формуле:

 м2 · ч · Па/мг (м2 · ч · мм рт. ст.)/г,                   (21)

где В - коэффициент перевода из системы СИ в техническую, равен 7,5; в технической В = 1;

ηш = 6,5 [мг/м2 · ч · Па (г/м2 · ч · мм рт. ст.)];

Σξш - местные сопротивления проходу воздуха (см. формулу 6);

δэ - толщина экрана, м.

2) Определяется сопротивление паропроницанию панелей по глади по формуле:

,                                                             (22)

где μэ - коэффициент паропроницаемости панели по СНиП II-3-79* [4].

3) Определяется приведенное условное сопротивление паропроницанию панелей с учетом щелей Rппр по формуле

                                               (23)

где

ΣF - суммарная расчетная площадь панели (как правило принимается 1 м2);

Fгл - площадь панели без щелей, м2;

F - площадь швов, через которые поступает воздух. Как правило, площадь выходных швов в верхней части панели не учитывается;

Rп и Rп - см. выше.

7.7. Теплотехнический расчет наружных стен с вентилируемым фасадом

Расчет производится для г. Москвы.

7.7.1. Расчет толщины теплоизоляции

Толщина теплоизоляции из минваты типа «Фасад-Баттс» для кирпичной (рис. 7.1) стены для г. Москвы равна:

 м

где

3,13 - требуемое сопротивление теплопередаче стен для г. Москвы;

0,726 - коэффициент теплотехнической однородности, см. табл. 2 (при проемности 18 %);

0,10 - термическое сопротивление вентилируемой воздушной прослойки.

* Над чертой толщины слоев, под чертой - коэффициенты теплопроводности [4].

В действительности термическое сопротивление прослойки будет несколько выше - Rвп = 0,11 м2 · °С/Вт за счет меньшего коэффициента излучения алюминия с внутренней стороны экрана, что идет в запас теплозащиты:

 м2 · °C ·ч/ккал (0,11 м2 · °С/Вт),

где αвп - коэффициент теплообмена по формуле (17);

αвп = 5,5 + 5,7Vпр + αл = 5,5 + 5,7 · 0,4 + 0,13 = 7,9 ккал/м2 · ч · °С (9,17 Вт/м2 · °С);

;

где

4,25; 0,22; 4,9 - коэффициент излучения теплоотражающего покрытия, Ккал/м2 · ч · °К4;

0,61 -  температурный коэффициент;

0,045 - коэффициент теплопроводности минваты в соответствии с сертификатами [19].

1 - раствор;

2 - кирпичная кладка;

3 - минеральная вата;

4 - панель экрана;

5 - воздушная прослойка;

6 - зона возможной конденсации.

Рис. 7.1. Схема наружной стены дом расчета влажностного режима.

Сопротивление теплопередаче по глади кирпичной наружной стены при толщине утеплителя из минваты 0,15 м:

 м2 · °C/Вт.

Приведенное сопротивление теплопередаче:

Roпp = 4,565 · 0,726 = 3,31 м2 · °С/Вт.

Толщина теплоизоляции из базальтовой минваты для бетонной стены для г. Москвы:

 м,

где r = 0,83 в соответствии с табл. 3 (при проемности 18 %).

Сопротивление теплопередаче по глади наружной бетонной стены условное:

 м2 · °C/Вт.

Приведенное сопротивление теплопередаче:

Roпр = 3,975 · 0,83 = 3,3 м2 · °С/Вт.

Толщина утеплителя может быть скорректирована в соответствии с номенклатурой выпускаемых изделий, что не повлияет на правомочность полученных расчетов и выводов.

7.7.2. Расчет влажностного режима бетонных стен

Выполняется расчет влажностного режима бетонных наружных стен с экраном по СНиП II-3-79* (98) по глухой части без учета стыковых швов для г. Москвы.

Влажностный режим наружных стен характеризуется процессами влагонакопления, зависящими от ряда внешних факторов и физических характеристик, от сопротивления паропроницанию конструкции. Расчетное сопротивление паропроницанию Rп, м2 · ч · Па/мг (до плоскости возможной конденсации) должно быть не менее большего из требуемых сопротивлений паропроницанию Rп1тр, из условия недопустимости накопления влаги за год эксплуатации и Rп2тp из условия ограничения влаги в конструкции за период с отрицательным среднемесячными температурами.

Расчет ведется с учетом того, что зона возможной конденсации располагается на внешней границе утеплителя и наружного слоя.

В период эксплуатации в зимних условиях температура внутреннего воздуха tв = 20 °С, а относительная влажность φ = 55 %.

Расчетное сопротивление паропроницанию наружной стены до зоны возможной конденсации Rп, м2 · ч · Па/мг:

 м2 · ч · Па/мг

(В технической системе Rп = 49 м2 · ч · мм рт. ст./мг).

Расчетное сопротивление паропроницанию части ограждающей конструкции, Rпн, м2 · ч · Па/мг, расположенной между наружной поверхностью и плоскостью возможной конденсации равно:

 м2 · ч · Па/мг.

На экране с внутренней стороны конструкции стены по глухой части экрана в случае отсутствия или малого движения воздуха будет образовываться конденсат. Количественно ориентировочно это можно проиллюстрировать табл. 4, где показано влагонакопление в годовом цикле стены, с экраном, имеющим коэффициент паропроницаемости по глади μ = 0,008 мг/м · ч · Па.

Как видно из табл. 4 при маловлагопроницаемом экране в годовом цикле во всех месяцах упругость водяного пара е больше максимальной упругости водяного пара Е и, следовательно, происходит постоянное влагонакопление в прослойке у экрана, в отдалении от горизонтальных швов при отсутствии движения воздуха в прослойке. Поскольку в районе горизонтальных швов распределение влаги иное, как и при движении воздуха далее в расчетах учитываются эти обстоятельства.

Следующим этапом расчета является учет стыковых швов-зазоров в соответствии со специально разработанной методикой влажностного расчета для вентилируемых фасадов [18] для панелей экранов 1,2 × 0,6.

Условное сопротивление паропроницанию зазоров в горизонтальных приточных отверстиях экранов по формуле (21):

 м2 · ч · мм рт. ст/г (0,00033 м2 · ч · Па/мг),

где: 0,004 м - толщина экрана.

Следующим этапом расчетов является учет воздухозаборных и воздуховыводящих отверстий приведенной площадью S = 0,03 м2 на м2 экрана; а на 18 м2 - 0,00166 м2.

Таблица 4.

Распределение влажности в кирпичной стене толщиной δ = 0,51 м, с утеплением минватой и панелью «Полиалпан», воздушной прослойкой (по глади μ = 0,008 мг/м · ч · Па, 0,001 г/м ч мм рт. ст.)

Размерность

Индексы

МЕСЯЦЫ

I

II

III

IV

V

VI

VII

VIII

IX

X

XI

XII

°С

tн

-10,2

-9,6

-4,7

4

11,6

15,8

18,1

16,2

10,6

4,2

-2,2

-7,6

°С

tв

20

20

20

20

11,6

15,8

18,1

16,2

10,6

20

20

20

°С

Δt

30,2

29,6

24,7

16

0

0

0

0

0

15,8

22,2

27,6

°С

τп

-9,9

-9,3

-4,4

4,2

 

 

 

 

 

4,4

-2,0

-7,3

мм рт. ст.

Еτ

1,96

2,07

3,17

6,19

10,24

13,46

15,58

13,81

9,59

6,27

3,88

2,47

мм рт. ст.

ен

1,604

1,62

2,41

4,026

5,939

7,941

9,615

9,391

7,001

4,828

3,132

2,0485

мм рт. ст.

eв55

9,647

9,647

9,647

9,647

5,939

7,941

9,615

9,391

7,001

9,647

9,647

9,647

мм рт. ст.

Δе

8,043

8,027

7,237

5,671

-

-

-

-

-

4,819

6,545

7,598

мм рт. ст.

eτ

4,54

4,56

5,06

6,06

 

 

 

 

 

6,59

5,53

4,83

Часы

 

744

672

744

720

744

720

744

744

720

744

720

744

ч/м2

Qвн.сл.

1311,8

1167,9

1105,4

570,7

-836,4

 

 

 

 

576,3

952,4

1224,8

ч/м2

Qнар.сл.

105,4

120,3

225

619,9

1450,8

 

 

 

 

426,9

214,3

124,8

ч/м2

ΔQ

1206,5

1047,6

880,4

-49,0

-2287,2

 

 

 

 

149,4

738,2

1100,0

ч/м2

ΣΔQ

3194,0

4241,7

5122,9

5073,1

2285,8

 

 

 

 

149,4

887,6

1987,6

 

 

 

 

 

Конденсат

 

 

 

 

 

 

 

 

 

 

 

 

 

 

 

 

 

 

 

 

 

Сопротивление паропроницанию по глади считается бесконечно большой величиной; тогда формула (23) примет вид:

 м2 · ч · мм рт. ст/г (0,224 м2 · ч · Па/мг),

где: 0,00166 - приведенная площадь приточных отверстий.

Расчетное сопротивление паропроницанию части ограждающей конструкции Rпн, расположенной между наружной поверхностью и плоскостью возможной конденсации: Rпн = 0,224 м2 · ч · Па/мг (1,68 м2 · ч · мм рт. ст./г).

Требуемое сопротивление паропроницанию Rп, из условия недопустимости накопления влаги за год эксплуатации:

 м2ч Па/мг.

Требуемое сопротивление паропроницанию из условия ограничения влаги в наружной стеновой панели за период с отрицательными температурами наружного воздуха:

 м2 · ч · Па/мг.

 м2 · ч · Па/мг.

Поскольку Rп1тр и Rп2тр < Rп = 6,53 м2 · ч · Па/мг, влажностный режим в зоне швов системы «U-KON» для г. Москвы удовлетворяет требованиям норм строительной теплотехники при расчете по СНиП II-3-79* (98) для бетонной стены.

7.7.3. Определение скорости движения воздуха и упругости водяного пира на выходе из прослойки

Определяется скорость движения воздуха в прослойке при температуре наружного воздуха минус 28 °С. Расчет делается по формулам (10 ÷ 11) при расстоянии между приточными и вытяжными отверстиями h = 18 м.

Температура входящего в прослойку воздуха по формуле (14):

tх = -28 · 0,95 = -26,6 °С.

Определяем расход воздуха в прослойке по формуле (12): при толщине прослойки 0,06 м в соответствии с МГСН 2.01-99 [9] по формуле (10):

 м/с;

V = 0,51 - 0,51 · 0,07 = 0,47 м/с.

Расход воздуха в прослойке составит

W = 3600 · 0,47 · 1,405 · 0,06 = 160 кг/мч,

где 0,07 - коэффициент, учитывающий трение [8].

Примечание:

В действительности средняя температура воздуха в прослойке будет выше, а скорость и расход воздуха больше, что идет в запас. Данная скорость и расход воздуха характерны в районе приточных и вытяжных отверстий.

Упругость водяного пара на выходе из прослойки еу при начальной упругости ео = 0,34 мм рт. ст. (в технической системе) по формуле (18):

 мм рт. ст.,

где:

Мв + Мн = 0,61

   Мв · ев + Мп · еп = 0,02 · 9,64 + 0,592 · 0,29 = 0,366.

еу меньше максимальной упругости водяного пара Е, равной 0,39, следовательно, принятые параметры конструкции удовлетворительные.

Далее выполнен расчет влажностного режима наружной кирпичной стены с экраном, имеющей несколько худшие влажностные характеристики с точки зрения влагонакопления у экрана за счет большей паропроницаемости, кирпичной стены по сравнению с бетонной (рис. 7.1).

Без учета горизонтальных швов, т.е. по глухой части экрана при отсутствии движения воздуха будет образовываться конденсат, см. выше.

При учете горизонтальных швов расчет влажностного режима кирпичной стены, утепленной снаружи минеральной ватой, показывает следующее.

Расчетное сопротивление паропроницанию стены до зоны возможной конденсации:

 м2 · ч · Па/мг (29,3 м2 · ч · мм рт. ст./г)

Расчетное сопротивление паропроницанию части наружной стены, расположенной между наружной поверхностью ее и плоскостью возможной конденсации при учете горизонтальных швов равно:

Rппp = 0,224 м2 · ч · Па/мг (см. выше) (1,68 м2 · ч · мм рт. ст./г)

Требуемое сопротивление паропроницанию, Rп1, м2 · ч · Па/мг из условия недопустимости накопления влаги за год эксплуатации:

 м2 · ч · Па/мг.

Требуемое сопротивление паропроницанию из условия ограничения влаги в стене за период с отрицательными температурами воздуха Rп2тр:

 м2 · ч · Па/мг

.

Поскольку Rп2тр > Rп будет недопустимое влагонакопление в стене даже с учетом приточных отверстий, влажностный режим стены не удовлетворяет требованиям норм строительной теплотехники.

Поэтому рекомендуется выполнение горизонтальных швов со сквозными щелями для поступления и вывода воздуха.

Условное сопротивление паропроницанию зазоров в горизонтальных стыковых соединениях экранов по формуле (21):

Rп = 0,0028 м2 · ч · мм рт.ст./г (0,00037 м2 · ч · Па/мг ) при сквозных горизонтальных швах высотой 10 мм.

(Приведенная толщина (ширина, высота) горизонтальных стыковых швов принимается 10 мм или 0,01 м2 на м2 экрана).

Сопротивление паропроницанию приведенное по формуле (23):

 м2 · ч · мм рт. ст/г (0,037 м2 · ч · Па/мг).

Расчетное сопротивление паропроницанию наружной стены до зоны возможной конденсации Rп, м2 · ч · Па/мг: 3,91 м2 · ч · Па/мг, см. выше (29,3 м2 · ч · мм рт. ст./г).

Требуемое сопротивление паропроницанию Rп1, м2 · ч · Па/мг из условия недопустимости накопления влаги за год эксплуатации, формула (34) [4]:

 м2 · ч · Па/мг.

Требуемое сопротивление паропроницанию из условия ограничения влаги в наружной стеновой панели за период с отрицательными температурами наружного воздуха Rп2, м2 · ч · Па/мг, формула (34) СНиП II-3-79* [4]:

 м2 · ч · Па/кг

.

Поскольку условие Rп > Rп1тр рассматриваемая конструкция удовлетворяет требованиям теплотехнических норм.

Далее определяем скорость движения воздуха в прослойке.

Скорость движения воздуха в прослойке при температуре наружного воздуха минус 28 °С. Расчет делается по формуле (6) при расстоянии от входа до выхода воздуха hу = 1,2 м.

Температура входящего в прослойку воздуха по формуле (14):

tx = -28 × 0,95 = -26,6 °С.

Скорость движения воздуха в прослойке по формуле (6):

 м/сек.

где 1,2 - расстояние от входных до выходных швов,

5,4 - сумма сопротивлений аэродинамических.

Трение уменьшает скорость движения воздуха 7 % []. Расход воздуха с учетом трения:

W = 49 - 0,07 × 49 = 47 кг/м · ч.

В соответствии с разделом 9.4 по формуле (18) определяем упругость водяного пара на выходе из прослойки при расходе воздуха равным 47 кг/м · ч:

Rпв = 49;     ;    Rппр = 0,28;

ев · Мв + ен · Мн = 9,64 · 0,034 + 0,29 · 3,6 = 1,38

Мв + Мн = 0,02 + 3,6 = 3,62

.

что меньше максимальной упругости водяного пара выходящего из прослойки Е = 0,39.

7.8. Заключение

7.8.1. На основании выполненных теплотехнических расчетов наружных стен фасадной системы «U-KON», определены:

7.8.2. Теплозащитные качества системы

7.8.2.1. Требуемая толщина теплоизоляционных базальтовых минераловатных плит типа «Венти-Баттс» составляет при железобетонной несущей стене 0,16 м; при кирпичной стене 0,15 м. Приведенное сопротивление теплопередаче наружных стен при указанной толщине утеплителя составит: 3,3 м2 · °Ст. (При проемности 18 %).

7.8.2.2. Влажностный режим системы при указанных в п. 7.8.2.3 параметрах конструкции, см. пп. 7.8.2.2.1-7.8.2.3, указан ниже.

7.8.2.2.1. При отсутствии движения воздуха в прослойке по глади экранов с алюминиевым покрытием в отдалении от горизонтальных швов-зазоров влажностный режим может быть неудовлетворительный при расстоянии от приточных до вытяжных отверстий 18 м.

7.8.2.2.2. При наличии сквозных швов-зазоров, размерах экранов 1,2 × 0,6 м и расходе воздуха в прослойке 47 кг/м · ч влажностный режим стен удовлетворителен.

7.8.2.3. Параметры системы, при которых обеспечиваются указанные выводы в п. 7.8.2.2.2 следующие:

7.8.2.3.1. Высота горизонтального шва между экранами составляет 10 мм.

7.8.2.3.2. Толщина воздушной прослойки между утеплителем и экраном составляет 0,06 м.

7.8.2.3.3. Толщина (ширина) воздухозаборной щели внизу стены составляет 0,06 м (с перфорациями 50 % живого сечения), толщина (ширина) воздуховыводящей щели вверху стены должна быть не меньше воздухозаборной.

8. Состав проектно-сметной документации

8.1. Рабочий проект или рабочая документация системы наружных ограждений фасадов с вентилируемым воздушным зазором включает следующие разделы: общую пояснительную записку, архитектурную часть, конструкторскую часть, конструкторскую часть по решению архитектурных деталей, специальные части (водосток, антенны, рекламу и т.п.) и сметы.

8.2. В общей пояснительной записке приводятся следующие данные:

- архитектурная концепция решения фасадов здания и отдельных архитектурных элементов;

- данные о конструктивном решении системы и ее элементов;

- данные о решении специальных устройств на фасаде, если они имеются;

- данные об эффективности энергосбережения принятых технических решений, результаты теплотехнических расчетов;

- экологическая характеристика системы;

- основные технико-экономические показатели системы.

8.3. Архитектурная часть включает чертежи фасадов здания, отдельных архитектурных элементов и узлов. На чертежах приводится цветовое решение фасада и его отдельных элементов.

8.4. Конструкторская часть включает чертежи всех конструктивных элементов системы, с узлами и деталями, а также полную спецификацию всех применяемых материалов и изделий.

8.5. Специальная часть включает чертежи фасадов с привязкой мест размещения специальных устройств, узлы и детали конструкций крепления этих устройств на фасаде, а также спецификацию оборудования, материалов и изделий, предусмотренных проектом.

8.6. Сметы на устройство системы составляются на основе действующих нормативов, единичных расценок, фактической стоимости оборудования и материалов, а также утвержденных заказчиком калькуляций на отдельные виды работ и элементы конструкций.

9. Технико-экономические показатели

Стоимость системы для конкретных зданий зависит от многих факторов, в том числе, от размеров здания, архитектурного решения фасадов, оборудования и оснастки, применяемых для монтажа системы, а также от структуры подрядной организации и ее коммерческой политики. В связи с этим конкретная стоимость системы может колебаться в значительных пределах. Поэтому считаем, что здесь наиболее целесообразно привести прямые затраты, т.е. стоимость отдельных элементов системы и ее монтажа (стоимость монтажа без учета стоимости лесов, люлек и других средств для рядового участка фасада).

Поэлементная стоимость (прямые затраты в $ US) 1 м2 системы для рядового участка фасада с различными облицовочными материалами (на 2002 г.):

С облицовкой плитами керамогранита с открытым креплением:

- стоимость деталей каркаса                                                                                - 20

- стоимость утеплителя толщиной 150 мм                                                         - 15

- стоимость облицовочного материала                                                               - 35

- стоимость монтажа                                                                                            - 30

Итого                                                                                                                      - 100

С облицовкой плитами керамогранита со скрытым креплением:

- стоимость деталей каркаса                                                                                - 48

- стоимость утеплителя толщиной 150 мм                                                         - 15

- стоимость облицовочного материала                                                               - 35

- стоимость монтажа                                                                                            - 30

Итого                                                                                                                      - 128

С облицовкой кассетными панелями из композитного листового материала:

- стоимость деталей каркаса                                                                                - 20

- стоимость утепли геля толщиной 150 мм                                                        - 15

- стоимость облицовочного материала                                                               - 65

- стоимость монтажа                                                                                            - 30

Итого                                                                                                                      - 130

Данные о стоимости элементов системы представлены ее разработчиком ООО «Алкон-Трейд».

10. Основные положения по производству работ и системе контроля качества

10.1. Для выполнения работ по монтажу системы здание разбивается на захватки и определяется порядок и последовательность перемещения монтажников с одной захватки на другую.

10.2. Величина захваток и их количество в каждом случае определяются с учетом многих факторов, в том числе размеров фасадов здания, величины бригады монтажников, оснащения строительной организации оборудованием и оснасткой, условиями комплектации строительства материалами, изделиями и др. Захваткой может быть вся высота фасада, а можно фасад по высоте разделить на несколько захваток, учитывая наличие промежуточных карнизов, поясков и другие факторы. Также в горизонтальном направлении захваткой может быть весь фасад, только одна секция или может быть принят какой-либо другой способ деления фасада на захватки. Разбивка фасадов здания на захватки и выбор средств для работы монтажников на высоте (подмости, люльки, подъемные платформы и т.п.) выполняется в проекте организации строительства или в технологических картах.

10.3. При монтаже системы на реконструируемых зданиях работы начинаются с очистки фасада от несвязанных с основанием элементов, таких как отслоившиеся штукатурка, краска и т.п. Кроме того, фасад надо освободить (демонтировать) от специальных устройств: водостоков, различных кронштейнов, антенн, вывесок и др.

10.4. Монтаж системы начинается с разметки фасада установки маяков, по которой будут устанавливаться и крепиться к основанию кронштейны и вертикальные профили. Разметка выполняется с помощью геодезических приборов, уровня и отвеса. Установка и крепление кронштейнов и вертикальных профилей в пределах захватки может производиться снизу вверх и наоборот в зависимости от решений, принятых в ПОС.

10.5. После разметки фасада в нем сверлятся отверстия под дюбели для крепления кронштейнов к основанию посредством анкерных болтов. Для снижения теплопередачи в месте примыкания кронштейна к основанию между ними на анкерный болт одевается паронитовая прокладка.

В случаях, когда основанием является кирпичная кладка, нельзя устанавливать дюбели в швы кладки, при этом, расстояние от центра дюбеля до ложкового шва должно быть не менее 25 мм, а от тычкового - 60 мм. Минимальное расстояние от края конструкции до дюбеля оговаривается специальными рекомендациями фирмы-изготовителя дюбелей.

Категорически запрещается сверлить отверстия для дюбелей в пустотелых кирпичах или блоках с помощью перфоратора.

10.6. На кронштейны устанавливаются и крепятся к ним вертикальные профили, которые являются базой для устройства отделочного слоя фасада в пределах проектных допусков. Поэтому установка каждого профиля, его положение в вертикальной плоскости проверяется соответствующими приборами: теодолитом, отвесом и др. Крепление профиля к кронштейну производится заклепками или винтами.

10.7. К началу монтажа плит утеплителя захватка, на которой производятся работы, должна быть укрыта от попадания влаги на стену и плиты утеплителя.

Исключением могут быть случаи, когда монтажники не покидают рабочие места до тех пор, пока все смонтированные плиты не закроют, предусмотренной проектом, ветровлагозащитной пленкой.

10.8. Монтаж плит утеплителем начинается с нижнего ряда, который устанавливается на стартовый профиль, цоколь или другую соответствующую конструкцию, и ведется снизу вверх. Если плиты утеплителя устанавливаются в 2 ряда, следует обеспечить перевязку швов. Плиты утеплителя должны устанавливаться плотно друг к другу так, чтобы в швах не было пустот. Если избежать пустот не удастся, они должны, быть тщательно заделаны тем же материалом. Вся стена (за исключением проемов) непрерывно по всей поверхности должна быть покрыта утеплителем, установленной проектом толщины. Крепление плит утеплителя к основанию производится пластмассовыми дюбелями тарельчатого типа с распорными стержнями. В случае применения ветровлагозащитной пленки, установленные плиты утеплителя сначала крепятся к основанию только двумя дюбелями каждая плита и только после укрытия нескольких рядов пленкой устанавливаются остальные, предусмотренные проектом, дюбели. Полотнища пленки устанавливаются с перехлестом 100 мм.

10.9. Монтаж облицовочных плит преимущественно начинают с нижнего ряда и ведут снизу вверх. Крепление облицовочных материалов к вертикальным профилям изложено в п. 3.3.3. Одновременно производится облицовка оконных проемов и других элементов фасада. Во время монтажа отделочных материалов следует следить за тем, чтобы воздушный зазор позади них был чист и без каких-либо посторонних включений.

10.10. В процессе монтажа элементов системы должен выполняться пооперационный контроль качества работ и составляться акты на скрытые работы. Это должно выполняться в соответствии с действующей в подрядной организации «Системой управления контролем качества продукции», где указано, какие параметры и технологические процессы контролируются и лица, ответственные за выполнение этой работы. В составе комиссии, подписывающей акты на скрытие работы, должны быть лица (представители проектной организации), выполняющие авторский надзор.

10.11. Работы по монтажу системы могут выполнять организации, специалисты которых прошли обучение и имеют лицензию на право выполнения указанных работ от ООО «Алкон-Трейд».

10.12. Все работы должны выполняться под контролем лица, ответственного за безопасное производство работ и в соответствии с требованиями СНиП 12-03-99 Безопасность труда в строительстве. Общие требования» и СНиП III-4-80 «Техника безопасности в строительстве».

11. Правила эксплуатации системы

11.1. В процессе строительства и эксплуатации здания не допускается крепить непосредственно к облицовочным материалам любые детали и устройства.

11.2. Не следует допускать возможность попадания воды с крыши здания на облицовочные материалы, для чего надо содержать желоба на крыше и водостоки в рабочем состоянии.

11.3. Уход за облицовкой фасада, заключающийся в ее регулярной очистке и периодическом восстановлении, продлит срок службы облицовки.

11.4. Промывка водой является одним из наиболее эффективных способов очистки облицовки.

Рекомендуется сочетать промывку с ручной очисткой поверхности щетками или скребками. При этом, следует исключить попадание грязной воды на ветровлагозащитную пленку, которой покрыт утеплитель.

11.5. Элементы облицовки с дефектами, не подлежащими восстановлению, заменяются в соответствии с инструкцией разработчика системы.

Справка: разработчик, изготовитель и поставщик элементов системы - ООО «Алкон-Трейд».

Адрес: 113054, г. Москва, дом 69, корп. 3.

Тел./факс: 363-21-04, 952-78-00.

E-mail: alcont@postman.ru

www: u-kon.ru

www: alucobond-sistem.ru

12. Перечень нормативных документов и литературы

1. СНиП 2.08.01-89* и МГСН 3.01-01     Жилые здания.

2. СНиП 2.01.07-85                                    Нагрузки и воздействия.

3. СНиП 2.03.06-85                                    Алюминиевые конструкции.

4. СНиП II-23-81*                                      Стальные конструкции.

5. СНиП II-3-79* (изд. 1998 г.)                 Строительная теплотехника.

6. СНиП 23-01-99                                      Строительная климатология.

7. СНиП 2.01.01-82                                    Строительная климатология и геофизика.

8. СНиП 2.03.11-85                                    Защита строительных конструкций от коррозии.

9. СНиП 21-01-97                                      Пожарная безопасность зданий и сооружений.

10. МГСН 2.01.99                                      Нормативы по теплозащите и тепловодоэлектроснабжению.

11. ГОСТ 17177-94                                    Материалы и изделия строительные теплоизоляционные. Методы испытаний.

12. ГОСТ 22233-93                                    Профили прессованные из алюминиевых сплавов для ограждающих конструкций. Общие технические условия

13. ГОСТ 26805-86                                    Заклепка трубчатая для односторонней клепки тонколистовых строительных металлоконструкций. Технические условия.

14. ГОСТ 27180-86                                    Керамические плитки. Методы испытаний.

15. ГОСТ 7025-78                                      Материалы стеновые и облицовочные. Методы определения водопоглощения и морозостойкости.

16. ГОСТ 481-80                                        Паранитовые листы.

17.  Рекомендации по проверке и учету воздухопроницаемости наружных ограждающих конструкций жилых зданий. ЦНИИЭП жилища, Москва, 1983 г.

18.  Рекомендации по проектированию и применению для строительства и реконструкции зданий в г. Москве системы с вентилируемым воздушным зазором «Краспан». Правительство Москвы. Москомархитектура, Москва, 2001 г.

19.  Заключение и протокол сертификационных испытаний НИИСФ № 51 от 22.06.2000 г. М.

Приложение

Госстрой России

Государственное унитарное предприятие

«Центральный научно-исследовательский

институт строительных конструкций

имени В. А. Кучеренко»

ИНН 7721193175

ГУП ЦНИИСК

им. В. А. Кучеренко

в ФАКБ МИнБ Волгоградский

Расчетный счет 4050281020015000175

В АКБ «Московский индустриальный банк»

г. Москва

БИК 044525600, К.С 00101010000000000900

109428, Москва, 1-я Институтская, 6

тел. (095) 171-26-50, 170-10-60

факс 171-28-58

14.11.2001 г. № 1-945

На Ваш № 320-1437 от 25.10.2001 г.

Директору по научной деятельности

Гранику Ю. Г.

При расчете указанной в Вашем письме системы «облицовка-покрытие» необходимо учитывать действие средней (wm) и пульсационной (wp) составляющих давления ветра. При этом для элементов облицовки, расположенных на наветренной поверхности здания wр определяется по формуле 8 СНиП 2.01.07-85* «Нагрузки и воздействия». Для элементов облицовки, расположенных на боковых и подветренной сторонах здания, допускается принимать

wp = 0,3 wm (h)

где h - высота здания.

При определении ветровой нагрузки, действующей на внутренние поверхности рассматриваемых конструкций, пульсации давления допускается не учитывать.

Одновременно обращаем Ваше внимание на то, что при расчете узлов крепления элементов облицовки среднюю составляющую (wm) ветровой нагрузки необходимо увеличить на 20 %.

Зам, директора института                                                             Назаров Ю. П.

Исп. Попов 1747312

Вход. № 758

30.11.2000

ЦНИИЭП жилища




Яндекс цитирования



   Copyright © 2007-2026,  www.tehlit.ru.

[ ѓосты, стандарты, нормативы, инструкции, правила, строительные нормы ]