//
ТехЛит.ру
- крупнейшая бесплатная электронная интернет библиотека для "технически умных" людей.
WWW.TEHLIT.RU - ТЕХНИЧЕСКАЯ ЛИТЕРАТУРА

:: Алготрейдинг::


АЛГОТРЕЙДИНГ
шаг за шагом
с нуля по урокам!

Торговые роботы на PYTHON, BackTrader,
Pandas, Pine Script для TradingView. Связка с брокерами, телеграм и легкими приложениями.


ПРАВИТЕЛЬСТВО МОСКВЫ

МОСКОМАРХИТЕКТУРА

РЕКОМЕНДАЦИИ
ПО ПРОЕКТИРОВАНИЮ И ПРИМЕНЕНИЮ
ДЛЯ СТРОИТЕЛЬСТВА И РЕКОНСТРУКЦИИ
ЗДАНИЙ В Г. МОСКВЕ

ФАСАДНОЙ СИСТЕМЫ
С ВЕНТИЛИРУЕМЫМ
ВОЗДУШНЫМ ЗАЗОРОМ
«ДИАТ-2000»

Предисловие

1. Разработаны: Центральным научно-исследовательским и проектным институтом жилых и общественных зданий (ЦНИИЭП жилища).

Ангорский коллектив:

д.т.н. Николаев С.В.                           - руководитель работы

д.т.н. Граник Ю.Г.                              - научно-техническое руководство

инж. Ставровский Г.А.                      - общая редакция

д.т.н. Зырянов B.C.                             - прочностные расчеты

к.т.н. Беляев B.C.                                - теплотехнические расчеты

инж. Кашулина Ю.Л.                         - конструкции системы

Консультанты:

Генеральный директор

ООО «Диат-2000»

Цыкановский Е.Ю.

- конструкция системы и организационно-технические решения

Технический директор

ООО «Диат-2000»

Панкрушин А.А.

2. Подготовлены к утверждению и изданию Управлением перспективного проектирования и нормативов Москомархитектуры

3. Утверждены приказом Москомархитектуры от 08.10.2004 г. № 148.

СОДЕРЖАНИЕ

1. Введение. 2

2. Назначение и область применения. 5

3. Конструктивное решение систем.. 5

4. Исходные данные для проектирования системы.. 37

5. Определение основных параметров системы.. 37

6. Прочностные расчеты.. 38

7. Теплотехнические расчеты.. 46

8. Состав проектно-сметной документации. 61

9. Технико-экономические показатели. 62

10. Основные положения по производству работ и системе контроля качества. 63

11. Правила эксплуатации системы.. 65

12. Перечень нормативных документов и литературы.. 65

1. Введение

1.1. Рекомендации являются методическим и справочным пособием для разработки проектов наружной отделки и утепления зданий и сооружений с применением навесных фасадных систем с вентилируемым воздушным зазором «Диат».

1.2. Навесные фасадные системы с вентилируемым воздушным зазором являются одним из наиболее эффективных способов отделки и утепления наружных стен зданий различного назначения. В том числе системы «Диат», где для наружной отделки зданий применяются следующие отделочные материалы - фиброцементные плиты, кассетные панели из металла и композитного листового материала типа «Alucobond», «Alpolic», керамические, керамогранитные плиты и плиты из натурального камня, которые позволяют создавать выразительные архитектурные решения фасадов зданий. На рис. 1.1, 1.2, 1.3 приведены фотографии зданий с отделкой и утеплением фасадными системами «Диат».

1.3. Разработчиком фасадных систем «Диат», а также изготовителем и поставщиком элементов этих систем является ООО «Диат-2000»* г. Москва.

* Адрес предприятия см. на стр. 81.

1.4. На навесные фасадные системы «Диат» выданы следующие Технические свидетельства Госстроя России:

- на системы - СД Т-ПК-ВК-ВХ (подсистема СД-01) - № ТС-07-0743-03/2 зарегистрировано 01.07.2004 г.;

- на системы - СД Т-ПК-СБ-ВХ (подсистема СД-02) - № ТС-07-0744-03/2 зарегистрировано 01.07.2003 г.;

- на системы - СД Т-КХ-СШ-ВХ (подсистема СД-03) - № ТС-07-0745-03/2 зарегистрировано 01.07.2003 г.;

- на системы - СД Т-ЛК-ВХ-ВХ (подсистема СД-04) - № ТС-07-0746-03/2 зарегистрировано 01.07.2003 г.;

- на системы - СД Т-ПНК-СХ-ВХ (подсистема СД-05)

1.5. Рекомендации содержат следующие данные: назначение и область применения систем, конструктивные решения систем, состав исходных данных для проектирования, методики расчетов всех расчетных параметров систем, способы производства работ, правила эксплуатации систем и их технико-экономические показатели.

Рис. 1.1. Здание МВД РФ.

г. Москва, ул. Житная, д. 12

Рис. 1.2. Здание министерства обороны Казахстана.

г. Астана

Рис. 1.3. Здание префектуры ЦАО.

г. Москва

2. Назначение и область применения

2.1. Системы «Диат» предназначены для фасадной отделки и теплоизоляции наружных стен в соответствии с СНиП 23-02-2003 и МГСН 2.01-99.

2.2. Системы допускается применять для строящихся и реконструируемых зданий в г. Москве с несущими конструкциями наружных стен из кирпича, бетона и других материалов плотностью более 600 кг/м3.

Максимальная этажность зданий в соответствии с требованиями пожарной безопасности приводится в разделах 5 приложений к Техническим свидетельствам Госстроя РФ.

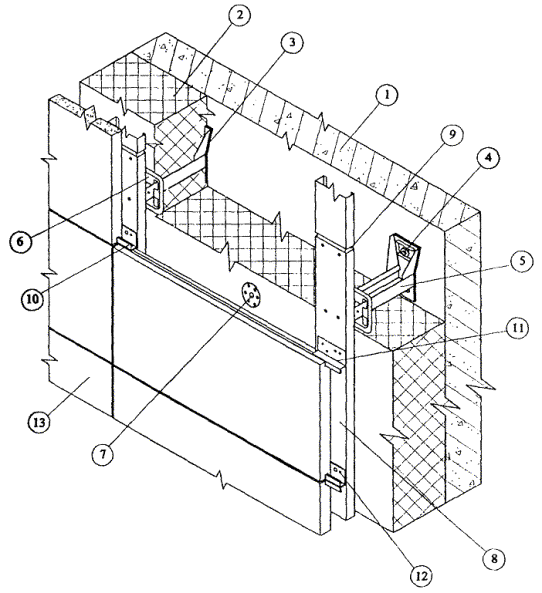
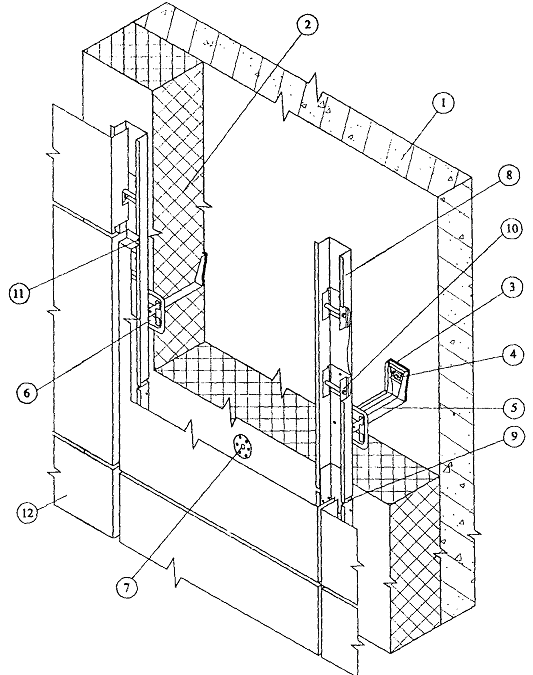
3. Конструктивное решение систем

3.1. Системы «Диат» являются многослойными конструкциями, которые крепятся с внешней стороны несущих конструкций наружной стены и состоят из несущего каркаса, слоя негорючего минераловатного утеплителя, укрытого пленкой «TYVEK» и облицовочного слоя. Между слоями утепления и облицовки устраивается вентилируемый воздушный зазор, с помощью которого влага, накапливающаяся в утеплителе, эффективно удаляется. Возможен вариант применения этих систем без утеплителя только в качестве фасадной отделки зданий.

3.2. Системы «Диат» в соответствии с Техническими свидетельствами отличаются видом облицовочного материала и способами его крепления к несущему каркасу.

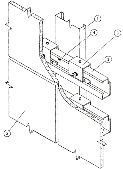
3.2.1. В подсистеме «Диат» СД-01 в качестве облицовочного материала применяют керамические и кepaмогранитные плиты, крепеж которых на несущем каркасе выполняют с помощью кляммеров КЛ1 (рис. 3.1).

3.2.2. В подсистеме «Диат» СД-02 в качестве облицовочного материала применяют также керамические и керамогранитные плиты, но со скрытым креплением к несущему каркасу. Крепеж плит выполняют с помощью устанавливаемых на горизонтальный профиль опорных элементов с распорной втулкой и регулировочным винтом, (рис. 3.2).

3.2.3. В подсистеме «Диат» СД-03 в качестве облицовки используют кассеты из металлических листов и другого листового материала. Кассеты навешивают на поперечные штифты ШТ1 с помощью иклей ИК1 или пазов, выштампованных в боковых гранях кассеты (рис. 3.3).

3.2.4. В подсистеме «Диат» СД-04 в качестве облицовки используют отечественные и зарубежные фиброцементные плиты или кассеты типа сайдинг из различных материалов. Их крепление осуществляют посредством фасадных заклепок или специальных саморезов (рис. 3.4, 3.5).

3.2.5. В подсистеме «Диат» СД-05 в качестве облицовочного материала применяют плиты из натурального камня, скрытый крепеж которых выполняют с помощью кляммеров КЛ3, КЛ4 (рис. 3.6).

3.3. Несущие каркасы всех систем «Диат» включают кронштейны, вертикальные несущие профили и дополнительные крепежные элементы для каждой системы (рис. 3.7 - 3.9).

3.3.1. Кронштейны несущего каркаса состоят из неподвижной части К2 и К3 и подвижной вставки В2 и В3 (рис. 3.7). Выбор кронштейна для конкретного объекта определяется расчетом и толщиной утеплителя. Неподвижную часть кронштейна, длина которой должна быть на 30 мм больше толщины утеплителя, крепят к основанию анкерным дюбелем через паронитовую прокладку, снижающую теплопередачу. Вставку кронштейна крепят к его неподвижной части заклепкой. Длина заделки вставки в неподвижную часть кронштейна должна быть не менее 30 мм. Неподвижные части кронштейнов К2 выпускают длиной от 50 до 270 мм, К3 - от 50 до 180 мм; подвижные вставки В2 - длиной от 60 до 250 мм, В3 - от 30 до 160 мм с шагом 10 мм. Это позволяет в зависимости от толщины утеплителя и фактических отклонений фасада от вертикальной плоскости изменять толщину фасадной системы от 50 до 310 мм, а в случае применения кронштейнов К2 - до 490 мм.

3.3.2. Вертикальные профили, закрепленные на подвижной вставке кронштейна двумя заклепками, являются базой, на которую прикрепляют элементы фасадной облицовки здания - плиты, кассетные панели или листы. В зависимости от вида облицовочного материала и способа его крепления применяют вертикальные профили разного поперечного сечения. Для различных подсистем применяют следующие вертикальные профили:

Н2 (Н1)* (рис. 3.7) - для подсистем СД-01, СД-02, СД-04 и СД-05,

Н5 (Н6) (рис. 3.7) - для подсистемы СД-03.

Для подсистем СД-01, СД-02, СД-04 (в случае облицовки плитами) и СД-05 на углах здания применяют вертикальные стойки СТ2 (СТ1) (рис. 3.7). Эта же стойка применяется в качестве промежуточной в подсистеме СД-04.

Стык вертикальных профилей закрывают скобой соответствующего профиля и материала. Зазор между смежными по высоте вертикальными профилями для компенсации температурных деформаций должен быть 10 мм.

* - маркировка в скобках дана для элементов изготовленных из оцинкованной стали.

3.3.3. Кронштейны, включая неподвижную часть, вставку и прижим П2 изготовлены из нержавеющей стали 12X18Н10Т. Вертикальные профили изготавливают из нержавеющей стали 08Х18Т1 или оцинкованной стали 08ПС-ХТ1-МТ-НР-1.

3.4. В системах «Диат» применяют негорючий минераловатный утеплитель: ВЕНТИ БАТТС, PAROC, EL, ELS и др.; с плотностью 30 - 150 кг/м3 и расчетным коэффициентом теплопроводности 0,044 - 0,046 Вт/(м×°С). Толщина слоя утеплителя определяется теплотехническим расчетом, методика которого приводится в разделе 7 настоящих рекомендаций. Плиты утеплителя крепят непосредственно к основанию тарельчатыми полимерными дюбелями из расчета 6 - 8 дюбелей на 1 м2 поверхности фасада. В местах установки кронштейнов плиты утеплителя фиксируют прижимом П2, надеваемым на кронштейн.

3.5. В системах «Диат» применяют следующие облицовочные материалы:

3.5.1. В подсистеме СД-01 керамические плиты и плиты из керамогранита различных цветов и фактур поверхности (размеры плит 600´600, 600´400, 300´300 мм и др., g = 2500 кг/м3). Плиты крепят кляммерами КЛ1 из нержавеющей стали, выполненными в виде пластины с четырьмя скобками для углов 4-х плит, сходящихся в одной точке (рис. 3.10). Для крепления верхнего и нижнего ряда плит применяют концевые кляммеры КЛ2. К вертикальным профилям кляммеры крепят стальными заклепками;

3.5.2. В подсистеме СД-2 керамические плиты и плиты керамогранита навешивают с помощью опорных элементов на горизонтальные профили из алюминиевых составов по ГОСТ 22233-83, которые крепят к вертикальным профилям. Условия совместной работы стальных и алюминиевых элементов каркаса см. п. 3.7.

Фиксация плит в проектном положении обеспечивается: по вертикали регулировочным винтом, по горизонтали - посредством свободного перемещения опорного элемента вдоль горизонтальной направляющей (рис. 3.11);

3.5.3. В подсистеме СД-03 облицовку устраивают из кассет, для изготовления которых применяют различные материалы:

- стальной оцинкованный лист 0,55 - 1,5 мм с полимерным покрытием по ГОСТ 14918-80,

- лист из алюминиевого сплава АМг2 (ГОСТ 21631-76) и АМг2 (ГОСТ 4784-97) с полимерным покрытием,

- листовой материал «Alucobond» A2, В1, B2 и Alpollic\fr, поставляемые шириной 1000, 1250, 1500 мм и длиной от 3200 до 8000 мм, вес - от 4,5 до 7,3 кг/м2.

Кассеты, размеры которых определяются проектом, навешивают с помощью приклепанных к ним крепежных элементов «Икля» ИК1 или пазов, выштампованных в боковых гранях, на штифты, которые вместе с салазками устанавливают в вертикальный профиль Н5(Н6) и крепят к нему двумя заклепками (рис. 3.12, 3.13).

3.5.4. в подсистеме СД-04 в качестве облицовки применяют фиброцементные плиты различных марок:

- КраспанКолор, Красколор, ФАССТКолор, размер плит 1550´1190 мм, вес 16 кг/м2;

- КраспанСтоун, Красстоун, ФАССТ-А, размер плит 1550´1190 мм, вес 22 кг/м2. При монтаже плит используют уплотнительную ленту, а в горизонтальном стыке между панелями устанавливают декоративный профиль, окрашенный в цвет облицовки.

В этой же подсистеме облицовкой могут быть кассеты (рис. 3.8.), для изготовления которых применяют:

- листы Alucobond A2, B1, B2, Alpolic\fr;

- стальной оцинкованный лист 0,55 - 1,5 мм с полимерным покрытием по ГОСТ 14918-80,

- лист из алюминиевого сплава АМг2 (ГОСТ 21631-76) и АМг2 (ГОСТ 4784-97).

Размеры кассет определяются проектом.

Крепление плит и кассет производят посредством вытяжных заклепок или саморезов, шляпки которых окрашивают в цвет облицовки (рис. 3.14, 3.15).

3.5.5. В подсистеме СД-05 плиты из натурального камня (размеры плит 600´600 мм. толщина 20 - 30 мм, g = 2800 кг/м3) крепят кляммерами КЛ3, КЛ4 (невидимое крепление). Кляммеры вставляют в пазы, предварительно прорезанные в верхних и нижних торцах плиты. Для закрепления нижнего края плиты служат кляммеры КЛ3. В паз верхнего края входит кляммер КЛ4. Для установки следующего по высоте ряда плит на кляммер КЛ3 сверху накладывают кляммер КЛ4 и крепят к вертикальному профилю заклепками через предусмотренные отверстия в кляммере КЛ3.

3.6. Оконные откосы и сливы в подсистемах СД-1, СД-2 и СД-05 изготовлены из стали листовой оцинкованной О8ПС-ХП-МТ-НР-1 (ГОСТ 14918-80), в подсистемах СД-3 и СД-4 - из материала облицовки.

3.7. Контакт стальных деталей (из нержавеющей стали и оцинкованных) с алюминиевыми следует исключить за счет прокладки между ними полимерных шайб или посадки стальных деталей на свежую краску.

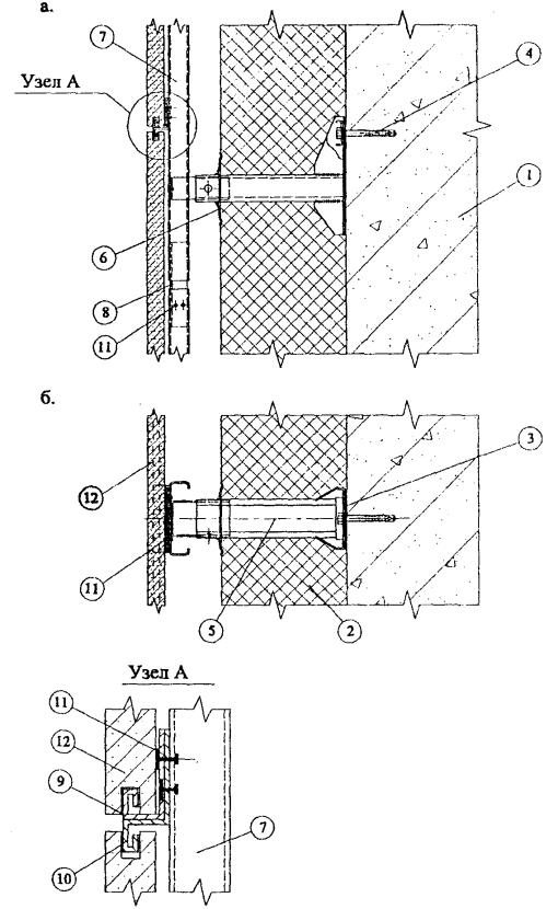
3.8. Конструктивные решения системы на наружном углу здания даны на примере подсистем СД-01, СД-02, СД-03 (рис. 3.17 - 3.19);

на внутреннем углу - на примере подсистем СД-01 и СД-3 (рис. 3.20, 3.21);

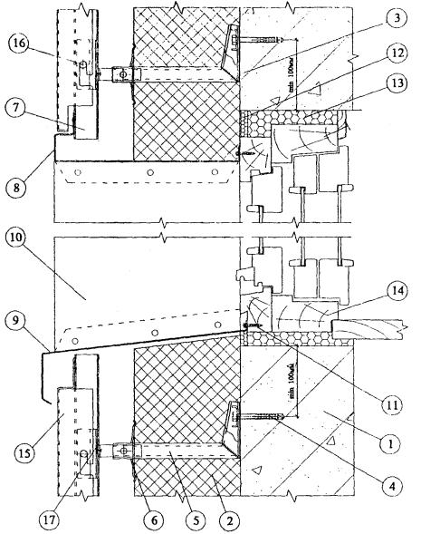
в местах примыкания к оконным проемам - на примере подсистем СД-01 и СД-03 (рис. 3.22 - 3.25);

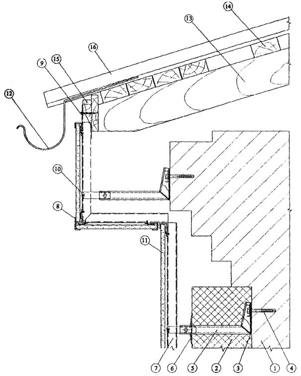
у парапета, цоколя и карниза - на примере подсистемы СД-01 (рис. 3.26 - 3.28).

3.9. Изделия и материалы, разрешенные для применения в системах «Диат» и требования, которым они должны отвечать, приводятся в разделах 2 и 5 приложений к Техническим свидетельствам Госстроя РФ (п. 1.4.).

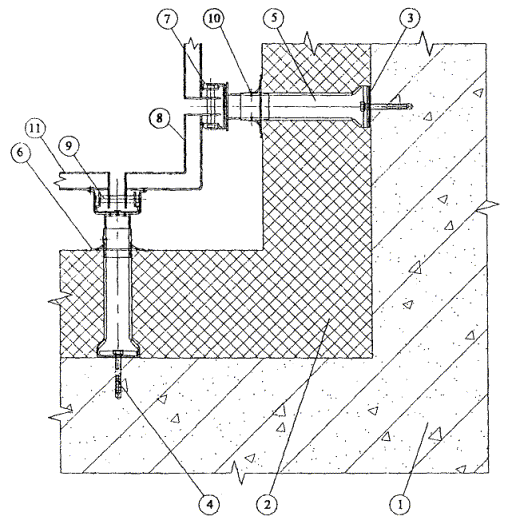
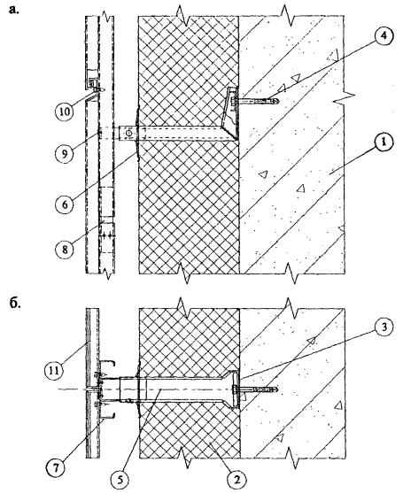
1. Основание

2. Утеплитель, укрытый паропроницаемой пленкой

3. Паронитовая прокладка

4. Анкерный дюбель

5. Кронштейн с подвижной вставкой

6. Прижим для утеплителя

7. Тарельчатый дюбель

8. Вертикальный профиль

9. Скоба

10. Кляммер

11. Заклепка

12. Керамогранитная плитка

Рис. 3.1. Фасадная система «Диат» СД-01

(с облицовкой плитами керамогранита)

1. Вертикальный профиль

2. Горизонтальный опорный профиль

3. Опорный элемент с самозапирающейся втулкой и регулировочным винтом

4. Заклепка вытяжная

5. Керамогранитная плитка

Рис. 3.2. Фасадная система «Диат» СД-02

Узел скрытого крепления

1. Основание

2. Утеплитель, укрытый паропроницаемой пленкой

3. Паронитовая прокладка

4. Анкерный дюбель

5. Кронштейн с подвижной вставкой

6. Прижим для утеплителя

7. Тарельчатый дюбель

8. Вертикальный профиль

9. Скоба

10. Салазки со штифтом

11. Заклепка

12. Кассетная панель

Рис. 3.3. Фасадная система «Диат» СД-03

(вариант крепления кассет с пазами в боковых торцах)

1. Основание

2. Утеплитель, укрытый паропроницаемой пленкой

3. Паронитовая прокладка

4. Анкерный дюбель

5. Кронштейн с подвижной вставкой

6. Прижим для утеплителя

7. Тарельчатый дюбель

8. Вертикальный профиль

9. Скоба

10. Стойка

11. Уплотнительная лента

12. Заклепка

13. Фиброцементная плита

14. Слив

Рис. 3.4. Фасадная система «Диат» СД-04

(с облицовкой фиброцементными плитами)

1. Основание

2. Утешитель, укрытый паропроницаемой пленкой

3. Паронитовая прокладка

4. Анкерный дюбель

5. Кронштейн с подвижной вставкой

6. Прижим для утеплителя

7. Тарельчатый дюбель

8. Вертикальный профиль

9. Скоба

10. Заклепка

11. Саморез

12. Кассета

Рис. 3.5. Фасадная система «Диат» СД-04

(с облицовкой кассетами типа «сайдинг»)

1. Основание

2. Утеплитель, укрытый паропроницаемой пленкой

3. Паронитовая прокладка

4. Анкерный дюбель

5. Кронштейн с подвижной вставкой

6. Прижим для утеплителя

7. Тарельчатый дюбель

8. Вертикальный профиль

9. Скоба

10. Кляммер концевой

11. Кляммер рядовой (кляммер концевой условно не показан)

12. Заклепка

13. Плита из натурального камня

Рис. 3.6. Фасадная система «Диат» СД-05

(с облицовкой плитами из натурального камня)

Кляммер КЛ1

Вставка В2

Кляммер КЛ3

Вставка В3

Кляммер КЛ4

Полка

Стойка

Направляющие

 

марка направл.

размеры, мм

материал изделия

а

b

c

d

H1

88

24

8

1,5

оцинков. сталь

Н2

86±0,5

23±0,5

10

1,2

нержав. сталь

Н5

66±0,2

34±0,2

10

1,5

оцинков. сталь

Н6

66±0,2

34±0,2

10

1,2

нержав. сталь

Кронштейн К2

Кронштейн К3

* - размер уточняется по проекту

Рис. 3.7. Элементы фасадной системы «Диат».

Опорный элемент в сборе с самозапирающейся втулкой и регулировочным винтом

Салазки со штифтом

Горизонтальный опорный профиль

Слив

Кассета для фасадной системы СД-04

* - размер уточняется по проекту

Рис. 3.8. Элементы фасадной системы «Диат».

Кассета с выштампованными в боковых гранях пазами для фасадной системы СД-03

Кассета с иклями для фасадной системы СД-03

* - размер уточняется по проекту

Рис. 3.9. Элементы фасадной системы «Диат»

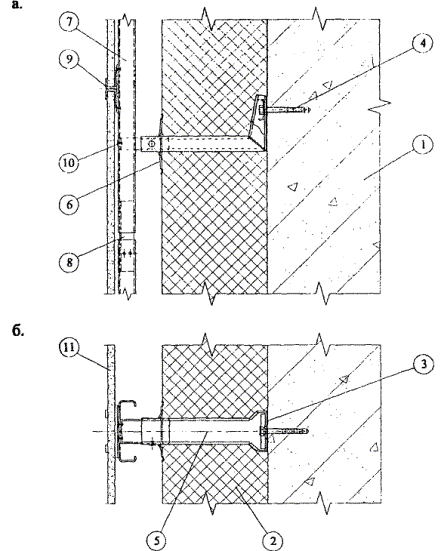
1. основание

2. Утеплитель, укрытый паропроницаемой пленкой.

3. Паронитовая прокладка

4. Анкерный дюбель

5. Кронштейн с подвижной вставкой

6. Прижим для утеплителя

7. Вертикальный профиль

8. Скоба

9. Кляммер

10. Заклепка вытяжная

11. Керамогранитная плитка

Рис. 3.10. Фасадная система «Диат» СД-01

а. вертикальный разрез

б. горизонтальный разрез

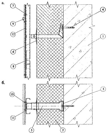
1. Основание

2. Утеплитель, укрытый паропроницаемой пленкой

3. Паронитовая прокладка

4. Анкерный дюбель

5. Кронштейн с подвижной вставкой

6. Прижим для утеплителя

7. Вертикальный профиль

8. Скоба

9. Горизонтальный опорный профиль

10. Опорный элемент с самозапирающейся втулкой и регулировочным винтом

11. Заклепка вытяжная

12. Керамогранитная плитка

Рис. 3.11. Фасадная система «Диат» СД-02

а. вертикальный разрез

б. горизонтальный разрез

1. Основание

2. Утеплитель, укрытый паропроницаемой пленкой

3. Паронитовая прокладка

4. Анкерный дюбель

5. Кронштейн с подвижной вставкой

6. Прижим для утеплителя

7. Вертикальный профиль

8. Скоба

9. Салазки со штифтом

10. Заклепка вытяжная

11. Кассетная панель

12. Икля

Рис. 3.12. Фасадная система «Диат» СД-03

(вариант кассет с иклями)

а. вертикальный разрез

б. горизонтальный разрез

1. Основание

2. Утеплитель, укрытый паропроницаемой пленкой

3. Паронитовая прокладка

4. Анкерный дюбель

5. Кронштейн с подвижной вставкой

6. Прижим для утеплителя

7. Вертикальный профиль

8. Скоба

9. Салазки со штифтом

10. Заклепка вытяжная

11. Кассетная панель

Рис. 3.13. Фасадная система «Диат» СД-03

(вариант кассет с пазами в боковых гранях)

а. вертикальный разрез

б. горизонтальный разрез

1. Основание

2. Утеплитель, укрытый паропроницаемой пленкой

3. Паронитовая прокладка

4. Анкерный дюбель

5. Кронштейн с подвижной вставкой

6. Прижим для утеплителя

7. Вертикальный профиль

8. Скоба

9. Слив

10. Заклепка со втулкой

11. Лента уплотнительная

12. Фиброцементный лист

Рис. 3.14. Фасадная система «Диат» СД-04

(с облицовкой плитами)

а. вертикальный разрез

б. горизонтальный разрез

1. Основание

2. Утеплитель, укрытый паропроницаемой пленкой

3. Паронитовая прокладка

4. Анкерный дюбель

5. Кронштейн с подвижной вставкой

6. Прижим для утеплителя

7. Вертикальный несущий профиль

8. Скоба

9. Заклепка

10. Винт-саморез

11. Кассета

Рис. 3.15. Фасадная система «Диат» СД-04

(с облицовкой кассетами типа «сайдинг»)

а. вертикальный разрез

б. горизонтальный разрез

1. Основание

2. Утеплитель, укрытый паропроницаемой пленкой

3. Паронитовая прокладка

4. Анкерный дюбель

5. Кронштейн с подвижной вставкой

6. Прижим для утеплителя

7. Вертикальный профиль

8. Скоба

9. Кляммер концевой

10. Кляммер рядовой

11. Заклепка вытяжная

12. Плита из натурального камня

Рис. 3.16. Фасадная система «Диат» СД-05

а. вертикальный разрез

б. горизонтальный разрез

1. Основание

2. Утеплитель, укрытый паропроницаемой пленкой

3. Паронитовая прокладка

4. Анкерный дюбель

5. Кронштейн с подвижной вставкой

6. Прижим для утеплителя

7. Вертикальный профиль

8. Стойка

9. Полка

10. Кляммер

11. Заклепка

12. Керамогранитная плитка

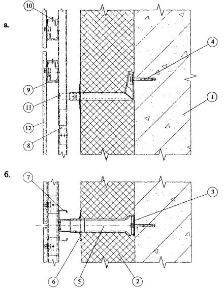
Рис. 3.17. Фасадная система «Диат» СД-01 на внешнем углу.

1. Основание

2. Утеплитель, укрытый паропроницаемой пленкой

3. Паронитовая прокладка

4. Анкерный дюбель

5. Кронштейн с подвижной вставкой

6. Прижим для утеплителя

7. Вертикальный профиль

8. Стойка

9. Горизонтальный опорный профиль

10. Опорный элемент с самозапирающейся втулкой и регулировочным винтом

11. Заклепка вытяжная

12. Керамогранитная плитка

Рис. 3.18. Фасадная система «Диат» СД-02 на внешнем углу

1. Основание

2. Утеплитель, укрытый паропроницаемой пленкой

3. Паронитовая прокладка

4. Анкерный дюбель

5. Кронштейн с подвижной вставкой

6. Прижим для утеплителя

7. Вертикальный профиль

8. Угловая кассетная панель

9. Салазки со штифтом

10. Заклепка

11. Кассетная панель

Рис. 3.19. Фасадная система «Диат» СД-03 на внешнем углу

(вариант крепления кассет с пазами в боковых торцах).

1. Основание

2. Утеплитель, укрытый паропроницаемой пленкой

3. Паронитовая прокладка

4. Анкерный дюбель

5. Кронштейн с подвижной вставкой

6. Прижим для утеплителя

7. Вертикальный профиль

8. Кляммер

9. Заклепка

10. Керамогранитная плитка

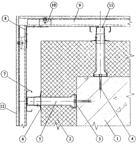
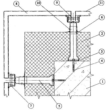
Рис. 3.20. Фасадная система «Диат» СД-01 на внутреннем углу.

1. Основание

2. Утеплитель, укрытый паропроницаемой пленкой

3. Паронитовая прокладка

4. Анкерный дюбель

5. Кронштейн с подвижной вставкой

6. Прижим для утеплителя

7. Вертикальный профиль

8. Угловая кассета

9. Салазки со штифтом

10. Заклепка

11. Кассетная панель

Рис. 3.21. Фасадная система «Диат» СД-03 на внутреннем углу

(вариант крепления кассет с пазами в боковых торцах).

1. Основание

2. Утеплитель, укрытый паропроницаемой пленкой

3. Паронитовая прокладка

4. Анкерный дюбель

5. Кронштейн с подвижной вставкой

6. Прижим для утеплителя

7. Вертикальный профиль

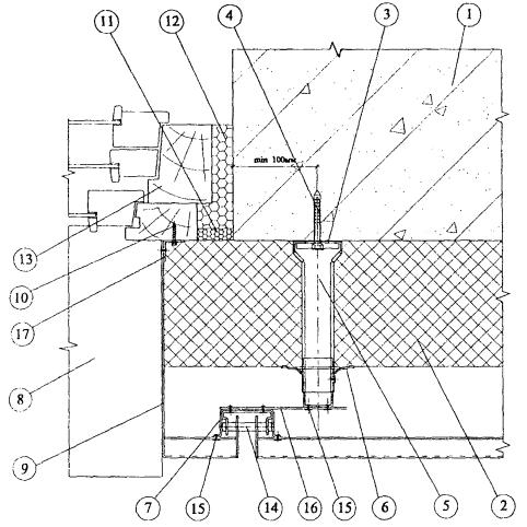
8. Верхний откос

9. Слив

10. Боковой откос

11. Саморез

12. Паропроницаемый герметик

13. Пеноутеплитель «Макрофлекс»

14. Оконный блок

15. Керамогранитная плитка

16. Кляммер концевой

17. Заклепка

Рис. 3.22. Узел примыкания системы «Диат» СД-01 к оконному проему

(вертикальный разрез)

1. Основание

2. Утеплитель, укрытый паропроницаемой пленкой

3. Паронитовая прокладка

4. Анкерный дюбель

5. Кронштейн с подвижной вставкой

6. Прижим для утеплителя

7. Вертикальный профиль

8. Слив

9. Боковой откос

10. Саморез

11. Паропроницаемый герметик

12. Пеноутеплитель «Макрофлекс»

13. Оконный блок

14. Керамогранитная плитка

15. Кляммер концевой

16. Заклепка

17. Крепежная пластина

Рис. 3.23. Узел примыкания системы «Диат» СД-01 к оконному проему

(горизонтальный разрез)

1. Основание

2. Утеплитель, укрытый паропроницаемой пленкой

3. Паронитовая прокладка

4. Анкерный дюбель

5. Кронштейн с подвижной вставкой

6. Прижим для утеплителя

7. Вертикальный профиль

8. Верхний откос

9. Слив

10. Боковой откос

11. Саморез

12. Паропроницаемый герметик

13. Пеноутеплитель «Макрофлекс»

14. Оконный блок

15. Кассетная панель

16. Салазки со штифтом

17. Заклепка вытяжная

Рис. 3.24. Узел примыкания системы «Диат» СД-03 (вариант кассет с пазами в боковых гранях) к оконному проему (вертикальный разрез)

1. Основание

2. Утеплитель, укрытый паропроницаемой пленкой

3. Паронитовая прокладка

4. Анкерный дюбель

5. Кронштейн с подвижной вставкой

6. Прижим для утеплителя

7. Вертикальный профиль

8. Слив

9. Боковая оконная кассета

10. Саморез

11. Паропроницаемый герметик

12. Пеноутеплитель «Макрофлекс»

13. Оконный блок

14. Салазки со штифтом

15. Заклепка вытяжная

16. Крепежная пластина

17. Крепежный уголок

Рис. 3.25. Узел примыкания системы «Диат» СД-03 (вариант кассет с пазами в боковых гранях) к оконному проему

(горизонтальный разрез)

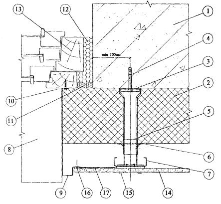
1. Основание

2. Утеплитель, укрытый паропроницаемой пленкой

3. Паронитовая прокладка

4. Анкерный дюбель

5. Кронштейн с подвижной вставкой

6. Вертикальный профиль

7. Кляммер

8. Заклепка

9. Керамогранитная плитка

10. Козырек с перфорацией

11. Специальный кронштейн

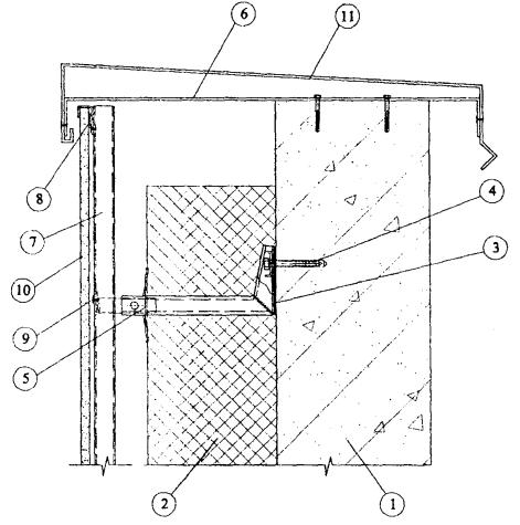
Рис. 3.26. Фасадная система «Диат» СД-01 у цоколя

1. Основание

2. Утеплитель, укрытый паропроницаемой пленкой

3. Паронитовая прокладка

4. Анкерный дюбель

5. Кронштейн с подвижной вставкой

6. Специальный кронштейн

7. Вертикальный профиль

8. Кляммер

9. Заклепка вытяжная

10. Керамогранитная плитка

11. Покрытие

Рис. 3.27. Фасадная система «Диат» СД-01 у парапета

1. Основание

2. Утеплитель, укрытый паропроницаемой пленкой

3. Паронитовая прокладка

4. Анкерный дюбель

5. Кронштейн с подвижной вставкой

6. Прижим для утеплителя

7. Вертикальный профиль гнутый с подсечкой полок

8. Кляммер концевой

9. Саморез

10. Заклепка вытяжная

11. Керамогранитная плитка

12. Желоб

13. Кобылка

14. Обрешетка

15. Брусок для крепления вертикального профиля

16. Кровля

Рис. 3.28. Фасадная система «Диат» СД-01 у карниза

4. Исходные данные для проектирования системы

4.1. Проектно-сметная документация на систему для конкретного объекта разрабатывается на основе задания на проектирование, подготовленного в соответствии с существующим в г. Москве порядком и утвержденного заказчиком. Задание на проектирование обязательно должно содержать требование о соответствии СНиП 23-02-2003 и MГCН 2.01-99.

4.2. Задание на проектирование должно включать следующие исходные данные:

- архитектурные чертежи фасадов здания, включающие данные о фактуре и цвете облицовочных материалов, чертежи архитектурных деталей (карнизов, обрамления проемов и т.п.) и другие необходимые данные, если это не входит в состав работ по данному заданию;

- строительные чертежи наружных стен от фундаментов до парапетов, включая узлы, поясняющие решение и размеры всех конструкций;

- данные от разработчиков фундаментов о величине допустимой дополнительной нагрузки на стены здания или заключение компетентной организации о несущей способности фундаментов здания;

- план участка, где расположено здание.

Для реконструируемых зданий задание на проектирование дополнительно должно содержать акт обследования наружных стен здания, где указывается состояние поверхности фасадов, результаты испытаний на усилия, с которым принятые дюбели можно вырвать из стены и геодезическую съемку поверхностей фасадов с данными о величине отклонений их отдельных участков от вертикальной плоскости.

4.3. В составе задания на проектирование должно быть Приложение к Техническому свидетельству Госстроя России на принятую фасадную систему.

5. Определение основных параметров системы

5.1. К основным параметрам системы следует отнести:

тип и размер облицовочных материалов и способ их крепления к несущему каркасу;

характеристику принятых плит утеплителя: марку, размеры, плотность, теплопроводность, наличие или отсутствие защитного слоя;

величину воздушного зазора;

схему размещения на фасаде здания кронштейнов, вертикальных и горизонтальных профилей со всеми необходимыми размерами, в том числе, расстояние от основания до экрана;

марку дюбелей для крепления кронштейнов несущего каркаса к основанию;

марку дюбелей для крепления плит утеплителя к основанию.

5.2. Тип и размер элементов облицовки, их цвет, фактуру поверхности и способ крепления к несущему каркасу, определяет главный архитектор проекта, если эти данные не приведены в задании на проектирование системы.

5.3. Выбор плит утеплителя выполняется на основании теплотехнических расчетов, методика которых приводится ниже. Там же (в разделе «Теплотехнические расчеты») имеются рекомендации по определению величины воздушного зазора.

В случае применения плит утеплителя с кашированной поверхностью можно обойтись без гидроветрозащитной мембраны.

5.4. Схема размещения на фасаде здания элементов несущего каркаса разрабатывается, исходя из следующих данных:

- размеров по ширине элементов облицовки, вертикальный шов между которыми должен располагаться в центре вертикального профиля;

- геометрии фасада здания, размещении на фасаде проемов, балконов, карнизов и других отступающих (выступающих) от плоскости фасада элементов для минимизации применения облицовочных плит с нестандартными размерами;

- результатов прочностных расчетов системы, благодаря которым, в том числе, уточняется шаг по вертикали установки кронштейнов;

- расстояния от основания до экрана, принятого на основании теплотехнических расчетов, при этом следует учитывать величину фактических отклонений фасада от проектного положения.

5.5. Марку дюбелей для крепления кронштейнов и утеплителя выбирают с учетом результатов прочностных расчетов системы, материала основания, паспортных данных рассматриваемых дюбелей и результатов испытаний принятых дюбелей на выдергивание.

6. Прочностные расчеты

6.1. Методические предпосылки

Прочностные расчеты включают проверку прочности и деформаций металлических профилей, анкерных болтов и стержней, несущих нагрузки от их собственной массы, массы облицовочных плит, утеплителя и от давления ветра, стыковых соединений профилей между собой, их креплений к основным несущим конструкциям здания.

Нагрузки от собственной массы облицовочных плит и утеплителя принимаются по техническим условиям или паспортным данным предприятий-изготовителей. Временные нагрузки от ветра принимаются по СНиП ½2½, в данном случае для I ветрового района г. Москвы. Кроме того, учитываются дополнительные коэффициенты к ветровым нагрузкам в соответствии с письмом ЦНИИСКа № 1-945 от 14.11.2001 г. (см. Приложение). Нагрузку от собственной массы профилей в случаях, когда она относительно мала, возможно не учитывать.

Усилия: изгибающие моменты, поперечные и продольные силы, прогибы определяются с использованием основных положений сопротивления материалов и строительной механики. Коэффициенты надежности по нагрузкам gf, а также единый коэффициент надежности по ответственности gn = 0,95 принимаются по СНиП ½2½.

При проверке прочности и деформаций элементов и стыковых соединений формулы СНиП ½3½ трансформируются по форме к условиям примеров.

Физико-механические характеристики материалов профилей, их соединений и крепежных элементов следует принимать по СНиП ½3½.

Подробно методика расчета проиллюстрирована в приводимом ниже примере (п. 6.4) В примере исходные параметры даны для конкретных материалов и конструкций (п. 6.2) В то же время приведенная методика, где все расчетные формулы даются как в буквенном так и в числовом выражениях со ссылками на нормативные источники, может быть использована и для других вариантов и сочетаний материалов и конструктивных решений.

В примере приняты условные обозначения: Мв - момент от вертикальной нагрузки; Мг - то же от горизонтальной; Кспр - табличные коэффициенты по ½3½.

Индексы «е» (edge) и «с» (centre) - соответственно для угловых и средних зон фасада.

6.2. Характеристики материалов

Расчетные сопротивления несущих профилей, изготовленных из оцинкованной стали, согласно ½3½ (МПа): на растяжение, сжатие и изгиб Ry = 230; на сдвиг Rs = 133; на смятие Rp = 175; модуль упругости Е = 210000 Коэффициент условий работы gc = 1.

Расчетные сопротивления стальных болтов и заклепок по ½3½ (МПа): на растяжение RBt = 170; на срез RBs = 150; на смятие RBp = 235. Предельное усилие, воспринимаемое соединением профилей с одной заклепкой, на растяжение, срез и смятие, по данным ООО «Диат», Nml = 1600 Н. Коэффициент условий работы на срез и смятие gв = 0,8.

Предел прочности при изгибе керамогранитных плит Rи = 35 МПа.

Утеплитель - минераловатные плиты плотностью gут = 80 кг/м3. Прочность на сжатие утеплителя при 10 % деформации Rут = 0,02 МПа

6.3. Расчетные схемы

Направления координатных осей приняты:

ось x - горизонтальная в плоскости стены;

ось y - горизонтальная по нормали к стене;

ось z - вертикальная в плоскости стены.

Расчетная схема облицовочной плиты - шарнирно опертая по углам на вертикальные направляющие пластина (рис. 6.1). Расчетная схема вертикальных направляющих профилей - многопролетная неразрезная балка, шарнирно закрепленная на опорах-кронштейнах с консолями у концов (рис. 6.2).

Расчетная схема кронштейнов - консоль с вылетом lкр (рис. 6.3), диктуемым толщиной слоя утеплителя и воздушного зазора.

К направляющим прикладывается вертикальная нагрузка от веса облицовочных плит с эксцентриситетом относительно центра тяжести еу = 15 мм и горизонтальная ветровая нагрузка. На кронштейны через вертикальные направляющие передаются вертикальные и горизонтальные нагрузки.

Расчетная схема крепления кронштейнов к стене (рис. 6.3) принята с учетом восприятия как изгибающего момента от вертикальной нагрузки, так и горизонтальной ветровой нагрузки.

Расчетная схема распорных стержней для крепления утеплителя - консоль с вылетом lут = dут.

Соединение вертикальных направляющих профилей с кронштейнами, крепление кронштейнов к стене рассчитываются на действие усилий среза, растяжения, изгиба и вырыва от совместного действия вертикальной и ветровой нагрузок.

6.4. Пример расчета

6.4.1. Исходные данные

В данном примере принят вариант с облицовочными плитами из керамогранита толщиной d = 10 мм, g = 2500 кг/м3. Толщина стенок вертикальных направляющих и кронштейнов d = 1 и 1,2 мм.

Шаги кронштейнов и соответственно направляющих по оси «X» lx = 0,6 м, а по оси «Z», что соответствует пролетам направляющих, lz = 1,4 м, направляющие у концов имеют консоли lz,x = 0,3 м.

Крепление облицовочных плит к направляющим производится с помощью стальных кляммеров; крепление направляющих к кронштейнам - стальными заклепками Æ 4 мм из коррозионностойкой стали; крепление кронштейна к стене - одним стальным болтом Æ 8 мм с дюбелем.

Рис. 6.1. Расчетная схема облицовочной плиты:

а - размеры и опирание плиты;

б - расчетная схема на ветровую нагрузку.

Рис. 6.2. Расчетные схемы вертикальной направляющей:

а - на вертикальные нагрузки;

б - на горизонтальные нагрузки.

Рис. 6.3. Расчетная схема кронштейна:

а - схема приложения усилий;

б, в, г - эпюры М, Q и N.

Утеплитель - минераловатные плиты - по п. 6.2, крепится к стене независимо от облицовки, стальными распорными стержнями Æ 5 мм с шляпками Æ 80 мм. Толщина утеплителя dут = 150 мм.

6.4.2. Нагрузки

Вертикальные нагрузки (Па): от веса облицовочных плит: нормативная qzn = 2500 × 0,01 × 101 = 250; расчетная qz = gf × qzn = 1,2 × 250 = 300; от веса утеплителя - расчетная qут = gf × gут × d = 1,3 × 80 × 150 × 10-3 × 101 = 15; нагрузкой от собственного веса профилей пренебрегается.

Горизонтальные ветровые нагрузки приняты для высоты Н = 80 м; нормативное значение ветрового давления для 1 ветрового района wo = 0,23 кПа; коэффициент «К» для зданий высотой 80 м, тип местности «В», по табл. 6½2½ К = 1,45; аэродинамический коэффициент принимается для угловых зон фасада (отсос) Сс = ½-2½; для средних зон при положительном давлении ветра Сс = 0,8; коэффициенты, учитывающие пульсационную составляющую ветровой нагрузки: для угловых зон gp = 1,3; для средних зон, вычисленный по формуле (8) ½2½ gp = 1,5, коэффициент gm = 1,2 увеличения средней величины ветрового давления при расчете узлов крепления (gp и gm - по рекомендации ЦНИИСК, как дополнение к СНиП ½2½).

Горизонтальные ветровые нагрузки (Па):

в угловых зонах: нормативная qyn = Wo × К × С × gp = 230 × 1,45 × 2 × 1,3 = 867; расчетная qy = 1,4 × 867 = 1214;

в средних зонах: qyn = 230 × 1,45 × 0,8 × 1,5 = 400; qy = 1,4 × 400 = 560.

6.4.3. Расчет облицовочной плиты

Геометрические характеристики

Для плиты шириной вz = 0,6 м; d =10 мм; в = 6000 мм; W = 10000 мм3; J = 50000 мм4; lх = 0,6 м.

Проверка прочности

Вертикальные и горизонтальные нагрузки на облицовочные плиты соответствуют указанным в п. 6.4.2. Так как проверка прочности плит в их плоскости не требуется, то используются лишь горизонтальные ветровые нагрузки.

Для шарнирно опертой балочной плиты по известной формуле для угловых зон Mг = qybzlх2спр = 1214 × 0,6 × 0,62/8 = 54,6 Нм.

Условие прочности на изгиб Mг × gn = 54,6 × 0,95 = 51,9 Нм < a Rн × W = 1 × 35 × 10000 × 10-3 = 350 Нм; прочность на изгиб обеспечивается. В средних зонах запас прочности больше » в 2 раза.

6.4.4. Расчет вертикальной направляющей Н1

Геометрические характеристики

Для полного поперечного сечения: d = 1 мм; А = 148 мм2; Jx = 10905 мм4; Wx = 620 мм3; Sx = 548 мм3; t=2d = 2 мм; тоже ослабленного отверстиями для заклепок: Аn = 138 мм2, Jxn = 10530 мм4; Wxn = 612 мм3; Sxn = 525 мм3; tn = 2 мм.

Определение усилий

Нагрузки на 1 п/м направляющей (Н/м): вертикальные, одинаковые для угловых и средних зон: нормативная pzn = qzn × lx = 250 × 0,6 = 150; расчетная рz = qz × lx = 300 × 0,6 = 180, горизонтальные в угловых зонах: нормативная руеn = qуеn × lx = 867 · 0,6 = 520; расчетная руе = qуе × lx = 1214 × 0,6 = 728; в средних зонах: руcn = 400 × 0,6 = 240; руc = 560 ×0,6 = 336. Для дальнейших расчетов принимаются горизонтальные ветровые нагрузки только в угловых зонах фасада. Индексы «е» и «с» далее опускаются.

Изгибающие моменты в плоскости, перпендикулярной стене (Нм):

- от вертикальной расчетной нагрузки Мв = Кспр × рz × вz еy = 0,5 × 180 × 0,6 × 0,015= 0,8;

- от горизонтальной ветровой нагрузки: нормативной Мгn = Кспр × рyn × lz2 = 0,1 × 520 × 1,42 = 102; расчетной Мг = Кспр × рy × lz2 = 0,1 × 728 × 1,42 = 142,9.

Продольное усилие Nz = pz × lz = 180 × 1,4 = 252 Н; максимальная поперечная сила Qy=py × lz/2 = 728 × 1,4/2 = 510 Н.

Проверка прочности на растяжение с изгибом

По формуле (50) ½3½ для сечений над средними опорами

прочность на растяжение с изгибом обеспечивается.

В средних зонах прочность обеспечивается с большим запасом.

Проверка прочности на сдвиг

По формуле (29) ½3½  для угловых зон

прочность на сдвиг обеспечивается.

Проверка прочности крепления направляющей к кронштейну

Крепление производится двумя (ns = 2) стальными заклепками d = 4 мм, расчетной площадью сечения 1 заклепки А = 12,6 мм2, с расчетными сопротивлениями по п. 6.2.

Усилия, действующие на соединение: от вертикальной расчетной нагрузки Qz.2 = Nz.2 = gm × pz × lz = 1,2 × 180 × 1,4 = 302 Н; от горизонтальной расчетной нагрузки Ny.2 =1,2 × 728 × 1,4 = 1223 Н.

По формуле (127) ½3½ на срез Qz.2 × yn = 302 × 0,95 = 287 Н < Rbs × gв × А × ns = 150 × 0,8 × 12,6 × 2 = 3024 Н; по формуле (129) ½3½ на растяжение Ny.2 × gn = 1223 × 0,95 = 1162 H < Rsf × A × ns = 170 × 12,6 × 2 = 4284 Н; по формуле (128) ½3½ на смятие направляющей Qz.2 × yn = 302 × 0,95 = 287 Н < Rfp × d × d × ns = 175 × 4 × 1 × 2 = 1400 Н; прочность соединения на срез, растяжение и смятие обеспечивается.

Проверка жесткости

Проверяется прогиб в направлении оси «у», т.е. по нормали к стене, от действия нормативной ветровой нагрузки Рyn = 520 Н/м, с изгибающим моментом на средних опорах Мгn = 102 Нм.

Для неразрезной многопролетной балки согласно ½3½

f/l = 5,5/1400 = 1/255, что меньше предельно допустимой величины [f/l] = 1/200, жесткость профиля достаточна.

6.4.5. Расчет кронштейна К2

Геометрические характеристики

Для вертикального поперечного сечения: d =1,2 мм; А = 142 мм2; Wz = 827 мм3; Jx = 16464 мм4; Sx = 690 мм3; tx = 2d = 2,4 мм.

Усилия

От вертикальной расчетной нагрузки Nz = pz × lz = 180 × 1,4 = 252 Н; от горизонтальной нагрузки Ny = py × lz = 728 × 1,4 = 1020 Н. Плечо (вылет) до расчетного сечения lкр.1 = 200 мм. Изгибающий момент от вертикальной нагрузки Mв.1 = Nz × lкр.1 = 252 × 200 × 103 = 50,4 Нм.

Проверка прочности на растяжение с изгибом

По формуле (50) ½3½

 для угловых зон

Проверка прочности на сдвиг

По формуле (29) ½3½ от вертикальной нагрузки Qz = Nz

Прочность кронштейна на растяжение с изгибом и сдвиг обеспечивается. В средних зонах запас прочности выше » в 2 раза.

6.4.6. Расчет соединения вставки с кронштейном

Соединение производится одной (ns = 1) стальной заклепкой Æ 4 мм, А = 12,6 мм2 и работает на срез и смятие от горизонтальной нагрузки, с расчетным усилием Ny.2 = 1223 Н (см. п. 6.4.4).

По формуле (127) ½3½ на срез Ny.2 × gn = 1223 × 0,95 = 1162 Н < Rbs × gв × А × ns = 150 × 0,8 × 12,6 × 1 = 1512 Н; по формуле (128) ½3½ на смятие кронштейна и вставки под заклепкой Ny.2 × gn = 1162 Н < Nuf × gn = 1600 × 0,8 = 1280 Н; прочность соединения на срез и смятие обеспечивается.

6.4.7. Расчет крепления кронштейнов к стене

Крепление производится одним стальным болтом Æ 8 мм с расчетным диаметром на растяжение do = 6,4 мм и расчетной площадью сечения: на растяжение Ат = 32,1 мм2; на срез и смятие А = 50,3 мм2.

Прочность болтового соединения кронштейна

Плечо (вылет) до стены lкр.2 = 230 мм; изгибающие моменты (Нм): Мв.ст = NZ × lкр.2 = 252 × 230 × 10-3 = 58; Мв2 = gm × Мв.ст = 1,2 × 58 = 69,6; продольная сила Ny2 = gm × Ny = 1,2 × 1020 = 1224 Н; поперечная сила Qя2 = gm × Qz = 1,2 × 252 = 302 Н.

Плечо внутренней пары сил в плоскости стены Z = 100 мм.

Растягивающее усилие в болте: от продольной силы Nв1 = Ny2 = 1224 Н; от момента Nв1 = Мв2/Z = 69,6 × 103/100 = 696 Н; суммарное Nв = Nв1 + Nв2 = 1224 + 696 = 1920 Н.

По формуле (129) ½3½ на растяжение: Nв × gn = 1920 · 0,95 = 1824 Н < Rвf × Aвn = 170 × 32,1 = 5457 Н; по формуле (127) ½3½ на срез: Qx2 × gn = 302 × 0,95 = 287 Н < Rвs × gn × А × ns = 150 × 0,8 × 50,3 × 1 = 6036 Н; прочность болтов на растяжение и срез обеспечивается.

По формуле (128) ½3½ на смятие стенки кронштейна под болтом: Qz2 × gn = 287 Н < Rfp × gn × d × t = 175 × 0,8 × 8 × 1,2 = 1344 Н; прочность кронштейна на смятие под болтом обеспечивается.

Крепление болтов к стене

Вырывающее усилие на болт в угловых зонах равно: Nв = 1920 Н. Под это усилие следует подбирать конструкцию дюбелей и болтов с учетом материала основания по каталогам фирм-изготовителей, в частности, швейцарской фирмы «Mungo».

6.4.7. Расчет крепления утеплителя

На 1 м2 стены приходится » 5 распорных стержней: на 1 стержень с расчетной площадью сечения А = 19,6 мм2 приходится Аут1 » 0,2 м2.

Поперечная сила, приходящаяся на 1 стержень от веса утеплителя, Qz = gут × dут × Аут.1 = 80 × 0,15 × 101 × 0,2 = 24 Н.

По формуле (127) ½3½: Qz × gn = 24 × 0,95 = 22,8 Н < 150 × 0,8 × 19,6 = 2352 Н; прочность стержней на срез обеспечивается.

При диаметре шляпки dm = 80 мм утеплитель может воспринять усилие сжатия не более [N] = Rут × Аm = 0,02 × p × 802/4 = 100,5 Н.

Контроль за ограничением этого усилия осуществляется по величине деформации обжатия утеплителя под шляпкой, которая при dут = 150 мм не должна превышать D = 0,1 × 150 = 15 мм.

7. Теплотехнические расчеты

7.1. Введение

В настоящем разделе анализируются принципы теплотехнического проектирования систем наружных стен с вентилируемыми воздушными прослойками между экраном и теплоизоляционным слоем, приводятся рекомендации по различным техническим параметрам.

Принципы теплотехнического проектирования включают методы теплотехнических расчетов, расчеты воздухообмена и влагообмена в воздушных прослойках.

Методика теплотехнических расчетов базируется на требованиях МГСН 2.01-99 [9], СНиП 23-02-03 *) [4].

*) - с 1.10.2003 г. вместо СНиП II-3-79* (98) введен в действие СНиП 23-02-03 «Теплозащита зданий».

7.2. Основные, используемые в тексте, понятия

Воздушная прослойка между утеплителем и экраном, вентилируемая наружным воздухом; швы, зазоры - приточные (воздухозаборные) и вытяжные (воздуховыводящие) отверстия. Путями прохождения наружного воздуха могут являться в основном горизонтальные стыковые швы элементов экрана, поскольку вертикальные, как правило, закрыты.

Условное сопротивление паропроницанию - приведенное, учитывающее сопротивление паропроницанию материалов экрана с учетом швов между облицовочными панелями.

7.3. Основные положения по проектированию фасадных систем наружных стен с вентилируемой воздушной прослойкой

При проектировании зданий с вентилируемыми фасадами следует учитывать уже принятые параметры системы:

- минимальный размер швов для притока воздуха рекомендуется 4 - 8 мм (при размерах плит экрана 600´600 мм) для Москвы.

- общая толщина воздушной прослойки принимается, как правило, 60 мм для Москвы.

- площадь отверстий щели**) для вытяжки воздуха не должна быть менее сечения отверстий щели для притока.

**) - то же, что швы-зазоры

7.4. Правила теплотехнического проектирования наружных ограждений с вентилируемым фасадом

Теплотехническое проектирование наружных стен, где применяются фасадные системы с вентилируемым воздушным зазором выполняется в два этапа.

Причем второй этап применяется, если после первого этапа не выявится надежность рассматриваемой конструкции в теплотехническом отношении.

Первый этап

Назначается конструктивное решение стены, в т.ч. параметры экранов, приточных и выводных щелей с учетом раздела 7.3.

Выполняется теплотехнический расчет наружной стены с экраном, т.е. определяется необходимая толщина теплоизоляции, исходя из требований 2-ого этапа СНиП 23-02-03 [4] и с учетом требований МГСН 2.01-99 [9].

Выполняется расчет влажностного режима стены по методике СНиП 23-02-03* [4] с учетом коэффициента паропроницаемости по глади экрана.

Если влажностный режим стены удовлетворяет требованиям норм строительной теплотехники СНиП 23-02-03 [4], то на этом теплотехническое проектирование заканчивается.

Если влажностный режим экранированных стен не удовлетворяет требованиям, то подбирается такой размер швов и экрана, чтобы с ними конструкция стены удовлетворяла требованиям СНиП [4].

Если расчет влажностного режима наружного ограждения с вентилируемым фасадом показал невыполнение требований СНиП 23-02-03 [4], а другой материал стены и экрана подобрать нельзя, то переходят ко второму этапу теплотехнического проектирования.

1) Определяется условное сопротивление паропроницанию экрана с учетом швов по методике раздела 7.6.6.

2) С учетом этого показателя проводят расчет влажностного режима по методике СНиП 23-02-03.

3) При необходимости определяется влажностный режим рассматриваемой конструкции в годовом цикле с учетом средних месячных температур.

4) С учетом результатов расчета по п. 2, 3 анализируются результаты, при необходимости корректируются материалы и их толщины в конструкции с целью исключения влагонакопления в годовом цикле. Если проведенных упомянутых расчетов для определения применимости конструкции не достаточно, то расчет продолжается в следующей последовательности.

4.1) С учетом этажности здания и района строительства определяется скорость движения воздуха в прослойке за экраном и расход воздуха.

4.2) Определяется температура на выходе из воздушной прослойки.

4.3) Определяется действительная упругость водяного пара на выходе из прослойки еу по формуле (16). Определяется упругость водяного пара на выходе из прослойки и проверяется условие еу < Ен, где Ен - максимальная упругость водяного пара на выходе из прослойки. Анализируются результаты расчетов и корректируется конструкция стены.

7.5. Краткая характеристика объекта и нормативные требования

Для расчета принято многоэтажное (7-ми этажное; пятиэтажное реконструируемое с надстройкой в два этажа) жилое здание, расположенное в г. Москве.

Рассматриваются два варианта наружной стены: с внутренним слоем из монолитного железобетона go = 2500 кг/м3, толщиной 0,18 м (lБ = 2,04 Вт/м°С) и из кирпича, толщиной 0,51 м (lБ = 0,64 Вт/м°С). Утеплитель в виде плит базальтовой минваты с l = 0,045 Вт/м°С, покрытый паропроницаемой влаговетрозащитной пленкой «TAYVEK», укреплен на внутреннем слое с его наружной стороны тарельчатыми дюбелями С этой же стороны к внутреннему слою через паронитовую прокладку анкерными дюбелями прикреплены стальные кронштейны, а к ним вытяжными заклепками крепят стальные вертикальные профили, на которые посредством кляммеров из нержавеющей стали навешивают керамогранитные плитки, являющиеся облицовочным слоем фасада. Длина кронштейнов и соответственно расстояние от внутреннего слоя стены до облицовочного таково, что между облицовочным слоем и слоем утеплителя есть воздушный зазор расчетной толщины. Для облицовочного слоя применяют керамогранитные плиты размером 600´600´10 мм, плотностью 1600 кг/м3. Воздушный зазор в фасадных системах в нижней части (у цоколя) имеет отверстия для притока воздуха, а в верхней части - аналогичные вытяжные отверстия. Кроме того, обмен воздуха может происходить благодаря зазорам в горизонтальных швах величиной 4 ¸ 8 мм между смежными плитками.

Требования к теплотехническим характеристикам конструкций содержатся в СНиП 23-02-03 [4] и МГСН 2-01-99 [9].

Требования к сопротивлению теплопередаче конструкций приведены в [4], исходя из санитарно-гигиенических и комфортных условий и условий энергосбережения. Так как требования из условия энергосбережения являются более жесткими, они и приняты в настоящей работе в качестве критерия оценки системы.

На основе [4] и [9] составлена таблица 1 исходных расчетных данных, где представлены требуемые сопротивления теплопередаче наружных стен жилых домов.

Таблица 1.

Значения нормативных требований к наружным ограждениям жилых зданий

№ пп

Название нормативного документа

Требуемое сопротивление теплопередаче наружных стен

ГСОП

Город

1

СНиП 23.01-99 [5], СНиП 23-02-03

3,13

4943

Москва

В расчете принимается поэлементный подход.

В соответствии с МГСН 2.01-99 удельный расход тепла на отопление qhdes должен быть меньше нормативного удельного расхода тепла qhreq. В случае, если будут соблюдены требования поэлементного подхода, т.е. приведенное сопротивление теплопередаче всех элементов оболочки здания больше или равно требуемым значениям по табл. 4 СНиП 23-02-03 можно принять, что соблюдаются условия МГСН 2. 01-99 qhdes £ qhreq (п. 5.1, а, б, СНиП 23-02-03).

7.6. Методика теплотехнического расчета наружных стен с вентилируемой воздушной прослойкой

7.6.1. Общие требования

Расчет наружных стен с экраном и вентилируемой воздушной прослойкой основан на расчете теплотехнических характеристик стен и расчета влажностного режима.

Теплотехнический расчет наружных стен с вентилируемой прослойкой в соответствии с настоящим разделом включает в себя:

- подбор толщины теплоизоляционного слоя;

- определение условного приведенного сопротивления паропроницанию экранов с учетом швов-зазоров между панелями-экранами;

- определение влажностного режима;

- определение параметров воздухообмена в прослойке;

- определение тепловлажностного режима прослойки.

7.6.2. Определение толщины теплоизоляционного слоя

В основу конструктивных решений наружных стен при определении приведенных сопротивлений теплопередаче предварительно принимаются толщины утеплителя, рассчитанные по формуле:

                                       (1)

где:

Roreq (или) Roтро про - требуемое приведенное сопротивление теплопередаче стен, м2 × °С/Вт;

r - коэффициент теплотехнической однородности по табл. 2; 3 для определения предварительной толщины утеплителя. В дальнейшем он может быть уточнен в зависимости от конкретных особенностей объекта и конструкции стен (типы и размеры кронштейнов, размеры окон и т.п.).

Таблица 2

Значения r кирпичных утепленных снаружи с ген

Толщина, м

Коэффициент r при l, Вт/м°С

стены (без дополнительного утепления)

утеплителя

0,04

0,05

0,08

0,3

0,1

0,705

0,726

0,73

0,15

0,693

0,713

0,73

0,2

0,68

0,7

0,715

0,51

0,1

0,694

0,714

0,73

0,15

0,682

0,702

0,72

0,2

0,667

0,687

0,702

0,64

0,1

0,685

0,7

0,715

0,15

0,675

0,69

0,705

0,2

0,665

0,68

0,695

Примечания:

1. В таблице даны r для фрагмента с оконным проемом (проемность 25 %).

2. Для получения значений r с учетом глухих участков и торцовых стен приведенные в таблице значения умножаются на 1,05.

Таблица 3

Значения r бетонных утепленных снаружи стен

Толщина, м

Коэффициент r при l, Вт/м°С

панели (без дополнительного утепления)

утеплителя

0,04

0,05

0,08

0,3

0,05

0,9

0,92

0,95

0,1

0,84

0,87

0,88

0,15

0,81

0,84

0,85

0,35

0,05

0,87

0,9

0,93

0,1

0,8

0,83

0,86

0,15

0,78

0,81

0,83

0,4

0,05

0,82

0,87

0,9

0,1

0,77

0,8

0,83

0,15

0,75

0,78

0,8

0,2

0,74

0,765

0,785

Для проверки правильности принятых толщин утепляющих слоев определяются приведенные сопротивления теплопередаче наружных стен для основных «фрагментов». Каждый рассчитываемый фрагмент делится на отдельные участки, характеризуемые одним или несколькими видами теплопроводных включений.

Средневзвешенное значение приведенного сопротивления теплопередаче слоистых наружных стен определяется (на секцию) по формуле:

                                                         (2)

где:

 - сумма площадей фрагментов наружных стен (k - количество фрагментов стен), м2;

Fi, Roir - соответственно площадь и приведенное сопротивление теплопередаче i-го фрагмента стен, м2×°С/Вт;

Если Rorcp > Rorcq*) по СНиП 23-02-03 конструкция стены удовлетворяет требованиям теплотехнических норм. Если Ror cp < Roreq пр, то следует либо увеличить толщину утепляющего слоя, либо рассмотреть возможность включения в проект энергосберегающих мероприятий (утепление узлов и т.п.).

*) - Rorcp, то же, что Ronрcp и Ror, то же, что Roпp

Для практических расчетов допускается при определении Roпр (Ro¢) коэффициент теплотехнической однородности наружных стен с вентилируемой прослойкой применять табл. 2, 3.

Для расчета средневзвешенного значения многослойных наружных стен при наличии в стенах глухих (без проемов) участков может быть также использована формула:

Ror cp = Ror × n                                                                (3)

где:

n = 1,05 - коэффициент, учитывающий наличие глухих участков и торцовых стен в наружных стенах.

7.6.3. Определение влажностного режима наружных стен

Влажностный режим наружных стен может определяться двумя методами. По СНиП 23-02-03**) и исходя из баланса влаги в годовом цикле.

**) - Коэффициент паропроницаемости «m» пленки «TYVEK» принят равным «m» утеплителя.

Определение влажностного режима наружных стен по балансу влаги производится в следующей последовательности:

1. Определяются исходные данные для расчета;

2. Определяются сопротивления паропроницанию слоев конструкции наружной стены, параметры внутреннего и наружного воздуха;

3. Определяется приток и отток влаги (пара) к рассматриваемому сечению по формулам:

                                        (4)

где

ев, ен - упругость водяного пара внутреннего и наружного воздуха;

еt, и еt¢ - то же, в рассматриваемом сечении;

                                           (5)

Ro ц.вн.сл - сопротивление паропроницанию от внутренней поверхности до границы зоны возможной конденсации;

SRo сл. - сумма сопротивлений паропроницанию слоев до рассматриваемого сечения;

Rоп - сопротивления паропроницанию всей стены.

По указанным формулам определяется упругость водяного пара еi, в характерных сечениях конструкции в годовом цикле.

Если еt, окажется больше максимальной упругости водяного пара Е, то в данном сечении может образовываться конденсат.

7.6.4. Определение параметров воздухообмена в прослойке

Движение воздуха в прослойке осуществляется за счет гравитационного (теплового) и ветрового напора. В случае расположения приточных и вытяжных отверстий на разных стенах скорость движения воздуха в прослойках Vпp может определяться по следующим формулам:

                                      (6)

где:

кн, кв - аэродинамические коэффициенты на разных стенах здания по СНиП 2.01.07-85 [2];

Vн - скорость движения наружного воздуха;

к - коэффициент учета изменения скорости потока по высоте по СНиП 2.01.07-85;

Н - разности высот от входа воздуха в прослойку до ее выхода из нее;

tср, tн - средняя температура воздуха в прослойке и температура наружного воздуха;

Sx - сумма коэффициентов местных сопротивлений (определяется сложением аэродинамических сопротивлений).

Другим вариантом определения Vпр служит формула:

                                   (7)

gн, gпр - плотности (кг/м3) наружного воздуха и в прослойке.

При расположении воздушной прослойки на одной стороне здания, можно принять кн = кв. В этом случае, если пренебречь изменением скорости ветра по высоте формула (6) примет вид:

                                                     (8)

Формула (7) примет вид:

                                                    (9)

gпр - плотность воздуха в прослойке.

Указанные формулы применены в технической системе. При этом g имеет размерность кг/м3.

В системе СИ в числителе «g» будет отсутствовать, а «g» имеет размерность Н/м3.

Из полученных по указанным формулам скорость движения воздуха корректируется с учетом потерь давления на трение по известным из курса «Вентиляция» методам.

Расход воздуха в прослойке определяется по формуле:

W = Vпр × 3600 × dпр × gпр,                                                  (10)

где dпр - толщина воздушной прослойки, м; шириной 1 м, или площадь Fпр, м2.

7.6.5. Определение параметров тепловлажностного режима прослойки

Температура входящего в прослойку воздуха to определяется по формуле:

                                               (11)

где tв, tн - расчетные температуры внутреннего и наружного воздуха;

m - коэффициент, равный 0,26 в системе СИ и 0,3 - в технической.

Остальные обозначения даны в [15].

Допускается определять температуру воздуха, входящего в прослойку по формуле

                                                          (12)

где n = 0,95.

Температура воздуха по длине прослойки определяется по формуле:

            (13)

где:

кв и кн - коэффициенты теплопередачи внутреннего и наружного слоя стены до середины прослойки;

hy - расстояние между стыковыми горизонтальными швами, служащими для поступления (или вытяжки) воздуха;

С - удельная теплоемкость воздуха.

При определении термического сопротивления прослойки Rпр следует пользоваться формулами:

                                                             (14)

где aпр = 5,5 + 5,7Vпр + aл,                                               (15)

где aл - коэффициент лучистого теплообмена;

Св - переводной коэффициент: в технической системе равен 1, а в СИ Св = 3,6.

Действительная упругость водяного пара на выходе из прослойки определяется по формуле:

         (16)

Полученная по данной формуле величина упругости водяного пара на выходе из прослойки еу, должна быть меньше максимальной упругости водяного пара Еу.

Если еу > Еу, то необходимо изменить толщину воздушной прослойки стены здания.

В формуле (16) Мв и Мн равны соответственно:

                                       (17)

где:

Rвп и Rпн - сумма сопротивлений паропроницанию от внутренней поверхности до воздушной прослойки и от воздушной прослойки до наружной поверхности;

ев и ен - действительная упругость водяного пара с внутренней стороны стены и снаружи;

ео - упругость водяного пара воздуха, входящего в прослойку;

                                                           (18)

n - переводной коэффициент.

7.6.6. Методика определения условного приведенного сопротивления паропроницанию с учетом швов-зазоров между панелями экранами

Для расчета используются либо коэффициенты паропроницаемости материалов - экрана по СП 23-101-2000, либо полученные экспериментально.

Расчет приведенного сопротивления паропроницанию экранов с учетом швов-зазоров производится в следующей последовательности:

1) Определяется условное сопротивление паропроницанию в стыковых швах по формуле:

                             (19)

где в - коэффициент перевода, в системе СИ равен 7,5, в технической в = 1;

hm = 6,5 и 0,1 [мг/м×ч×Па (г/м×ч×мм рт. ст.)].

Приводятся два расчета с значением hm = 6,5 и 0,1. По первому варианту при hm = 6,5 рассчитывается минимально допустимая величина стыковых швов и приточных щелей, по второму при hm = 0,1 оптимальная величина стыковых швов и приточных щелей.

åxm - местные сопротивления проходу воздуха;

dэ - толщина экрана, м.

2) Определяется сопротивление паропроницанию плит экрана по его глади по формуле:

                                                                 (20)

где mэ - коэффициент паропроницаемости экрана по СП 23-101-2000.

3) Определяется приведенное условное сопротивление паропроницанию экрана с учетом стыковых швов Rппр по формуле:

                                                          (21)

SF - суммарная расчетная площадь экрана (как правило принимается 1 м2);

Fгл - площадь экрана без швов, м2;

F¢ - площадь швов, через которые поступает воздух. Как правило, площадь выходных швов в верхней части экрана не учитывается;

Rп и Rп¢ - см. выше.

7.7. Пример теплотехнического расчета наружных стен с вентилируемой воздушной прослойкой

7.7.1. Исходные данные

Для расчета принято многоэтажное (7-ми этажное реконструируемое) жилое здание, расположенное в г. Москве, наружные стены которого облицованы фасадной системой с вентилируемым воздушным зазором «Диат» СД-01.

Наружные стены двух вариантов: с внутренним слоем из монолитного железобетона gо = 2500 кг/м3, толщиной 0,18 м (lБ = 2,04 Вт/м °С) и кирпичной кладки, толщиной 0,51 м (lБ = 0,64 Вт/м °С).

Снаружи внутреннего слоя располагается утеплитель - базальтовая минераловатная плита, толщиной определяемой расчетом с l = 0,045 [17], воздушная прослойка и фасадная облицовка здания панелями толщиной 10 мм с цветным покрытием.

Плиты облицовки в системе применяются в варианте керамогранитом. Площадь зазоров между плитами 0,013 м2 на 1 м2 фасада, причем у облицовки природным камнем плиты по вертикали соприкасаются вплотную.

7.7.2. Расчет толщины теплоизоляции

Толщина теплоизоляции из минваты типа «Фасад-Баттс» для кирпичной (рис. 7.1) стены для г. Москвы равна:

где:

3,13 - требуемое сопротивление теплопередаче стен для г. Москвы;

0,726 - коэффициент теплотехнической однородности, см. табл. 2 (при проемности 18 %);

0,12 - термическое сопротивление вентилируемой воздушной прослойки.

*) В запас теплозащиты не приводится штукатурка.

где aвп - коэффициент теплообмена по формуле (17);

aвп = 5,5 + 5,7Vпр + aл = 5,5 + 5,7 × 0,1 + 0,66 = 6,8 Ккал/м2×ч×°С (7,8 Вт/м2×°С);

где 4,25; 2,1; 4,9 - коэффициенты излучения, Ккал/м2×ч×°К4;

0,61 - температурный коэффициент;

0,045 - коэффициент теплопроводности минваты в соответствии с сертификатами [17].

1 - раствор;

2 - кирпичная кладка;

3 - минеральная вата;

4 - панель экрана;

5 - воздушная прослойка;

6 - зона возможной конденсации.

Рис. 7.1. Схема наружной стены для расчета влажностного режима

Сопротивление теплопередаче по глади наружной стены при толщине утеплителя из минваты 0,15 м:

Приведенное сопротивление теплопередаче:

Rопр = 4,43 × 0,726 = 3,22 м2×°С/Вт.

Толщина теплоизоляции из базальтовой минваты для бетонной стены для г. Москвы:

где r = 0,83 в соответствии с табл. 3 (при проемности 18 %).

Сопротивление теплопередаче по глади наружной стены условное:

Приведенное сопротивление теплопередаче:

Rопр = 4,43 × 0,726 = 3,22 м2×°С/Вт.

Толщина утеплителя может быть скорректирована в соответствии с номенклатурой выпускаемых изделий, что не повлияет на правомочность полученных расчетов и выводов.

7.7.3. Расчет влажностного режима бетонных стен

Выполняется расчет влажностного режима бетонных наружных стен с экраном по СНиП 23-02-03 по глухой части без учета стыковых швов для г. Москвы.

Влажностный режим наружных стен характеризуется процессами влагонакопления, зависящими от ряда внешних факторов и физических характеристик, от сопротивления паропроницанию конструкции. Расчетное сопротивление паропроницанию Rп, м2×ч×Па/мг (до плоскости возможной конденсации) должно быть не менее большего из требуемых сопротивлений паропроницанию Rп1тр, из условия недопустимости накопления влага за год эксплуатации и Rп2тр из условия ограничения влаги в конструкции за период с отрицательным среднемесячными температурами.

Расчет ведется с учетом того, что зона возможной конденсации располагается на внешней границе утеплителя.

В период эксплуатации в зимних условиях температура воздуха tн = 20 °С, а относительная влажность j = 55 %.

Расчетное сопротивление паропроницанию наружной стены до зоны возможной конденсации Rп, м2×ч×Па/мг:

(В технической системе Rп = 49 м2×ч×мм pт. cт./г).

Расчетное сопротивление паропроницанию части ограждающей конструкции, Rпн, м2×ч×Па/мг, расположенной между наружной поверхностью и плоскостью возможной конденсации равно:

.

Требуемое сопротивление паропроницанию Rп, из условия недопустимости накопления влаги за год эксплуатации:

Требуемое сопротивление паропроницанию из условия ограничения влаги в наружной стеновой панели за период отрицательными температурами наружного воздуха:

.

Влажностный режим по глухой части «Диат»-СД-01 для г. Москвы близок к требованиям норм строительной теплотехники при расчете по СНиП 23-02-03 для бетонной стены.

Следующим этапом расчета является учет стыковых швов-зазоров в соответствии со специально разработанной методикой влажностного расчета для вентилируемых фасадов [16] для панелей экранов 0,6´0,6 м при выполнении их из керамогранита толщиной 10 мм. При hm = 6,5 параметры стыковых швов между экранами определяются как допустимые, а при hm = 0,1 как оптимальные; поэтому далее выполняется два расчета при обоих значениях hm.

Общая площадь приточных отверстий, считая и заборное в цокольной части высотой 60 мм 0,013 + 0,06/21 = 0,016 м2.

Условное сопротивление паропроницанию зазоров в горизонтальных стыковых соединениях экранов по формуле (19):

при hm = 6,5

где: 0,01 м - толщина экрана.

при hm = 0,1

.

Следующим этапом расчетов является учет воздухозаборник отверстий приведенной площадью 0,016 м2 на м2 экрана.

Сопротивление паропроницанию условное, приведенное:

формула (21)

при hm = 6,5

где: 0,016 м2 - приведенная площадь приточных отверстий.

при hm = 0,1

.

Расчетное сопротивление паропроницанию части ограждающей конструкции Rпн расположенной между наружной поверхностью и плоскостью возможной конденсации: Rпн = 0,055 м2×ч×Па/мг (0,413 м2×ч×мм pт.cт./г) и 0,93 (7).

Требуемое сопротивление паропроницанию Rп из условия недопустимости накопления влаги за год эксплуатации:

Рассчитываем худший, с точки зрения влажностного режима, вариант

при hm = 0,1

Требуемое сопротивление паропроницанию из условия ограничения влаги в наружной стене за период отрицательными температурами наружного воздуха:

при hm = 0,1

.

Поскольку Rп1тр и Rп2тр < Rп = 6,53 м2 ч Па/мг, влажностный режим в зоне швов системы «Диат» СД-01 для г. Москвы удовлетворяет требованиям норм строительной теплотехники при расчете по СНиП 23-02-03 для бетонной стены.

7.7.4. Определение скорости движения воздуха и упругости водяного пара на выходе из прослойки

Определяется скорость движения воздуха в прослойке при температуре наружного воздуха минус 28 °С. Расчет делается по формулам (10 ¸ 11) при расстоянии между приточными и вытяжными (условно) щелями, равном 0,6 м.

Температура входящего в прослойку воздуха по формуле (12):

tх = - 28 × 0,95 = -26,6°C.

Определяем расход воздуха в прослойке по формуле (10): при толщине прослойки 0,06 м в соответствии с МГСН 2.01-99 [10]:

Расход воздуха в прослойке составит W = 3600 × 0,08 × 1,405 × 0,06 = 24,3 кг/м ч,

V = 0,086 - 0,086 × 0,07 = 0,08 м/с,

где 0,07 - коэффициент, учитывающий трение [16].

Примечание:

В действительности средняя температура воздуха в прослойке будет выше, а скорость и расход воздуха больше, что идет в запас. Данная скорость и расход воздуха характерны в районе приточных и вытяжных щелей.

Упругость водяного пара на выходе из воздушной прослойки еу бетонной стены при начальной упругости ео = 0,34 мм рт. ст. (в технической системе) по формуле (16).

Расчет делаем для более сложного, с точки зрения влагообмена, случая:

при hm = 0,1

где:

           Мв + Мн = 0,163

      Мв × ев + Мп × ен = 0,02 × 9,64 + 0,143 × 0,29 = 0,23

еу меньше максимальной упругости водяного пара Е, равной 0,39, следовательно, принятые параметры конструкции удовлетворительные.

Далее выполнен расчет влажностного режима наружной кирпичной стены с экраном, имеющий худшие влажностные характеристики с точки зрения влагонакопления у экрана за счет большей паропроницаемости кирпичной стены по сравнению с бетонной (рис. 7.1).

Без учета горизонтальных швов, т.е. по глухой части экрана при отсутствии движения воздуха будет образовываться конденсат, см. ниже.

Количественно ориентировочно это можно проиллюстрировать табл. 4, где показано влагонакопление в годовом цикле стены, с экраном, имеющим коэффициент паропроницаемости по глади m = 0,008 мг/м×ч×Па.

Таблица 4

Распределение влажности в кирпичной стене толщиной d = 0,51 м, с утеплением минватой и панелью «Полиалпан», воздушной прослойкой (по глади m = 0,008 мг/м×ч×Па, 0,001 г/м×ч×мм рт. ст.)

Размерность

Индексы

МЕСЯЦЫ

I

II

III

IV

V

VI

VII

VIII

IX

X

XI

XII

°С

tн

-10,2

-9,6

-4,7

4

11,6

15,8

18,1

16,2

10,6

4,2

-2,2

-7,6

°С

tв

20

20

20

20

11,6

15,8

18,1

16,2

10,б

20

20

20

°С

Dt

30,2

29,6

24,7

16

0

0

0

0

0

15,8

22,2

27,6

°С

tn

-9,9

-9,3

-4,4

4,2

 

 

 

 

 

4,4

-2,0

-7,3

 

 

 

 

 

 

 

 

 

 

 

 

 

 

 

 

 

 

 

 

 

 

 

 

 

 

 

 

мм рт. ст.

Еt

1,96

2,07

3,17

6,19

10,24

13,46

15,58

13,81

9,59

6,27

3,88

2,47

 

 

 

 

 

 

 

 

 

 

 

 

 

 

 

 

 

 

 

 

 

 

 

 

 

 

 

 

мм рт. ст

ен

1,604

1,62

2,41

4,026

5,939

7,941

9,615

9,391

7,001

4,828.

3,132

2,0485

мм рт. ст

ев

9,647

9,647

9,647

9,647

5,939

7,941

9,615

9,391

7,001

9,647

9,647

9,647

мм рт. ст

Dе

8,043

8,027

7,237

5,671

-

-

-

-

-

4,819

6,545

7,598

мм рт. ст

еt

4,54

4,56

5,06

6,06

 

 

 

 

 

6,59

5,53

4,83

 

 

 

 

 

 

 

 

 

 

 

 

 

 

 

 

 

 

 

 

 

 

 

 

 

 

 

 

 

 

 

 

 

 

 

 

 

 

 

 

 

 

Часы

 

744

672

744

720

744

720

744

744

720

744

720

744

ч/м2

Qвн.сл.

1311,8

1167,9

1105,4

570,7

-836,4

 

 

 

 

576,3

952,4

1224,8

ч/м2

Qвн.сл.

105,4

120,3

225

619,9

1450,8

 

 

 

 

426,9

214,3

124,8

ч/м2

DQ

1206,5

1047,6

880,4

-49,0

-2287,2

 

 

 

 

149,4

738,2

1100,0

ч/м2

SDQ

3194,0

4241,7

5122,9

5073,1

2285,8

 

 

 

 

149,4

887,6

1987,6

 

 

 

 

 

Конденсат

 

 

 

 

 

 

 

 

 

 

 

 

 

 

 

 

 

 

 

 

 

Как видно из табл. 4 при маловлагопроницаемом экране в годовом цикле во всех месяцах упругость водяного пара е больше максимальной упругости поляною пара Е и, следовательно, происходит постоянное влагонакопление в прослойке у экрана, в отдалении от горизонтальных швов при отсутствии движения воздуха в прослойке. Поскольку в районе горизонтальных швов распределение влаги иное, как и при движении воздуха далее в расчетах учитываются эти обстоятельства.

При учете горизонтальных швов расчет влажностного режима кирпичной стены, утепленной снаружи минеральной ватой, показывает следующее.

Расчетное сопротивление паропроницанию стены до зоны возможной конденсации:

.

Расчетное сопротивление паропроницанию части наружной стены, расположенной между наружной поверхностью ее и плоскостью возможной конденсации при учете горизонтальных швов равно:

при hm = 6,5

Rппр = 0,055 м2×ч×Па/мг (см. выше) (0,413 м2×ч×мм рт. ст./г)

при hm = 0,1

Rппр = 0,963 (7).

Требуемое сопротивление паропроницанию, Rп1, м2×ч×Па/мг из условия недопустимости накопления влаги за год эксплуатации:

при hm = 6,5

при hm = 0,1

.

Требуемое сопротивление паропроницанию из условия ограничения влаги в стене за период с отрицательными температурами воздуха Rп2тр:

при hm = 6,5

при hm = 0,1

,

т.е. при отсутствии движения воздуха в прослойке в зоне влияния стыковых швов их параметры находятся в минимально допустимых пределах, которые целесообразно увеличить.

Поскольку движение воздуха в прослойках, как правило, имеется, далее приводим расчет с учетом выноса влаги из прослойки движущимся воздухом.

Упругость водяного пара на выходе из воздушной прослойки кирпичной стены: расчет ведется для худшего, с точки зрения влагообмена, случая;

при hm = 0,1

где Мв = 1/29,3 = 0,034; Мн = 0,143 (см. выше); Мв + Мн = 0,177

Мв × eв + Мн × eн = 0,034 × 9,64 + 0,143 × 0,29 = 0,369,

еу меньше максимальной упругости водяного пара Е, равной 0,39, следовательно, принятые параметры конструкции удовлетворительные.

В связи с тем, что по данным заказчика минимальным размер горизонтальных швов между элементами экрана (плитами керамогранита) может составлять 4 мм, ниже дополнительно выполнен расчет влагообмена в воздушной прослойке при учете сопротивления паропроницанию от зоны возможной конденсации до наружной поверхности по глухой части экрана с учетом расхода воздуха в прослойке равного 24,3 кг/м.ч. Это обстоятельство, если будет получен положительный результат, будет идти в запас результата.

Расчет выполняется для двух 2-х вариантов: бетонной и кирпичной стен.

Бетонная стена

Упругость водяного пара на выходе из прослойки: еу

где

Rп = 49 (см. выше); Мв = 1/49 = 0,02;

Rпн = 9,3 (см. выше); Мн = 1/9,3 = 0,107;

Мв + Мн = 0,02 + 0,107 = 0,127; eв × Мв + eн × Мн = 9,64 × 0,02 + 0,29 × 0,107 = 0,22.

Таким образом, еу меньше максимальной упругости водяного пара, равной Е = 0,39, следовательно влажностный режим в прослойке удовлетворителен и при размере горизонтальных швов 4 мм при наличии движения воздуха в прослойке.

Кирпичная стена

Упругость водяного пара на выходе из прослойки: еу

где

Rп = 29,3 (см. выше); Мв = 1/29,3 = 0,034;

Rпн = 9,3 (см. выше); Мн = 1/9,3 = 0,107;

Мв + Мн = 0,034 + 0,107 = 0,141; eв × Мв + eн × Мн = 9,64 × 0,034 + 0,29 × 0,107 = 0,36.

Таким образом, еу меньше максимальной упругости водимого пара, следовательно влажностный режим в прослойке удовлетворителен и при размере горизонтальных швов 4 мм при наличии движения воздуха в прослойке не менее 24 кг/м.ч.

7.8. Заключение

7.8.1. На основании выполненных теплотехнических расчетов наружных стен фасадной системы «Диат» СД-01, определены:

7.8.2. Теплозащитные качества системы, см. п. 7.8.2.1.

7.8.2.1. Требуемая толщина теплоизоляционных базальтовых минераловатных плит типа «Венти-Баттс» составляет при железобетонной несущей стене 0,16 м; при кирпичной стене 0,15 м. Приведенное сопротивление теплопередаче наружных стен при указанной толщине утеплителя составит: 3,24 ¸ 3,26 м2×°С/Вт. (При проемности 18 %).

7.8.2.2. Влажностный режим системы при указанных в п. 7.8.3 параметрах конструкции, см. п.п. 7.8.2.2.1 - 7.8.2.2.3.

7.8.2.2.1. При отсутствии движения воздуха в прослойке по глади экранов из алюминия в отдалении от горизонтальных швов-зазоров влажностный режим может быть неудовлетворительный.

7.8.2.2.2. В районе швов-зазоров влажностный режим удовлетворителен.

7.8.2.2.3. При наличии движения воздуха в количестве 24 кг/м×ч при указанных в п. 7.8.3 параметрах влажностный режим системы удовлетворителен.

7.8.3. Параметры системы, при которых обеспечиваются указанные выводы в п. 7.8.2, следующие:

7.8.3.1. Высота (ширина) горизонтального шва между экранами составляет 4 ¸ 8 мм.

7.8.3.2. Размеры экранов должны составлять не более 600´600 мм.

7.8.3.3. Толщина воздушной прослойки между утеплителем и экраном составляет 0,06 м.

7.8.3.4. Толщина (ширина) воздухозаборной щели внизу стены составляет 0,06 м, толщина (ширина) воздуховыводящей щели вверху стены должна быть не меньше воздухозаборной.

8. Состав проектно-сметной документации

8.1. Рабочий проект или рабочая документация системы наружных ограждений фасадов с вентилируемым воздушным зазором включает следующие разделы: общую пояснительную записку, архитектурную часть, конструкторскую часть, конструкторскую часть по решению архитектурных деталей, специальные части (водосток, антенны, рекламу и т.п.) и сметы.

8.2. В общей пояснительной записке приводятся следующие данные:

- архитектурная концепция решения фасадов здания и отдельных архитектурных элементов;

- данные о конструктивном решении системы и ее элементов;

- данные о решении специальных устройств на фасаде, если они имеются;

- данные об эффективности энергосбережения принятых технических решений, результаты теплотехнических расчетов;

- экологическая характеристика системы;

- основные технико-экономические показатели системы.

8.3. Архитектурная часть включает чертежи фасадов здания, отдельных архитектурных элементов и узлов. На чертежах приводится цветовое решение фасада и его отдельных элементов.

8.4. Конструкторская часть включает чертежи всех конструктивных элементов системы, с узлами и деталями, а также полную спецификацию всех применяемых материалов и изделий.

8.5. Специальная часть включает чертежи фасадов с привязкой мест размещения специальных устройств, узлы и детали конструкций крепления этих устройств на фасаде, а также спецификацию оборудования, материалов и изделий, предусмотренных проектом.

8.6. Сметы на устройство системы составляются на основе действующих нормативов, единичных расценок, фактической стоимости оборудования и материалов, а также утвержденных заказчиком калькуляций на отдельные виды работ и элементы конструкций.

9. Технико-экономические показатели

Стоимость системы для конкретных зданий зависит от многих факторов, в том числе, от размеров здания, архитектурного решения фасадов, оборудования и оснастки, применяемых для монтажа системы, а также от структуры подрядной организации и ее коммерческой политики. В связи с этим конкретная стоимость системы, может колебаться в значительных пределах. Поэтому считаем, что здесь наиболее целесообразно привести прямые затраты, т.е. стоимость отдельных элементов системы и ее монтажа (стоимость монтажа без учета стоимости лесов, люлек и других средств для рядового участка фасада).

Поэлементная стоимость (прямые затраты в $ US) 1 м2 системы для рядового участка фасада с различными облицовочными материалами (на 2004 г.):

По подсистеме «Диат» СД-01 (видимое крепление керамогранита производства Италии):

- стоимость деталей каркаса                                         -              29,13 (25,31)

- стоимость утеплителя толщиной 150 мм                  -              12,68

- стоимость облицовочного материала                       -              30,0

- стоимость монтажа                                                     -              22,0

____________________________________________________

Итого                                                                                              92,81 (89,99)

По подсистеме «Диат» СД-02 (скрытое крепление керамогранита):

- стоимость деталей каркаса                                         -              85,39 (81,57)

- стоимость утепли геля толщиной 150 мм                 -              12,68

- стоимость облицовочного материала                       -              30,00

- стоимость монтажа                                                     -              30,00

____________________________________________________

Итого                                                                                              158,07 (154,25)

По подсистеме «Диат» СД-03: (кассеты из композитного алюминия ALPOLIC/fr с иклями):

- стоимость деталей каркаса                                         -              19,47 (17,10)

- стоимость утеплителя толщиной 150 мм                  -              12,68

- стоимость облицовочного материала                       -              70,65

- стоимость монтажа                                                     -              24,00

____________________________________________________

Итого                                                                                              126,80 (124,43)

По подсистеме «Диат» СД-04 (фиброцементные плиты):

- стоимость деталей каркаса                                         -              24,20 (20,97)

- стоимость утеплителя толщиной 150 мм                  -              12,68

- стоимость облицовочного материала                       -              16,20

- стоимость монтажа                                                     -              22,00

____________________________________________________

Итого:                                                                                             75,08 (71,85)

По подсистеме «Диат» СД-05 (гранит полированный из Китая 600´600´30):

- стоимость деталей каркаса                                         -              41.95 (38,08)

- стоимость утеплителя толщиной 150 мм                  -              12,68

- стоимость облицовочного материала                       -              от 70,00

- стоимость монтажа                                                     -              30,00

____________________________________________________

Итого:                                                                                             154,63 (150,76)

Примечание:

1. Стоимость деталей каркаса дана для элементов из нержавеющей стали. В скобках приведена стоимость для комбинированных систем с использованием элементов из оцинкованной стали.

2. Данные о стоимости элементов системы представлены ее разработчиком ООО «Диат-2000».

10. Основные положения по производству работ и системе контроля качества

10.1. Для выполнения работ по монтажу системы здание разбивается на захватки и определяется порядок и последовательность перемещения монтажников с одной захватки на другую.

10.2. Величина захваток и их количество в каждом случае определяются с учетом многих факторов, в том числе размеров фасадов здания, величины бригады монтажников, оснащения строительной организации оборудованием и оснасткой, условиями комплектации строительства материалами, изделиями и др. Захваткой может быть вся высота фасада, а можно фасад по высоте разделить на несколько захваток, учитывая наличие промежуточных карнизов, поясков и другие факторы. Также в горизонтальном направлении захваткой может быть весь фасад, только одна секция или может быть принят какой-либо другой способ деления фасада на захватки. Разбивка фасадов здания на захватки и выбор средств для работы монтажников на высоте (подмости, люльки, подъемные платформы и т.п.) выполняется в проекте организации строительства или в технологических картах.

10.3. При монтаже системы на реконструируемых зданиях работы начинаются с очистки фасада от несвязанных с основанием элементов, таких как отслоившиеся штукатурка, краска и т.п. Кроме того, фасад надо освободить (демонтировать) от специальных устройств: водостоков, различных кронштейнов, антенн, вывесок и др.

10.4. Монтаж системы начинается с разметки фасада и установки маяков, по которой будут устанавливаться и крепиться к основанию кронштейны и вертикальные профили. Разметка выполняется с помощью геодезических приборов, уровня и отвеса. Установка и крепление кронштейнов, вертикальных или горизонтальных профилей в пределах захватки может производиться снизу вверх и наоборот в зависимости от решений, принятых в ПОС.

10.5. После разметки фасада в нем сверлятся отверстия под дюбели для крепления неподвижных частей кронштейнов к основанию посредством анкерных болтов. Для снижения теплопередачи в месте примыкания кронштейна к основанию между ними на анкерный болт одевается паронитовая прокладка.

В случаях, когда основанием является кирпичная кладка, нельзя устанавливать дюбели в швы кладки, при этом, расстояние от центра дюбеля до ложкового шва должно быть не менее 25 мм, а от тычкового - 60 мм. Минимальное расстояние от края конструкции до дюбеля оговаривается специальными рекомендациями фирмы-изготовителя дюбелей.

Категорически запрещается сверлить отверстия для дюбелей в пустотелых кирпичах или блоках с помощью перфоратора.

10.6 Одновременно с установкой неподвижных частей кронштейнов на основание устанавливают, если это предусмотрено проектом, неподвижные части специальных кронштейнов для последующего крепления к ним оконных откосов и сливов.

10.7. К началу монтажа плит утеплителя захватка, на которой производятся работы, должна быть укрыта от попадания влаги на стену и плиты утеплителя.

Исключением могут быть случаи, когда монтажники не покидают рабочие места до тех пор, пока все смонтированные плиты не закроют, предусмотренной проектом, ветровлагозащитной пленкой.

10.8. Монтаж плит утеплителя начинается с нижнего ряда, который устанавливается на цоколь или другую соответствующую конструкцию, и ведется снизу вверх. Если плиты утеплителя устанавливаются в 2 ряда, следует обеспечить перевязку швов. Плиты утеплителя должны устанавливаться плотно друг к другу так, чтобы в швах не было пустот. Если избежать пустот не удается, они должны быть тщательно заделаны тем же материалом. Вся стена (за исключением проемов) непрерывно по всей поверхности должна быть покрыта утеплителем, установленной проектом толщины. Крепление плит утеплителя к основанию производится пластмассовыми дюбелями тарельчатого типа с распорными стержнями, а в местах установки кронштейнов утеплитель фиксируют прижимом, надеваемым на кронштейн. В случае применения ветровлагозащитной пленки каждая установленная плита утеплителя сначала крепится к основанию только прижимом и двумя дюбелями, и только после укрытия нескольких рядов пленкой устанавливаются остальные, предусмотренные проектом, дюбели. Полотнища пленки устанавливаются с перехлестом 100 мм.

10.9. В неподвижные части кронштейна (К3 или К2) вставляют подвижные вставки (В3 или В2) с прикрепленными к ним заклепками вертикальными профилями. Профили являются базой для устройства отделочного слоя фасада в пределах проектных допусков. Поэтому установка каждого профиля, его положение в вертикальной плоскости проверяется соответствующими приборами: теодолитом, отвесом и др. Подвижную вставку кронштейна крепят заклепкой к неподвижной части после выставления вертикальных профилей в проектной плоскости.

10.10. Монтаж облицовочных плит преимущественно начинают с нижнего ряда и ведут снизу вверх. Крепление облицовочных материалов к несущим профилям изложено в п. 3.2. Одновременно производится облицовка оконных проемов и других элементов фасада. Во время монтажа отделочных материалов следует следить за тем, чтобы воздушный зазор позади них был чист и без каких-либо посторонних включений.

10.11. В процессе монтажа элементов системы должен выполняться пооперационный контроль качества работ и составляться акты на скрытые работы. Это должно выполняться в соответствии с действующей в подрядной организации «Системой управления контролем качества продукции», где указано, какие параметры и технологические процессы контролируются и лица, ответственные за выполнение этой работы. В составе комиссии, подписывающей акты на скрытые работы, должны быть лица (представители проектной организации), выполняющие авторский надзор.

10.12. Работы по монтажу системы могут выполнять организации, специалисты которых прошли обучение и имеют лицензию на право выполнения указанных работ от ООО «Диат».

10.13. Все работы должны выполняться под контролем лица, ответственного за безопасное производство работ и в соответствии с требованиями СНиП 12-03-99 «Безопасность труда в строительстве. Общие требования» и СНиП III-4-80 «Техника безопасности в строительстве».

11. Правила эксплуатации системы

11.1. В процессе строительства и эксплуатации здания не допускается крепить непосредственно к облицовочным материалам любые детали и устройства.

11.2. Не следует допускать возможность попадания воды с крыши здания на облицовочные материалы, для чего надо содержать желоба на крыше и водостоки в рабочем состоянии.

11.3. Уход за облицовкой фасада, заключающийся в ее регулярной очистке и периодическом восстановлении, продлит срок службы облицовки.

11.4. Промывка водой является одним из наиболее эффективных способов очистки облицовки.

Рекомендуется сочетать промывку с ручной очисткой поверхности щетками или скребками. При этом, следует исключить попадание грязной воды на ветровлагозащитную пленку, которой покрыт утеплитель.

11.5. Элементы облицовки с дефектами, не подлежащими восстановлению, заменяются в соответствии с инструкцией разработчика системы.

12. Перечень нормативных документов и литературы

1. СНиП 2.08.01-89* и МГСН 3.01-01

Жилые здания.

2. СНиП 2.01.07-85*

Нагрузки и воздействия.

3. СНиП 2.03.06-85

Алюминиевые конструкции.

4. СНиП II-23-81*

Стальные конструкции.

5. СНиП 23.02.2003

Тепловая защита зданий.

6. СНиП II-3-79* (изд. 1998 г.)

Строительная теплотехника.

7. СНиП 23-01-99

Строительная климатология.

8. СНиП 2.01.01-82

Строительная климатология и геофизика.

9. СНиП 2.03.11-85

Защита строительных конструкций от коррозии.

10. СНиП 21-01-97

Пожарная безопасность зданий и сооружений.

11. МГСН 2.01.99

Нормативы по теплозащите и тепловодоэлектроснабжению

12. ГОСТ 17177-94

Материалы и изделия строительные теплоизоляционные. Методы испытаний.

13. ГОСТ 26805-86

Заклепка трубчатая для односторонней клепки тонколистовых строительных конструкций. Технические условия.

14. ГОСТ 27180-86

Керамические плитки Методы испытаний.

15. ГОСТ 7025-78

Материалы стеновые и облицовочные. Методы определения водопоглощения и морозостойкости.

16. ГОСТ 481-80

Паронитовые листы.

17. Рекомендации по проверке и учету воздухопроницаемости наружных ограждающих конструкций жилых зданий.

ЦНИИЭП жилища, Москва, 1983 г.

18. Рекомендации по проектированию и применению для строительства и реконструкции зданий в г. Москве системы с вентилируемым воздушным зазором «Краспан». Правительство Москвы. Москомархитектура, Москва, 2001 г.

19. Заключение и протокол сертификационных испытаний НИИСФ №51 от 22.06.2000 г. М.

20. Справочник проектировщика. Расчетно-теоретический. Книга 1. - М.: Стройиздат, 1972

 




Яндекс цитирования



   Copyright © 2007-2026,  www.tehlit.ru.

[ ѓосты, стандарты, нормативы, инструкции, правила, строительные нормы ]