//
|
|
Федеральное государственное унитарное предприятие "Научно-исследовательский центр "Строительство" ФГУП "НИЦ Строительство"
СТАНДАРТ ОРГАНИЗАЦИИ ДЕРЕВЯННЫЕ КЛЕЕНЫЕ КОНСТРУКЦИИ НЕСУЩИЕ Общие технические требования СТО 36554501-003-2006 Москва, 2006
ПредисловиеЦели и задачи разработки,
а также использования стандартов организаций в РФ установлены Федеральным
законом от 27 декабря Сведения о стандарте 1. РАЗРАБОТАН И ВНЕСЕН лабораторией деревянных конструкций ЦНИИСК им. В.А. Кучеренко - филиалом ФГУП «НИЦ «Строительство» (засл. деятель науки и техники РФ, д-р техн. наук, проф. Л.М. Ковальчук, кандидаты техн. наук И.П. Преображенская, Ю.Ю. Славик, А.Д. Ломакин, Д.Ю. Стрельцов, инж. С. Паук, Р.В. Никулихина, Н.А. Успенская) при участии фирмы МП «ДОМ» (канд. техн. наук В.В. Кислый) 2. РЕКОМЕНДОВАН К ПРИНЯТИЮ Секцией деревянных конструкций НТС ЦНИИСК им. В.А. Кучеренко 3. УТВЕРЖДЕН И
ВВЕДЕН В ДЕЙСТВИЕ приказом и. о. генерального директора ФГУП «НИЦ
«Строительство» от 31 марта 4. СТАНДАРТ ГАРМОНИЗИРОВАН с основными положениями европейских норм 5. ВВЕДЕН ВПЕРВЫЕ Применение настоящего стандарта следует осуществлять на базе договора с ФГУП «НИЦ «Строительство», что определено положениями ГОСТ Р 1.4-2004 СОДЕРЖАНИЕ СТАНДАРТ ОРГАНИЗАЦИИ
Дата введения 2006-03-31 1. Область применения1.1. Настоящий стандарт распространяется на деревянные клееные конструкции и/или изделия, а также их комплекты (далее - ДКК), применяемые в общественном, жилищном, промышленном, транспортном и других отраслях строительства. ДКК являются специфичным объектом технического регулирования. Специфика заключается как в состояниях товарности, так и в видах присущих им безопасностей, стадиях существования, вероятностей рисков, разнообразии проектно-конструктивных решений и т.д. Эти особенности не имеют готовых и апробированных нормативных требований. В связи с этим институт разрабатывает возможно полную систему стандартов на ДКК (см. приложение А), намеченную для издания в виде стандартов организации, в которую входит настоящий стандарт как один из основополагающих в данной системе. 1.2. Стандарт является основополагающим нормативным документом, используемым при изготовлении и применении различных типов ДКК, оформлении заказов и договоров на их поставку. 1.3. Стандарт может быть применен для целей сертификации ДКК. 1.4. Решение о применении настоящего стандарта и его обязательном соблюдении при производстве, поставках (продажах) ДКК принимается предприятиями-изготовителями самостоятельно путем оформления приказа руководителя предприятия и включения в договор на поставку. 2. Нормативные ссылкиВ настоящем стандарте использованы ссылки на следующие нормативные документы: СНиП 12-01-2004 Организация строительства СНиП 21-01-97* Пожарная безопасность зданий и сооружений СНиП 23-02-2003 Тепловая защита зданий СП 12-135-2003 Безопасность труда в строительстве. Отраслевые типовые инструкции по охране труда ГОСТ 166-89* Штангенциркули. Технические условия ГОСТ 15612-85* Изделия из древесины и древесных материалов. Методы определения параметров шероховатости поверхности ГОСТ 16588-91 Пилопродукция и деревянные детали. Методы определения влажности ГОСТ 17005-82 Конструкции деревянные клееные. Метод определения водостойкости клеевых соединений ГОСТ 17580-82 Конструкции деревянные клееные. Метод определения стойкости клеевых соединений к циклическим температурно-влажностным воздействиям ГОСТ 19414-90 Древесина клееная массивная. Общие требования к зубчатым клеевым соединениям ГОСТ 20022.0-93 Защита древесины. Параметры защищенности ГОСТ 20850-84 Конструкции деревянные клееные. Общие технические условия ГОСТ 2140-81* Видимые пороки древесины. Классификация, термины и определения, способы измерения ГОСТ 21779-82 Система обеспечения точности геометрических параметров в строительстве. Технологические допуски ГОСТ 24454-80* Пиломатериалы хвойных пород. Размеры ГОСТ 27325-87 Детали и изделия из древесины и древесных материалов. Метод определения адгезии лакокрасочных покрытий ГОСТ 27751-88* Надежность строительных конструкций и оснований. Основные положения по расчету ГОСТ 27812-88 Древесина клееная массивная. Метод испытания клеевых соединений на расслаивание ГОСТ 3749-77* Угольники поверочные 90°. Технические условия ГОСТ Р 50240-92 Защита древесины. Способы пропитки ГОСТ Р 50779.11-2000 Статистические методы. Статистическое управление качеством ГОСТ 6449.1-82 - ГОСТ 6449.5-82 Изделия из древесины и древесных материалов. Допуски и посадки ГОСТ 7016-82* Изделия из древесины и древесных материалов. Параметры шероховатости поверхности ГОСТ 7502-89* Рулетки измерительные металлические. Технические условия ГОСТ 8026-92* Линейки поверочные. Технические условия ГОСТ 8486-86* Пиломатериалы хвойных пород. Технические условия ГОСТ 9330-76* Основные соединения деталей из древесины и древесных материалов. Типы и размеры EN 204 Классификация термопластичных клеев для древесины малоответственных конструкций EN 335-1, 2 Долговечность древесины и древесных материалов. Определение классов при биологическом повреждении EN 338 Конструкционная древесина. Классы прочности EN 386 Клееный брус и столярная плита. Требования к рабочим характеристикам и минимальные требования к изготовлению EN 408 Строительная древесина для несущих конструкций EN 518 Конструкционная древесина. Сортировка. Требования к нормам визуальной сортировки по прочности EN 519 Конструкционная древесина. Сортировка. Требования к механической сортировке и сортировочным машинам СТО 36554501-002-2006 Деревянные клееные и цельнодеревянные конструкции. Методы расчета и проектирования СТО 36554501-004-2006 Деревянные клееные конструкции. Методы испытаний клеевых соединений при изготовлении 3. Основные термины и определенияВ настоящем стандарте применены следующие термины и определения. Деревянная клееная конструкция - часть здания или другого строительного сооружения из клееной древесины, выполняющая определенные несущие, ограждающие и (или) эстетические функции. Клееное изделие - изделие, предназначенное для применения в качестве элемента клееной конструкции. Многослойная деревянная клееная конструкция и/или изделие - конструкция и/или изделие, которые состоят из нескольких (двух и более) слоев древесины, соединенных между собой клеевыми прослойками путем склеивания по пласти и (или) по длине. Однослойная деревянная клееная конструкция и/или изделие - конструкция и/или изделие в виде одного слоя древесины. Слой - составная часть конструкции и (или) изделия, полученная соединением между собой заготовок по длине и (или) ширине клеевыми прослойками. Комплект конструкций и (или) изделий - необходимое число конструкций для формирования здания или его части или аналогично - изделий для формирования конструкции или ее части. Клеевое соединение - соединение при помощи клеевой прослойки, расположенной между склеиваемыми поверхностями древесины. Прочность клеевого соединения - величина нагрузки, отнесенная к единице площади, при которой происходит разрушение соединения. Стойкость клеевого соединения - выраженное в процентах отношение начальной к эксплуатационной прочности клеевого соединения. Выражается также отношением длины расслоившихся клеевых швов к исходной их суммарной протяженности после переменных температурно-влажностных воздействий. Промышленная безопасность - состояние условий производства, перевозки, хранения, комплектации, монтажа и утилизации комплекта конструкций и изделий, условий эксплуатации здания, при котором отсутствует недопустимый риск причинения вреда жизни или здоровью людей и нанесения ущерба имуществу. Экологическая безопасность - состояние условий производства комплекта конструкций и изделий и условий эксплуатации здания, при котором отсутствует недопустимый риск причинения вреда здоровью людей и окружающей среде сверхнормативными выделениями летучих веществ из полимерных и синтетических материалов и несоблюдением санитарно-гигиенических требований к помещениям зданий. Паспорт конструкции - инструктивно-правовой документ, содержащий проектные решения, параметры ее безопасности и качества, указания по строительству (монтажу) и эксплуатации, права, обязанности и ответственность сторон (изготовителя и потребителя). 4. Классификация деревянных клееных конструкций (ДКК)4.1. ДКК подразделяют (классифицируют) по следующим основным признакам: • функциональному назначению; • условиям эксплуатации; • сроку службы. 4.2. Классификация по 4.1 и ее учет при проектировании и изготовлении ДКК содержится в СТО 36554501 -002-2006 и для справки приведена в приложении Б. 5. Требования к безопасности и качеству ДКК5.1. Виды безопасности определяют по приложению Г. 5.2. На стадиях изготовления и обращения (транспортирования и хранения) ДКК должны быть обеспечены требования по видам безопасности, приведенными в таблице 1. 5.3. Требования по видам безопасности ДКК при их изготовлении и обращении принимают по нормативным документам, другой документации и по условиям, приведенным в таблице 1. Таблица 1
5.4. Основные меры обеспечения безопасности ДКК принимают по приложению Д. 5.5. Обеспечение требований к безопасности ДКК осуществляют с учетом характеристик допустимых рисков, приведенных в приложении Е. Принятые характеристики допустимых рисков могут учитываться при страховании ДКК на всех стадиях их существования. 5.6. Нормативные (проектные) и фактические параметры безопасности и качества ДКК излагаются в разделе 3.4 его паспорта (приложение Ж). 6. Учет требований проекта ДКК6. Изготовление ДКК должно осуществляться по проекту, соответствующему техническому заданию, и действующим нормативным документам. Проект ДКК может быть сертифицирован или застрахован. 6.2. Проект ДКК должен содержать основные указания по изготовлению и комплектации конструкций, изделий; их маркировке и упаковке; условиям транспортирования и хранения; строительству (монтажу) ДКК. 6.3. Проект ДКК передается потребителю (заказчику) одновременно и комплектно с паспортом ДКК, разработанным и оформленным в соответствии с приложением Ж. 6.4. Оценку соответствия проекта ДКК настоящему стандарту, действующим нормативным документам и техническому заданию осуществляют по приложению И. 7. Технические требования к ДКК7.1. Общие требования 7.1.1. Габаритные, установочные и присоединительные размеры ДКК должны соответствовать проектно-конструкторской документации, а также требованиям настоящего стандарта или технических условий (ТУ), в том числе специальных (СТУ) на ДКК для зданий I класса ответственности (см. приложение Б), составление которых оговаривается требованиями заказчика (инвестора). СТУ входят в состав проектной документации. При серийном изготовлении конструкций II и III классов ответственности согласования с заказчиком не требуется. 7.1.2. ДКК могут поставляться вместе с частями узловых соединений (болтовыми соединениями, вклеенными металлическими стержнями и т.п.), необходимость которых указывается в рабочих чертежах. 7.1.3. Вклеивание металлических стержней в ДКК и контроль качества вклеивания следует производить в соответствии с разработанными ЦНИИСК им. Кучеренко «Рекомендациями по производству работ при вклеивании стержней». 7.1.4. Основные характеристики ДКК, условия и особенности их применения, вид использованного клея и защитно-декоративных составов должны указываться в паспорте на ДКК (см. приложение Ж). 7.1.5. К поставляемым предприятием ДКК также должна прилагаться краткая инструкция по обеспечению их сохранности в процессе транспортирования, хранения и монтажа. 7.2. Требования к исходным материалам 7.2.1. Для изготовления ДКК применяют пиломатериалы хвойных пород (сосна, ель) по ГОСТ 8486 и ГОСТ 24454. Допускается применение пиломатериалов из лиственницы и других хвойных пород, если специфика их использования оговорена в проектно-технологической документации, т.е. имеется информация о их расчетных характеристиках, а также о технологических режимах склеивания, обеспечивающих прочное и долговечное клеевое соединение. Данным стандартом требования к качеству и размерам предъявляются не к пиломатериалам, а к древесине слоев изготавливаемых ДКК. 7.2.2. Выбор клея для изготовления ДКК определяется их назначением и условиями эксплуатации. ДКК I класса ответственности для всех категорий эксплуатации должны быть изготовлены с использованием клеев повышенной стойкости (по ГОСТ 17005 и ГОСТ 17580), к которым относятся клеи на основе резорциновых, фенольнорезорциновых и меламиновьгх смол. Для изготовления ДКК II, а также III классов ответственности при группах условий эксплуатации С3, С4, кроме указанных, могут использоваться также клеи на основе карбамидомеламиновых и полиуретановых смол. Для ДКК III класса ответственности с группой условий эксплуатации С1 допускается, кроме отмеченных, использование одно- или двухкомпонентных клеев на основе поливинилацетата с изоционатным отвердителем. Вклеивание металлических стержней в древесину следует производить с использованием эпоксидных клеев. Допускается применение других клеев, если это оговорено в проектной документации и заказчиком. 7.2.3. Для защитной и декоративной обработки ДКК, необходимой для предохранения их от увлажнения, биоповреждения, возгорания и химической коррозии, а также придания им необходимого эстетического вида должны применяться защитные материалы с соответствующими свойствами, подтвержденными сертификатами соответствия или другими документами. Защитная обработка ДКК преимущественно должна быть выполнена на предприятии-изготовителе. При этом защита возможна как от одного, так и от комплекса указанных воздействий, что должно быть регламентировано требованиями рабочих чертежей или технических условий, исходя из условий эксплуатации ДКК (см. приложение Б). В технических условиях или в договорах на поставку ДКК следует указывать вид и характеристику защитных покрытий, а также правила их приемки и методы контроля. 7.3. Требования к слоям ДКК 7.3.1. Требования к слоям ДКК различных классов согласно СТО 36554501-002-2006 (нормативная прочность, качество древесины хвойных пород) приведены в таблице 2. Таблица 2
7.3.2. Влажность древесины слоев при склеивании должна быть в пределах от 8 до 15% в зависимости от групп условий эксплуатации (см. приложение Б). Разброс значений влажности смежных слоев ДКК не должен превышать 4%. 7.3.3. Толщина слоев
после их фрезерования должна быть не более При устройстве в слоях
элементов конструкций прорезей согласно требованиям приложения В толщина используемых
слоев может быть увеличена до 7.3.4. Слои могут быть цельными или склеенными по длине и ширине из отдельных заготовок с применением зубчатых соединений и склеивания на гладкую фугу соответственно по ГОСТ 19414 и ГОСТ 9330. Длина шипов должна быть
не менее: В зоне зубчатого
соединения не допускаются сучки диаметром более 7.3.5 Поверхности слоев перед склеиванием должны быть фрезерованными. Шероховатость поверхности слоев древесины Rzmax по ГОСТ 7016 должна быть не более 100 мкм или должна соответствовать утвержденным эталонным образцам. 7.3.6. Отклонения размеров и формы слоев перед склеиванием конструкций не должны превышать значений, представленных в таблице 3. Таблица 3
7.4. Требования к готовым ДКЖ 7.4.1. Предельные отклонения от номинальных размеров, прямолинейности, плоскостности, перпендикулярности склеенных поверхностей, разбивки осей, разницы диагоналей готовых ДКК должны соответствовать ГОСТ 21779 и ГОСТ 6449.1 - 6449.5. Для ДКК I и II классов ответственности эти значения следует указывать в рабочих чертежах или СТУ. 7.4.2. Для ДКК III класса и для серийно или повторно изготовляемых ДКК всех классов предельные отклонения от номинальных размеров по длине и сечению не должны превышать следующих значений: по длине: ± ± ± по высоте сечения: до свыше по ширине сечения - ± Допускаемые отклонения размеров осей отверстий и других частей узловых соединений должны указываться в рабочих чертежах. 7.4.3. Толщина клеевых
швов должна быть не более 7.4.4. Максимальная высота неровностей поверхностей ДКК под прозрачную защитную или декоративную обработку не должна превышать 320 мкм, а непрозрачную - 800 мкм. Высота уступов смежных
слоев, подлежащих прозрачной отделке, не должна превышать 7.4.5. Предел прочности клеевых соединений при послойном скалывании для ДКК I и II классов должен быть: средний не менее 8 МПа; минимальный - 6 МПа по СТО 36554501-004-2006. Для ДКК III класса - соответственно 6 и 4 МПа. Процент расслоения клеевых соединений для ДКК I и II классов при испытании на расслаивание по СТО 36554501-004-2006 должен быть не более 5%, III класса - не более 10%. 7.4.6. Качество защитных покрытий ДКК оценивают по следующим показателям: - соответствию декоративного вида покрытия требуемому; - адгезии пленки покрытия к поверхности древесины по ГОСТ 27325. 7.4.7. Параметры защищенности ДКК от биологического разрушения должны соответствовать требованиям ГОСТ 20022.0, а способы пропитки биозащитными составами - требованиям ГОСТ Р 50240. 8. Требования к производству и обращению (транспортированию и хранению) ДКК8.1. Изготовитель ДКК, состав (спецификация) которых определяется проектом ДКК или договором (заказом) на их поставку, должен обеспечить безопасное их производство на основе: а) соблюдения требований действующих нормативных документов по промышленной, пожарной, экологической безопасности, регламентируемых внутренними нормативно-инструктивными документами (стандартами, инструкциями и др.); б) обеспечения всех этапов и операций производства безопасными средствами труда (оборудование, инструменты, транспорт и др.); в) персонификации ответственности специалистов и рабочих за соблюдение требований безопасности и их периодической аттестации; г) системного контроля параметров безопасности. 8.2. Изготовитель ДКК должен обеспечить предусмотренные проектом или договором (заказом) параметры качества комплекта на основе: а) рациональной структурно-технологической схемы производства; б) комплектной конструкторско-технологической документации (рабочие чертежи, инструкции, карты и др.); в) системного контроля технологических параметров в соответствии с положениями раздела 10 настоящего стандарта; г) разработки и соблюдения планов входного, операционного и приемочного контроля; д) системного стимулирования повышения квалификации персонала. 8.3. Изготовитель ДКК должен обеспечить упаковку и маркировку ДКК в соответствии с указаниями в проекте ДКК или оговорить их в договоре (заказе) на поставку комплекта. 8.4. Изготовитель комплекта ДКК должен сопроводить его необходимой документацией (паспортом ДКК) или инструкцией по монтажу при его поставке по спецификации заказчика с указанием гарантийного срока службы. 8.5. Изготовитель ДКК должен подтвердить их соответствие требованиям настоящего стандарта согласно приложению И. 8.6. Условия хранения, транспортирования, складирования ДКК на участках застройки, т.е. условия их обращения, должны соответствовать указаниям в проекте ДКК, положениям раздела 3.5 паспорта ДКК, внутренним нормативным документам изготовителя и должны быть оговорены в договорах на поставку. 8.7. Производство комплектов ДКК может быть застраховано с учетом характеристик допустимых рисков, приведенных в приложении Е. 8.8. Организационные, технологические и другие меры обеспечения безопасного производства ДКК заданного качества должны быть изложены в комплексе внутренних нормативно-инструктивных документов или в отдельных стандартах организации, учитывающих и детализирующих положения настоящего стандарта. 9. Требования к приемке ДКК9.1. Для обеспечения соответствия изготавливаемых ДКК требованиям проектно-нормативных документов на предприятии должна быть документально оформлена и утверждена система внутризаводского контроля качества и приемки комплектов ДКК. 9.2. Качество комплектов ДКК, установленное настоящим стандартом, подтверждают: входным контролем сырья и материалов; операционным производственным контролем; приемочным контролем готовых комплектов ДКК; сертификационными испытаниями, если они проводились. Порядок проведения входного и операционного производственного контроля на рабочих местах устанавливают в технологическом регламенте (ТР) или другой технологической документации. 9.3. Комплекты ДКК должны быть приняты службой технического контроля предприятия. При этом следует проводить: визуальный осмотр; проверку измерительными инструментами фактических геометрических размеров ДКК и их отклонений от заданных; анализ результатов оценки прочности и стойкости клеевых соединений; оценку качества защитной обработки. При визуальном осмотре и инструментальном обмере определяют соответствие фактических параметров ДКК, входящих в комплект, требованиям п. 7.4 настоящего СТО. 9.4. Для оценки качества готовых многослойных комплектов ДКК при послойном скалывании и расслаивании число конструкций или изделий, из которых вырезают образцы для испытаний, зависит от класса ответственности и объема комплекта ДКК (таблица 4). Таблица 4
9.5. Число образцов, отбираемых для контроля комплекта ДКК при внутризаводском контроле для испытаний согласно пп. 7.2 и 7.3, указано в таблице 5. Таблица 5
9.6. При разработке новых, а также особо ответственных ДКК в рабочих чертежах следует указывать на необходимость испытания отдельных частей ДКК или их узловых соединений до разрушения. 9.7. Потребитель имеет право проводить контрольную проверку качества ДКК на соответствие требованиям настоящего стандарта, ТУ или СТУ. 9.8. Марка (условное обозначение) ДКК устанавливается в проектной документации. По завершении процесса изготовления и приемки службой технического контроля производится маркировка ДКК. Она должна быть доступна для осмотра, достаточно долговечна и содержать следующую информацию: наименование производителя; номер и обозначение ДКК; дату изготовления. 9.9. Производитель обязан обеспечить наблюдение за состоянием изготовленных ДКК и их оценку в процессе эксплуатации (своими силами или с привлечением специализированной организации). При обнаружении недостатков следует немедленно принять меры для их устранения и недопущения в дальнейшем. 10. Методы испытаний10.1. Размеры ДКК проверяют металлическими линейками по ГОСТ 8026, металлическими рулетками по ГОСТ 7502, штангенциркулями по ГОСТ 166. При отсутствии стандартного отечественного измерительного инструмента допускается использование средств измерения, которые должны быть аттестованы в установленном порядке. 10.2. Отклонение от перпендикулярности сторон измеряют угольниками по ГОСТ 3749 и набором щупов для определения максимальной величины зазора. Отклонения от плоскостности и прямолинейности определяют набором щупов, измеряя максимальный зазор между поверхностью проверяемой конструкции и поверочной линейкой по ГОСТ 8026, установленной на ребро. 10.3. Качество древесины в комплектах ДКК, маркировку и упаковку оценивают визуально. Пороки древесины определяют и измеряют по ГОСТ 2140. 10.4. Влажность древесины определяют по ГОСТ 16588 электровлагомером не менее чем в трех местах до проведения защитной обработки. 10.5. Шероховатость поверхностей определяют по ГОСТ 15612 или эталонному образцу. 10.6. Адгезию пленки защитного покрытия к поверхности древесины определяют по ГОСТ 27325. 10.7. Параметры защищенности ДКК от биологического разрушения определяют по ГОСТ 20022 при обосновании качества защитных материалов. Способы пропитки при защитной обработке контролируют по ГОСТ 20022.0 и ГОСТ Р 50240. 10.8. Прочность и стойкость клеевых соединений ДКК контролируют по СТО 36554501-004-2006. 11. Контроль за соблюдением требований стандарта11.1. Контроль параметров состояний ДКК является обязательной операцией на соответствующих стадиях их существования и подразделяется на государственный контроль (надзор) и внутренний контроль (у разработчика проекта, изготовителя и потребителя ДКК). Государственный контроль (надзор) ДКК осуществляется только на стадии обращения и в соответствии с положениями Закона № 134-ФЗ от 8.08.2001 г. «О защите прав юридических лиц и индивидуальных предпринимателей при проведении государственного контроля (надзора)». 11.2. Внутренний контроль на стадиях проектирования, производства и обращения ДКК должен иметь системное оформление и быть: а) комплексным, т.е. учитывать и регламентировать все операции создания ДКК; б) постоянным, т.е. действующим с заданной периодичностью; в) конкретным, т.е. оперировать, прежде всего, количественными показателями и нормами; г) квалифицированным, т.е. осуществляться профессиональными и ответственными исполнителями; д) авторитетным, т.е. исключающим субъективность при оценке результатов контроля; е) эффективным, т.е. обеспечивающим оперативное изменение контролируемых параметров. 11.3. На стадии производства комплектов ДКК система контроля должна включать: а) контроль температурно-влажностных условий, запыленности и загазованности в производственных помещениях и отдельных их рабочих зонах; б) периодическую проверку параметров точности и надежности технологического оборудования и его защитно-блокирующих устройств; в) периодическую оценку профессиональных знаний (аттестацию) технического и рабочего персонала; г) входной контроль сырья, материалов и комплектующих изделий; д) операционный контроль параметров деталей и изделий и технологического процесса их изготовления; е) приемочный контроль готовых деталей и изделий; ж) контроль условий труда персонала и обеспеченность его средствами индивидуальной защиты. Результаты контроля должны фиксироваться в документах установленной формы для каждого вида контроля (журналы, протоколы, акты и др.). Эти документы включают в состав доказательных материалов в процедурах подтверждения соответствия. 11.4. На стадии обращения ДКК, т.е. при хранении, транспортировании, строительстве и монтаже контролируют параметры упаковки, складирования, защиты от внешних воздействий, предусмотренные проектом ДКК или его паспортом. 11.5. Каждый вид контроля должен иметь документальное оформление (программы, планы, инструкции и др.), утверждаемое руководством предприятия-изготовителя ДКК, и соответствующее техническое оснащение (приборы, инструменты и т.п.) и кадровое обеспечение, необходимые для оценки контролируемых параметров. 11.6. Контролируемые при эксплуатации ДКК параметры и условия их оценки должны быть изложены в паспорте ДКК. 11.7. Полное изложение системы контроля как основного элемента системы качества ДКК может быть регламентировано отдельным ТР или стандартом организации. 11.8. Эффективность системы контроля на стадиях изготовления и обращения ДКК оценивается по трем основным критериям: отсутствию претензий от потребителей; сокращению издержек производства; конкурентоустойчивому росту спроса на ДКК. 12. Подтверждение соответствия12.1. Цели, принципы и формы подтверждения соответствия определены статьями 18, 19, 20 Закона № 184-ФЗ «О техническом регулировании» и могут быть конкретизированы в отдельном стандарте организации с учетом видов оценки соответствия, изложенных в п.3 статьи 7 данного закона. 12.2. Состояние комплектов ДКК должно быть оценено на их соответствие требованиям настоящего стандарта, действующих нормативных документов и технического задания потребителя (заказчика). 12.3. Подтверждение соответствия комплекта ДКК осуществляют по схеме 1К или 2К приложения И. 12.4. Программы и условия подтверждения соответствия изготовитель ДКК формирует самостоятельно. 13. Гарантии изготовителя13.1. Для обеспечения гарантированного качества комплектов ДКК I и II классов ответственности рекомендуется проведение сертификации специально аккредитованной организацией. При этом необходимо предусматривать не менее двух инспекций в год с целью контроля качества сертифицированной продукции на время действия сертификата по требованиям данного стандарта или другой нормативно-технической документации, где оговорены требования к качеству ДКК. 13.2. Предприятие-изготовитель гарантирует соответствие ДКК требованиям проекта, настоящего стандарта, других нормативных документов на конкретные типы ДКК и положениям договора поставки при условии соблюдения потребителем установленных требований к их транспортированию, хранению и монтажу. 13.3. Гарантийный срок для ДКК I и II классов - 10 лет, III класса - 3 года со дня отгрузки потребителю при условии введения в эксплуатацию здания или сооружения в течение 5 месяцев после их отгрузки с завода-изготовителя. Приложение
А
| |||||||||||||||||||||||||||||||||||||||||||||||||||||||||||||||||||||||||||||||||||||||||||||||||||||||||||||||||||||||||||||||||||||||||||||||||||||||||||||||||||||||||||||||||||||||||||||||||||||||||||||||||||||||||||||||||||||||||||||||||||||||||||||||||||||||||||||||||||||||||||||||||||||||||||||||||||||||||||||||||||||||||||||||||||||||||||||||||||||||||||||||||||||||||||||||||||||||||||||||||||||||||||||||||||||||||||||||||||||||||||||||||||||||||||||||||||||||||||||||||||||||||||||||||||||||||||||||||||||||||||||||||||||||||||||||||||||||||||||||||||||||||||||||||||||||||||||||||||||||||||||||||||||||||||||||||||||||||||||||||||||||||||||||||||||||||||||||||||||||||||||||||||||||||||||||||||||||||||||||||||||||||||||||||||||||||||
|
№ п.п. |
Наименование стандарта |
Шифр |
Примечания |
|
1 |
Деревянные клееные конструкции. Термины и определения |
|
Могут быть объединены в один стандарт |
|
2 |
Деревянные клееные конструкции. Общая классификация |
||
|
3 |
Деревянные клееные конструкции. Виды безопасности и их обеспечение |
||
|
4 |
Деревянные клееные конструкции. Методы оценки риска и тяжести вреда |
|
|
|
5 |
Деревянные клееные и цельнодеревянные конструкции. Методы проектирования и расчета |
|
|
|
6 |
Деревянные клееные и цельнодеревянные конструкции. Методы испытаний на прочность и деформативность |
|
|
|
7 |
Деревянные клееные конструкции несущие. Общие технические требования |
СТО 36554501-003-2006 |
|
|
8 |
Деревянные клееные конструкции. Методы испытаний клеевых соединений при изготовлении |
|
|
|
9 |
Деревянные клееные конструкции. Пиломатериалы. Технические требования |
|
|
|
10 |
Деревянные клееные конструкции. Пиломатериалы. Методы оценки качества и испытаний |
|
|
|
11 |
Деревянные клееные конструкции. Клеи. Технические требования |
|
|
|
12 |
Деревянные клееные конструкции. Клеи. Методы испытаний |
|
|
|
13 |
Деревянные клееные конструкции. Защитные материалы. Технические требования |
|
|
|
14 |
Деревянные клееные конструкции. Защитные материалы. Методы испытаний |
|
|
|
15 |
Деревянные клееные конструкции. Постановка на производство |
|
Могут быть объединены в один стандарт |
|
16 |
Деревянные клееные конструкции. Система контроля качества при изготовлении |
|
|
|
17 |
Деревянные клееные конструкции. Подтверждение соответствия (сертификация) |
|
|
|
18 |
Деревянные клееные конструкции. Оценка профессиональных знаний производственного персонала |
|
|
|
19 |
Деревянные клееные конструкции. Мониторинг |
|
|
|
Примечание. Все работы выполняются под руководством ЦНИИСК им. В.А. Кучеренко - головной организации в области нормирования и стандартизации в строительстве (письмо Росстроя № АП-4823/02 от 18.11.2005 г.). |
|||
1. По функциональному назначению ДКК подразделяют на классы, исходя из учета ответственности зданий и сооружений, для которых используют конструкции согласно требованиям раздела 5 ГОСТ 27751 к уровням ответственности зданий и сооружений:
I класса - конструкции для зданий I уровня ответственности, используемые в качестве несущих, когда выход из строя конструкции вызывает разрушение здания и сооружения или его части, что связано с большими материальными или людскими потерями. К ним относятся большепролетные конструкции спортивно-зрелищных, торговых, жилых и общественных зданий и сооружений, как правило, индивидуального проектирования;
II класса - конструкции для зданий II уровня ответственности, к ним относятся конструкции производственных, складских и т.п. зданий;
III класса - преимущественно ненесущие конструкции для зданий III уровня ответственности, к которым относят брусья стен, каркасы ограждающих конструкций панелей, архитектурно-декоративные и другие элементы.
2. В зависимости от условий эксплуатации конструкции относят к группам эксплуатации, учитывающим эксплуатационные параметры относительной влажности, температуры воздуха в зоне расположения конструкций, характерные условия эксплуатации (в закрытых или открытых условиях). Группы условий эксплуатации учитывают для назначения поправочных коэффициентов к расчетным сопротивлениям древесины, выбора типа клеев и защитных материалов при проектировании конструкций, а также для выбора системы контроля качества при изготовлении конструкций. Группы условий эксплуатации приведены в таблице Б.1 приложения.
3. По срокам службы (в зависимости от капитальности зданий) ДКК подразделяют на категории:
1-й - для зданий повышенной капитальности со сроком службы более 50 лет;
2-й - для зданий средней капитальности со сроком службы от 25 до 50 лет;
3-й - для зданий временного назначения со сроком службы до 10 лет.
Таблица Б.1
Группы условий эксплуатации ДКК
|
Группы* |
Общая характеристика условий эксплуатации |
Особенности учета условий эксплуатации при |
||
|
расчете конструкций** |
выборе клеев |
выборе средств защиты |
||
|
С1 |
Температура t = 20 °С, относительная влажность воздуха φ не превышает 65 % (возможно временное превышение несколько недель в году). Этим условиям соответствует климат внутри отапливаемых зданий с сухим влажностным режимом по СНиП 23-02 |
В данных условиях эксплуатации равновесная влажность древесины W не превышает 12% |
Требования к водостойкости клеевых соединений не предъявляются, а к соединениям несущих конструкций должны быть предъявлены требования к расслаиванию по ГОСТ 27812. Влажность склеиваемых слоев не должна превышать 10% |
Требования к влаго- и биозащитным свойствам средств не предъявляются |
|
С2 |
Температура t = 20 °С, относительная влажность воздуха φ не превышает 85 % (возможно временное превышение несколько недель в году) |
В данных условиях эксплуатации равновесная влажность древесины W не превышает 20% |
|
|
|
С2.1 |
Этим условиям соответствует климат внутри отапливаемых зданий с нормальным влажностным режимом (φ не превышает 75%) |
Равновесная влажность древесины W не превышает 15% |
Клеи должны быть аттестованы соответственно для классов С2.1 и С2.2 по водостойкости по ГОСТ 17005, а клеевые соединения на расслаивание по ГОСТ 27812 |
Для класса С2.1 требования к влаго- и биозащитным свойствам средств не предъявляются |
|
С2.2 |
Этим условиям соответствует климат внутри отапливаемых зданий с влажным влажностным режимом (<р не превышает 85 %) |
Равновесная влажность древесины W не превышает 20% |
Для класса С2.2 должны предъявляться требования к влаго- и биозащитным свойствам средств |
|
|
СЗ С3.1 С3.2 |
В условиях высокой естественной или искусственной влажности |
В данных условиях эксплуатации равновесная влажность древесины W превышает 20% |
Клеи должны быть аттестованы для класса С3.1 по водостойкости по ГОСТ 17005, а клеевые соединения на расслаивание - по ГОСТ 27812. Для классов С3.2 и С4 клеи и клеевые соединения должны быть аттестованы по самым высоким требованиям соответственно по водостойкости и на расслаивание |
Должны предъявляться повышенные требования к влагозащитным свойствам лакокрасочных покрытий, а биозащитная обработка проведена методом антисептирования |
|
С3.1 |
В закрытых условиях или под навесом (соответствует мокрый влажностный режим по СНиП 23-02) |
|||
|
С3.2 |
В условиях при непосредственных атмосферных воздействиях |
|||
|
С4 |
В отрытых условиях при контакте с грунтом и водой |
Биозащитная обработка должны быть проведена методом консервирования |
||
|
С4.1 |
При контакте с грунтом |
|||
|
С4.2 |
В пресной воде |
|||
|
С4.3 |
В морской воде |
|||
|
* Представленные группы гармонизированы с классификацией по европейским стандартам: CI, C2, СЗ - соответственно классам I, II, III по EN 386; С1 и С2.1 - классу Dl no EN 204; С2.2 - классу D2 по EN 204; С3.1 - классу D3 по EN 204; С3.2 - классу D4 по EN 204; С1 и С2.1 - классу 1 по EN 335; С2.2 - классу 2 по EN 335; С3.1 - классу 3.1 по EN 335; С3.2 - классу 3.2 по EN 335; С4.1 - классу 4.1 по EN 335; С4.2 - классу 4.2 по EN 335; С4.3 - классу 5 по EN 335. ** Учитывается коэффициентом условий работы к расчетному сопротивлению. |
||||
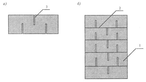
1. ГОСТ 20850
«Конструкции деревянные клееные. Общие технические условия» допускает
максимальную толщину склеиваемых слоев
2. Предполагается, что
такая опасность может быть ликвидирована за счет устройства прорезей шириной 2
-
3. Увеличение толщины слоев даст ощутимый экономический эффект за счет снижения расхода древесины на 10%, клея в 2 раза и сокращения процесса сушки - в 2 раза.
4. Способ изготовления ДКК из слоев повышенной толщины защищен заявкой на получение патента (per. № 2005101685, вх. № 002083 от 25.01.2005 г.).
5. Способ опробован в производственных условиях ООО «Сафановодрев» и подтвердил свои преимущества. Рекомендуется для дальнейшего опробования.

1 - слой; 2 - фрезерованные пласти; 3 - прорези
Рисунок В.1 - Устройство прорезей в сечении пиломатериала (а) и сечение формируемого клееного пакета (б)
|
№ п.п. |
Стадии существования ДКК |
Виды безопасности |
||||||||
|
Основные |
Дополнительные |
|||||||||
|
механическая |
промышленная |
радиационная |
пожарная |
экологическая, вкл. сан.-гигиеническую |
сейсмическая |
геопатогенная |
видео-экологическая |
|||
|
здания |
участка |
|||||||||
|
Проект ДКК |
||||||||||
|
1 |
Проектирование |
+ |
+ |
± 1) |
+ |
+ |
- |
± 2) |
± 3) |
± 3) |
|
Комплекты конструкций и изделий |
||||||||||
|
2 |
Производство, включая хранение у изготовителя |
+ |
+ |
+ |
+ |
+ |
- |
- |
- |
- |
|
3 |
Транспортирование |
- |
+ |
- |
+ |
- |
- |
- |
- |
- |
|
4 |
Хранение на участке постройки, включая комплектацию |
- |
+ |
- |
+ |
- |
- |
- |
- |
-- |
|
Построенное здание |
||||||||||
|
5 |
Строительно-монтажные работы |
+ |
+ |
- |
+ |
- |
- |
- |
- |
- |
|
6 |
Эксплуатация |
+ |
- |
+ |
+ |
+ |
+ |
± 2) |
+ |
+ |
|
7 |
Утилизация |
+ |
+ |
- |
+ |
- |
- |
- |
- |
- |
|
Примечания 1. На стадии проектирования учитываются действующие нормативы и предусматривается их обеспечение на стадиях существования ДКК (в пояснительной записке к проекту и в паспорте ДКК). 2. Обозначения: «+» - учет обязателен; «-» - влияние незначительное, «±» - учет в зависимости от конкретных условий, в том числе: 1) - исключение использования древесины с недопустимым излучением радионуклидов; 2) - при проектировании и строительстве ДКК в сейсмоопасных районах; 3) - при проектировании ДКК для конкретного участка постройки и поселения. |
||||||||||
|
№ п.п. |
Вид безопасности |
Меры обеспечения |
|
Основные |
||
|
1 |
Механическая |
Соблюдение действующих нормативных требований к ДКК, их соединениям и узлам при проектировании. Обеспечение точности исполнения изделий и конструкций при их изготовлении; применение предусмотренных проектом материалов; системный контроль (входной, операционный, приемочный). Соблюдение требований проекта при строительно-монтажных работах |
|
2 |
Пожарная |
Обеспечение нормативных требований к ДКК по пределу огнестойкости и пожарной опасности. Инструктивное обеспечение потребителей ДКК |
|
3 |
Промышленная |
Обеспечение условий труда персонала, нормативной защиты оборудования и транспортных средств. Инструктивное обеспечение строительно-монтажных работ |
|
4 |
Радиационная |
Исключение (при входном контроле) лесоматериалов, зараженных радионуклидами. Инструктивное обеспечение потребителей ДКК |
|
5 |
Экологическая |
Применение в производстве ДКК только разрешенных органами СЭН полимерных и синтетических материалов |
|
Дополнительные |
||
|
1 |
Видеоэкологическая |
Многовариантность архитектурно-строительных решений ДКК, учет условий конкретного района постройки зданий с применением ДКК |
|
2 |
Геопатогенная |
Профессиональное экспертное обследование участка постройки зданий с применением ДКК |
|
3 |
Сейсмическая |
Специальные проектно-конструктивные решения ДКК, оптимальное исключение жестких связей |
|
№ п.п. |
Стадии существования ДКК |
Вероятные степени риска по видам безопасности |
||||||||
|
Основным |
Дополнительным |
|||||||||
|
механическая |
промышленная |
радиационная |
пожарная |
экологическая, вкл. сан.-гигиеническую |
сейсмическая |
геопатогенная |
видео-экологическая |
|||
|
здания |
участка |
|||||||||
|
Комплект конструкций и изделий |
||||||||||
|
1 |
Производство |
10-6/- |
10-3/10-6 |
10-7/- |
10-4/10-4 |
10-6/- |
- |
- |
- |
- |
|
2 |
Хранение на производстве |
10-7/- |
10-6/10-7 |
- |
10-5/10-5 |
- |
- |
- |
- |
- |
|
3 |
Перевозка |
- |
10-6/10-7 |
- |
10-7/10-7 |
- |
- |
- |
- |
- |
|
4 |
Хранение на участке постройки, вкл. комплектацию |
- |
10-6/10-7 |
- |
10-5/10-7 |
- |
- |
- |
- |
- |
|
Построенное здание |
||||||||||
|
5 |
Строительно-монтажные работы |
10-5/10-6 |
10-5/10-6 |
- |
10-6/10-6 |
- |
- |
- |
- |
- |
|
6 |
Эксплуатация |
10-7/10-6 |
- |
10-7/- |
10-4/10-4 |
10-5/- |
10-6/- |
10-5/- |
10-6 |
10-6 |
|
7 |
Утилизация |
10-5/- |
10-6/10-7 |
- |
10-6/10-7 |
10-7/- |
- |
- |
- |
- |
|
Примечания. 1. В качестве базовой степени риска принята регламентированная вероятность индивидуального пожарного риска (ИПР), равная 10-4/год. 2. Перед косой чертой - вероятная степень риска причинения вреда, за чертой - вероятная степень риска нанесения ущерба. 3. Характеристики допустимых рисков должны быть уточнены при их регламентации в соответствующих технических регламентах и/или на основе результатов анализа достаточного массива статистической информации по видам безопасности и стадиям существования ДКК. |
||||||||||
1. Общие сведения
Паспорт - основной документ, содержащий информацию о характеристиках, качестве и безопасности комплекта ДКК.
Паспорт разрабатывается, заполняется (по нормативным параметрам безопасности и качества ДКК) и оформляется (в виде брошюры с твердым переплетом) организацией или лицом, осуществляющим проектирование ДКК.
Оформленный паспорт передается по акту потребителю ДКК или заполняется на основе результатов приемки построенного здания и передается по акту потребителю ДКК.
Потребитель ДКК завершает заполнение паспорта (при регистрации ДКК как объекта собственности) и осуществляет его ведение в период эксплуатации здания.
2. Структура паспорта
Паспорт должен включать разделы:
• Введение;
• Учетные сведения;
• Общая характеристика ДКК;
• Параметры безопасности и качества ДКК;
• Указания по строительству (монтажу) ДКК;
• Правила эксплуатации и обслуживания ДКК;
• Основные права, обязательства и ответственность сторон;
• Приложения.
3. Содержание разделов паспорта
3.1. Введение - статус и назначение паспорта; объект паспорта (типологическое наименование ДКК); сведения об экспертизе (сертификации) проекта и ДКК; указания по его заполнению и ведению; ссылка на настоящий стандарт или другой нормативный документ, определяющий структуру и содержание паспорта.
3.2. Учетные сведения
3.2.1. Сведения о разработчике проекта ДКК - наименование, адрес, лицензия; подписи руководителя и исполнителя; печать; дата составления; заказчик проекта.
3.2.2. Сведения об изготовителе ДКК - наименование, адрес, лицензия; подпись руководителя; печать; дата заполнения; наименование документа (декларация, сертификация), подтверждающего соответствие ДКК (его комплекта) требованиям настоящего стандарта или другого нормативного документа.
При строительстве здания или его части из ДКК изготовителем также указываются фактические параметры качества ДКК - по результатам акта приемки построенного здания.
Если строительство осуществлено другой организацией, то указываются ее учетные сведения.
При строительстве самим потребителем делается соответствующая запись самим потребителем.
3.2.3. Сведения о потребителе (владельце) здания с применением ДКК - фамилия, имя, отчество физического лица или наименование юридического лица; адрес; сведения о регистрации прав собственности и о возможном их изменении - при продаже, дарении и т.п.
Заполняются потребителем (владельцем).
3.2.4. Сведения о страховании - страховая организация, адрес, лицензия; условия страхования, номер страхового полиса; даты, подписи, печати.
Заполняются страховой организацией.
3.2.5. Другие сведения - обременения; сметная и инвентаризационная стоимость; переоценки. Отметки проверяющих и контролирующих органов - пожнадзора и др.
Заполняются соответствующими организациями по мере появления сведений.
3.3. Общая характеристика ДКК
3.3.1. Генеральный план участка застройки - параметры участка: конфигурация, ориентация по сторонам света, размеры, площадь; расположение здания и других построек; другие сведения.
Графическая и текстовая информация фиксируется в зависимости от конкретных условий разработчиком проекта ДКК, изготовителем или потребителем ДКК.
3.3.2. Характеристика здания - основные проектные (фасады, планы) и конструктивные решения ДКК; спецификация комплектов конструкций и изделий; сведения о нормативной базе ДКК (СНиПы, стандарты и др.); характеристики фундаментов, подвалов и др.; виды, характеристики и размещение инженерного оборудования (отопление, водо-, газо-, энергоснабжение, канализация и вентиляция, сигнализация и др.); схема электрообеспечения (разводка); другие особенности.
Заполняется разработчиком проекта (с учетом наличия места для внесения сведений о возможных последующих изменениях проектно-конструктивных решений в период его эксплуатации).
3.3.3. Сведения о внешних коммуникациях - схемы возможной или фактической привязки здания к существующим инженерным (электроподстанция, газораспределительная станция, сети водоканала и др.) и транспортным коммуникациям (подъезды, расстояние до магистральных дорог и др.).
Заполняется, как и по п. 3.3.1, в зависимости от конкретных условий.
3.4. Параметры безопасности и качества комплектов ДКК
Излагаются в табличной форме перечни параметров безопасности и качества ДКК, предусмотренные настоящим стандартом, и нормативные (проектные) значения (заполняются разработчиком проекта ДКК) и фактические значения (заполняются по результатам сдачи-приемки ДКК после строительства). Могут указываться методы или особенности оценки параметров.
Приводятся сведения об условиях упаковки, маркировки, комплектации и хранения.
Заполняется разработчиком проекта ДКК с указанием сведений, вносимых на последующих стадиях существования ДКК.
3.5. Указания по строительству (монтажу) ДКК
Приводятся:
а) общие сведения об условиях транспортирования и хранения комплекта ДКК на участке его постройки;
б) правила подготовки участка (планировка, разбивка и т.д.), включая, по требованию потребителя, обследование участка на наличие радона и геопатогенных зон;
в) порядок проведения земляных работ, устройства фундамента, перекрытий, монтажа стеновых конструкций, устройства кровли, выполнения отделочных работ и монтажа инженерного оборудования; био- и огнезащиты ДКК;
г) меры по обеспечению безопасности при выполнении указанных работ. Заполняется разработчиком проекта ДКК.
Сдача ДКК потребителю оформляется актом в соответствии с действующими требованиями и фиксируется в вышеупомянутой таблице.
3.6. Правила эксплуатации и обслуживания ДКК
Приводятся сведения о видах и содержании профилактических осмотров, о техническом обслуживании ДКК с указанием нормативных сроков их службы до капремонта или полной замены, содержания ремонтных работ. Выявленные неисправности (повреждения, дефекты) и работы по их устранению, с указанием даты выполнения работ, фиксируются в отдельной таблице - приложении к данному разделу.
Излагаются меры по обеспечению безопасности при эксплуатации ДКК и проведении осмотров, техобслуживания и ремонта.
Заполняется разработчиком проекта ДКК.
3.7. Основные права, обязательства и ответственность сторон
Указываются гарантийные обязательства изготовителя ДКК (его комплекта) и условия их выполнения (например, при соблюдении правил хранения, транспортирования, монтажа комплекта, при соблюдении правил эксплуатации и обслуживания ДКК). Рекомендуемый гарантийный срок службы ДКК.
Излагаются основные правоотношения сторон (разработчика проекта ДКК, его изготовителя и потребителя) в соответствии с действующими законодательными и нормативно-правовыми актами (Гражданский кодекс, Жилищный кодекс, Закон РФ «О защите прав потребителей» и др.).
Структура правоотношений должна четко разделять права, обязательства и ответственность сторон.
Заполняется разработчиком проекта ДКК.
3.8. Приложения
Приводятся перечни законов РФ и нормативно-правовых актов, относящихся к объекту паспортизации, и другие справочно-информационные материалы (например, перечень справочников, пособий и др.). Могут помещаться копии документов разработчика проекта ДКК и его изготовителя (лицензии, дипломы, сертификаты и др.).
|
Обозначение схемы |
Содержание схемы и ее исполнители |
Примечание |
|
Проект ДКК |
||
|
1П |
Региональный орган Главгосэкспертизы РФ проводит экспертизу проектной документации на конкретный тип ДКК, согласовывает и/или выдает заключение на проектную документацию. Заявитель - разработчик проекта ДКК оформляет титульный лист проекта с указанием о согласовании проекта и регистрирует проект |
Соответствует ст. 7 п. 3 абз. 2 Закона № 184-ФЗ, применяется до введения иного порядка подтверждения проекта техническим регламентом или решением Правительства РФ. Сведения о подтверждении соответствия проекта помещают в паспорте ДКК (его комплекта) |
|
2П |
Орган по сертификации осуществляет подтверждение соответствия проекта (в системе добровольного подтверждения соответствия), выдает сертификат соответствия, предоставляет право на применение установленного знака соответствия. Заявитель - разработчик проекта ДКК подает заявку в орган по сертификации. Представляет доказательные материалы (по программе органа по сертификации), маркирует проект знаком соответствия |
Соответствует ст. 21 Закона № 184-ФЗ, применяется при введении порядка подтверждения соответствия проектов ДКК. Сведения о подтверждении соответствия проекта помещаются в паспорте ДКК (его комплекта) |
|
Комплект ДКК |
||
|
1К |
Орган по сертификации осуществляет подтверждение соответствия комплекта требованиям настоящего стандарта. Выдает сертификат соответствия, предоставляет право на применение установленного знака соответствия (в системе добровольной сертификации). Заявитель - изготовитель комплекта подает заявку в орган по сертификации, представляет доказательные материалы (по программе органа по сертификации), маркирует комплект знаком соответствия. Заявитель - изготовитель комплекта регистрирует сертифицированные комплекты |
Соответствует ст. 21 Закона № 184-ФЗ. Копия сертификата прилагается к паспорту ДКК (его комплекта) |
|
2К |
Заявитель - изготовитель комплекта самостоятельно формирует показательные материалы (проектная, конструкторская, технологическая и др. документация, результаты оценки комплекта на соответствие настоящему стандарту и др.), оформляет декларацию о соответствии. Федеральный орган по техническому регулированию регистрирует (в течение трех дней) декларацию о соответствии |
Соответствует ст. 24 Закона № 184-ФЗ. Копия декларации прилагается к паспорту ДКК (его комплекта) |
|
3К |
Заявитель - изготовитель комплекта включает в собственные доказательные материалы дополнительно: а) протоколы испытаний (оценок) комплекта аккредитованной испытательной лабораторией (центром); б) сертификат системы качества. Оформляет декларацию о соответствии. Федеральный орган по техническому регулированию регистрирует (в течение трех дней) декларацию о соответствии |
Схема ЗК применяется при ее наличии в техрегламенте на ДКК или добровольно для гарантированного декларирования |
|
Здание |
||
|
1ДКК |
Заявитель - изготовитель ДКК формирует доказательные документы (копия лицензии, сведения о подтверждении соответствия проекта (по схеме 1П, 2П или 3К), копия акта комиссионной приемки ДКК и др.), оформляет паспорт ДКК, оформляет декларацию о соответствии |
Соответствует ст. 7 п. 3 абз. 2 и ст. 24 Закона № 184-ФЗ до введения техрегламента с иной схемой подтверждения соответствия |
|
|
Система качества |
|
|
1С |
Заявитель - изготовитель ДКК подает заявку в орган по сертификации (с соответствующей областью аккредитации), формирует доказательные документы (по программе органа по сертификации), получает сертификат системы качества и права оперирования им (например, при схеме 3К). Орган по сертификации проводит сертификацию системы качества, выдает заявителю сертификат системы качества, осуществляет инспекционный контроль за системой качества |
Не исключается сертификация системы качества соответствующими международными органами по сертификации |
Ключевые слова: деревянная клееная конструкция и (или) изделие, клеевое соединение, прочность и стойкость клеевого соединения, степень расслаивания клеевого соединения, температурно-влажностные воздействия
|
|
Федеральное агентство по строительству и жилищно-коммунальному хозяйству Федеральное государственное унитарное предприятие "Научно-исследовательский центр "Строительство " (ФГУП "НИЦ "Строительство") 2-я Институтская ул., д.6, Москва, 109428, тел. (095) 170-154Н факс (095) Г1-2250 Email: nitsslroyflt@ilsslroy.ru ОКПО 36554501, ОГРН 1037739373506, ИНН/КПП 772 1015736/50420100 I
|
7.07.06 № Н3*15/550 Руководителю организации
В соответствии с Вашим запросом высылаем стандарт ФГУП «НИЦ «Строительство» СТО 36554501-003-2006 "Деревянные клееные конструкции несущие. Общие технические требования".
Одновременно сообщаем, что в соответствии с ГОСТ Р 1.4-2004 «Стандартизация в Российской Федерации. Стандарты организаций. Общие положения), п.4.18. стандарт организации, разработанный и утвержденный одной организацией, может использоваться другой организацией только по договору с разработчиком стандарта.
В связи с этим, предлагаем Вам заключить договор о научно-техническом сопровождении применения стандарта в виде консультаций, обучения персонала и т.д. В договоре может быть предусмотрено, также, положение о получении информации о внесении в стандарт последующих изменений.
|
И.о. генерального директора |
|
Н.В. Зацаринский |
Исполнитель Ю.С. Волков 174-76-77
|
|
|
|