//
ТехЛит.ру
- крупнейшая бесплатная электронная интернет библиотека для "технически умных" людей.
WWW.TEHLIT.RU - ТЕХНИЧЕСКАЯ ЛИТЕРАТУРА

:: Алготрейдинг::


АЛГОТРЕЙДИНГ
шаг за шагом
с нуля по урокам!

Торговые роботы на PYTHON, BackTrader,
Pandas, Pine Script для TradingView. Связка с брокерами, телеграм и легкими приложениями.


Система нормативных документов в строительстве

Ведомственные строительные нормы

ИНСТРУКЦИЯ
по проектированию, строительству
и реконструкции промысловых нефтегазопроводов

СП 34-116-97

Министерство топлива и энергетики Российской Федерации (Минтопэнерго России)

Москва

1997

Предисловие

1. Разработана Всероссийским научно-исследовательским институтом по строительству трубопроводов и объектов ТЭК (АО ВНИИСТ), при участии Всероссийского научно-исследовательского института природных газов и газовых технологий (ООО ВНИИГАЗ) и проектного и научно-исследовательского института "ГазНИИпроект".

2. Согласована:

Госстроем России, письмо № 13-754 от 02.12.97 г. Госгортехнадзором России, письмо № 10-03/723 от 04.12.97 г.

3. "Инструкция" разработана по заданию Департамента нефтяной и газовой промышленности и Управления координации инвестиционных программ в ТЭК по договору с Минтопэнерго России.

4. Утверждена и введена в действие с 1 апреля 1998 года приказом Минтопэнерго России от 23.12.1997 г. № 441.

5. Разработчики выражают благодарность специалистам ВНИИ ГОЧС, Газнадзора РАО "Газпром", ГП Роснефти, Гипроспецгаза, АО "Сибпроектстроя" и ВНИИПО МВД за полезные замечания и предложения, представленные по первой редакции "Инструкции ..."

Минтопэнерго России 1997 г.

СОДЕРЖАНИЕ

Введение. 3

1. Область применения. 3

2. Общие положения и эксплуатационные характеристики. 4

3. Материалы и изделия. 5

Трубы и соединительные детали. 5

Сварочные материалы.. 8

Изделия для закрепления трубопроводов против всплытия. 9

Материалы противокоррозионных покрытий. 9

4. Обеспечение необходимого уровня надежности и безопасности. 16

5. Основные требования к трассам трубопроводов. 28

6. Конструктивные требования к трубопроводам.. 28

Размещение запорной и другой арматуры.. 29

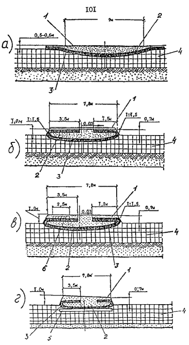
Подземная прокладка трубопроводов. 29

Наземная (в насыпи) прокладка трубопроводов. 30

Надземная прокладка трубопровода. 30

Прокладка трубопроводов на вечномерзлых грунтах (вмг) 31

Прокладка трубопроводов в просадочных и пучинистых грунтах. 32

Прокладка трубопроводов в сейсмических районах. 34

7. Переходы трубопроводов через естественные и искусственные преграды.. 34

Переходы трубопроводов через водные преграды и болота. 34

Переходы трубопроводов через железные и автомобильные дороги. 37

8. Расчет трубопроводов на прочность и устойчивость. 38

Нагрузки и воздействия. 38

Определение толщин стенок труб и соединительных деталей. 40

Проверка напряженного состояния и устойчивости подземных и наземных (в насыпи) трубопроводов. 41

Проверка напряженного состояния и устойчивости надземных трубопроводов. 44

Проверка прочности трубопроводов при сейсмических воздействиях. 45

Определение несущей способности анкерных устройств. 46

9. Основные требования по охране окружающей среды.. 47

10. Защита трубопроводов от коррозии. 48

Защита трубопроводов от подземной коррозии защитными покрытиями. 49

Защита надземных трубопроводов от атмосферной коррозии. 49

Электрохимическая защита трубопроводов от подземной коррозии. 49

Тепловая изоляция. 50

11. Организационно - техническая подготовка строительства трубопроводов. 51

12. Подготовительные работы на объектах. 52

13. Строительство временных дорог и технологических проездов. 54

14. Транспортировка и складирование труб. 57

15. Сварка трубопроводов. 58

Аттестация технологии. Сварка и контроль приемочных стыков. 58

Аттестация сварщиков. Сварка допускных стыков. 61

Подготовка кромок и сборка стыков. 62

Технология сварки. 66

Сварка захлестов. 67

Вварка заплат. 68

Ремонт сварных соединений с помощью сварки. 69

16. Контроль сварных соединений. 69

Контроль сварных соединений, выполненных стыковой контактной сваркой оплавлением.. 73

Контроль паяных соединений. 74

Контроль сварных соединений, выполненных сваркой вращающейся дугой (свд) 75

Контроль сварных соединений после их ремонта. 75

Контроль сварных соединений трубопроводов, транспортирующих сероводородосодержащие продукты.. 75

17. Земляные работы.. 76

Заготовка грунта в карьерах. 76

Разработка траншеи и подготовка дна под укладку трубопровода. 77

Засыпка трубопровода. 77

Устройство грунтовых насыпей на вечномерзлых грунтах. 79

Отсыпка дамб (насыпей) на болотах. 80

18. Изоляционные работы и контроль качества. 80

Технология трассовой изоляции трубопроводов. 80

Технология наружной изоляции труб в заводских и базовых условиях. 81

Ремонт мест повреждений изоляционных покрытий. 83

Изоляция сварных кольцевых стыков труб. 84

Контроль качества изоляционных покрытий. 85

Технология изоляции соединительных деталей и запорной арматуры.. 86

Защита надземных трубопроводов от атмосферной коррозии. 86

Технология внутренней изоляции труб в заводских (базовых) условиях. 86

19. Технология нанесения теплоизоляционных покрытий в базовых условиях. 88

20. Установка свайных опор. 90

21. Монтаж надземных трубопроводов. 91

22. Технология укладки надземного трубопровода. 94

23. Укладка подземного трубопровода. 95

Укладка методом бестраншейного заглубления. 98

24. Строительство трубопровода на переходах. 99

Переходы через дороги. 99

Подводные переходы.. 100

25. Очистка полости и испытания. 101

Очистка полости трубопровода. 101

Испытание трубопровода на прочность и герметичность. 102

26. Монтаж средств электрохимической защиты.. 110

27. Выполнение природоохранных мероприятий. 111

28. Приемка в эксплуатацию законченных строительством трубопроводов. 112

Производство пусконаладочных работ. 112

Приложение 1 Принятые сокращенные названия промысловых объектов, приведенных в настоящих нормах. 113

Приложение 2 Буквенные обозначения величин. 113

Приложение 3 Термины и определения. 114

Приложение 4 Перечень действующих нормативных документов, рекомендуемых к использованию при проектировании и строительстве промысловых трубопроводов. 116

Приложение 5 Подразделение болот на типы.. 119

ВВЕДЕНИЕ

"Инструкция по проектированию, строительству и реконструкции промысловых нефтегазопроводов" устанавливает технические характеристики промысловых нефтегазопроводов, обеспечивающие безопасность людей, сооружений и окружающей среды в зонах прокладки этих трубопроводов при выполнении ими основной задачи по транспорту планового количества продукта.

Достижение необходимых эксплуатационных характеристик осуществляется путем регламентации конструктивных решений, назначения системы расчетных коэффициентов, обеспечивающих необходимый уровень надежности, назначения безопасных расстояний между параллельными трубопроводами и от трубопроводов до наземных инженерных сооружений, обеспечивающих нормативный уровень риска, назначения требований к технологическим операциям сооружения трубопроводов, обеспечивающих высокое качество строительства трубопроводов в различных природных условиях при минимальном воздействии на окружающую среду и соблюдении техники безопасности, путем применения прогрессивных технологических решений.

Срок действия "Инструкции" - до выхода СНиП "Промысловые трубопроводы".

СП 34-116-97

Ведомственные строительные нормы

Инструкция по проектированию, строительству и реконструкции промысловых нефтегазопроводов

Instructions For Design, Construction and Redesign of Field Oil and Gas Pipelines

Дата введения 01.04. 1998 г.

1. ОБЛАСТЬ ПРИМЕНЕНИЯ

1.1. Настоящие нормы распространяются на проектируемые строящиеся и реконструируемые промысловые стальные трубопроводы диаметром до 1400 мм включительно с избыточным давлением среды не выше 32,0 МПа нефтяных, газовых, газоконденсатных месторождений и подземных хранилищ газа (ПХГ).

1.2. Состав промысловых трубопроводов, на которые распространяются настоящие нормы:

1.2.1. Для газовых и газоконденсатных месторождений:

газопроводы-шлейфы, предназначенные для транспортирования газа и газового конденсата от скважин месторождений и ПХГ до УКПГ, УППГ и от КС ПХГ до скважин для закачки газа в пласт;

газопроводы, газовые коллекторы неочищенного газа, межпромысловые коллекторы, трубопроводы для транспортирования газа и газового конденсата от УКПГ, УППГ до ГС, ДКС, КС, ПХГ, ГПЗ, независимо от их протяженности;

трубопроводы для подачи очищенного газа и ингибитора в скважины и на другие объекты обустройства месторождений;

трубопроводы сточных вод давлением более 10 МПа для подачи ее в скважины для закачки в поглощающие пласты;

метанолопроводы;

1.2.2. Для нефтяных месторождений:

выкидные трубопроводы от нефтяных скважин, за исключением участков, расположенных на кустовых площадках скважин (на кустах скважин), для транспортирования продуктов скважин до замерных установок;

нефтегазосборные трубопроводы для транспортирования продукции нефтяных скважин от замерных установок до пунктов первой ступени сепарации нефти (нефтегазопроводы);

газопроводы для транспортирования нефтяного газа от установок сепарации нефти до УКПГ, УППГ или до потребителей;

нефтепроводы для транспортирования газонасыщенной или разгазированной обводненной или безводной нефти от ПС нефти и ДНС до ЦПС;

газопроводы для транспортирования газа к эксплуатационным скважинам при газлифтном способе добычи;

газопроводы для подачи газа в продуктивные пласты с целью увеличения нефтеотдачи;

трубопроводы систем заводнения нефтяных пластов и систем захоронения пластовых и сточных вод в глубокие поглощающие горизонты;

нефтепроводы для транспортирования товарной нефти от ЦПС до сооружения магистрального транспорта;

газопроводы для транспортирования газа от ЦПС до сооружения магистрального транспорта газа;

ингибиторопроводы для подачи ингибиторов к скважинам или другим объектам обустройства нефтяных месторождений.

Сокращенные названия промысловых объектов даны в справочном Приложении 1.

В дальнейшем тексте норм за исключением особо оговоренных случаев вместо слов "промысловый (е) трубопровод (ы)" будет употребляться слово "трубопровод (ы)".

Примечание:

1. Границами промысловых трубопроводов являются ограждения соответствующих площадок, а при отсутствии ограждения в пределах бровки отсыпки соответствующих площадок или условной границы участка.

2. К коллекторам (сборным, межпромысловым трубопроводам) относятся трубопроводы, транспортирующие продукт от пунктов подготовки (сбора) до головных сооружений или ГПЗ.

3. Трубопроводы, транспортирующие нефть с газом в растворенном состоянии при абсолютном давлении упругости паров при 20 °С выше 0,2 МПа и свободном состоянии относятся к нефтегазопроводам, а транспортирующие разгазированную нефть - к нефтепроводам.

1.3. Настоящие нормы не распространяются на трубопроводы для транспортирования продукции с высоким содержанием сероводорода (парциальное давление выше 1 МПа) и продуктов с температурой выше 100 °С, водоводы поддержания пластового давления для транспорта пресной, пластовой и подтоварной воды на КНС.

2. ОБЩИЕ ПОЛОЖЕНИЯ И ЭКСПЛУАТАЦИОННЫЕ ХАРАКТЕРИСТИКИ

2.1. Промысловые трубопроводы могут проектироваться подземными, наземными с последующей отсыпкой насыпи или надземными на опорах. Основным видом прокладки трубопроводов должна быть подземная.

2.2. Трубопроводы, транспортирующие одинаковые и различные продукты могут прокладываться параллельно действующим или проектируемым промысловым трубопроводам.

2.3. Температура газа, нефти (нефтепродуктов), поступающих в трубопровод, должна устанавливаться исходя из возможности транспортирования продукта и требований, предъявляемых к сохранности изоляционных покрытий, прочности, устойчивости и надежности трубопровода.

2.4. При проектировании трубопроводов, предназначенных для транспортирования газа, нефти и нефтепродуктов, оказывающих коррозионные воздействия на металл и сварные соединения труб и арматуру, установленную на трубопроводах, необходимо предусматривать мероприятия, обеспечивающие защиту трубопроводов от коррозионного воздействия или сероводородного растрескивания.

2.5. Трубопроводы для транспорта газа и газового конденсата газовых и газоконденсатных месторождений и ПХГ, а также нефтяного газа в зависимости от рабочего давления подразделяются на четыре класса:

I класс - при рабочем давлении свыше 20 МПа до 32 МПа включительно;

II класс - при рабочем давлении свыше 10 МПа до 20 МПа включительно;

III класс - при рабочем давлении свыше 2,5 МПа до 10 МПа включительно;

IV класс - при рабочем давлении свыше до 2,5 МПа включительно.

2.6. Трубопроводы для транспорта нефти, нефтепродуктов и других жидких продуктов нефтяных месторождений в зависимости от диаметра подразделяются на три класса:

I класс - трубопроводы условным диаметром 600 мм и более;

II класс - трубопроводы условным диаметром менее 600 мм до 300 мм включительно;

III класс - трубопроводы условным диаметром менее 300 мм.

2.7. Промысловые трубопроводы должны быть запроектированы и построены таким образом, чтобы была обеспечена надежная и безопасная их эксплуатация в течение всего срока службы путем выбора соответствующих исходных материалов, обеспечения необходимого уровня надежности и нормативного уровня риска, обеспечения качества строительства.

2.8. Трубопроводы нефтесбора нефтяных месторождений, а также трубопроводы систем заводнения нефтяных пластов и систем захоронения пластовых и сточных вод в глубокие поглощающие горизонты, нефтепроводы для транспортирования товарной нефти от ЦПС до сооружений, магистрального транспорта, должны выполняться из труб, имеющих внутреннее антикоррозионное покрытие.

2.9. Основными критериальными характеристиками конструкций трубопроводов являются:

свойства исходных материалов для сооружения трубопроводов (труб, соединительных деталей, арматуры, изоляционных покрытий, теплоизоляции, балластирующих устройств и др.), которые определяются соответствием их требованиям действующих норм, ГОСТ, ТУ на эти изделия;

надежность трубопроводов при заданных условиях эксплуатации по давлению и температуре, которая определяется соответствием принятых конструктивных решений трубопроводов (толщина стенки трубопровода, глубина заложения, радиусы изгиба, пролеты при надземной прокладке, изоляционные покрытия и т.д.) требованиям действующих норм;

безопасность, в т.ч. пожарная, которая определяется назначением соответствующих безопасных расстояний от промысловых трубопроводов до зданий и сооружений, находящихся в зонах прохождения трубопроводов;

качество строительства, которое определяется соответствием результатов контроля качества при сооружении трубопроводов, требованиям действующих норм;

стабильность положения трубопровода в пространстве и во времени в течение всего срока эксплуатации. Эта эксплуатационная характеристика особенно важна для надземных прокладок трубопроводов. Здесь должно быть предусмотрено в процессе эксплуатации, проведение освидетельствования положения трубопровода на опорах, с целью восстановления, в случае необходимости, его проектного положения;

сохранность необходимого уровня коррозионной защиты трубопровода в течение всего срока его эксплуатации, которая обеспечивается поддержанием параметров, определяющих защищенность трубопровода на требуемом уровне.

2.10. Гидравлический и тепловой расчеты трубопроводов осуществляются в соответствии с действующими методиками или требованиями. Список рекомендуемых методик приведен в РД 39-132-94.

3. МАТЕРИАЛЫ И ИЗДЕЛИЯ

3.1. Материалы и изделия, применяемые для строительства промысловых трубопроводов, должны отвечать требованиям государственных стандартов, технических условий и других нормативных документов, утвержденных в установленном порядке, а также требованиям настоящего раздела.

3.2. Применение материалов и изделий, не имеющих сопроводительного документа, подтверждающего соответствие их требованиям государственных стандартов или технических условий, не допускается.

Трубы и соединительные детали

3.3. Для промысловых трубопроводов должны применяться трубы стальные бесшовные, сварные прямошовные и спиральношовные, изготовленные из спокойных и полуспокойных сталей, по ГОСТам и техническим условиям, утвержденным в установленном порядке с выполнением требований настоящего раздела.

Допускается применение импортных труб, соответствующих требованиям настоящего раздела.

3.4. Овальность концов труб (отношение разности между наибольшим и наименьшим диаметрами в одном сечении к номинальному диаметру) не должна превышать 1 % для труб толщиной стенки менее 20 мм и 0,8 % для труб толщиной стенки 20 мм и более.

3.5. Кривизна труб не должна превышать 1,5 мм на 1 м длины: общая кривизна не должна превышать 0,15 % длины трубы.

3.6. В металле труб и изделий не допускаются трещины, плены, рванины и закаты, а также расслоения, превышающие пределы, установленные соответствующими нормативными документами на их поставку. В зоне шириной не менее 40 мм от торцов труб не допускаются расслоения, превышающие 6,5 мм. Не допускается никаких расслоений, выходящих на торцы труб и приварных изделий.

Допускается зачистка поверхностных дефектов, кроме трещин, при условии, что толщина стенки после зачистки не выходит за пределы своего минимального значения.

3.7. Концы труб должны быть обрезаны под прямым углом. Отклонение от перпендикулярности торцов (косина реза) не должно превышать 1,6 мм для труб номинальным наружным диаметром 1020 мм и более и 1,2 мм для труб номинальным наружным диаметром менее 1020 мм.

3.8. Концы труб должны иметь фаску, выполненную механическим способом. Для труб номинальной толщиной стенки менее 15 мм используется фаска с углом скоса 30° и допускаемым отклонением минус 5°. Для труб номинальной толщиной стенки 15 мм и более должна быть использована фигурная форма разделки кромок.

Притупление должно быть в пределах 1-3 мм.

3.9. Ударная вязкость (KCU) на поперечных образцах типа 11-13 по ГОСТ 9454-78 (1 изменение) (Шарпи) и процент вязкой составляющей в изломе для основного металла труб номинальной толщиной 6 мм и более должны удовлетворять требованиям, приведенным в табл. 1. Для труб номинальной толщиной стенки 6-12 мм допускается изготовление полнотолщинных (без обработки черновых поверхностей) образцов на ударную вязкость. Для труб номинальной толщины стенки менее 6 мм ударная вязкость не определяется. Для труб диаметром 325 мм и менее допускается определение ударной вязкости на продольных образцах. Для труб диаметром менее 168 мм ударная вязкость на образцах Шарли не определяется.

Процент вязкой составляющей в изломе следует определять на полнотолщинных образцах DWTT высотой 75 мм для труб номинальной толщины стенки 8,5 мм и более и высотой 50 мм для труб номинальной толщины стенки менее 8,5 мм.

Таблица 1

Требования к ударной вязкости KCU и вязкой составляющей в изломе для основного металла труб

Наружный диаметр труб, мм

Рабочее давление, МПа

Среднеарифметические значения ударной вязкости и вязкой составляющей в изломе при минимальной эксплуатационной температуре стенки трубопровода, не менее

KCU на образцах типа 11-13 ГОСТ 9454-78 (1 изменение), Дж/см2 (кгс×м/см2)

Вязкая составляющая в изломе образцов ДВТТ, %

1

2

3

4

До 426

До 25 вкл.

29,4 (3,0)

-

Св. 25

34,8 (3,5)

-

Св. 426 до 630 вкл.

До 16 вкл.

29,4 (3,0)

50

Св. 16

39,2 (4,0)

50

Св. 630 до 820 вкл.

До 12 вкл.

29,4(3,0)

50

Св. 12 до 16

39,2 (4,0)

50

Св. 16

49,0 (5,0)

60

Св. 820 до 1020 вкл.

До 7,5 вкл.

39,2 (4,0)

60

Св. 7,5 до 12 вкл.

58,8 (6,0)

70

Св. 12

78,5 (8,0)

80

Св. 1020 до 1400 вкл.

До 7,5 вкл.

78,5 (8,0)

80

Св. 7,5 до 12 вкл.

108 (11,0)

85

Св. 12

118 (12,0)

85

Для труб толщиной стенки до 12 мм включительно допускается определение вязкой составляющей в изломе на образцах Шарпи. Для труб условным диаметром менее 500 мм, а также для трубопроводов, транспортирующих жидкие продукты, требования по вязкой составляющей в изломе не предъявляются, если эти требования специально не оговорены нормативной документацией на поставку.

3.10. Ударная вязкость (KCU) для основного металла и сварных соединений труб и соединительных деталей на образцах типа 1-3 по ГОСТ 9454-78 и ГОСТ 6996-66, соответственно, должна отвечать требованиям, приведенным в табл. 2 и определенным при температуре минус 60 °С для изделий северного исполнения и минус 40 °С для изделий обычного (умеренного) исполнения. Направления и условия вырезки образцов из основного металла труб и соединительных деталей должны удовлетворять требованиям п. 3.9. Местоположение надреза на образцах со сварными соединениями устанавливается нормативной документацией на поставку.

3.11. Ударная вязкость сварных соединений для труб, выполненных дуговой сваркой, на образцах с острым надрезом (Шарпи) при температуре 0 °С должна быть не ниже 39,2 Дж/см2 (4,0 кгс×м/см2). Образцы Шарли для сварного соединения должны иметь сечение 10 ´ 10 мм для труб номинальной толщиной стенки свыше 12 мм и 5 ´ 10 мм2 для труб номинальной толщиной стенки 12 мм и менее. Местоположение надреза устанавливается нормативной документацией на поставку труб.

Таблица 2

Требования к ударной вязкости KCU

Номинальная толщина

Среднеарифметическое значение ударной вязкости, не менее, Дж/см2 (кгс×м/см2)

1

2

От 6 до 12 включительно

34,3 (3,5)

Свыше 12 до 25 включительно

39,2 (4,0)

Свыше 25

44,1 (4,5)

3.12. Сварные соединения труб и изделий должны иметь плавный переход от основного металла к металлу шва без резких переходов, подрезов, несплавлений по кромке, непроваров, осевой рыхлости и других дефектов формирования шва.

Усиление наружного шва должно находиться в пределах 0,5-2,5 мм для труб толщиной стенки до 12 мм включительно и 0,5-3,0 мм для труб толщиной стенки свыше 12 мм. Высота усиления внутреннего шва должна быть в пределах 0,5-2,5 мм.

3.13. Сварные швы должны подвергаться 100 %-ному ультразвуковому контролю (УЗК) с последующей расшифровкой отсечек УЗК рентгеновским просвечиванием.

3.14. Временное сопротивление сварного соединения должно быть не менее нормативного значения временного сопротивления для основного металла труб в соответствующем направлении.

3.15. Пластическая деформация металла труб при холодном экспандировании не должна превышать 1,2 %.

3.16. Свариваемость труб и приварных изделий должна определяться:

по результатам экспериментального определения качества сварных соединений, выполненных теми методами сварки, которые будут использоваться при строительстве магистральных трубопроводов;

по показателю свариваемости.

Показатель свариваемости оценивается по эквиваленту углерода Сэ или рсм металла труб и изделий, независимо от состояния поставки, по формулам:

                                   (1)

                                    (2)

где: С, Mn, Cr, Мо, V, Ti, Nb, Сu, Ni, Si и В - массовые доли (%) соответственно углерода, марганца, хрома, молибдена, ванадия, титана, ниобия, меди, никеля, кремния и бора в стали.

Величины Сэ и рсм не должны превышать соответственно 0,44 и 0,24.

3.17. Каждая труба должна подвергаться на заводе-изготовителе испытанию гидростатическим давлением, вызывающим в минимальной толщине стенки трубы кольцевые деформации, равные деформациям, вызванным испытанием трубы без осевого подпора.

Величина гидростатического давления при отсутствии осевого подпора определяется по формуле:

                                                               (3)

в которой значение Rtst принимается равным от нормативного предела текучести: 95 % в течение 20 с для сварных труб, выполненных дуговой сваркой; 95 % в течение 10 с для сварных труб, выполненных токами высокой частоты; 80 % в течение 10 с для бесшовных труб.

Заводом-изготовителем должна быть гарантирована возможность доведения давления гидравлического испытания при испытании трубопровода до давления, вызывающего напряженное состояние, при котором в минимально-допустимой стенке трубы Rtst равно нормативному значению предела текучести.

3.18. Остаточный магнетизм на торцах труб и изделий не должен превышать 30 Гс.

3.19. Соединительные детали трубопроводов - тройники, переходы, отводы и днища (заглушки) - должны изготавливаться в соответствии с государственными стандартами или техническими условиями, утвержденными в установленном порядке, из труб или листовой стали. Сталь в готовых соединительных деталях должна удовлетворять требования пп. 3.6; 3.8; 3.10; 3.12; 3.13 и 3.14.

Ударная вязкость основного металла и сварных швов должна соответствовать требованиям табл. 2.

Требования к ударной вязкости для соединительных деталей диаметром 57-219 мм или номинальной толщиной стенки менее 6 мм не регламентируются.

Для промысловых трубопроводов должны применяться следующие конструкции соединительных деталей:

тройники горячей штамповки;

тройники штампосварные с цельноштампованными ответвлениями горячей штамповки;

тройники сварные без специальных усиливающих элементов (ребер, накладок и т.д.);

переходы концентрические и эксцентрические штампованные и штампосварные;

отводы гнутые гладкие, изготовленные из труб путем протяжки в горячем состоянии, гнутые при индукционном нагреве или штампосварные из двух половин;

днища (заглушки) эллиптические или сферические.

Толщина стенок соединительных деталей определяется расчетом и должна быть не менее 4 мм.

3.20. Конденсатосборники должны быть из труб и деталей заводского изготовления Диаметр и толщина стенок конденсатосборников определяется расчетом.

Конденсатосборники должны быть покрыты антикоррозионной изоляцией, соответствующей изоляции трубопровода на данном участке, и подвергнуты предварительному гидравлическому испытанию на давление, равное полуторному рабочему давлению в газопроводе.

3.21. При изготовлении сварных соединительных деталей должна применяться многослойная сварка с обязательной подваркой корня шва деталей диаметром 300 мм и более.

После изготовления сварные соединительные детали должны быть подвергнуты термообработке.

3.22. Соединительные детали должны испытываться гидравлическим давлением, равным 1,3 рабочего давления для деталей трубопроводов категории II и III и 1,5 - для деталей трубопроводов категории I.

3.23. Для изолирующих фланцевых соединений следует использовать фланцы по ГОСТ 12821-80 (4 изменения). Сопротивление изолирующих фланцев (в сборе) во влажном состоянии должно быть не менее 103 Ом.

3.24. Диаметр отверстий во фланцах под крепежные детали и размеры впадины, выступа, а также длина этих крепежных деталей должны выбираться с учетом толщины изолирующих (диэлектрических) втулок и прокладок. К каждому из фланцев изолирующего соединения должен быть приварен изолированный контактный вывод из стальной полосы размером 30 ´ 6 мм.

3.25. Конструкция регулирующей и предохранительной арматуры должна обеспечивать герметичность, соответствующую I классу по ГОСТ 9544-93.

3.26. Разделка кромок присоединительных концов деталей и арматуры должна удовлетворять условиям сварки.

Сварочные материалы

3.27. Для ручной электродуговой сварки стыков промысловых трубопроводов должны применяться электроды с целлюлозным (Ц), основным (Б) и рутиловым (Р) видами покрытий по ГОСТ 9466-75 и ГОСТ 9467-75.

Выбор типа электродов должен производиться в соответствии с табл. 3.

Таблица 3

Типы электродов

Нормативное значение временного сопротивления металла труб, кгс/мм2

Назначение электрода

Тип электрода (по ГОСТ 9467-75) вид электродного покрытая (по ГОСТ 9466-75)

1

2

3

До 55 включит.

От 55 до 60 включит.

Для сварки первого (корневого) слоя шва неповоротных стыков труб

Э42-Ц

Э42-Ц, Э50-Ц

До 55 включит.

От 55 до 60 включит.

Для сварки "горячего" прохода неповорных стыков труб

Э42-Ц; Э50-Ц

Э42-Ц, Э50-Ц, Э60-Ц

До 50 включит.

От 50 до 60 включит.

Для сварки и ремонта сваркой корневого слоя шва поворотных и неповоротных стыков труб

Э42А-Б, Э46А-Б

Э50А-Б, Э60-Б5*

До 50 включит.

От 50 до 60 включит.

Для подварки изнутри трубы

Э42А-Б, Э46А-Б

Э50А-Б

До 50 включит.

От 50 до 55 включит.

Для сварки и ремонта заполняющих и облицовочного слоев шва (после "горячего" прохода электродами Ц или после корневого слоя шва, выполняемого электродами Б)

Э42А-Б, Э46А-Б

Э50-Б, Э55-Ц

Примечание:

1. Помеченные звездочкой (*) типы электродов предназначены для сварки термоупрочненных труб.

2. Для сварки промысловых газопроводов IV класса с нормативным значением временного сопротивления до 46 кгс/мм2 могут применяться электроды с покрытием рутилового вида - типов Э42-Р и Э46-Р по ГОСТ 9466-75.

3.28. Для автоматической сварки стыков труб под флюсом должны применяться флюсы по ГОСТ 9087-81 и проволоки углеродистые или легированные преимущественно с омедненной поверхностью по ГОСТ 2246-70.

3.29. Аттестованные сочетания марок флюсов и проволок в зависимости от нормативного значения и временного сопротивления металла свариваемых труб выбираются в соответствии с технологической картой.

3.30. Для автоматической газоэлектрической сварки стыков труб должны применяться:

сварочная проволока с омедненной поверхностью по ГОСТ 2246-70;

углекислый газ по ГОСТ 8050-85 (2 изменения) - (двуокись углерода газообразная);

аргон газообразный по ГОСТ 10157-79;

смесь из углекислого газа и аргона.

3.31. Для газокислородной сварки должны применяться:

технический кислород первого, второго и третьего сортов по ГОСТ 5583-78;

технический ацетилен.

3.32. Для автоматической и полуавтоматической сварки стыков труб применяются самозащитные порошковые проволоки, аттестованные марки которых следует выбирать в соответствии с технологической картой.

Изделия для закрепления трубопроводов против всплытия

3.33. Для закрепления (балластировки) трубопроводов, прокладываемых через водные преграды, на заболоченных и обводненных участках, должны предусматриваться утяжеляющие навесные или кольцевые одиночные грузы, скорлупообразные грузы, сплошные утяжеляющие покрытия, балластирующие грузы с использованием грунта и анкерные устройства по техническим условиям, утвержденным в установленном порядке.

3.34. Все изделия, применяемые для закрепления трубопроводов, должны обладать химической и механической стойкостью по отношению к воздействиям среды, в которой они устанавливаются.

3.35. Навесные утяжеляющие одиночные грузы должны изготовляться в виде изделий из бетона, особо тяжелого бетона, железобетона и других материалов с плотностью не менее 2200 кг/м3 (для особо тяжелых бетонов - не менее 2900 кг/м3).

Номинальная масса утяжеляющего бетонного груза устанавливается проектом.

Примечание: Агрессивность среды и требования к защите бетонных грузов и сплошного обетонирования трубы определяются в соответствии с требованиями СНиП 2.03.11-85.

3.36. Скорлупообразные грузы следует предусматривать из железобетона в виде продольных полуцилиндров.

3.37. Анкерные устройства должны изготавливаться из чугуна или стали, обеспечивающих механическую прочность и возможность соединения их между собой.

Материалы противокоррозионных покрытий

3.38. Для противокоррозионных покрытий трубопроводов должны применяться материалы, приведенные в табл. 4.

Таблица 4

Материалы для защитных покрытий

Условия нанесения покрытия1)

Номер конструкции

Конструкция (структура) защитного покрытия

Толщина защитного покрытия, мм, не менее

Максимальная температура эксплуатации

для труб диаметром (мм) не более

273

530

820

1420

1

2

3

4

5

6

7

8

1. Защитные покрытия усиленного типа

Заводское или базовое

1

Трехслойное полимерное:

2,02)

2,22)

2,52)

3,02)

333 (60)

- грунтовка на основе термореактивных смол;

- термоплавкий полимерный подслой;

- защитный слой на основе экструдированного полиолефина

Заводское или базовое

2

Двухслойно полимерное:

2,02)

2,22)

2,52)

3,02)

333 (60)

- термоплавкий полимерный подслой;

- защитный слой на основе экструдированного полиолефина;

Заводское, базовое или тpaсcoвое

4

На основе полиуретановых смол

1,5

2,0

2,0

2,0

353 (80)

Заводское или базовое

5

На основе порошковых эпоксидных красок

0,35

для труб диаметром не более 820 мм

353 (80)

Заводское или базовое

6

Стеклоэмалевые:

 

 

 

 

 

- однослойные;

0,3

0,3

-

-

423 (150)

- двухслойные

0,4

0,4

-

-

423 (150)

Заводское или базовое

7

Комбинированные на основе мастики и экструдированного полиолефина:

2,54)

3,0

-

-

313 (40)

- грунтовка битумная или битумно-полимерная;

- мастика битумная или асфальто-смолистая, модифицированная, толщиной не менее 0,5 мм;

- защитный слой из экструдированного полиолефина

Заводское или базовое

8

Комбинированное на основе полимерной ленты и экструдированного полиолефина:

2,2

2,5

2,8

3,5

313 (40)

- грунтовка полимерная;

- лента изоляционная липкая, толщиной не менее 0,45 мм в один слой;

- защитный слой на основе экструдированного полиолефина

Заводское или базовое

9

На основе термоусаживающихся материалов

1,2

1,8

2,0

2,4

373 (100)

Базовое

10

Ленточное полимерное 5)

1,2

1,8

2,4

-

313 (40)

- грунтовка полимерная;

- лента изоляционная, липкая, толщиной не менее 0,6 мм;

- обертка защитная полимерная, липкая, толщиной не менее 0,6 мм

Базовое

11

Ленточное полимерное, термостойкое: 5)

1,2

1,8

2,4

-

353 (80)

- грунтовка полимерная;

- лента изоляционная термостойкая полимерная, толщиной не менее 0,6 мм;

- обертка защитная термостойкая, толщиной не менее 0,6 мм или армированная стеклотканью с липким слоем

Базовое

12

Мастичное полимерное армированное: 6)

5,0

для всех диаметров труб до 1020 мм включительно

313 (40)

- грунтовка полимерная;

- мастика изоляционная битумно-полимерная, толщиной не менее 2,0 мм;

- нитепрошивная стеклосетка, пропитанная битумно-полимерной мастикой, толщиной не менее 1,8 мм;

- лента изоляционная липкая, толщиной не менее 0,6 мм;

- обертка защитная полимерная, толщиной не менее 0,6 мм в один слой

Трассовое или базовое

13

Мастичное:

6,0

для всех диаметров труб не более 820 мм

313 (40)

- грунтовка битумная или битумно-полимерная;

- мастика изоляционная битумная, битумно-полимерная или на основе асфальто-смолистых соединений, толщиной не менее 3,0 мм;

- рулонный армирующий материал;

- мастика изоляционная битумная, битумно-полимерная или на основе асфальто- смолистых соединений, толщиной не менее 3,0 мм;

 

 

- рулонный армирующий материал;

-

-

-

-

-

- обертка защитная

Трассовое

14

Комбинированные, на основе мастики или полимерной ленты

4,0 для всех диаметром труб не более 820 мм

313 (40)

- грунтовка битумно-полимерная;

- мастика изоляционная на основе битума или асфальто-смолистых соединений;

- лента полимерная толщиной не менее 0,4 мм;

- обертка защитная полимерная, толщиной не менее 0,5 мм

Трассовое

15

На основе термоусаживающихся материалов

1,2

1,2

1,2

2,0

373 (100)

Трассовое

16

Ленточное полимерное:

1,2 для всех диаметров труб не более 820 мм

313 (40)

- грунтовка полимерная;

- лента изоляционная полимерная, липкая, толщиной не менее 0,6 мм;

- обертка защитная полимерная, липкая, толщиной не менее 0,6 мм

Трассовое

17

Ленточное полимерное: 6)

1,8

1,8

1,8

1,8

313 (40)

- грунтовка полимерная;

- лента изоляционная полимерная, липкая, толщиной не менее 0,6 мм в два слоя;

- обертка защитная полимерная, липкая, толщиной не менее 0,6 мм

Трассовое

18

Ленточное полимерное, термостойкое:

1,2

1,2

1,2

 

353 (80)

- грунтовка полимерная;

- лента изоляционная термостойкая, полимерная, толщиной не менее 0,6 мм;

 

 

- обертка защитная термостойкая, толщиной не менее 0,6 мм или армированная стеклотканью с липким слоем

 

 

 

 

 

Трассовое

19

Ленточное полимерно-битумное:  6)

3,0

3,0

3,0

3.6

313 (40)

- грунтовка битумно-полимерная;

- лента полимерно-битумное, толщиной не менее 1,5 мм в два слоя;

- обертка защитная полимерная, липкая, толщиной не менее 0,6 мм 7)

Трассовое

20

Ленточное полимерное с вулканизирующим слоем (адгезивом) 9)

1,2

1,2

1,2

1,8

313 (40)

- грунтовка полимерная вулканизирующая;

- лента изоляционная полимерная с вулканизирующим слоем, толщиной не менее 0,6 мм в один или два слоя;

- обертка защитная полимерная липкая, толщиной не менее 0,6 мм в один слой

2. Защитные покрытия нормального типа

Трассовое

21

Ленточное:

1,2 для всех диаметров труб не более 820 мм

303 (30)

- грунтовка полимерная или битумно-полимерная;

- лента изоляционная полимерная, липкая в один или два слоя, общей толщиной не менее 0,7 мм;

- обертка защитная полимерная, толщиной не менее 0,5 мм.

Трассовое

22

Ленточное полимерно-битумное:

2,0

2,0

2,0

 

313 (40)

- грунтовка битумно-полимерная;

- лента полимерно-битумная, толщиной не менее 1,5 мм;

- обертка защитная полимерная, толщиной не менее 0,5 мм

Трассовое

23

Мастичное:

4,0 для всех диаметров труб не более 820 мм

303 (30)

- грунтовка битумно-полимерная;

- мастика изоляционная на основе битумов или мастика изоляционная битумно-полимерная, толщиной не менее 2,0 мм;

- рулонный армирующий материал;

- мастика изоляционная на основе битумов или мастика изоляционная битумно-полимерная, толщиной не менее 2,0 мм;

 

- обертка защитная

 

Примечания:

1) - Для сохранности покрытий заводского или базового нанесения в период транспортировки, погрузочно-разгрузочных работ, складирования предусмотреть специальные меры в соответствии с НТД, исключающие механические повреждения.

2) - Толщина покрытий над усилением сварного шва должна быть не менее 1,5 мм для труб диаметром не выше 530 мм, не менее 2,0 - для труб диаметром не выше 820 мм и не менее 2,5 - для труб диаметром 1020 мм и выше.

3) - Для труб диаметром не более 426 мм допускается толщина 2,0 мм.

4) - Для труб диаметром более 114 мм допускается толщина 2,2 мм.

5) - Для труб 530 мм и более конструкция защитного покрытия состоит из 2-х слоев ленты и одного или двух слоев обертки.

6) - Данная конструкция допускается к применению на нефте- и нефтепродуктопроводах.

7) - Для труб диаметром 820 мм при пролегают трубопровода в мягких грунтах допускается применение покрытия без обертки по согласованию с заказчиком и Госгортехнадзором России.

8) - Под максимальной температурой эксплуатации понимается максимальная температура транспортируемого продукта.

9) - Для переизоляции газопроводов со сроком амортизации не более 10 лет.

3.39. Покрытия усиленного типа должны соответствовать требованиям, приведенным в табл. 5, нормального типа - в табл. 6.

Таблица 5

Требования к покрытиям усиленного типа

№№ п/п

Наименование показателя

Единица измерения

Метод испытания

Норма

Номер (№) конструкции покрытия по таблице 4

 

1

2

3

4

5

6

 

1.

Прочность при разрыве, не менее, при температуре:

 

 

 

 

 

- 293 К (20 °С)

МПа

ГОСТ 11262-80

12,0

1, 2, 9, 15

 

- 293 К (20 °С)

МПа

ГОСТ 11262-80

10,02)

7, 8

 

- 293 К (20 °С)

МПа

ГОСТ 14236-81

18,02)

10, 11, 16, 17, 18, 20

 

- 333 К (60 °С)

МПа

ГОСТ 11262-80

10,0

1, 2, 9, 15

 

- 353 К (80 °С)

МПа

ГОСТ 14236-81

10,02)

11, 18

 

- 383 К (100 °С)

МПа

ГОСТ 11262-80

8,02)

9, 15

 

2.

Относительное удлинение при разрыве, не менее, при температуре:

%

 

 

 

 

- 293 К (20 °С)

ГОСТ 11262-80

200

1, 2, 7, 8, 9, 15

 

- 233 К (минус 40 °С)

ГОСТ 11262-80

100

1, 2, 7, 8, 9, 15

 

- 293 К (20 °С)

ГОСТ 14236-81

200

10, 11, 16, 17, 18, 20

 

- 233 К (минус 40 °С)

ГОСТ 14236-81

100

10, 11, 16, 17

 

- 293 К (20 °С)

ГОСТ 18299-72

5

5

 

3.

Изменение относительного удлинения при разрыве, после выдержки при 383 К (110 °С) в течение 2400 час.

%

 

253)

1, 2, 7, 8, 9, 10, 11, 15, 16, 17, 18, 20

 

4.

Температура хрупкости, не выше

К (°С)

ГОСТ 16783-71

213(-60)8)

10, 11, 15, 16, 17, 18, 20

 

5.

Морозостойкость мастичного слоя, не выше

К (°С)

ГОСТ 2678-94

253 (-20)

7, 12, 19

263 (-10)

13, 14

6.

Стойкость к растрескиванию при температуре 323 К (50 °С), не менее

час.

ГОСТ 13518-68

1000

Для покрытий с толщиной полиолефинового слоя не менее 1 мм: (1, 2, 7, 8, 9, 15)

7.

Стойкость к воздействию УФ-радиации в потоке 600 кВт×час/м при температуре 323 К (50 °С), не менее

час.

ГОСТ 16337-77

500

1, 2, 7, 8, 9, 10, 11

 

8.

Прочность при ударе, не менее, при температуре:

 

 

 

Для всех покрытий заводского нанесения (кроме 1, 2), для труб диаметром:

 

- от 233 К (минус 40 °С) до 313 К (40 °С)

Дж

ГОСТ 25812-83

10,0

1020 мм и выше;

 

8,0

630-820 мм;

 

6,0

325-530 мм;

 

4,0

до 273 мм.

 

4,0

Для всех покрытий трассового нанесения

 

- 293 К (20 °С)

5,0

1, 2 (для труб диаметром до 1220 мм)

 

9.

Адгезия в нахлесте при температуре 293 К (20 °С), не менее:

Н/см

ГОСТ 25812-83

 

 

 

- ленты к ленте

7,04)

10, 11, 16, 17, 18, 19

 

 

35,0

9, 15, 20

 

- обертки к ленте

5,04)

10, 11, 16, 17, 18, 19

 

- слоя экструдированного полиолефина к ленте

15,0

8 (для труб диаметром 530 мм и выше)

 

10.

Адгезия к стали, не менее, при температуре:

 

 

 

 

 

- 293 К (20 °С)

Н/см

ГОСТ 411-77 (Метод Б)

70,0

1, 2, (для труб диаметром 1020 мм)

 

- 293 К (20 °С)

Н/см

ГОСТ 411-77 (Метод Б)

50,0

1, 2 (для труб диаметром 820-1020 мм)

 

- 293 К (20 °С)

Н/см

ГОСТ 411-77 (Метод Б)

35,0

1, 2, 9, 15

 

- 293 К (20 °С)

Балл

ГОСТ 15140-78

1

5

 

- 293 К (20 °С)

Н/см

ГОСТ 25812-83 или ГОСТ 411-77 (Метод А)

20,0

8, 10, 11, 16, 17, 18

 

- 293 К (20 °С)

Н/см

ГОСТ 25812-83

ГОСТ 411-77 (Метод А)

25,0

20

 

- 293 К (20 °С)

МПа/м2

ГОСТ 25812-83

0,2

12, 13

 

- 293 К (20 °С)

МПа/м2

ГОСТ 14759-69

0,1

7, 14, 19

 

- 313 К (40 °С)

Н/см

ГОСТ 411-77 (Метод Б)

20,0

1, 2, 9, 15, 20

 

-313К (40 °С)

Н/см

ГОСТ 411-77 (Метод А)

10,0

8, 10, 16, 17

 

- 333 К (60 °С)

Н/см

ГОСТ 411-77 (Метод Б)

9,0

1, 2, (для труб диаметром до 1020 мм

 

- 333 К (60 °С)

Н/см

ГОСТ 411-77 (Метод Б)

9,0

9, 15

 

- 353 К (80°С)

Н/см

ГОСТ 411-77 (Метод А)

1,5

11, 18

 

-258 К (минус 15°С)

МПа/м2

ГОСТ 14759-69

0,2

7, 14, 19

 

11.

Адгезия к стали (не менее) после выдержки в воде 1000 час при температуре:

 

 

 

 

 

- 293 К (20 °С)

Н/см

ГОСТ 411-77 (Метод Б)

35,0

1, 2, 20 (для труб диаметром 820-1020 мм)

 

- 293 К (20 °С)

Н/см

ГОСТ 411-77 (Метод Б)

30,0

1, 2, 9, 15, 20

 

- 293 К (20 °С)

Н/см

ГОСТ 411-77 (Метод А)

15,0

10, 11, 16, 17, 18

 

- 313 К (40 °С)

Н/см

ГОСТ 411-77 (Метод Б)

35,0

1, 2, (для труб диаметром 820-1020 мм)

 

 

- 313 К(40 °С)

Н/см

ГОСТ 411-77 (Метод Б)

30,0

1, 2, 9, 15

 

- 313 К (40 °С)

Н/см

ГОСТ 411-77 (Метод А)

15,0

8, 10, 16, 17

 

- 353 К (50 °С)

Балл

ГОСТ 15140-78

1

5

 

- 333 К (60 °С)

Н/см

ГОСТ 411-77 (Метод Б)

35,0

1, 2 (для труб диаметром 820-1020 мм)

 

- 333 К (60 °С)

Н/см

ГОСТ 411-77 (Метод Б)

30,0

1, 2, 9, 15

 

- 371 К (98°С)

Н/см

ГОСТ 411-77 (Метод А)

15,0

11, 18

 

12.

Адгезия к стали после выдержки на воздухе 1000 час при температуре 373 К (100 °С), не менее

Н/см

ГОСТ 411-77 (Метод А)

20,0

8, 10, 11, 15, 17, 18

 

13.

Грибостойкость, не менее

Балл

ГОСТ 9048-9050, 9052

2

Для всех покрытий усиленного типа

 

14.

Площадь отслаивания покрытия при катодной поляризации, не более, при температуре:

 

 

 

 

 

- 293 К (20 °С)

см2

Аналогично ASTMG-8

5,0

Для всех покрытий труб диаметром до 1020 мм

 

5,0

9, 15

 

- 293 К (40 °С)

см2

10,0

Для всех покрытий труб диаметром до 1020 мм

 

10,0

9, 15

 

- 333 К (60 °С)

см2

15,0

Для всех покрытий труб диаметром до 1020 мм

 

15,0

9, 15

 

- 353 К (80 °С)

см2

20,0

11, 18

 

- 353 К (80 °С)

см2

8,0

4, 5

 

15.

Сопротивление изоляции на законченных строительством и засыпанных участках трубопровода при температуре выше 273 К (0 °С), не менее

Ом×м2

ГОСТ 25812-83

3×105

1, 2, 9, 15, 20

 

1×105

5, 7, 8, 11, 14, 16, 17, 18

 

5×104

12, 13, 19

16.

Диэлектрическая сплошность. Отсутствие пробоя при электрическом напряжении

кВ/мм

 

5

Все покрытия, кроме 5, 6

 

17.

Водопоглощение ленты или обертки в течение 1000 часов при температуре 293 К (20 °С), не более

%

ГОСТ 4650-80

0,5

8, 10, 11, 16, 17, 18, 20

 

Примечания:

1) - Показатели свойств замеряют при температуре 293 К (20 °С), если специально не оговорено другое.

2) - Прочности при разрыве комбинированных покрытий, лент и защитных оберток (в МПа) относят только к толщине несущей полимерной основы, без учета толщины мастичного или каучукового подклеивающего слоя. При этом прочность при разрыве, отнесенная к общей толщине ленты изоляционной должна быть не менее 50 Н/см ширины, а защитной обертки - не менее 80 Н/см ширины.

3) - Показатель применяют только для покрытий на основе полиолефинов. Для других полимеров - по соответствующим НДТ.

4) - До 01.01. 1999 г. настоящий показатель для лент допускается принимать 5 Н/см, а для оберток - 3 Н/см.

5) - По согласованию с заказчиком и потребителем допускается балл 3.

6) - Сопротивление изоляции для всех видов покрытий не должно уменьшаться более, чем в 3 раза через 10 лет и более, чем в 8 раз через 20 лет эксплуатации.

7) - Адгезия к трубе перед засыпкой трубопровода допускается при температуре окружающего воздуха до 273 К (0 °С) 7,5 Н/см, а выше 273 К (0 °С) - 10,0 Н/см.

8) - По согласованию с заказчиком для поливинилхлоридной (ПВХ) допускается температура хрупкости 253 К (минус 20 °С).

Таблица 6

Требования к покрытиям нормального типа

№№ п/п

Наименование показателя 1)

Единица измерения

Метод испытаний

Норма

1

2

3

4

5

1.

Прочность при разрыве, не менее

Н/см

ГОСТ 14236-81

 

- обертки

70

- ленты изоляционной

50

2.

Относительное удлинение при разрыве ленты, обертки, не менее

%

 

1002)

3.

Изменение относительного удлинения при разрыве ленты, обертки, после выдержки при температуре 373 К (100 °С) в воде в течение 1000 час., не более

%

ГОСТ 14236-81

102)

4.

Адгезия к стали, не менее, для покрытий:

 

 

 

- ленточных

Н/см

ГОСТ 25812-83

ГОСТ 411-77 (Метод А)

10,04)

- мастичных

МПа

ГОСТ 25812-83

0,2

5.

Грибостойкость

Балл

ГОСТ 9048-9050, 9052

23)

6.

Водопоглощение ленты и обертки, не более, в течение 1000 час. при температуре 293 К (20 °С)

%

ГОСТ 4650-80

0,5

7.

Сопротивление изоляции на законченных строительством участках трубопровода при температуре выше 273 К (0 °С), не менее

Ом×м2

ГОСТ 25820-83

5×104

8.

Диэлектрическая сплошность. Отсутствие пробоя электрическим током при напряжении

кВ/мм толщины

-

5

9.

Площадь отслаивания покрытия при катодной поляризации, не более, при температуре 293 К (20 °С)

см2

ASTMG-8

10

10.

Температура хранения, не выше

К (°С)

ГОСТ 16783-71

253 К (-20 °С)

Примечания:

1) - Характеристики замеряют при температуре 293 К (20 °С), если не оговаривается другое.

2) - Показатель относится к покрытиям на основе полиолефинам и ПВХ, для других полимеров согласно соответствующей НТД.

3) - По согласованию с заказчиком и потребителем допускается балл 3.

4) - Адгезия к стали лент на основе поливинилхлорида должна быть не менее 5 Н/см ширины.

5) - Сопротивление изоляции для всех видов покрытий не должно уменьшаться более, чем в 3 раза через 10 лет и более, чем в 8 раз через 20 лет эксплуатации.

3.40. Для защиты внутренней поверхности трубопроводов применяется покрытия, приведенные в таблице 6а.

Таблица 6а

Типы внутренних защитных покрытий

Условия нанесения покрытия

Тип защитного покрытия

Кол-во слоев

Суммарная толщина покрытия m

Степень агрессивности транспортируемой среды 1)

1

2

3

4

5

Базовое

Лакокрасочные покрытия на основе двухкомпонентных эпоксидных, модифицированных эпоксидных и фенольных материалов, содержащих растворитель

2-5

125-300

1, 2, 4

Базовое

Лакокрасочные покрытия на основе двухкомпонентных эпоксидных, модифицированных эпоксидных материалов:

 

300-500

1, 2, 3

- с высоким (> 70 %) содержанием сухого остатка;

1-2

- не содержащих, растворитель

1

Базовое

Порошковые покрытия на основе полимерных эпоксидных и модифицированных эпоксидных материалов, наносимых по жидкой адгезионной грунтовке (праймеру)

1 (праймер)

300-500

1, 2, 3, 4

1 (порошок)

Базовое

Стеклоэмалевые покрытия:

 

 

 

- безгрунтовое

1

300

1, 2, 3

- покровное

2

400

1, 2, 3, 4

Примечания:

1). Согласно РД 39-0147103-362-86 "Руководство по применению антикоррозионных мероприятий при составлении проектов обустройства и реконструкции объектов нефтяных месторождений" среды по степени агрессивного воздействия на трубопроводы и оборудование нефтепромыслов подразделяются на: 1 - неагрессивные; 2 - слабоагрессивные; 3 - среднеагрессивные; 4 - сильноагрессивные.

2). Для сильноагрессивных сред (4) применяются покрытия только на основе фенольных смол.

При проектировании средств защиты от коррозии внутренней поверхности стальных трубопроводов необходимо руководствоваться требованиями нормативной документации, разработанной и утвержденной в установленном порядке.

4. ОБЕСПЕЧЕНИЕ НЕОБХОДИМОГО УРОВНЯ НАДЕЖНОСТИ И БЕЗОПАСНОСТИ

4.1. Необходимый уровень конструктивной надежности промысловых трубопроводов обеспечивается путем категорирования трубопроводов и их участков в зависимости от назначения и определения коэффициентов надежности, характеризующих назначения и условия работы трубопроводов, применяемые для трубопроводов материалы и действующие на них нагрузки.

4.2. Промысловые трубопроводы и их участки подразделяются на категории, которые определяются их назначением и характеризуются объемом неразрушающего контроля сварных соединений и величиной испытательного давления, приведенными в разделах 16, 25.

Категории трубопроводов и их участков должны приниматься по табл. 7 и 8.

Таблица 7

Категории трубопроводов в зависимости от их назначения

№№ п/п

Назначение трубопроводов

Категория трубопроводов

1

2

3

1.

Матанолопроводы и трубопроводы, транспортирующие вредные среды, трубопроводы, транспортирующие среды с парциальным давлением сероводорода более 300 Па

Трубопроводы нестабильного конденсата I и II классов, ингибиторопроводы, газопроводы-шлейфы I и II классов, газовые и межпромысловые коллекторы, газопроводы I класса, нефтегазопроводы I класса с газовым фактором 300 м3/т и более, трубопроводы систем заводнения, транспортирующие пластовые и сточные воды с давлением 10 МПа и более, трубопроводы систем увеличения нефтеотдачи пластов с давлением 10 МПа и выше

II

2.

Выкидные трубопроводы нефтяных скважин, нефтегазопроводы I класса с газовым фактором менее 300 м3/т, II класса с газовым фактором 300 м3/т и более, газопроводы II и III классов, трубопроводы нестабильного конденсата III класса, газопроводы-шлейфы III класса, трубопроводы систем заводнения, транспортирующих пресную воду с давлением 10 МПа и более, транспортирующих пластовые и сточные воды с давлением менее 10 Мпа, нефтепроводы I класса

Трубопроводы нестабильного конденсата IV класса, газопроводы-шлейфы IV класса, нефтегазопроводы II класса с газовым фактором менее 300 м3/т и III класса независимо от газового фактора, нефтепроводы II и III классов, трубопроводы систем заводнения, транспортирующие пресную воду с давлением менее 10 Мпа

III

Примечания:

1. Трубопроводы, прокладываемые по территории распространения вечномерзлых грунтов, теряющих при оттаивании несущую способность (с относительной просадочностью более 0,1) должны приниматься не ниже II категории.

2. Для трубопроводов, транспортирующих среды с парциальным давлением сероводорода 300 Па и менее, категория назначается также как для трубопроводов со средами, не содержащими сероводорода.


Таблица 8

Категории участков трубопроводов

№№ п/п

Наименование участков трубопроводов

Категории участков

метанолопроводов, трубопроводов, транспортирующих вредные вещества (кроме транспортирующих вещества с содержанием H2S

газопроводов и трубопроводов нестабильного конденсата для транспортировки сероводородосодержащих продуктов

газопроводов и трубопроводов нестабильного конденсата для транспорта бессернистых продуктов

выкидных трубопроводов нефтяных скважин, нефтегазопроводов, конденсатопроводов стабильного конденсата для транспорта как бессернистых, так и сероводородсодержащих продуктов

Трубопроводов систем заводнения при Рп > 10 Мпа

при категории трубопроводов

II

II

II

III

II

III

III

1

2

3

4

5

6

7

8

9

 

Переходы через водные преграды

 

 

 

 

 

 

 

1.1.

Судоходные и несудоходные шириной зеркала воды в межень 25 м и более в русловой части и прибрежные участки длиной не менее 25 м каждый (от среднемеженного горизонта воды), трубопроводы, прокладываемые способом наклонно-направленного бурения

I

I

-

II

I

II

II

1.2.

Несудоходные шириной зеркала воды в межень до 25 м в русловой части, оросительные и деривационные каналы

I

-

-

II

-

II

-

1.3.

Горные потоки (реки) при подземной прокладке и поймы рек по горизонту высоких вод 10 % обеспеченности

-

-

-

II

-

II

-

1.4.

Участки протяженностью 1000 м от границ горизонта высоких вод 10 % обеспеченности

-

-

-

-

-

II

-

2.

Переходы через болота

-

-

 

 

 

 

 

2.1.

Тип II

-

-

-

II

-

II

-

2.2.

Тип III

I

-

-

II

-

II

II

3.

Переходы через железные и автомобильные дороги

 

 

 

 

 

 

 

3.1.

Железные дороги колеи 1524 мм общей сети (на перегонах), включая участки по обе стороны дороги длиной 65 м каждый от осей крайних путей, но не менее 50 м от подошвы насыпи земляного полотна дороги и автомобильные дороги общего пользования 1-а, 1-6, II, III категорий, включая участки длиной не менее 25 м каждый по обе стороны дороги от подошвы насыпи или бровки выемки земляного полотна дороги

I

I

I

I

I

I

I

3.2.

Железные дороги промышленных предприятий колеи 1524 мм (внешние, внутренние железнодорожные пути), включая участки по обе стороны дороги длиной 50 м каждый от осей крайних путей и автомобильные дороги общего пользования IV, V категорий, внутренние площадочные автодороги промышленных предприятий, дороги I-л, II-л, III-л, IV-л категорий, внутрихозяйственные автодороги I-c категории, включая участки по обе стороны дороги длиной 25 м каждый от подошвы насыпи или бровки выемки земляного полотна дороги

-

-

-

II

-

-

-

4.

Трубопроводы, прокладываемые в слабо связанных барханных песках в условиях пустынь; участки газопроводов, примыкающие к площадкам скважин на расстоянии 150 м от ограждения; газопроводы на длине 250 м от линейной запорной арматуры и гребенок подводных переходов и узлы подключения трубопровода к межпромысловому коллектору и примыкающие к ним участки длиной не менее 15 м в каждую сторону от границ монтажного узла и участки между охранными кранами УКПГ, КС, ДКС, ГС, ПХГ

-

-

-

II

-

-

-

5.

Трубопроводы, прокладываемые по поливным и орошаемым землям хлопковых и рисовых плантаций

I

-

-

II

-

II

-

6.

Переходы через селевые потоки, конусы выносов и солончаковые грунты и нефтепроводы, нефтегазопроводы, конденсатопроводы, выкидные трубопроводы нефтяных скважин, прокладываемые параллельно рекам с зеркалом воды в межень 25 м и более, каналам, озерам и другим водоемам, имеющим рыбохозяйственное значение, а также выше населенных пунктов и промышленных предприятий на расстояние от них до:

-

-

-

-

-

II

-

300 м - при диаметре труб 700 мм и менее

500 м - при диаметре труб до 1000 мм включительно;

1000 м - при диаметре труб более 1000 мм

7.

2 Узлы запуска и приема очистных устройств, а также участки трубопроводов по 100 м, примыкающие к ним; трубопроводы, прокладываемые по подрабатываемым территориям, подверженным карстовым явлениям; трубопроводы на участках подхода к НС, НПС, ГПЗ в пределах 250 м от ограждения и узлы линейной запорной арматуры

-

-

-

II

-

II

-

8.

Пересечения с подземными коммуникациями (канализационными коллекторами, нефтепроводами, нефтегазопроводами, конденсатопроводами, газопроводами, силовыми кабелями и кабелями связи, подземными, наземными и надземными оросительными системами и т.п.) в пределах 20 м по обе стороны пересекаемой коммуникации

-

-

-

II

-

II

II

9.

Пересечения с воздушными линиями электропередачи высокого напряжения

в соответствии с требованиями ПУЭ

10.

Трубопроводы ввода - вывода, транзитные трубопроводы

I

I

I

I

-

-

-

11.

Трубопроводы обвязки куста скважин

I

I

I

I

-

-

-

Примечание:

1. Тип болот следует принимать в соответствии со справочным приложением 5.

2. Действующие трубопроводы, находящиеся в удовлетворительном техническом состоянии (по заключению представителей заказчика строящегося трубопровода, эксплуатирующей организации и соответствующего органа государственного надзора), при пересечении их проектируемыми трубопроводами, линиями электропередачи, а также подземными коммуникациями, указанными в позиции 8 не подлежат замене трубопроводами более высокой категории.

3. Действующие трубопроводы, пересекаемыми строящими железными и автомобильными дорогами подлежат реконструкции в соответствии с позицией 3 таблицы.

4. Категорию участков трубопроводов, прокладываемых в поймах рек, подлежащих затоплению водохранилищем, следует принимать как для переходов через судоходные водные преграды.

5. При небольшой продолжительности подтопления паводковыми водами (менее 20 дней) и незначительной глубине этого подтопления, позволяющей оперативное проведение аварийно-восстановительных работ на трубопроводах в случае их повреждения, выполнение требований позиций 1.3 и 1.4 для газопроводов на поймах не обязательно.

6. В местах пересечения трубопроводов с ВЛ 110 кВ и более должна предусматриваться только подземная прокладка под углом не менее 60°.


4.3. Значения коэффициентов надежности по назначению трубопроводов (yn) и коэффициентов условий работы трубопровода (yc) должны приниматься по табл. 9 и 10.

Таблица 9

Значения коэффициентов надежности по назначению трубопровода

Диаметр трубопровода условный, мм

Давление, МПа

Pn < 7,5

7,5 < Pn < 10

10 < Pn < 15

15 < Pn < 20

20 < Pn < 32

1

2

3

4

5

6

300 и менее

1,00

1,00

1,00

1,00

1,05

400 - 500

1,00

1,00

1,00

1,05

1,10

600 - 700

1,00

1,00

1,05

1,10

1,15

800- 1000

1,00

1,05

1,10

1,15

-

1200

1,05

1,10

1,15

-

-

1400

1,10*

1,15*

-

-

-

* только для газопроводов

Таблица 10

Значения коэффициентов условий работы трубопровода

Категория трубопровода и его участка

Коэффициент условий работы трубопровода, ус

1

2

I

0,6

II

0,75

III

0,90

4.4. Значения коэффициентов надежности по материалу (ym) и по нагрузке (yf) должны приниматься по табл. 11 и 12.

Таблица 11

Значения коэффициентов надежности по материалу

№№ п/п

Характеристика труб

Коэффициент надежности по материалу ym

1

2

3

1.

Сварные, изготовленные из низколегированных сталей двухсторонней электродуговой сваркой под флюсом по сплошному технологическому шву и прошедшие 100 %-ный контроль на сплошность основного металла и сварных соединений неразрушающими методами;

Сварные, изготовленные из спокойных сталей с содержанием в химсоставе углерода не более 0,10 % и серы не более 0,006 % сваркой токами высокой частоты с автоматическим контролем параметров нагрева и сварки кромок, термической обработкой сварного соединения, основной металл и сварные соединения которых прошли 100 %-ный контроль неразрушающими методами;

Бесшовные, изготовленные из катаной или кованой заготовки, прошедшие 100 %-ный контроль на сплошность металла неразрушающими методами

1,34

 

2.

Сварные, изготовленные из низколегированной стали двухсторонней электродуговой сваркой под флюсом по сплошному технологическому, шву и прошедшие 100 %-ный контроль сварных соединений неразрушающими методами;

Сварные, изготовленные из спокойных сталей с содержанием углерода не более 0,10 % и серы не более 0,010 % электроконтактной сваркой токами высокой частоты с автоматическим контролем параметров нагрева и сварки кромок, сварные соединения которых термически обработаны и прошли 100 %-ный контроль неразрушающими методами;

Бесшовные, изготовленные из непрерывнолитой заготовки, прошедшие 100 %-ный контроль металла неразрушающими методами

1,40

 

3.

Сварные, изготовленные из низколегированной или углеродистой стали двухсторонней электродуговой сваркой и прошедшие 100 %-ный контроль сварных соединений неразрушающими методами;

Сварные, изготовленные из спокойных и полуспокойных сталей электроконтактной сваркой токами высокой частоты, сварные соединения которых термически обработаны и прошли 100 %-ный контроль неразрушающими методами;

Бесшовные, изготовленные из слитка и прошедшие 100 %-ный контроль металла неразрушающими методами

1,47

 

4.

Сварные, изготовленные из спокойных и полуспокойных сталей двухсторонней электродуговой сваркой и прошедшие контроль сварных соединений неразрушающими методами;

Сварные, изготовленные из спокойных и полуспокойных сталей электроконтактной сваркой, сварные соединения которых термообработаны;

Бесшовные, прошедшие выборочный контроль металла неразрушающими методами

1,55

Примечания:

1. Минусовой допуск по толщине стенки для всех труб по п. 1 и сварных труб по п. 2 не должен превышать 5 % от номинальной толщины стенки.

2. Допускается применять коэффициенты 1,34 вместо 1,40; 1,40 вместо 1,47 и 1,47 вместо 1,55 для труб, изготовленных двухсторонней электродуговой или высокочастотной сваркой, до 12 мм при использовании специальных технологий производства, позволяющих получить качество труб, соответствующее данному коэффициенту ym.

Таблица 12

Значения коэффициентов надежности по нагрузке

Нагрузки и воздействия

Способ прокладки трубопроводов

Коэффициент надежности по нагрузке yf

вид

Характеристика

подземный

надземный

1

2

3

4

5

Постоянные

Собственный вес трубопровода, арматуры и обустройств

+

+

1,1 (0,95)

Вес изоляции

+

+

1,2

Вес давления грунта (засыпки, насыпи)

+

-

1,2 (0,8)

Предварительное напряжение трубопровода (упругий изгиб по заданному профилю, предварительная растяжка компенсаторов и др.) и гидростатическое давление воды

+

+

1,0

Временные длительные

Внутреннее давление транспортируемой среды:

 

 

 

газообразной

+

+

1,1

жидкой

+

+

1,15

Вес транспортируемой среды:

 

 

 

газообразной

+

+

1,1 (1,0)

жидкой

+

+

1,0 (0,95)

Температурный перепад металла стенок трубопровода

+

+

1,1

Неравномерные деформации грунта, не сопровождающиеся изменением его структуры (осадки, пучения и др.)

+

+

1,5

Кратковременные

Снеговая

-

+

1,4

Гололедная

-

+

1,3

Ветровая

-

+

1,2

Транспортирование отдельных секций, сооружение трубопроводов, испытание и пропуск очистных устройств

+

+

1,0

Особые

Сейсмические воздействия

+

+

1,0

Нарушения технологического процесса, временные неисправности или поломки оборудования

+

+

1,0

Неравномерные деформации грунта, сопровождающиеся изменением его структуры (селевые потоки и оползни; деформации земной поверхности в районах горных выработок и карстовых районах; деформации просадочных грунтов при замачивании или вечномерзлых при оттаивании и др.)

+

+

1,0

Примечание:

1. Знак "+" означает, что нагрузки и воздействия следует учитывать, знак "-" - не учитывать.

2. Значения коэффициентов надежности по нагрузке указанные в скобках, должны приниматься в тех случаях, когда уменьшение нагрузки ухудшает условия работы трубопровода.

3. Когда по условиям испытания или эксплуатации в трубопроводах, транспортирующих газообразные среды, возможно полное или частичное заполнение внутренней полости их водой или конденсатом, а в трубопроводах, транспортирующих жидкие среды - попадания воздуха или опорожнение их, необходимо учитывать изменение нагрузки от веса среды.

4.5. Безопасность в районах прохождения промысловых трубопроводов обеспечивается расположением их на соответствующих расстояниях от объектов инфраструктуры.

4.6. Расстояния от оси подземных трубопроводов до зданий, сооружений и других инженерных сетей должны приниматься в зависимости от класса и диаметра трубопровода, транспортируемого продукта, назначения объектов и степени обеспечения их безопасности, но не менее значений, приведенных в табл. 13.

При необходимости размещения трубопроводов нефти, нефтепродуктов и сжиженных газов на отметках земли выше зданий и сооружений при прохождении их вблизи этих объектов к приведенным в табл. 13 минимальным расстояниям, исходя из местных условий и норм технологического проектирования, должны быть предусмотрены дополнительные проектные решения по обеспечению безопасности объектов, в том числе за счет: увеличения минимальных расстояний, установки дополнительных запорных устройств с дистанционным управлением, отключающих их в случае утечек продукта, заключения трубопровода в футляр и пр.

Таблица 13


Объекты, здания и сооружения

Минимальные расстояния

газопроводы

нефте- и продуктопроводы

класса

1

П

Ш

1

П

Ш

условным диаметром, мм

300 и менее

свыше 300 до 600

свыше 600 до 800

свыше 800 до 1400

300 и менее

свыше 300 до 600

свыше 600 до 800

свыше 800 до 1400

300 и менее

свыше 300 до 600

свыше 600 до 800

свыше 800 до 1400

300 и менее

свыше 300 до 1400

свыше 700 до 1200

свыше 300 до 700

300 и менее

1

2

3

4

5

6

7

8

9

10

11

12

13

14

15

16

17

18

1. Города и др. населенные пункты, коллективные сады с садовыми домиками, дачные поселки, отдельные промышленные и сельскохозяйственные предприятия. тепличные комбинаты и хозяйства, птицефабрики, молокозаводы, карьеры разработки полезных ископаемых, гаражи и открытые стоянки для автомобилей индивидуальных владельцев при количестве машин более 20; отдельно стоящие здания с массовым скоплением людей (больницы, школы, клубы, детские сады, ясли, вокзалы и т. д.); жилые здания в три этажа и более; железнодорожные станции, аэропорты и пристани, гидроэлектростанции, гидротехнические сооружения морского и речного транспорта I-IV классов, очистные сооружения и насосные станции водопроводные, не относящиеся к промыслу; мосты железных дорог общей сети и автомобильных дорог I и II категорий с отверстием свыше 20 м (при прокладке нефтепроводов и нефтепродуктопроводов ниже мостов по течению); склады легковоспламеняющихся жидкостей и газов с объемом хранения свыше 1000 м3, автозаправочные станции; мачты (башни) и сооружения многоканальной радиорелейной линии технологической связи трубопроводов, мачты (башни) и сооружения многоканальной радиорелейной линии связи Министерства связи РФ и других ведомств, а также телевизионные башни

200
400

250
600

300
700

350
800

150
300

200
400

250
500

300
600

100
200

150
250

200
300

250
400

75
150

125
200

150

100

75

2 Железные дороги общей сети (на перегонах) и автодороги I, II, III категории, параллельно которым прокладывается трубопровод; отдельностоящие жилые здания в один и два этажа, садовые домики коллективных садов, дачи, дома линейных обходчиков, животноводческие фермы, огороженные карты для организованного выпаса скота, полевые станы, кладбища

100
250

150
300

200
400

250
500

75
200

125
250

150
300

200
400

75
150

100
200

125
250

150
300

75
100

100
150

50

40

30

3. Отдельно стоящие нежилые и подсобные строения, гаражи и открытые стоянки для автомобилей при количестве машин 20 и менее; автомобильные дороги общего пользования IV, V категории, подъездные автомобильные дороги, а также автомобильные дороги от жилых поселков или вахтенных комплексов промысла; межплощадочные автомобильные дороги технологически не связанных с промыслом предприятий; железные дороги промышленных предприятий и канализационные сооружения

75
150

125
200

150
300

200
400

50
100

75
150

100
200

150
250

30
50

50
75

75
100

100
200

20
50

50
75

30

20

20

4. Территории УКПГ, УППГ, КС, ДКС, ГС, ПХГ, СП и других технологических установок подготовки нефти и газа

100
150

150
200

200
250

250
300

75
75

125
125

150
150

200
200

75
75

100
100

125
125

150
150

75
75

125
125

50

30

30

5. Устья одной или куста бурящихся и эксплуатирующихся нефтяных, газовых и артезианских скважин

50
50

100
100

100
100

100
100

50
50

100
100

100
100

100
100

30
30

50
50

50
50

50
50

15
15

15
15

50

30

30

6. Мосты железных дорог промышленных предприятий, автомобильных дорог III, IV, V, III-п и IV-п категорий с отверстием свыше 20 м (при прокладки нефтепроводов и нефтепродуктопроводов ниже мостов по течению)

100
150

150
200

200
300

250
400

75
100

125
150

150
200

200
250

75
100

100
150

125
200

150
250

75
100

125
150

100

70

50

7. Магистральные оросительные каналы и коллекторы, реки и водоемы, водозаборные сооружения и станции оросительных систем, параллельно которым прокладывается газопровод

50
100

100
150

125
200

150
250

25
75

50
100

75
100

100
150

25
40

25
60

50
80

75
100

25
40

25
60

100

70

50

8 Специальные предприятия. сооружения, площадка, охраняемые зоны, склады взрывчатых и взрывоопасных веществ, карьеры полезных ископаемых. добыча на которых производится с применением взрывных работ, склады сжиженных горючих газов

По согласованию с заинтересованными организациями и соответствующими органами Госнадзора

9. Воздушные линии электропередачи высокого напряжения, параллельно которым прокладывается трубопровод, пересечения трассы трубопровода с ЛЭП; опоры воздушных линий электропередачи высокого напряжения при пересечении их трубопроводом, открытые и закрытые трансформаторные подстанции и закрытые распределительные устройства напряжением 35 кВ и более

В соответствии с требованиями ПУЭ, утвержденными Минтопэнерго РФ

10. Территории ГРС, АГРС, в том числе шкафного типа, предназначенных для обеспечения газом:

 

 

 

 

 

 

 

 

 

 

 

 

 

 

 

 

 

а) городов, населенных пунктов, предприятий, отдельных зданий, сооружений и других потребителей;

75
100

100
150

125
200

150
250

70
75

75
100

100
125

125
150

50
50

75
75

100
100

125
125

50
50

50
75

25

25

25

б) объектов промыслов и газопроводов (пунктов замера расхода газа, групповых сборных пунктов, ЦПС и т.п.)

25
25

25
25

25
25

25
25

25
25

25
25

25
25

25
25

25
25

25
25

25
25

25
25

25
25

25
25

15

10

10

11. Закрытые подземные емкости для хранения и разгазирования конденсата при узлах пуска и приема очистных устройств, кроме изготавливаемых из труб конденсатоприемников, входящих в состав узлов, для которых расстояние определяется конструктивно

75
75

75
75

75
100

100
150

50
50

50
75

50
75

75
100

50
50

50
50

50
75

75
100

30
50

30
50

15

10

10

12. Земляной амбар для аварийного выпуска нефти и конденсата (продукта) из трубопровода.

75
75

75
75

75
100

100
150

50
50

75
75

75
75

75
100

50
50

50
50

50
75

75
100

50
50

50
50

15

10

10

13. Кабели междугородной связи и силовые электрические кабели

10
10

10
10

10
10

15
15

10
10

10
10

10
10

10
10

10
10

10
10

10
10

10
10

10
10

10
10

10

10

10

14. Мачты (башни) и сооружения необслуживаемой малоканальной радиорелейной связи трубопроводов, термоэлектрогенераторы

15
15

15
15

15
15

15
15

15
15

15
15

15
15

15
15

15
15

15
15

15
15

15
15

15
15

15
15

15

15

15

15. Необслуживаемые усилительные пункты кабельной связи в подземных термокамерах

10
10

10
10

10
10

15
15

10
10

10
10

10
10

10
10

10
10

10
10

10
10

10
10

10
10

10
10

10

10

10

16. Притрассовые дороги, предназначенные только для обслуживания трубопроводов

Не менее 10 метров во всех случаях

17. Замерные сепарационные установки, нефтяные насосные станции, газозамерные газорегулировочные пункты, установки предварительного сброса пластовой воды и др.

50
50

50
50

75
75

75
75

30
30

30
30

50
50

50
50

20
20

20
20

30
30

30
30

5
5

9
9

5

5

5

18. Резервуарные парки для нефти, канализационные насосные станции

50
50

50
50

75
75

75
75

30
30

30
30

50
50

50
50

20
20

20
20

30
30

30
30

9
9

15
15

10

8

5

19. Насосные станции водоснабжения, очистные сооружения, кустовые насосные станции для поддержания пластового давления, градирни, котельные и др. вспомогательные и производственные здания категории Д

50
50

50
50

75
75

100
100

30
30

40
40

50
50

75
7
5

20
20

20
20

30
30

30
30

10
10

10
10

30

30

30

20. Открытые емкости для парафина, нефтеловушки, отстойные пруды и др.

40
40

40
40

50
50

50
50

30
30

30
30

40
40

40
40

20
20

20
20

30
30

30
30

20
20

30
30

30

20

15

21. Электростанции и распределительные устройства, предназначенные для питания:

 

 

 

 

 

 

 

 

 

 

 

 

 

 

 

 

 

1) объектов промысла:

 

 

 

 

 

 

 

 

 

 

 

 

 

 

 

 

 

а) открытых;

75
75

75
75

100
100

100
100

50
50

50
50

60
60

60
60

40
40

40
40

50
50

50
50

30
30

30
30

50

50

50

б) закрытых

40
40

40
40

50
50

50
50

25
25

25
25

30
30

30
30

20
20

20
20

25
25

25
25

15
15

15
15

25

25

25

2) объектов, не относящихся к промыслу

В соответствии с требованиями ПУЭ, утвержденными Минтопэнерго РФ

22. Подъездные железнодорожные пути (до подошвы насыпи или бромки выемки)

12
12

12
12

15
15

20
20

10
10

10
10

12
12

15
15

9
9

9
9

10
10

10
10

9
9

9
9

15

15

15

23. Подъездные внутрипромышленные дороги (IV, V категорий) и подъезды на территории нефтяного месторождения (от подошвы насыпи земляного полотна)

15
15

15
15

20
20

20
20

12
12

12
12

15
15

15
15

10
10

10
10

12
12

12
12

9
9

9
9

10

10

10

24. Вертодромы и посадочные площадки без базирования на них вертолетов

50
100

100
150

150
200

200
300

50
100

50
100

100
150

150
200

50
75

50
100

100
150

150
200

50
50

50
75

100

50

50

25. Административно-хозяйственные блоки газовых и нефтяных промыслов

100
150

150
200

200
250

250
300

75
100

125
150

150
200

200
250

75
75

100
125

125
150

150
200

50
75

25
50

20

15

10

26. Контрольный пункт телемеханики (КП) блок-бокс (киоск)

15
15

15
15

15
15

15
15

15
15

15
15

15
15

15
15

15
15

15
15

15
15

15
15

15
15

15
15

15

15

15

27. Железнодорожные сливоналивные устройства

50
50

75
75

75
75

75
75

40
40

50
50

50
50

50
50

20
20

20
20

20
20

20
20

15
15

15
15

50

30

20

28. Резервуары конденсата, гликолей, метанола, эталоминов и других горючих жидкостей

75
75

100
100

125
125

150
150

50
50

75
75

100
100

125
125

50
50

75
75

100
100

125
125

50
50

75
750

30

25

25


Примечания:

1. Расстояния, указанные над чертой, относятся к трубопроводам, транспортирующий не содержащий сероводород газ, под чертой - газ с содержанием сероводорода.

2. Расстояния, указанные в таблице должны приниматься для: городов и других населенных пунктов от проектной городской черты на расчетный срок 25 лет; промышленных предприятий - от границ отведенных им территорий, с учетом их развития; железных дорог - от подошвы насыпи или бровки выемки со стороны трубопровода, но на расстоянии не менее 10 м от границы полосы отвода дороги; автомобильных дорог - от подошвы насыпи земляного полотна; всех мостов - от подошвы конусов; отдельно стоящих зданий и строений - от ближайших выступающих их частей.

3. Минимальные расстояния от мостов с отверстием 20 м и менее железных и автомобильных дорог следует принимать такими же, как от соответствующих дорог.

4. При соответствующем обосновании допускается сокращать указанные в графах 2-17 для позиций 1-3, 5-10, 15-16, 19, 21, 24-26 расстояния от газопроводов III категории, не содержащих сероводород, (расстояния, указанные над чертой) не более, чем на 30 % при условии отнесения участков трубопроводов ко II категории и не более, чем на 50 % при повышении их категории до I.

5. Расстояния от промысловых объектов до трубопроводов, транспортирующих нестабильный конденсат, следует принимать как для трубопроводов, транспортирующих газ (графы 2-17).

6. Под отдельно стоящим зданием (строением) следует понимать здание (строение), расположенное вне населенного пункта на расстоянии не менее, чем 50 м от ближайших к нему зданий (строений).

7. При наличии между газопроводами и железной или автомобильной дорогой лесной полосы шириной не менее 10 м соответствующие расстояния допускается сокращать, но не более, чем на 30 %.

8. При надземной прокладке газопроводов расстояния, указанные в таблице, должны приниматься с коэффициентом: позиция 1 - 2,0; позиция 2 - 1,5; по остальным позициям - 1,0.

9. Минимальные расстояния от трубопроводов систем заводнения до зданий и сооружений должны приниматься в соответствии с требованиями СНиП 2.04.02-84.

10. Расстояния между устьем скважин ПХГ и месторождений и подземно прокладываемыми газопроводами-шлейфами от других скважин диаметром до 300 мм и давлением до 15 МПа включительно допускается уменьшать до 30 м, а при давлении больше 15 МПа - до 75 м при условии отнесения таких трубопроводов к категории не ниже II. Указанные расстояния могут быть сокращены на 50 % при условии отнесения участков газопроводов к категории I. При уплотненной сетке размещения скважин при обустройстве ПХГ и месторождений допускается уменьшение расстояний между устьем скважин и подземно прокладываемыми газопроводами-шлейфами до расстояний, обеспечивающих нормальные условия монтажа, ремонта и эксплуатации трубопроводов и оборудования скважин, но не менее 9 м от ограждений площадки эксплуатируемой скважины. Участки трубопроводов в границах минимально допустимых расстояний должны быть отнесены к категории I, а скважины оборудованы клапанами - отсекателями.

 

Расстояния до объектов, отсутствующих в настоящих нормах, должны приниматься по согласованию с заинтересованными организациями и соответствующими органами государственного надзора.

4.7. Расстояния между параллельными трубопроводами должны приниматься из условий обеспечения сохранности действующего при строительстве нового трубопровода, безопасности при проведении работ и надежности их в процессе эксплуатации, но не менее значений, приведенных в табл. 14. При прокладке промысловых трубопроводов параллельно магистральным нефте- и газопроводам расстояния между ними должны приниматься по СНиП 2.05.06-85*.

Таблица 14

Расстояния между трубопроводами

Способ прокладки параллельных трубопроводов

Минимальное расстояние между осями трубопроводов, м, при условном диаметре, мм

первого

второго

до 150 включительно

свыше 150 до 300 включительно

свыше 300 до 600 включительно

Свыше 600 до 1400 включительно

1

2

3

4

5

6

1. При отсутствии вечномерзлых грунтов

подземный

подземный

5

8

11

14

наземный в насыпи

наземный в насыпи

 

 

 

 

надземный на опорах

надземный на опорах

15

25

40

50

2. На вечномерзлых грунтах, теряющих при оттаивают несущую -способность

подземный

подземный

20

30

40

50

наземный в насыпи

наземный в насыпи

 

 

 

 

надземный на опорах

надземный на опорах

25

35

50

60

Примечание: При комбинированной прокладке расстояния между трубопроводами принимаются как для способа подземный - подземный.

5. ОСНОВНЫЕ ТРЕБОВАНИЯ К ТРАССАМ ТРУБОПРОВОДОВ

5.1. Выбор трассы трубопроводов должен производиться на основе вариантной оценки экономической целесообразности и экологической допустимости из нескольких возможных вариантов.

5.2. Прокладка трубопроводов по территории населенных пунктов промышленных и сельскохозяйственных предприятий не допускается.

5.3. Газопроводы должны располагаться над нефтепроводами и продуктопроводами при их пересечении.

5.4. Допускается совместная в одной траншее или на общих опорах прокладка трубопроводов одного или различного назначения.

Количество трубопроводов, укладываемых в одну траншею или на общих опорах, определяется проектом, исходя из условий надежности и безопасности эксплуатации трубопроводов и удобства выполнения строительно-монтажных и ремонтных работ.

6. КОНСТРУКТИВНЫЕ ТРЕБОВАНИЯ К ТРУБОПРОВОДАМ

6.1. Допустимые радиусы изгиба трубопроводов в горизонтальной и вертикальной плоскостях должны определяться расчетом из условия прочности, местной устойчивости стенок труб и устойчивости положения трубопровода под воздействием внутреннего давления, собственного веса и продольных сжимающих усилий, возникающих в результате изменения температуры металла труб в процессе эксплуатации. Отводы для участка трубопроводов, где предусматривается проход очистных устройств, должны иметь радиус изгиба не менее 5 de.

6.2. На трубопроводах должны предусматриваться узлы запуска и приема очистных и диагностических устройств, конструкция которых определяется проектом.

Все элементы трубопроводов в пределах одного очищаемого участка должны быть равнопроходными (трубы, линейная арматура, камера приема и запуска очистных устройств и т.п.).

6.3. Для трубопроводов, предназначенных для транспортирования продуктов, оказывающих коррозионные воздействия на металл и сварные соединения труб и арматуру, должны предусматриваться мероприятия, обеспечивающие защиту трубопроводов от коррозионного воздействия или сероводородного растрескивания.

При агрессивности среды, вызывающей внутреннюю коррозию со скоростью 0,2 мм в год и выше, должны применяться трубы с внутренним защитным покрытием.

Размещение запорной и другой арматуры

6.4. Па трубопроводах надлежит предусматривать установку запорной арматуры на расстоянии, определяемом расчетом из условия обеспечения безопасности и охраны окружающей среды, но не более (не дальше друг от друга): 15 км - для трубопроводов газа, нефти и нефтепродуктов, не содержащих сероводород; 5 км - для указанных сред, содержащих сероводород; 10 км - для трубопроводов конденсата и метанола, трубопроводов, транспортирующих пластовые и сточные воды. Кроме того, установку запорной арматуры необходимо предусматривать:

в начале каждого ответвления на расстоянии, допускающем установку монтажного узла, его ремонт и безопасную эксплуатацию:

на входе и выходе газопроводов из УКПГ, УППГ, КС, ДКС, ГС, ПХГ, ГПЗ и ПС на расстоянии от границ территории площадок не менее:

диаметром 1000 мм и более - 750 м;

диаметром менее 1000 мм до 700 мм включительно - 500 м;

диаметром менее 700 мм до 300 мм включительно - 300 м;

диаметром менее 300 мм - 100 м;

при наличии в пределах этих расстояний устройств для приема и запуска очистных, разделительных и диагностических устройств дополнительная установка запорной арматуры не обязательна;

на обоих концах перехода трубопровода через водные преграды в зависимости от рельефа трассы с каждой стороны перехода, с целью исключения поступления транспортируемого продукта в водоем, при этом установка запорной арматуры должна быть на отметках выше ГВВ 10 % обеспеченности;

на обоих концах участков нефтепроводов, нефтепродуктопроводов и конденсатопроводов проходящих на отметках выше населенных пунктов, зданий и сооружений, в т.ч. железных дорог на расстоянии, устанавливаемом проектом в зависимости от рельефа местности и необходимости обеспечения безопасности объектов;

на обоих берегах болот III типа протяженностью 500 м.

6.5. Запорная арматура, устанавливаемая на трубопроводах подключения к площадкам УКПГ, УППГ, ГС, ПХГ, ДНС, ГПЗ, ЦПС, ПС, а также нефтепроводах, нефтепродуктопроводах и конденсатопроводах I и II классов, при переходе их через водные преграды и при прокладке их выше отметок зданий и сооружений должна быть оборудована устройствами, обеспечивающими дистанционное управление и сигнализацию в случае утечек продукта.

При параллельной прокладке двух или более трубопроводов узлы линейной запорной арматуры должны быть смещены на расстояние не менее 50 м друг от друга. При соответствующем обосновании допускается уменьшение указанного расстояния, исходя из возможности монтажа, ремонта и безопасной эксплуатации.

6.6. На обоих концах участков газопроводов между запорной арматурой, узлах запуска и приема очистных устройств, узлах подключения следует предусматривать установку продувочных свечей на расстоянии не менее 15 м от запорной арматуры при диаметре газопровода до 1000 мм и не менее 50 м при диаметре газопровода 1000 мм и более. Диаметр продувочной свечи и ее высоту следует, определять на основании расчета рассеивания выбрасываемого из свечи вредного вещества при условии опорожнения участка трубопровода между запорной арматуры за время не более 2-х часов, при этом высота вытяжной свечи от уровня земли должна быть не менее 5 м, а расстояние от свечи до зданий и сооружений, не относящихся к данному трубопроводу, должно приниматься в соответствии с требованиями табл. 13. На газопроводах-шлейфах допускается продувочные свечи не устанавливать.

6.7. На обоих концах участков конденсатопроводов между запорной арматурой для аварийного сброса продукта следует предусматривать вместо продувочных свечей специальные ответвления. Каждое ответвление должно быть оснащено запорным устройством иметь длину не менее 10 м, выступать на 0,5 м над поверхностью земли и заканчиваться фланцевой заглушкой.

Подземная прокладка трубопроводов

6.8. Заглубление трубопроводов до верха трубы должно быть, не менее (м);

на непахотных землях вне постоянных проездов:

при условном диаметре менее 1000 мм                                       - 0,8;

при условном диаметре 1000 мм и более                                     - 1,0;

на пахотных и орошаемых землях                                                 - 1,0;

в скальных грунтах и болотистой местности при

отсутствии проезда автотранспорта и

сельскохозяйственных машин                                                       - 0,6;

при пересечении оросительных и осушительных каналов

от предельной глубины профиля очистки дна канала                - 1,1;

при пересечении автомобильных дорог:

от верха покрытия дороги до верхней образующей

защитного футляра                                                                         - 1,4;

от дна кювета, водоотводной канавы или дренажа до

верхней образующей защитного футляра (при размещении

дорожного полотна на нулевых отметках или в выемках)         - 0,5.

Заглубление трубопроводов, транспортирующих среды, замерзающие при отрицательной температуре, должно быть для: пресной воды - согласно СНиП 2.04.02-84; пластовых и сточных вод - в зависимости от минерализации (солености) и температуры воды, почвенных и климатических условий согласно ВНТП 3-85.

Глубина прокладки подземного трубопровода в районах вечномерзлых грунтов определяется принятым конструктивным решением, обеспечивающим надежность работы трубопровода с учетом требований охраны окружающей среды.

Прокладка трубопроводов одного или различного назначений в одной траншее допускается не более четырех трубопроводов, диаметром не более 300 мм.

6.9. Прокладка трубопроводов сжатого воздуха или газа для приборов-КИП, ингибитора коррозии и гидратообразования должна. предусматриваться в одной траншее совместно с газопроводами - шлейфами, выкидными и нефтегазосборными трубопроводами с разрывом между ними в свету не менее 0,35 м.

6.10. Ширина траншеи по дну при прокладке одного трубопровода должна назначаться в соответствии с требованиями СНиП 2.05.06-85*; при прокладке в одной траншее нескольких трубопроводов ширина ее увеличивается на величину (),

где n - количество трубопроводов, прокладываемых совместно с первым, de - диаметры трубопроводов, С - расстояния между трубопроводами.

6.11. Пересечения между трубопроводами и другими инженерными сетями должны проектироваться в соответствиями с требованиями СНиП 2.05.06-85*.

Пересечения трубопровода с линиями электропередач должны проектироваться в соответствии с требованиями ПУЭ, утвержденными Минтопэнерго РФ.

Наземная (в насыпи) прокладка трубопроводов

6.12. Наземная (в насыпи) прокладка трубопроводов должна применяться на участках трассы с резко пересеченным рельефом местности, в заболоченных местах и на участках, длительное время залитых водой.

6.13. Поперечный профиль насыпи устанавливается в зависимости от грунтов и должен быть:

по верху насыпи - не менее 1,5 de;

высотой над трубопроводом - 0,8 м;

с откосами - не менее углов естественного откоса грунта, но не менее чем 1 : 1,25.

Земляные насыпи должны выполняться с тщательным послойным уплотнением и поверхностным закреплением грунта.

6.14. При пересечении водотоков в теле насыпи должны быть предусмотрены водопропускные сооружения. Дно водопропускных сооружений и примыкающие к ним откосы насыпи должны укрепляться железобетонными плитами, камнем или одерновкой.

Надземная прокладка трубопровода

6.15. При надземной прокладке балочных систем трубопроводов допускается параллельная прокладка нескольких трубопроводов - шлейфов на одних и тех же опорах (ригелях). Расстояние в свету между рядом расположенными трубопроводами должно быть не менее 500 мм при диаметре труб до 325 мм включительно и не менее диаметра трубопровода при диаметре более 325 мм, при этом для теплоизолированных трубопроводов в качестве диаметра принимается диаметр вместе с изоляцией.

6.16. Высоту прокладки надземного трубопровода от поверхности земли до низа трубопровода следует принимать не менее 0,5 м, а в местах свободного прохода людей - 2,5 м, на путях миграции крупных животных - 3,0 м и при пересечении автомобильных дорог - по СНиП II-89-80.

Высота прокладки трубопроводов над землей на участках вечномерзлых грунтов должна назначаться из условия обеспечения вечномерзлого состояния грунта под опорами и трубопроводом.

6.17. Теплоизоляцию трубопроводов, в том числе для горючих газов, легковоспламеняющихся и горючих жидкостей, допускается выполнять из горючих воспламеняемых материалов с устройством противопожарных вставок из негорючих материалов, ширина вставки при этом должна быть не менее 0,5 м, а расстояние между вставками не более 24 м.

6.18. Конструкции опор надземных трубопроводов и методы их сооружения должны обеспечивать проектное положение трубопроводов в процессе эксплуатации. Опоры должны проектироваться из негорючих материалов.

При наличии электрохимической защиты от коррозии надземных трубопроводов на опорах должна предусматриваться электроизоляция трубопровода от опор.

6.19. В местах установки на трубопроводе арматуры необходимо предусматривать стационарные площадки для ее обслуживания. Площадки должны быть несгораемые и иметь конструкцию, исключающую скопление на них мусора и снега. Они должны быть искробезопасными.

На начальном и конечном участках перехода трубопровода от подземной к надземной прокладке необходимо предусматривать постоянные ограждения из металлической сетки высотой не менее 2,2 м.

6.20. При проектировании надземных переходов необходимо учитывать продольные перемещения трубопроводов в местах их выхода из грунта. Для уменьшения величины продольных перемещений в местах выхода трубопроводов из грунта допускается применение подземных компенсирующих устройств или устройство поворотов вблизи перехода (компенсатора - упора) с целью восприятия продольных перемещений подземного трубопровода на участке, примыкающем к переходу.

6.21. При прокладке трубопроводов через естественные препятствия расстояние от низа трубы или пролетного строения должны приниматься:

при пересечении оврагов и балок - не менее 0,5 м до уровня воды при 5 %-ной обеспеченности;

при пересечении не судоходных, не сплавных рек и больших оврагов, где возможен ледоход - не менее 0,5 м до уровня воды. при 1 %-ной обеспеченности и наивысшего горизонта ледохода;

при пересечении судоходных и сплавных рек - не менее величины, установленной нормами проектирования подмостовых габаритов на судоходных реках и основными требованиями к расположению мостов.

6.22. На переходах трубопровода над железными дорогами общей сети расстояние от низа трубы или пролетного строения до головки рельсов должны приниматься в соответствии с требованиями габарита "С" по ГОСТ 9238-83.

Расстояние в плане от крайней опоры надземного трубопровода должно быть, м, не менее:

до подошвы откоса насыпи                            5;

до бровки откоса выемки                               3;

до крайнего рельса железной дороги          10.

6.23. В местах надземных переходов трубопроводов через ручьи, овраги и другие препятствия должны предусматриваться конструктивные решения, обеспечивающие надежную защиту от тепловых и механических воздействий соседних трубопроводов при возможном разрыве на одном из них.

Прокладка трубопроводов на вечномерзлых грунтах (ВМГ)

6.24. На участках, где возможно развитие мерзлотных процессов, должны проводиться предварительные инженерные изыскания в соответствии с требованиями СНиП 1.02.07-87.

Выбор принципа использования ВМГ как оснований должен проводиться в соответствии с требованиями СНиП 2.02.04-88 с учетом мерзлотно-грунтовых условий, способа и конструктивного решения прокладки трубопровода, режима его эксплуатации, прогноза локальных и общих изменений инженерно-геокриологических условий и свойств грунтов основания и мероприятий по охране окружающей среды.

Выбранный принцип использования ВМГ, способ прокладки и конструктивные решения должны обеспечивать работоспособность и ремонтопригодность трубопроводов в течение всего периода эксплуатации.

6.25. При пересечении участков пучинистых грунтов расчет на прочность, устойчивость и деформативность должен производиться с учетом дополнительных воздействий, вызванных морозным пучением грунтов.

6.26. При прокладке, трубопроводов с использованием грунтового основания по II принципу согласно СНиП 2.02.04-88 при расчете трубопроводов на прочность и устойчивость должны учитываться дополнительные напряжения от изгиба, вызванные неравномерной осадкой основания.

6.27. Категории трубопроводов, прокладываемых на ВМГ, должны приниматься в зависимости от категории просадочности ВМГ при оттаивании и способа прокладки трубопроводов в соответствии с табл. 15.

Категории просадочности однородных грунтов должны приниматься в зависимости от относительной осадки грунта при оттаивании в соответствии с табл. 16. При отсутствии характеристики относительной осадки грунта допускается принимать категорию просадочности грунта в зависимости от величины суммарной влажности грунтов по табл. 16.

6.28. При укладке трубопроводов на косогорах с поперечным уклоном более 8° должна предусматриваться срезка или подсыпка грунта и устройство полок. При этом срезку ВМГ допускается предусматривать только на непросадочных или малопросадочных участках при отсутствии мерзлотных процессов. На участках ВМГ, где возможно развитие мерзлотных процессов, необходимо предусматривать устройство полок только путем подсыпки грунта с проведением специальных мероприятий по повышению устойчивости полок.

Прокладка трубопроводов в просадочных и пучинистых грунтах

6.29. Прокладка подземных трубопроводов в районах распространения грунтов II типа просадочности должна осуществляться с учетом требований СНиП 2.02.01-83.

Для грунтов 1 типа просадочности прокладка трубопроводов должна вестись как для непросадочных трубопроводов.

При невозможности избежать возникновения просадки основания под трубопроводами, при расчете трубопровода на прочность и устойчивость должны учитываться дополнительные напряжения от изгиба, вызванные просадкой основания.

Примечание:

Тип просадочности и величина возможной просадки грунтов должна определяться в соответствии с требованиями СНиП 2.02.01-83.

Таблица 15

Категории участков трубопроводов, прокладываемых на вечномерзлых грунтах

Характеристика трубопроводов

Категории участков

газопроводов при прокладке

нефтепроводов при прокладке

водоводов при прокладке

подземной

надземной

подземной

надземной

подземной

надземной

1

2

3

4

5

6

7

Трубопроводы, прокладываемые на ВМГ, категории просадочности

 

 

 

 

 

 

I

III

III

III

III

III

III

II

II (III)

III

II

III

II

III

III

II

III

II

III

II

III

IV

II

II

II

II

II

II

V

II

II

-

II

-

II

Примечание: В скобках указаны категории участков для одиночных "холодных" трубопроводов


Таблица 16

Категории просадочности грунтов

Наименование грунта по просадочности

Категория просадочных однородных грунтов

Относительная осадка при оттаивании

Суммарная влажность грунта, дол. ед.

Наиболее часто встречается в зоне

песок мелкозернистый

песок пылеватый, сулись легкая

сулись, суглинок, глина

торф, заторфованный грунт

1

2

3

4

5

6

7

8

Непросадочный (без ледяных включений)

I

0,00-0,01

менее 0,18

менее 0,20

менее 0,20

-

Островного распространения ВМГ

Малопросадочный (малольдистый)

II

0,01-0,10

0,18-0,25

0,20-0,40

0,20-0,40

менее 2

Островного и массивно-островного распространения

Просадочный (льдистый)

III

0,10-0,4**

более 0,25

более 0,40

0,4-1,10

2,0-12,0

Прерывистого распространения BIIT

Сильнопросадочный (сильнольдистый)

IV

0,4-0,60**

-

-

более 1,10

более 12

Сплошного распространения ВМГ

Чрезмернопросадистый (с крупными включениями подземного льда)

V

более 0,60**

-

-

более 1,10*

более 12

Сплошного распространения ВМГ

* - Влажность грунта между крупными ледяными включениями.

* - Для минерального грунта просадочность без нагрузки, для торфа - под нагрузкой 0,04 МПа.


6.30. Для уменьшения напряжения в трубопроводе при его непрерывных осадках должны предусматриваться специальные мероприятия:

устройство теплоизоляции, замена грунта, укладка трубопровода с учетом ожидаемой деформации, применение опор для фиксации положения трубопровода, применение геотекстильных материалов, охлаждение грунта или перекачиваемого продукта, прокладка по типу "труба в трубе" и др.

6.31. При пересечении участков пучинистых грунтов расчет "холодных" трубопроводов должен производиться путем определения размеров зоны промерзания вокруг трубопровода, параметров пучения в зависимости от положения фронта промерзания и оценки прочности и устойчивости трубопровода вследствие его взаимодействия с грунтом.

6.32. Для уменьшения воздействия морозного пучения на трубопроводы или на их опоры должны предусматриваться мероприятия: замена грунта, устройство компенсационных участков, техническая мелиорация грунтов, прокладка трубопроводов с учетом ожидаемых деформаций, применение противопучинистых устройств для обеспечения устойчивости положения трубопроводов.

Прокладка трубопроводов в сейсмических районах

6.33. Проектирование трубопроводов, предназначенных для прокладки в районах с сейсмичностью свыше 6 баллов для надземных и свыше 8 баллов для подземных трубопроводов, должно производиться с учетом сейсмических воздействий.

6.34. При выборе трассы трубопроводов в сейсмических районах необходимо избегать косогорные участки, участки с неустойчивыми и просадочными грунтами, территории горных выработок и активных тектонических разломов, а также участки, сейсмичность которых превышает 9 баллов.

6.35. При прохождении участка трассы с грунтами, резко отличающимися друг от друга сейсмическими свойствами необходимо предусматривать возможность свободного перемещения и деформирования трубопровода.

6.36. На участках пересечения трассой трубопровода активных тектонических разломов необходимо применять надземную прокладку.

6.37. Конструкции опор надземных трубопроводов должны обеспечивать возможность перемещений трубопроводов, возникающих во время землетрясения.

6.38. На наиболее опасных в сейсмическом отношении участках трассы должна предусматриваться автоматическая система контроля и отключения аварийных участков трубопроводов.

7. ПЕРЕХОДЫ ТРУБОПРОВОДОВ ЧЕРЕЗ ЕСТЕСТВЕННЫЕ И ИСКУССТВЕННЫЕ ПРЕГРАДЫ

Переходы трубопроводов через водные преграды и болота

7.1. Подводные переходы трубопроводов через водные преграды должны проектироваться на основании данных гидрологических, инженерно-геологических и топографических изысканий с учетом условий эксплуатации в районе строительства ранее построенных подводных переходов, существующих и проектируемых гидротехнических сооружений, влияющих на режим водной преграды в месте перехода, перспективных дноуглубительных и выправительных работ в заданном районе пересечения трубопроводом водной преграды, требований по охране рыбных ресурсов и окружающей среды.

Трубопроводы с жидкими сероводородсодержащими средами на переходах через водные преграды в русловой части рек и в границах отметок зеркала озер должны прокладываться в виде воздушного перехода в футляре, равнопрочном рабочему трубопроводу.

Примечание:

1. Проектирование переходов по материалам изысканий, срок давности которых превышает 2 года, без производства дополнительных изысканий не допускается.

2. Место перехода следует согласовывать с соответствующими бассейновыми управлениями речного флота, органами по регулированию использования и охране вод, охраны рыбных запасов и другими заинтересованными организациями.

7.2. Границы подводного перехода трубопровода, определяющими длину перехода, являются:

для многониточных переходов - участок, ограниченный запорной арматурой, установленной на берегах;

для однониточных переходов - участок, ограниченный горизонтом высоких вод (ГВВ) не ниже отметок 10 %-ной обеспеченности.

7.3. Створы переходов через реки должны выбираться на прямолинейных устойчивых плесовых участках с пологими неразмываемыми берегами русла при минимальной ширине заливаемой поймы. Створ подводного перехода следует, как правило, предусматривать перпендикулярным динамической оси потока, избегая участков, сложенных скальными грунтами. Устройство переходов на перекатах, как правило, не допускаются.

7.4. При выборе створа перехода трубопровода следует руководствоваться методом оптимального проектирования с учетом гидролого-морфологических характеристик каждого водоема и его изменений в течение срока эксплуатации подводного перехода.

При определении оптимального положения створа и профиля перехода расчет следует производить по критерию приведенных затрат с учетом требований, предъявляемых к прочности и устойчивости трубопровода и охране природы.

7.5. Прокладка подводных переходов должна предусматриваться с заглублением в дно пересекаемых водных преград. Величина заглубления устанавливается с учетом возможных деформаций русла и перспективных дноуглубительных работ.

Проектная отметка верха забалластированного трубопровода при проектировании подводных переходов должна назначаться на 0,5 м ниже прогнозируемого предельного профиля размыва русла рек, определяемого на основании инженерных изысканий с учетом возможных деформаций русла в течение 25 лет после окончания строительства перехода, но не менее 1 м от естественных отметок дна водоема.

При пересечении водных преград, дно которых сложено скальными породами, заглубление трубопровода должно приниматься не менее 0,5 м, считая от верха забалластированного трубопровода до дна водоема.

7.6. Переходы нефтепроводов и нефтепродуктопроводов через реки и каналы следует предусматривать, как правило, ниже по течению от мостов, промышленных предприятий, пристаней, речных вокзалов, гидротехнических сооружений, водозаборов и других аналогичных объектов, а также нерестилищ и мест массового обитания рыб.

При соответствующем технико-экономическом обосновании допускается располагать переходы нефтепроводов и нефтепродуктопроводов через реки и каналы выше по течению от указанных объектов на расстояниях, приведенных в табл. 13, при этом должны разрабатываться дополнительные мероприятия, обеспечивающие надежность работы и пожарную безопасность подводных переходов.

7.7. Минимальные расстояния от оси подводных переходов нефтепроводов и нефтепродуктопроводов при прокладке их ниже по течению от мостов, пристаней и других аналогичных объектов и от оси подводных переходов газопроводов до указанных объектов должны приниматься по табл. 13 как для подземной прокладки.

7.8. При пересечении водных преград расстояние между параллельными подводными трубопроводами должны назначаться исходя из инженерно-геологических и гидрологических условий, а также из условий производства работ по устройству подводных траншей, возможности укладки в них трубопроводов и сохранности трубопровода при аварии на параллельно проложенном. Минимальное расстояние между осями газопроводов, заглубляемых в дно водоема с зеркалом воды в межень шириной свыше 25 м, должны быть не менее 30 м для газопроводов диаметром 1400 мм включительно.

7.9. Минимальное расстояние между параллельными трубопроводами, прокладываемыми на пойменных участках подводного перехода, следует принимать такими же, как для линейной части трубопровода.

7.10. Подводные трубопроводы на переходах в границах ГВВ не ниже 1 % обеспеченности должны рассчитываться против всплытия в соответствии с указаниями, изложенными в разделе 8.

Если результаты расчета подтверждают возможность всплытия трубопровода, то следует предусматривать:

на русловом участке перехода - сплошные (бетонные) покрытия или специальные грузы, конструкция которых должна обеспечивать надежное их крепление к трубопроводу для укладки трубопровода способом протаскивания по дну;

на пойменных участках - одиночные грузы или закрепление трубопроводов анкерными устройствами.

7.11. Ширину подводных траншей по дну следует назначать с учетом режима водной преграды, методов их разработки, необходимости водолазного обследования и водолазных работ рядом с уложенным трубопроводом, способа укладки и условиями прокладки кабеля данного трубопровода.

Крутизну откосов подводных траншей следует назначать в соответствии с требованиями СНиП III-42-80*.

7.12. Профиль трассы трубопровода следует принимать с учетом допустимого радиуса изгиба трубопровода, рельефа русла реки и расчетной деформации (предельного профиля размыва), геологического строения дна и берегов, необходимой нагрузки и способов укладки подводного трубопровода.

7.13. Кривые искусственного гнутья в русловой части подводных переходов допускается предусматривать в особо сложных топографических и геологических условиях. Применение сварных отводов в русловой части не допускается.

Примечание:

Кривые искусственного гнутья на переходах должны располагаться за пределами прогнозируемого размыва этих участков или находится под защитой специального крепления берегов.

7.14. Запорная арматура, устанавливаемая на подводных переходах трубопроводов, согласно пункта 6.4 должна размещаться на обоих берегах на отметках не ниже отметок ГВВ 10 %-ной обеспеченности и выше отметок ледохода.

7.15. Проектом должны предусматриваться решения по укреплению берегов в местах прокладки подводного перехода и по предотвращению стока воды вдоль трубопровода (устройства нагорных канав, глиняных перемычек, струенаправляющих дамб и т.д.).

7.16. При ширине водных преград при меженном горизонте 75 м и более в местах пересечения водных преград трубопроводом должна предусматриваться прокладка резервной нитки. Для многониточных систем необходимость строительства дополнительной резервной нитки независимо от ширины водной преграды устанавливается проектом.

Примечания:

1. При ширине заливаемой поймы выше 500 м по уровню горизонта высоких вод при 10 %-ной обеспеченности и продолжительности подтопления паводковыми водами свыше 20 дней, а также при пересечении горных рек и соответствующем обосновании в проекте (например, труднодоступность для проведения ремонта) резервную нитку допускается предусматривать при пересечении водных преград шириной до 75 м и горных рек.

2. Диаметр резервной нитки определяется проектом.

3. Допускается предусматривать прокладку перехода через водную преграду шириной свыше 75 м в одну нитку при условии тщательного обоснования такого решения в проекте.

4. При необходимости транспортирования по трубопроводу вязких нефти и нефтепродуктов, временное прекращение подачи которых не допускается, следует предусматривать прокладку нефтепроводов и нефтепродуктопроводов через водные преграды шириной менее 75 м в две нитки.

7.17. При проектировании подводных переходов, прокладываемых на глубине свыше 20 м из труб диаметром 1000 мм и более должна производиться проверка устойчивости поперечного сечения трубы на воздействие гидростатического давления воды с учетом изгиба трубопровода.

7.18. Подводные переходы через реки и каналы шириной 50 м и менее допускается проектировать с учетом продольной жесткости труб, обеспечения закрепления перехода против всплытия на береговых не размываемых участках установкой грузов или анкерных устройств.

7.19. На обоих берегах судоходных и лесосплавных рек и каналов при пересечении их трубопроводами должны предусматриваться сигнальные знаки согласно "Правилам плавания по внутренним судоходным путям", утвержденным Минречфлотом РФ, и "Правилам охраны магистральных трубопроводов".

7.20. На болотах и заболоченных участках должна предусматриваться подземная прокладка трубопроводов.

Как исключение, при соответствующем обосновании, допускается укладка трубопроводов на поверхности болота в теле насыпи (наземная прокладка) или на опорах (надземная прокладка). При этом должна быть обеспечена прочность трубопровода, общая устойчивость его в продольном направлении и против всплытия, а также защита от теплового воздействия в случае разрыва одной из ниток.

7.21. При соответствующем обосновании при подземной прокладке трубопроводов через болота II и III типов длиной свыше 500 м допускается предусматривать прокладку резервной нитки.

7.22. При прокладке трубопроводов на болотах в местах поворота следует применять упругий изгиб трубопроводов. Надземную прокладку на болотах следует предусматривать в соответствии с требованиями, изложенными в разделе 6.

7.23. Участки трубопроводов, прокладываемые в подводной траншее через болота или заливаемые поймы, а также в обводненных районах, должны быть рассчитаны против всплытия (на устойчивость положения). Для обеспечения устойчивости положения следует предусматривать специальные конструкции и устройства для балластировки и закрепления.

7.24. При закреплении трубопровода анкерными устройствами лопасть анкера должна находиться в грунтах, обеспечивающих надежное закрепление анкера.

7.25. При пересечении водных преград шириной зеркала воды в межень от 30 м до 1000 м, а также водопропускных и водонакопительных сооружений мелиоративных систем, предпочтительным является способ наклонно-направленного бурения (ННБ), при условии отсутствия на дне преграды следующих геологических структур:

- гравийно-галечных грунтов (гравия и гальки 30 %);

- грунтов с включением валунов и булыжника;

- материковой прочной скалы (доломиты, базальт, диабаз, гранит и т.д.);

карстообразующих пород (без предусмотренных проектом мероприятий по исключению или стабилизации карстообразования в зоне пород, примыкающих к проложенному ННБ трубопроводу).

7.26. Проектные отметки верха трубопровода на переходе с использованием ННБ должны быть более 2 м ниже предельного профиля деформации русла и берегов, при этом прогноз деформаций должен составлять период не менее 100 лет.

7.27. Рабочие котлованы входа и выхода трубопровода при бурении наклонной скважины под преградой должны располагаться на расстоянии не менее 200 м от границ меженного уровня преграды.

7.28. При сооружении переходов "труба в трубе" и прокладке кожуха способом ННБ сооружение резервной нитки не требуется.

7.29. При параллельной прокладке двух трубопроводов через преграду способом ННБ расстояние в плане между осями этих трубопроводов должно быть не менее 10 м.

7.30. Толщина стенки труб рабочего трубопровода при строительстве с применением способа ННБ должна определяться с учетом дополнительных усилий, прикладываемых к трубопроводу при его укладке.

Переходы трубопроводов через железные и автомобильные дороги

7.31. Переходы трубопроводов через железные и автомобильные дороги должны предусматриваться в местах прохождения дорог по насыпям, либо в местах с нулевыми отметками и, в исключительных случаях при соответствующем обосновании, в выемках дорог.

Прокладка трубопровода через тело насыпи не допускается.

7.32. Участки трубопроводов, прокладываемых на переходах через железные дороги и автомобильные дороги всех категорий с усовершенствованным покрытием капитального и облегченного типов, должны предусматриваться в защитном футляре (кожухе) из стальных труб или в тоннеле, диаметр которых определяется из условия производства работ и конструкции переходов.

Концы футляра должны выводиться на расстояние:

а) при прокладке трубопроводов через железные дороги:

50 м от подошвы откоса насыпи или бровки откоса, выемки, а при наличии водоотводных сооружений - от крайнего водоотводного сооружения;

б) при прокладке трубопровода через автомобильные дороги - от бровки земляного полотна - 25 м, но не менее 2 м от подошвы насыпи.

Концы футляров, устанавливаемые на участках переходов нефтепроводов и нефтепродуктопроводов через автомобильные дороги III, III-п, IV-п, IV и V категорий, должны выводиться на 5 м от бровки земляного полотна.

Прокладка кабеля связи трубопровода на участках его перехода через железные и автомобильные дороги должна производиться в защитном футляре или отдельных трубах.

На подземных переходах газопроводов через железные и автомобильные дороги концы защитных футляров должны иметь уплотнения из диэлектрического материала.

На одном из концов футляра или тоннеля следует предусматривать вытяжную свечу высотой от уровня земли не менее 5 м на расстоянии по горизонтали, м, не менее:

от оси крайнего пути железных дорог общего назначения           40;

то же, промышленных дорог                                                            25;

от подошвы земляного полотна автомобильных дорог                 25.

7.33. Заглубление участков трубопроводов, прокладываемых под железными дорогами общей сети, должно быть не менее 2 м от подошвы рельса до верхней образующей защитного футляра, а в выемках и на нулевых отметках, кроме того, не менее 1,5 м от дна кювета, лотка или дренажа. При прокладке перехода методом прокола или горизонтального бурения - не менее 3,0 м от подошвы рельса.

Заглубление участков трубопроводов, пересекающих земляное полотно, сложенное пучинистыми грунтами, на переходах через железные дороги общей сети и промышленных предприятий колеи 1524 мм, следует определять расчетом из условий, при которых исключается влияние тепловыделений или стока тепла на равномерность морозного пучения грунта. При невозможности обеспечения заданного температурного режима за счет заглубления трубопроводов следует предусматривать другие необходимые меры.

Заглубление участков трубопроводов, прокладываемых под автомобильными дорогами всех категорий, должно приниматься не менее 1,4 м от верха покрытия дороги до верхней образующей защитного футляра, а в выемках и на нулевых отметках, кроме того, не менее 6,4 м от дна кювета, водоотводной канавы или дренажа.

7.34. Пересечение трубопроводов с рельсовыми путями электрофицированного транспорта под стрелками и крестовинами, а также в местах присоединения к рельсам отсасывающих кабелей не допускается.

Минимальное расстояние по горизонтали в свету от подземного трубопровода в местах его перехода через железные дороги общей сети должно приниматься, м:

до стрелок и крестовин железнодорожного пути и

мест присоединения отсасывающих кабелей к

рельсам электрофицированных дорог:

а) газопроводы                                                                         20;

б) прочие трубопроводы                                                         10;

до стрелок крестовин железнодорожного пути

при пучинистых грунтах                                                         20;

до труб, тоннелей и других искусственных сооружений:

а) газопроводы                                                                         100;

б) прочие трубопроводы                                                         30.

8. РАСЧЕТ ТРУБОПРОВОДОВ НА ПРОЧНОСТЬ И УСТОЙЧИВОСТЬ

8.1. Расчет трубопроводов на прочность и устойчивость должен включать определение толщин стенок труб и соединительных деталей, проведение поверочного расчета принятого конструктивного решения на неблагоприятные сочетания нагрузок и воздействий с оценкой прочности и устойчивости рассматриваемого трубопровода, включая оценку устойчивости положения (против всплытия).

Прочность и устойчивость трубопровода должна быть обеспечена также и на стадиях сооружения и испытания.

Нагрузки и воздействия

8.2. Расчетные нагрузки, воздействия и возможные сочетания необходимо применять в соответствии с требованиями СНиП 2.01.07-85.

Нагрузки и воздействия, действующие на трубопроводы, различаются на:

- силовые нагружения - внутреннее давление среды, собственный вес трубопровода, обустройств и транспортируемой среды, давление (вес) грунта, гидростатическое давление воды, снеговая, ветровая и гололедная нагрузки, нагрузки, возникающие при испытании и пропуске очистных устройств;

- деформационные нагружения - температурные воздействия, воздействия предварительного напряжения трубопровода (упругий изгиб, растяжка компенсаторов и т.д.), воздействия неравномерных деформаций грунта (морозное растрескивание, селевые потоки и оползни, деформации земной поверхности в районах горных выработок и карстовых районах, просадки, пучение, термокарстовые процессы), сейсмические воздействия.

По длительности действия нагрузки различаются на: постоянные, временные длительные, кратковременные и особые.

Коэффициенты надежности по нагрузке yf должны приниматься по табл. 12.

8.3. Нормативные нагрузки от собственного веса трубопровода, арматуры и обустройств, изоляции, от веса и давления грунта необходимо принимать в соответствии с требованиями СНиП 2.01.07-85.

Нормативное значение воздействия от предварительного напряжения трубопровода (упругий изгиб по заданному профилю, предварительная растяжка компенсаторов при надземной прокладке и др.) надлежит определять по принятому конструктивному решению трубопровода.

Нормативное значение давления транспортируемой среды устанавливается проектом.

Нормативная нагрузка от веса транспортируемой среды на единицу длины трубопровода должна определяться по формулам:

для жидкой среды

,                                              (4)

для газообразной среды

.                                              (5)

Нормативный температурный перепад в трубопроводе надлежит принимать равным разнице между максимально или минимально возможной температурой стенок трубопровода в процессе эксплуатации и наименьшей или наибольшей температурой, при которой фиксируется расчетная схема трубопровода.

Нормативная снеговая нагрузка на единицу длины горизонтальной проекции надземного трубопровода vsn должна определяться по формуле:

vsn = 0,4×10-2s(de + 2tins).                                                        (6)

Нормативная снеговая нагрузка s (Н/м2) должна приниматься по СНиП 2.01.07-85.

Нормативная нагрузка от обледенения на единицу длины надземного трубопровода vin должна определяться по формуле:

vin = 1,9×10-4tiyi(de + 2tins),                                                     (7)

где: ti (см) - толщину слоя и yi (Н/м3) - объемный вес гололеда необходимо принимать по СНиП 2.01.07-85.

Нормативная ветровая нагрузка на единицу длины надземного трубопровода wn, действующая перпендикулярно его осевой вертикальной плоскости, должна определяться по формуле:

wn = 10-2 (wstc + wdyn) (de + 2tins),                                           (8)

где статическая wstc (Н/м2) и динамическая wdyn (Н/м3) составляющие ветровой нагрузки должны определяться по СНиП 2.01.07-85, при этом значение wdyn необходимо определять как для сооружения с равномерно распределенной массой и постоянной жесткостью.

Нормативные значения нагрузок и воздействий, возникающих при транспортировании отдельных секций, при сооружении трубопровода, испытании и пропуске очистных устройств должны устанавливаться проектом в зависимости от способов производства этих работ и проведения испытаний.

Сейсмические воздействия на надземные трубопроводы должны приниматься согласно СНиП II-7-81.

Нагрузки и воздействия, вызываемые резким нарушением процесса эксплуатации, временной неисправностью и поломкой оборудования должны устанавливаться проектом в зависимости от особенностей технологического режима эксплуатации.

Нагрузки и воздействия от неравномерной деформации грунта (осадок, пучения селевых потоков, оползней, воздействий горных выработок, карстов, замачивания просадочных грунтов, оттаивания вечномерзлых грунтов и т.д.) должны определяться на основании анализа грунтовых условий и их возможного изменения в процессе эксплуатации трубопровода.

Нормативные нагрузки и коэффициенты надежности по нагрузке от подвижного состава железных и автомобильных дорог должны определяться согласно СНиП 2.05.03-84.

Определение толщин стенок труб и соединительных деталей

8.4. Расчетные толщины стенок труб и соединительных деталей должны определяться по формуле:

,                                                     (9)

где значения R определяются:

для трубопроводов, транспортирующих продукты, не содержащие сероводород

,                                              (10)

для трубопроводов, транспортирующих сероводородсодержащие продукты

.                                                                  (11)

При назначении номинальной толщины стенки труб и соединительных деталей должны учитываться временные факторы (возможность коррозионных, сейсмических и других воздействий).

Нормативные сопротивления Run и Ryn должны приниматься равными минимальным значениям соответственно временного сопротивления и предела текучести материала труб и соединительных деталей по государственным стандартам и техническим условиям на трубы и соединительные детали.

Расчетные сопротивления сварных швов, соединяющих между собой трубы и соединительные детали, выполненных любым видом сварки и прошедших контроль качества неразрушающими методами, должны приниматься равными меньшим значениям соответствующих расчетных сопротивлений соединяемых элементов.

При отсутствии этого контроля расчетные сопротивления сварных швов, соединяющих между собой трубы и соединительные детали, принимаются с понижающим коэффициентом 0,85.

Значения коэффициентов: надежности по назначению трубопроводов yn, условий работы трубопровода yc, надежности по материалу ym и надежности по нагрузке ys должны приниматься по табл. 9, 10, 11 и 12.

Значения коэффициентов условий работы трубопроводов, транспортирующих сероводородсодержащие продукты уs должны приниматься по табл. 17.

Таблица 17

Значения коэффициентов условий работы трубопроводов, транспортирующих сероводородсодержащие продукты

Категория трубопровода и его участка

Содержание сероводорода

Среднее

Низкое

1

2

3

I

0,4

0,5

II

0,5

0,6

III

0,6

0,65

Примечание:

Среднее и низкое содержание сероводорода - по ВСН 51-3-85/ВСН 51-2.38-85.

Значения коэффициентов несущей способности труб и соединительных деталей h должны приниматься:

для труб, заглушек и переходов                           - 1;

для тройниковых соединений и отводов            - ax + b,

где:

 - для тройниковых соединений,

 - для отводов.

Значения коэффициентов а и b должны приниматься: для тройниковых соединений по табл. 18, для отводов - по табл. 19.

Таблица 18

Значения коэффициентов а и b для тройниковых соединений

x

Сварные без усиливающих элементов

Бесшовные и штампосварные

а

в

а

в

от 0,00 до 0,15

0,00

1,00

0,22

1,00

от 0,15 до 0.50

1,60

0,76

0,62

0,94

от 0,50 до 1,00

0,10

1,51

0,40

1,05

Таблица 19

Значения коэффициентов а и b для отводов

x

а

b

1

2

3

от 1,0 до 2,0

-0,3

1,6

более 2,0

0,0

1,0

Для обеспечения условий поперечной (местной) устойчивости толщина стенки труб должна приниматься не менее de/140, но не менее 3 мм для труб условным диаметром до 200 мм включительно и не менее 4 мм для труб условным диаметром свыше 200 мм.

Для подземных трубопроводов, имеющих отношение t/de < 0,01, или укладываемых на глубину более 3 м или менее 0,8 м, должно соблюдаться условие:

                                         (12)

Значения n1 (MH/M) и m1 (MH) (расчетное усилие и изгибающий момент в продольном сечении трубы единичной длины) должны определяться в соответствии с правилами строительной механики с учетом отпора грунта от совместного воздействия давления грунта, нагрузок над трубой от подвижного состава железнодорожного и автомобильного транспорта, возможного вакуума и гидростатического давления грунтовых вод.

Проверка напряженного состояния и устойчивости подземных и наземных (в насыпи) трубопроводов

8.5. Поверочный расчет трубопровода на прочность должен производиться после выбора его основных размеров с учетом всех расчетных нагрузок и воздействий для всех расчетных случаев, возникающих при сооружении, испытании и эксплуатации.

8.6. Определение усилий от расчетных нагрузок и воздействий, возникающих в отдельных элементах трубопроводов, необходимо производить методами строительной механики расчета статически неопределимых стержневых систем.

8.7. Расчетная схема трубопровода должна отражать действительные условия его работы, а метод расчета - учитывать возможность использования ЭВМ.

8.8. В качестве расчетной схемы трубопровода должны рассматриваться статически неопределимые стержневые системы переменной жесткости с учетом взаимодействия трубопровода с окружающей средой. При этом коэффициенты повышения гибкости отводов и тройниковых соединений должны определяться согласно пп. 8.9. и 8.10.

8.9. Значение коэффициента повышения гибкости гнутых отводов kp должно определяться по табл. 20.

Таблица 20

Центральный угол отвода j, град.

Коэффициент повышения гибкости отвода kp

1

2

От 0 до 45

От 45 до 90

Величина  принимается по рис. 1 в зависимости от геометрического параметра отвода lb и параметра внутреннего давления для wb.

Значение параметров lb и wb должны определяться по формулам:

;                                                            (13)

.                                                      (14)

8.10. Коэффициент гибкости тройниковых соединений должен приниматься равным единице.

8.11. Арматура, расположенная на трубопроводе (краны, задвижки, обратные клапаны и т.д.), должна рассматриваться в расчетной схеме как твердое недеформируемое тело.

8.12. В каждом поперечном сечении трубопровода для номинальной толщины стенки трубы и соединительных деталей должны выполняться условия:

- в точках поперечного сечения, где фибровые продольные напряжения, определенные от расчетных нагрузок (sпр) сжимающие:

;                  (15)

- в точках поперечного сечения, где sпр растягивающие:

sпр + yf pn £                                                             (16)

Значения  должны приниматься:

- при действии всех нагрузок силового нагружения - 1,2 R;

- при совместном действии всех нагрузок силового нагружения и нагрузок деформационного нагружения (кроме сейсмических, пучения и морозобойного растрескивания) - ;

- при совместном действии всех нагрузок силового и деформационного нагружения, включая сейсмические воздействия, пучение и морозобойное растрескивание - 1,5 R.

При оценке прочности соединительных деталей должны учитываться еще и местные мембранные и изгибные напряжения, определенные от всех нагрузок силового и деформационного нагружения. Значение  в этом случае должно приниматься Run.

Для трубопроводов, транспортирующих сероводородсодержащие продукты  должно приниматься равным R по формуле (11).

8.13. Значения коэффициентов интенсификации продольных напряжений должны приниматься:

для прямой трубы - 1;

для отводов - ms*.

Рис. 1. График для определения значений коэффициента kp*

для магистральной части тройникового соединения

;                                                             (17)

для ответвления тройникового соединения ms = ms*.

Значение ms* для отводов принимается по рис. 2 в зависимости от  параметров lb и wb, определяемых формулами (13) и (14):

Значения ms* для магистральной части и ответвления тройникового соединения принимаются по рис. 2 в зависимости от параметров тройникового соединения, определяемых по формулам:

;                                                 (18)

.                                     (19)

Примечание:

При определении значений параметров магистральной части тройникового соединения l1 и w1 используются первые индексы, ответвления тройникового соединения l2 и w2 - вторые индексы.

8.14. Проверка общей устойчивости трубопроводов в продольном направлении должна производиться по условию:

S £ ус Ncr,                                                               (20)

где S - эквивалентное продольное осевое усилие, определяется от расчетных нагрузок и воздействий с учетом продольных и поперечных перемещений трубопровода;

Ncr - продольное критическое усилие определяется с учетом принятого конструктивного решения трубопровода.

8.15. Устойчивость положения (против всплытия) трубопроводов, прокладываемых на обводненных участках трассы, должна проверяться по условию:

Qact £ Qpas/Уа,                                                          (21)

где Qact - суммарная расчетная нагрузка на трубопровод, действующая вверх, включая упругий отпор при прокладке свободным изгибом;

Рис. 2. График для определения значений коэффициента ms*

Qpas - суммарная расчетная нагрузка, действующая вниз (включая собственный вес) (Н/м).

Значения коэффициента надежности устойчивого положения уа должны определяться по табл. 21.

Таблица 21

Характеристики участка трубопровода

Коэффициент надежности устойчивого положения уа

1

2

Обводненные и пойменные, за границами производства подводно-технических работ, участки трассы

1,05

Русловые участки трассы через реки шириной до 200 м по среднему меженному уровню, включая прибрежные участки в границах производства подводно-технических работ

1,10

Участки трассы через реки и водохранилища шириной свыше 200 м, а также горные реки

1,15

Проверка напряженного состояния и устойчивости надземных трубопроводов

8.16. Надземные трубопроводы должны проверяться на прочность, продольную устойчивость и выносливость при колебаниях в ветровом потоке.

8.17. Продольные усилия и изгибающие моменты в надземных трубопроводах должны определяться в соответствии с общими правилами строительной механики. При этом трубопровод рассматривается как статически-неопределимая стержневая система переменной жесткости. Коэффициенты повышения гибкости отводов и тройниковых соединений должны определяться по пп. 8.9 и 8.10.

8.18. При определении продольных усилий и изгибающих моментов в надземных трубопроводах следует учитывать изменения расчетной схемы в зависимости от метода монтажа трубопровода. Изгибающие моменты в бескомпенсаторных переходах трубопроводов необходимо определять с учетом продольно-поперечного изгиба. Расчет надземных трубопроводов должен производиться с учетом перемещений трубопровода на примыкающих подземных участках трубопроводов.

8.19. Балочные системы надземных трубопроводов должны рассчитываться с учетом трения на опорах, при этом применяется меньшее или большее из возможных значений коэффициента трения в зависимости от того, что опаснее для данного расчетного случая.

При наличии изгибающих моментов в вертикальной и горизонтальной плоскостях расчет должен производиться по их равнодействующей. В расчетах необходимо учитывать геометрическую нелинейность системы.

8.20. В каждом поперечном сечении надземного трубопровода для номинальной толщины стенки трубы и соединительных деталей должно выполняться условие (15) и (16).

Значения коэффициентов интенсификации напряжений для отводов и тройниковых соединений должны приниматься согласно п. 8.13.

8.21. При скоростях ветра, вызывающих колебание трубопровода с частотой, равной частоте собственных колебаний, необходимо производить поверочный расчет трубопроводов на резонанс.

Расчетные усилия и перемещения трубопровода при резонансе должны определяться как геометрическая сумма резонансных усилий и перемещений, а также усилий и перемещений от других видов нагрузок и воздействий, включая расчетную ветровую нагрузку, соответствующую критическому скоростному напору.

При расчете на выносливость (динамическое действие ветра) величина Ryn понижается согласно указаниям СНиП П-23-81.

8.22. Расчет оснований фундаментов и самих опор должен производиться по потере несущей способности (прочности и устойчивости положения) или непригодности к нормальной эксплуатации, связанной с разрушением их элементов или недопустимо большими деформациями опор, опорных частей, элементов пролетных строений или трубопровода.

8.23. Опоры (включая основания и фундаменты) и опорные части должны рассчитываться на передаваемые трубопроводом и вспомогательными конструкциями вертикальные и горизонтальные (продольные и поперечные) усилия и изгибающие моменты, определяемые от расчетных нагрузок и воздействий в наиболее невыгодных их сочетаниях с учетом возможных смещений опор и опорных частей в процессе эксплуатации.

При расчете опор должна учитываться глубина промерзания или оттаивания грунта, деформаций грунта (пучение и просадка), а также возможные изменения свойств грунта (в пределах восприятия нагрузок) в зависимости от времени года, температурного режима, осушения или обводнения участков, прилегающих к трассе и других условий.

8.24. Нагрузки на опоры, возникающие от воздействия ветра и от изменений длины трубопроводов под влиянием внутреннего давления и изменения температуры стенок труб, должны определяться в зависимости от принятой системы прокладки и компенсации продольных деформаций трубопроводов с учетом сопротивлений перемещениям трубопровода на опорах.

На уклонах местности и на участках со слабонесущими грунтами должны применяться системы прокладок надземных трубопроводов с неподвижными опорами, испытывающими минимальные нагрузки, например, прокладку змейкой с неподвижными опорами, расположенными в вершинах звеньев по одну сторону от воздушной оси трассы.

8.25. Нагрузки на неподвижные (мертвые) опоры надземных балочных систем трубопроводов должны приниматься равными сумме усилий, передающихся на опору от примыкающих участков трубопровода, если эти усилия направлены в одну сторону, и разности усилий, если эти усилия направлены в разные стороны. В последнем случае меньшая из нагрузок принимается с коэффициентом равным 0,8.

8.26. Продольно-подвижные и свободно-подвижные опоры балочных надземных систем трубопроводов должны рассчитываться на совместные действия вертикальной нагрузки и горизонтальных сил или расчетных перемещений (при неподвижном закреплении трубопроводов к опоре, когда его перемещение происходит за счет изгиба стойки). При определении горизонтальных усилий на неподвижные опоры необходимо принимать максимальное значение коэффициента трения.

В прямолинейных балочных системах без компенсации продольных деформаций необходимо учитывать возможное отклонение трубопровода от прямой. Возникающее в результате этого расчетное горизонтальное усилие от воздействия температуры и внутреннего давления, действующее на промежуточную опору перпендикулярно оси трубопровода, должно приниматься равным 0,01 величины максимального эквивалентного продольного усилия в трубопроводе.

Проверка прочности трубопроводов при сейсмических воздействиях

8.27. Напряжения от сейсмических воздействий в подземных трубопроводах и трубопроводах, прокладываемых в насыпи, должны определяться как результат воздействия сейсмической волны, направленной вдоль продольной оси трубопровода.

Величина этих напряжений должна определяться по формуле:

                                                    (22)

Значения коэффициентов mo, ko и kп должны приниматься по табл. 22, 23 и 24.

Значения величин сейсмического ускорения ас и скорости распространения продольной сейсмической волны ср должны приниматься по табл. 25 и 22.

Значение величины преобладающего периода сейсмических колебаний грунтового массива То должны определяться при изысканиях.

Таблица 22

Значения коэффициентов защемления трубопровода в грунте mo и скоростей распространения продольной сейсмической волны ср

Грунты

Коэффициент защемления трубопровода в грунте mo

Скорость распространения продольной сейсмической волны ср, м/с

1

2

3

Насыпные, рыхлые пески, супеси, суглинки и другие, кроме водонасыщенных

0,50

120

Песчаные маловлажные

0,50

150

Песчаные средней влажности

0,45

250

Песчаные водонасыщенные

0,45

350

Супеси и суглинки

0,60

300

Глинистые влажные, пластичные

0,35

500

Глинистые, полутвердые и твердые

0,70

2000

Лесс и лессовидные

0,50

400

Торф

0,20

100

Низкотемпературные мерзлые (песчаные, глинистые, насыпные)

1,00

2200

Высокотемпературные мерзлые (песчаные, глинистые, насыпные)

1.00

1500

Гравий, щебень и галечник

См. примеч. 2

1100

Известняки, сланцы, песчаники (слабовыветренные и сильно выветренные)

То же

1500

Скальные породы (монолиты)

То же

2200

Примечание:

1. В таблице приведены наименьшие значения ср, которые следует уточнять при изысканиях.

2. Значения коэффициентов защемления трубопровода следует принимать по грунту засыпки.

Таблица 23

Значения коэффициентов степени ответственности трубопровода ko

Характеристика трубопровода

ko

1

2

Газопроводы I и II класса, нефте,- продуктопроводы I класса

1,5

Газопроводы III класса, нефте,- продуктопроводы II класса

1,2

Газопроводы IV класса, нефте,- продуктопроводы III класса

1,0

Примечание: При сейсмичности 9 баллов и выше, коэффициент kо для трубопроводов, указанных в поз. 1, умножается дополнительно на коэффициент 1,5.

Таблица 24

Значения коэффициентов повторяемости землетрясений kп

Повторяемость землетрясений 1 раз

в 100 лет

в 1000 лет

в 10 000 лет

Коэффициент повторяемости kп

1,15

1.0

0,9

Таблица 25

Значения расчетных сейсмических ускорений ас

Сила землетрясения, баллы

7

8

9

10

Сейсмическое ускорение, м/сек2

1,0

2,0

4,0

8,0

8.28. При совместном действии всех нагрузок силового и деформационного нагружения, включая сейсмическое воздействие, напряжение от которого определяется по формуле (22), величина  в условиях (15) - (16) должна удовлетворять условию  £ 1,5 R.

8.29. Расчет надземных трубопроводов на сейсмические воздействия должен производиться согласно требованиям СНиП II-7-81, с оценкой прочности по условиям (15) - (16).

Определение несущей способности анкерных устройств

8.30. Расчетная несущая способность анкерного устройства должна определяться по формуле:

Аа = куса ра.                                                   (23)

Коэффициент условий работы анкерного устройства должен приниматься 1,0 при к = 1 или к ³ 2 и de/da ³ 3; а при к ³ 2 и 1 £ de/da £ 3:

.

Расчетная несущая способность анкера, из условия несущей способности грунта основания, должна определяться по формуле:

,                                                                        (24)

где фа - несущая способность анкера (Н), должна определяться расчетом или по результатам полевых испытаний, согласно СНиП 2.02.03-85;

уmа - коэффициент надежности анкера, принимаемый равным 1,4, при определении несущей способности анкера расчетом или 1,25, при определении несущей способности анкера по результатам полевых испытаний статической нагрузкой.

9. ОСНОВНЫЕ ТРЕБОВАНИЯ ПО ОХРАНЕ ОКРУЖАЮЩЕЙ СРЕДЫ

9.1. Выбор трассы, конструктивных, технологических и природоохранных решений, прокладка трубопроводов должны осуществляться в строгом соответствии с Законом РФ "Об охране окружающей природной среды", иными законодательными актами и нормативными документами в этой области, в т.ч.: "Руководством по экологической экспертизе предпроектной и проектной документации", "Указаниями к экологическому обоснованию хозяйственной и иной деятельности в прединвестиционной и проектной документации" (Минприрода России, 1993 и 1994 г.г.), "Пособием по составлению раздела проекта "Охрана окружающей природной среды" к СП 11-101-95, требованиям настоящей "Инструкции" и действующими отраслевыми нормативными документами по данному вопросу.

9.2. Каждый проект должен содержать раздел "Охрана окружающей среды" с оценкой воздействия на окружающую среду (ОВОС), ОВОС проводится для природных компонентов (геологическая среда, вода, воздух, почва, растительность, животный мир) и природных комплексов (ландшафтов) в полосе, равной по ширине зоне влияния трубопровода, но не меньше чем 3 км по обе стороны осевой линии трубопровода.

В ОВОС обязательна оценка ареалов опасных природных процессов, существующих до начала сооружения и прогнозируемых на первый и пятнадцатый год эксплуатации.

9.3. ОВОС и проект природоохранных мероприятий, включая рекультивации, осуществляется в объемах соответствующих табл. 26.

Таблица 26

Стадии проектирования трубопровода

Состав графических документов

Масштаб графических документов

Технико-экономическое обоснование

Современное состояние природных компонентов (по видам компонентов) - рекомендуемые

1 : 500000 - на всю трассу

Прогнозное состояние природных компонентов (по видам компонентов) - рекомендуемые

1 : 5000 до 1 : 100000 на участки трассы с повышенным экологическим риском

Современное и прогнозируемое состояние окружающей среды - обязательные

Экологический риск и опасные природные процессы - обязательные

Природоохранные мероприятия обязательные

Проект

Определяются на основании выполнения ОВОС на стадии ТЭО

9.4. ОВОС проводится в объемах, достаточных для проведения оценки экологического риска, связанного с возможностью нанесения ущербов жизни и здоровью населения (риск катастрофических следствий аварий); редким и исчезающим видам животных и растений (риск утраты генофонда); природным ресурсам, утрачиваемым или уменьшаемым вследствие деструкции природных систем или загрязнения окружающей природной среды при сооружении и эксплуатации промысловых трубопроводов.

Объемы ОВОС должны обеспечивать сравнение вариантов природоохранных решений по признаку эффективности предотвращения или стабилизации природных процессов, неблагоприятным для традиционного природопользования или снижающих техническую надежность трубопроводов.

9.5. Проектные решения по охране окружающей природной среды должны обеспечивать возможность сохранения существующего и потенциально достижимого до начала сооружения трубопровода уровня доходности нарушаемых угодий, а также локализацию и уменьшение активности опасных природных процессов до уровня, не превышающего указанного в табл. 27.

Таблица 27

Опасный природный процесс

Недопустимый уровень активности процесса

1

2

Термоэрозия

Удлинение линейных форм более чем на 2 м/год

Водная эрозия

Удлинение линейных форм более чем на 1 м/год

Солифлюкция

Сплывание грунтов со склона более чем на 1 м/год

Оползневые и обвальные

Полное исключение

Ветровая эрозия (дефляция)

Превышение площади раздува 50 м2

Обводнение

Полное исключение

Подтопление и заболачивание

Подъем среднего экологически значимого уровня почвенных вод (верховодки) более чем на 0,2 м

Абразия

Скорость абразивного разрушения берегов на подводных переходах более чем 1 м/год

Другие опасные природные процессы

В зависимости от связанного с их активацией экологического риска, определяемого при выполнении ОВОС

9.6. В состав природоохранных мероприятий должны входить проектные решения по:

инженерным рекультивациям (по всей трассе);

специальным инженерным рекультивациям (на участках трассы с опасными природными процессами);

земляным рекультивациям (на участках трассы в пределах сельхозугодий в соответствии с ГОСТ 17.5.3.05-84; ГОСТ 17.4.3.02-85; ГОСТ 17.5.3.06-85);

охране поверхностных и подземных вод от загрязнения;

биологическим рекультивациям (по всей трассе, за исключением участков трассы в пределах сельскохозяйственных угодий);

экологической маркировке (по всей трассе - на период строительства, по особо важным участкам - на период эксплуатации);

экологическому мониторингу.

9.7. Инженерные рекультивации должны быть запроектированы и проведены, чтобы выполнение основных видов строительно-монтажных работ позволяло бы избежать возникновения опасных природных процессов вне ареалов, существовавших до начала строительства.

9.8. Специальные инженерные рекультивации должны быть запроектированы и проведены так, чтобы активизация или возникновение опасных природных процессов были бы исключены или минимизированы в пределах прогнозируемых при проведении ОВОС ареалов нарушенности.

9.9. Земельные рекультивации должны быть запроектированы и проведены так, чтобы обеспечивалось восстановление плодородия земель сельскохозяйственных угодий, существовавшее до начала строительства.

9.10. Биологические рекультивации должны быть запроектированы и осуществлены так, чтобы рекультивированные участки обладали после рекультивации свойствами самовосстановления.

9.11. Экологическая маркировка (экологическая разметка трассы) должна быть запроектирована и проведена так, чтобы при осуществлении строительных работ могли быть выявлены особо важные экологические объекты: участки, нуждающиеся в рекультивациях различных типов. Маркировка особо важных экологических объектов должна предусматриваться проектом и на период строительства.

9.12. Экологический мониторинг должен быть запроектирован и осуществлен так, чтобы ареалы опасных природных процессов могли быть выявлены в начале теплового периода каждого года эксплуатации с подробностью, достаточной для оперативного проектирования мероприятий по предотвращению таких процессов; могла быть проверена эффективность биологических рекультиваций в первые три года эксплуатации.

10. ЗАЩИТА ТРУБОПРОВОДОВ ОТ КОРРОЗИИ

10.1. При проектировании средств защиты стальных трубопроводов (подземных, наземных, надземных и подводных с заглублением в дно) от подземной и атмосферной коррозии следует руководствоваться требованиями ГОСТ 25812-83 нормативными документами, утвержденными в установленном порядке, и приведенными ниже требованиями.

Защита внутренней поверхности труб от коррозионного воздействия перекачиваемого продукта осуществляется в соответствии с п. 3.40.

10.2. Противокоррозионная защита независимо от способа прокладки трубопроводов должна обеспечивать их нормальную работу в течение эксплуатационного срока.

Допускается не применять электрохимическую защиту если защитные покрытия обеспечивают надежную эксплуатацию в течение всего срока службы.

Защита трубопроводов от подземной коррозии защитными покрытиями

10.3. Трубопроводы (включая крановые узлы, тройники и др.) должны быть изолированы по всей наружной поверхности изоляционными покрытиями в соответствии с ГОСТ 25812-83. Подготовка траншеи и засыпка трубопровода грунтом должна вестись способом, исключающим повреждение изоляции, что устанавливается искателями повреждений.

10.4. Изоляционные покрытия законченных строительством подземных участков трубопроводов должна иметь сопротивление не ниже 104 Ом×м2. Контроль этой величины должен производиться катодной поляризацией по методике ГОСТ 25812-83.

10.5. В зависимости от конкретных условий прокладки и эксплуатации трубопроводов должны применяться два типа защитных покрытий:

усиленный и нормальный.

Усиленный тип защитных покрытий должен применяться на участках трубопроводов I и II категорий всех диаметров, на трубопроводах диаметром 820 мм и более, а также на трубопроводах любого диаметра, прокладываемых:

в засоленных почвах любого района страны (солончаковых, солонцах, солодях, сорах и др.);

в болотистых, заболоченных, черноземных и поливных почвах, а также на участках перспективного обводнения или орошения; на подводных переходах и в поймах рек, а также на переходах через железные и автомобильные дороги, и на расстоянии в обе стороны от переходов в соответствии с табл. 13;

на пересечении с различными трубопроводами, включая по 20 м в обе стороны от места пересечения;

на участках промышленных и бытовых стоков, свалок мусора и шлака;

на участках блуждающих токов источников постоянного тока;

на участках трубопроводов с температурой транспортируемого продукта 330 К (30 °С) и выше;

на участках нефтепроводов, нефтепродуктопроводов, прокладываемых на расстоянии менее 1000 м от рек, каналов, озер, водохранилищ, а также от границ населенных пунктов и промышленных предприятий;

на территориях КС, ГРС, НС, УКПГ, УЗРГ и на расстоянии от них в соответствии с табл. 13.

Во всех остальных случаях применяются защитные покрытия нормального типа.

Защита надземных трубопроводов от атмосферной коррозии

10.6. Трубопроводы при надземной прокладке должны защищаться от атмосферной коррозии лакокрасочными, металлическими покрытиями, или покрытиями из консистентных смазок.

10.7. Лакокрасочные покрытия должны иметь общую толщину не менее 0,2 мм и сплошность - не менее 1 кВ на толщину.

Контроль лакокрасочных покрытий следует производить: по толщине толщиномером типа МТ-41НЦ или МТ-33Н, а по сплошности - искровым дефектоскопом типа ЛКД-1м или типа "Крона-1P".

10.8. Консистентные смазки следует применять в районах с температурой воздуха не ниже минус 60 °С на участках с температурой эксплуатации трубопроводов не выше плюс 40 °С.

Покрытие из консистентной смазки должно содержать 20 % (весовых) алюминиевой пудры ПАК-3 или ПАК-4 и иметь толщину в пределах 0,2-0,5 мм.

10.9. Противокоррозионная защита опор и других металлических конструкций надземных трубопроводов должна выполняться в соответствии с требованиями СНиП 3.04.03-85.

Электрохимическая защита трубопроводов от подземной коррозии

10.10. На трубопроводе должны быть обеспечены по всей его внешней поверхности и непрерывно во времени поляризационные потенциалы более отрицательные чем регламентированный ГОСТ 25812-83 минимальный защитный потенциал, но более положительные чем максимальный защитный потенциал, установленный тем же стандартом.

10.11. Проект электрохимической защиты трубопроводов должен учитывать развитие промысла, изменение технологического назначения промысловых трубопроводов и давления в них в процессе эксплуатации.

10.12. При разработке проекта электрохимической защиты должны рассматриваться раздельно группы или отдельные сооружения: скважины или кусты скважин, многониточные системы трубопроводов и одиночные трубопроводы, площадки УКПГ и др. сосредоточенные объекты; при этом схемы защиты всех групп сооружений должны быть согласованы между собой.

10.13. При залегании на глубине до 10 м грунтов с более высоким в 2-3 раза электросопротивлением по сравнению с нижележащими слоями и при расположении скважин по сетке менее, чем 200 м должны предусматриваться глубинные анодные заземления.

При неглубоком заложении (до 20 м) анодные заземления располагаются не менее, чем на 300 м от защищаемых сооружений.

10.14. При осуществлении электрохимической защиты выкидных линий (шлейфов) точка дренажа должна находиться не менее, чем в 50 м от устья скважины. При этом сила тока защитной установки должна быть увеличена на величину защитного тока, потребляемого обсадной колонной скважин.

10.15. При совместной прокладке трубопроводов в одном коридоре они считаются электрохимически защищенными от подземной коррозии, если поляризационный потенциал находится в пределах между минимальным защитным и максимальным допустимыми потенциалами. Не допускается применять системы электрохимической защиты с обязательным уравниванием защитных потенциалов в точке дренажа на трубопроводах с различными электрическими параметрами.

10.16. Срок ввода электрохимической защиты трубопровода, находящегося в зоне действия блуждающих токов, должен быть не более одного месяца после укладки участка трубопровода, а в остальных случаях - не более трех месяцев после укладки в траншею участка трубопровода. Если испытуемая защита не может быть введена в эксплуатацию в эти сроки, то должна быть предусмотрена временная электрохимическая защита с вводом в действие в указанные выше сроки.

10.17. Система электрохимической защиты должна обеспечивать эффективную работу в течение не менее 10 лет без ее реконструкции.

10.18. На трубопроводе должна быть установлена система контроля электрохимической защиты, обеспечивающая выполнение требований п. 10.10. Все контрольно-измерительные пункты должны иметь привязку к трассе трубопровода (с точностью до 1 м) и опознавательные знаки, распознаваемые с вертолета. Эти пункты должны быть обеспечены подъездными дорогами для доступа обслуживающего персонала на автотранспорте повышенной проходимости. Контрольно-измерительные пункты должны позволять проведение проверки эффективности электрохимической защиты и состояния изоляции.

10.19. Все электрические соединения установок электрохимической защиты и средств ее контроля должны быть выполнены проводниками, сечение и изоляция которых обеспечивает их безотказную эксплуатацию в течение всего периода эксплуатации трубопровода.

10.20. Электрические соединения дренажных и контрольных проводников с трубопроводом должны выполняться таким способом, который не нарушает механических свойств трубы и обеспечивает надежную работу соединения в течение всего срока эксплуатации трубопровода.

10.21. Электрохимическая защита не должна оказывать вредного влияния на соседние подземные металлические сооружения и на окружающую среду.

Тепловая изоляция

10.22. Тепловая изоляция трубопроводов должна предусматриваться в случае необходимости:

обеспечения заданной температуры транспортируемого продукта в соответствии с нормами технологического проектирования при транспортировании его в зимних условиях (высокопарафинистая нефть, обводненная нефть, конденсат, вода и др.);

исключения пучения или осадки трубопровода;

обеспечения сохранности окружающей среды.

10.23. Необходимость проектирования тепловой изоляции определяется нормами технологического проектирования. При проектировании тепловой изоляции должны учитываться требования СНиП 2.04.14-88.

10.24. Тепловая изоляция должна обеспечивать защиту трубопроводов от тепловых потерь по всей его длине, в т.ч. в местах расположения опор, стыков, соединительных и переходных элементов и др. при различных диаметрах и способах прокладки трубопроводов.

Разрешается выполнять теплоизоляцию надземных трубопроводов из горючих материалов при условии устройства противопожарных перемычек из негорючих материалов. Для подземных трубопроводов выбор материала теплоизоляции не нормируется.

11. ОРГАНИЗАЦИОННО - ТЕХНИЧЕСКАЯ ПОДГОТОВКА СТРОИТЕЛЬСТВА ТРУБОПРОВОДОВ

11.1. Строительство трубопроводов, как правило, должно вестись поточным методом механизированными колоннами (комплексными трубопроводостроительными потоками - КТП), обеспечивающими высокую производительность и требуемое качество строительства, благодаря непрерывности производства всех видов работ в строгой технологической последовательности.

11.2. На строительстве промысловых трубопроводов небольшой протяженности могут быть применены так же последовательный и параллельный методы организации строительства.

11.3. При любом методе организации строительства с целью обеспечения требуемого качества должны строго соблюдаться технологии производства работ, предусмотренные рабочей документацией и проектом производства работ (ППР). Любое изменение в процессе строительства утвержденных технологий производства работ должно быть согласовано с заказчиком и с разработчиками рабочей документации и ППР.

11.4. Сооружение переходов через крупные естественные и искусственные препятствия следует выполнять специализированными подразделениями (бригадами) по отдельному проекту производства работ. ППР должен быть согласован с владельцем искусственного сооружения, а по естественным препятствиям - с местной администрацией или ведомством, ответственным за эксплуатацию (охрану) природного объекта.

11.5. Строительство промысловых трубопроводов рекомендуется вести по принципу гибкой технологии и организации, для чего строительный поток должен быть оснащен технологическими машинами и оснасткой, приспособленными к производству работ на трубопроводах разных диаметров.

11.6. Характеристики машин и технологической оснастки, их количество и расстановка в строительном потоке должны соответствовать диаметру трубопровода, природным условиям строительства и принятой технологии производства работ.

Для бесперебойного функционирования КТП необходимо предусматривать страховое резервирование машин и технологической оснастки.

11.7. На строительстве трубопроводов, в зависимости от диаметра труб и природных условий, используют, в основном, две схемы организации работ:

трассовую, когда отдельные трубы доставляют непосредственно на трассу, раскладывают, сваривают в плети, изолируют и укладывают;

базовую, когда трубы изолируют (теплоизолируют) в базовых условиях, сваривают в двух-, трехтрубные секции на трубосварочной базе, вывозят на трассу, сваривают в плети, изолируют стыки и укладывают.

Схему работ следует выбирать на основе технико-экономического расчета.

11.8. В состав типового КТП входят:

бригада по расчистке строительной полосы от леса;

бригада по планировке строительной полосы, снятию плодородного слоя почвы;

бригада по установке свайных опор;

бригада по сооружению временных дорог и технологических проездов;

бригада погрузочно-разгрузочных и транспортных работ;

бригада по сварке поворотных стыков;

бригада по базовой изоляции;

звено по гнутью труб на трубогибочной установке;

бригада по сооружению переходов;

бригада по монтажу сложных узлов;

бригада по разработке траншеи и котлованов;

бригада по заготовке грунта в карьерах;

бригада по сварке неповоротных стыков;

бригада по изоляции трубопровода;

бригада по теплоизоляции трубопровода;

бригада по укладке и балластировке;

бригада по монтажу углов поворота и захлестов;

бригада производственного контроля качества работ;

бригада по засыпке и рекультивации;

бригада по монтажу средств электрохимзащиты;

бригада по очистке полости и испытанию трубопровода.

11.9. При сооружении трубопроводов следует применять, преимущественно, индустриальные методы монтажа: использование труб и деталей с заводским (или базовым) антикоррозионным и теплоизоляционным покрытием; труб с заводским бетонным (балластирующим или защитным) покрытием, укрупненных узлов (модулей, блоков) запорной арматуры укрупненных узлов сбора газа (нефти) и т.п.

11.10. Все строительно-монтажные машины и технологическая оснастка, применяемые при сооружении трубопроводов, должны выбираться с учетом обеспечения сохранности при производстве работ как самих труб, так и нанесенных на них покрытий (антикоррозионных, теплоизоляционных, защитных, балластирующих).

11.11. Проект производства работ (ППР) на строительство трубопроводов параллельно действующим и на пересечениях с ними должен предусматривать меры, предотвращающие повреждения действующих трубопроводов.

11.12. Линейные (трассовые) работы по сооружению трубопроводов на вечномерзлых грунтах должны осуществляться в зимнее время с использованием грунтов в качестве оснований в соответствии со СНиП П-18-76. В летний период, при потере несущей способности деятельного слоя грунта, выполняются внетрассовые работы:

транспортировка труб, грузов и оборудования по автодорогам и водным путем на временные пионерные базы;

заготовка грунта в карьерах;

сварка труб в секции и изоляция на стационарных базах;

изготовление и изоляция гнутых и сварных отводов;

сборка, изоляция и испытания укрупненных линейных крановых узлов, узлов сбора газа и нефти и других конструкций;

ремонт и подготовка строительной техники и автотранспорта к работе в зимних условиях.

12. ПОДГОТОВИТЕЛЬНЫЕ РАБОТЫ НА ОБЪЕКТАХ

12.1. Подготовительные работы на объекте разделяются на трассовые и внетрассовые подготовительные работы.

12.2. Внетрассовые подготовительные работы включают устройство вертолетных площадок и причалов, обустройство временных жилых городков, строительство временных дорог, монтаж сварочно-изоляционных баз и ремонтных мастерских, создание текущих, страховых и сезонных запасов труб и других материалов, а также выполнение работ в базовых условиях.

12.3. Обустройство временных жилых городков, баз сварки, изоляции, технического обслуживания, а также их инженерное обеспечение осуществляются в соответствии с ПОС и ППР.

12.4. Сварочные и изоляционные базы, как правило, должны располагаться вблизи пунктов разгрузки труб, а при наличии ограничений по вывозке секций непосредственно на трассе.

12.5. Площадки для приема вертолетов должны устраиваться при жилых городках, сварочно-изоляционных базах, около строительных площадок (переходы рек, узлы подключения КС и НС), по трассе трубопровода согласно проекту организации строительства.

12.6. Взлетно-посадочные площадки для вертолетов должны сооружаться в соответствии с требованиями СНиП 32-03-96.

12.7. Причалы должны быть приспособлены для приемки поступающих на строительство техники и материалов водным путем. Конструкция и технология сооружения причалов должны устанавливаться проектом.

12.8. Формирование текущих и страховых запасов материальных ресурсов должно быть увязано с графиком строительства.

12.9. Сезонные запасы материальных ресурсов создаются в районах с ограниченным периодом функционирования транспортной системы. Размеры сезонных запасов должны обеспечивать выполнение заданных объемов работ в период перерыва в поставках.

12.10. Для хранения наиболее объемных строительных грузов - труб, трубных секций и железобетонных пригрузов - должны устраиваться временные, на период строительства, склады, которые располагаются в пунктах разгрузки (станционные, причальные), при сварочно-изоляционных базах (базовые), в различных точках трассы (трассовые склады). Количество и местоположение различных видов складов должны быть обоснованы транспортной схемой в составе проекта организации строительства.

12.11. Для транспортировки материалов должна быть использована преимущественно существующая дорожная сеть, а в необходимых случаях построены временные дороги.

12.12. В зимний период для подъезда к строительным площадкам должны быть оборудованы зимние и ледовые дороги, ледовые переправы в соответствии с транспортной схемой.

Строительная организация должна разработать (своими силами или по договору) документацию на временные дороги с указанием объемов работ, технологии работ, используемых конструкций и правил эксплуатации.

12.13. Подготовительные работы, выполняемые в базовых условиях, включают следующие работы:

сварку труб в секции на трубосварочных базах и заготовку крановых узлов;

изоляцию труб, секций, трубной арматуры и деталей;

гидро- и теплоизоляцию одиночных труб, секций труб, криволинейных вставок, фитингов, деталей крановых узлов и т.п.;

холодное гнутье труб, изготовление укрупненных конструкций трубных блоков, свайных опор, ригелей, вмораживаемых анкеров, балластных конструкций и т.п.

12.14. Трассовые подготовительные работы включают:

разбивку и закрепление пикетажа, детальную геодезическую разбивку горизонтальных и вертикальных углов поворота, разметку строительной полосы, выноску пикетов за ее пределы;

расчистку строительной полосы от леса и кустарника;

снятие плодородного слоя земли;

планировку строительной полосы, уборку валунов;

осушение строительной полосы, ее промораживание или защиту от промерзания в зависимости от грунтовых условий;

строительство временных дорог и технологических проездов;

устройство защитных ограждений, обеспечивающих безопасность производства работ.

12.15. После планировки строительной полосы знаки разбивки оси трассы должны быть восстановлены.

12.16. Осушение строительной полосы и площадей должно осуществляться путем:

устройства боковых, отводных, нагорных и дренажных канав;

строительства водопропускных и водоотводных сооружений, которые служат для отвода поверхностных вод;

строительства подземного дренажного трубопровода;

устройства вертикальных иглофильтров.

На участках с плывунными грунтами через каждые 50-60 м по створу будущей траншеи должны устраиваться водопонизительные колодцы глубиной по 3,5-4 м для откачки из них воды.

Методы осушения должны быть указаны в проекте.

12.17. К расчистке трассы от леса приступают только при наличии лесопорубочных билетов. Расчистка трассы от леса и кустарника должна быть выполнена в границах строительной полосы.

12.18. Расчистка леса для прокладки временных дорог производится в границах, установленных проектом. Для минимизации масштабов лесорубки следует максимально использовать существующие лесовозные дороги и просеки.

12.19. При геодезическом закреплении трассы в вечномерзлых грунтах необходимо обозначить места с залеганием жильных и подземных льдов, участки морозного пучения и т.п. в соответствии с проектом.

Для выравнивания рельефа местности вертикальную планировку следует выполнять подсыпкой низинных мест привозным грунтом.

На участках трассы с подземными льдами и грунтами с льдистостью lв > 0,4 подсыпку выполняют с возможностью стока поверхностных вод. Для подсыпки следует применять легко уплотняемые грунты. При этом необходимо предусматривать меры, исключающие возможность фильтрации воды через подсыпку или ее основание и проникновение в зону разработки траншеи и в тело насыпи временной дороги. Уплотнение каждого слоя подсыпки производят проходом груженых грунтом автосамосвалов.

12.20. Защита строительной полосы от заноса снегом, расчистка или задержание снега осуществляется на основании данных о розе ветров и интенсивности снегопереноса.

Расчистку трассы от снега рекомендуется производить в два этапа: сначала полосы для проезда машин, развозки и раскладки труб и трубных секций, свайных опор, затем - оставшейся части строительной полосы непосредственно перед выполнением сваебойных и земляных работ.

13. СТРОИТЕЛЬСТВО ВРЕМЕННЫХ ДОРОГ И ТЕХНОЛОГИЧЕСКИХ ПРОЕЗДОВ

13.1. Тип, конструкцию и ширину проезжей части временных дорог и технологических проездов выбирают в зависимости от диаметров трубопроводов, количества одновременно укладываемых ниток, способов прокладки трубопроводов и несущей способности грунтов и наличия местных дорожностроительных материалов.

На участках с низкой несущей способностью грунтов могут быть использованы следующие конструкции:

со сборно-разборным покрытием;

лежневые;

дерево-грунтовые;

насыпные, армированные мелколесьем;

насыпные с основаниями из синтетических материалов (НСМ, ГТМ) или других аналогичных материалов;

грунтовые без покрытия;

снежно-ледовые и снежные.

13.2. Лежневые и дерево-грунтовые дороги устраивают в качестве технологических проездов вдоль трассы трубопровода для прохода строительно-монтажных колонн на болотах I и II типов.

13.3. Лежневые дороги устраивают в виде сплошного бревенчатого настила шириной 4, 6 и 8 м в зависимости от давления, оказываемого используемой техникой.

13.4. Дерево-грунтовую дорожную одежду устраивают в виде сплошного настила, из бревен диаметром 25-30 см, засыпаемого сверху грунтовой смесью.

По краям проезжей части покрытия укладывают скрепляющие прижимные бревна диаметром 18-25 см, между которыми отсыпают слой торфа толщиной 5-10 м и грунтовую смесь покрытия толщиной не менее 20-30 см.

На болотах I типа с мощностью торфяной залежи 1,5-2 м сплошной поперечный настил укладывают на продольные лежни диаметром 18-25 см.

На болотах I типа с рыхлым водонасыщенным грунтом и на болотах II типа в основании дорожной одежды устраивают дополнительный подстилающий слой из хворостяной выстилки или из поперечных лаг, на который затем укладывают продольные лежни и сплошной поперечный настил с последующей отсыпкой на него мохорастительного слоя и грунтового покрытия.

Для болот I типа с рыхлым торфяным грунтом и избыточной влажностью и для болот II типа устраивают 2-х или 3-х ярусное основание из продольно-поперечных лаг, уложенных на хворостяную выстилку.

Бревна поперечного и продольного настила транспортируют к месту производства работ с помощью трелевочного трактора.

Продольные лежни укладывают так, чтобы в одном поперечном сечении находился только один стык.

На продольные лежни раскладывают бревна поперечного настила, плотно подгоняя один к другому.

На прямых участках трассы комли поперечных бревен ориентируют в разные стороны, на кривых - в наружную сторону кривой.

Сверху над крайними продольными лежнями укладывают прижимные бревна, которые скрепляют с лежнями проволочной скруткой через 2-3 м.

Отсыпку грунта на деревянное основание ведут с послойным уплотнением.

13.5. Дороги со сборно-разборным покрытием используют в качестве транспортных подъездных путей на болотах I и II типов, на многолетнемерзлых, мелкодисперсных и сильно увлажненных грунтах.

Основным элементом дороги со сборно-разборным покрытием являются деревянные щиты или бетонные плиты. Деревянные щиты изготавливают из бревен длиной 6 м при диаметре 0,18-0,25 м. Бревна в щите укладывают в разные стороны, скрепляя их либо стяжными шпильками (нагелями), либо проволокой и связующими бревнами. Вместо деревянных щитов могут быть использованы серийно выпускаемые сборно-разборные дорожные плиты (СРДП).

Монтаж щитов и плит ведут способом "от себя".

В процессе эксплуатации дорог со сборно-разборным покрытием необходимо:

выравнивать просевший настил;

устранять перекосы;

заменять разрушенные щиты и плиты;

проверять крепежные и соединительные узлы.

После завершения эксплуатации дороги выполняют ее разборку, разъединяя крепежные узлы щитов или плит.

13.6. На переувлажненных минеральных и многолетнемерзлых грунтах, на болотах и обводненных участках могут быть сооружены грунтовые дороги без покрытия.

Если несущая способность грунта выше, чем давление от массы насыпи и транспортной нагрузки, отсыпка насыпи ведется непосредственно на материковый грунт. Если же несущая способность ниже, чем давление указанной массы и транспортной нагрузки, то устраивают искусственное основание, выполненное из деревянного настила или хворостяной выстилки, геотекстильных (ГТМ) и нетканых синтетических материалов (НСМ), резиновых матов, изготовляемых из отходов резино-технической промышленности.

Отсыпка насыпи производится с послойным разравниванием и уплотнением грунта бульдозерами и дорожными катками.

В зависимости от свойств грунта применяют различные типы дорожной одежды с прослойкой из НСМ и ГТМ.

Дорожная одежда типа I с прослойкой в основании из НСМ или ГТМ применяется для сооружения дорог и технологических проездов на болотах, состоящих из плотных малоувлажненных торфов устойчивой консистенции, а также на многолетнемерзлых грунтах (рис. 3а).

Дорожная одежда типа II (рис. 3б) может быть использована на болотах глубиной до 2 м с допустимой нагрузкой на торф не менее 0,03 МПа (0,3 кгс/см2).

Дорожная одежда типа III (рис. 3в) предназначена для сооружения технологических проездов на болотах глубиной более 4 м с допустимой нагрузкой на торф не менее 0,03 МПа (0,3 кгс/см2).

Дорожная одежда типа IV (рис. 3г) может быть применена для технологических проездов, сооружаемых на болотах с допустимой нагрузкой на торф не менее 0,01 МПа (0,1 кгс/см2).

13.7. В зимний период в условиях болот и многолетнемерзлых грунтов прокладывают временные зимние дороги и технологические проезды из снега и льда - снежно-ледовые или снежные.

Зимние дороги и проезды могут быть устроены следующими способами: снежно-уплотненные, образованные в процессе движения автотранспорта и строительных машин; снежно-ледяные, образуемые на сильно обводненных болотах, водных переправах путем естественного промерзания или путем постепенной поливки и промораживания небольших участков дороги.

Зимние дороги сооружают на поверхности земли и на снежных насыпях.

Основанием дорог на нулевых отметках является промерзший грунт. На слабых, плохо промерзающих грунтах основание дороги армируют лесными материалами, в безлесных районах - синтетическими материалами (НСМ, ГТМ).

Зимние дороги - переправы, прокладывают через водные преграды - реки, озера, водохранилища.

Простейшая конструкция ледовой переправы представляет собой переезд по естественному льду, расчищенному от снежного покрова в пределах проезжей части.

Если несущая способность естественного слоя льда недостаточна, производится послойное намораживание или принудительное промораживание глубинных стоек. Конструкция ледовой переправы, усиленной глубинными стойками, включает естественный ледяной покров и опорные ледяные стойки, которые промораживают с помощью установленных в воде двухфазных термосифонов. Термосифоны для промораживания стоек устанавливают двумя рядами вдоль переправы. Такая переправа имеет проезжую часть из трех полос движения - центральную и две боковые, которые разделены между собой рядами ледяных стоек. Расстояние между рядами и стойками в ряду - 5-7 м. Испарители термосифонов погружают в воду через пробуренные во льду лунки и частично заглубляют в донный грунт.

13.8. Зимние дороги с продленным сроком эксплуатации имеют специальные дополнительные слои, предназначенные для термоизоляции дороги сверху.

13.9. Переезд автотранспортной и гусеничной техники через действующий трубопровод допускается только в специально оборудованных местах - переездах. Места расположения и конструкции переезда определяются проектом.

Для устройства переезда через трубопровод следует выбирать сухие участки трассы, где трубопровод имеет проектное заглубление и не имеет поворотов в горизонтальной и вертикальной плоскостях.

Высота насыпи из минерального грунта над верхней образующей трубопровода должна быть не менее 1,5 м.

Грунт насыпи послойно трамбуют и уплотняют проходами гусеничной техники. Непосредственно над трубопроводом и на расстоянии до 2 м в обе стороны от него грунт утрамбовывают вручную.

Сверху на насыпь укладывают железобетонные дорожные плиты. Поперечный стык между плитами не должен находиться над трубопроводом.

Рис. 3. Дорожная одежда для временных дорог и технологических проездов, прокладываемых на болотах:

а) тип I; б) тип II; в) тип III; г) тип IV;

1 - грунтовое покрытие; 2 - насыпь; 3 - прослойка из НСМ или резинотканевых матов; 4 - торфяной слой; 5 - деревянный настил; 6 - армирующая полоса

Сооружение переездов через действующие трубопроводы должно производиться в присутствии ответственного представителя организации, эксплуатирующего трубопровод.

14. ТРАНСПОРТИРОВКА И СКЛАДИРОВАНИЕ ТРУБ

14.1. Величина заднего свеса труб и трубных секций при транспортировке не должна превышать размеров, установленных паспортом трубовозов (плетевозов).

14.2. При транспортировке труб и секций по строительной полосе расстояние от следа движения транспортного средства до бровки разработанной траншеи должно быть не менее 3 м.

14.3. Трубы и секции малых диаметров (до 219 мм) для сокращения времени погрузки-выгрузки, обеспечения сохранности покрытия, исключение провисания труб между тягачом и прицепом и повышения безопасности следует перевозить в пакетах.

14.4. Погрузочно-разгрузочные работы выполняются с использованием грузоподъемного оборудования, технические параметры которого соответствуют весу и габаритам труб и сохраняют их качество.

14.5. Полувагоны и платформы подаются под разгрузку локомотивом. Запрещается применять для перемещения вагонов тракторы, автомобили, трубоукладчики или другой нерельсовый транспорт и оборудование.

Выгрузку труб из железнодорожных вагонов следует осуществлять по двум схемам: вагон-склад-автомобиль или вагон-автомобиль.

14.6. При разгрузке и погрузке труб с изоляционным или тепловым покрытием особое внимание следует уделять сохранности покрытия. Не допускается использование канатов, цепей и других грузозахватных устройств, вызывающих повреждения покрытия. Все грузоподъемные средства (их рабочие органы) должны быть оборудованы защитными устройствами.

14.7. При разгрузке труб с покрытиями и их погрузке на транспортные средства, а также при складировании труб с помощью трубоукладчиков должны использоваться траверсы с торцевыми захватами. Для исключения повреждений торцов труб паз крюка должен быть снабжен вкладышами из мягкого материала.

14.8. При перемещении трубоукладчиком на короткие расстояния труб (секций) с наружным покрытием должны применяться мягкие полотенца или торцевые захваты с мягкими вкладышами. При этом стрела крана-трубоукладчика обшивается эластичными накладками.

14.9. При выполнении погрузочно-разгрузочных работ с обетонированными трубами следует применять торцевые захваты специальной конструкции (широкие), снижающие давление на кромки труб; коники трубовозов необходимо оборудовать эластичными подкладками.

14.10. При складировании труб запрещается:

укладывать в один штабель трубы разного диаметра;

производить укладку труб верхнего ряда до закрепления труб нижнего ряда;

складировать вместе изолированные и неизолированные трубы; укладывать трубы в наклонном положении с опиранием одной стороны труб на нижележащие трубы.

14.11. Высота штабеля труб ограничивается, исходя из условия сохранения геометрической формы сечения трубы и целостности покрытия.

14.12. Сезонное хранение труб, трубных узлов и арматуры производится с выполнением консервации, обеспечивающей их защиту от коррозии и сохранность покрытия.

14.13. При хранении труб, трубных секций, трубной арматуры и деталей их внутренняя полость должна быть защищена от засорения и загрязнения.

14.14. Складирование труб осуществляется на подготовленных площадках, на которых должны быть устроены водоотводы поверхностных вод. Во избежание попадания снега в полости труб штабели с торцов должны быть защищены щитами.

14.15. При складировании труб, имеющих покрытия места контакта труб с упорными и разделительными стойками должны быть облицованы амортизирующими материалами. Между рядами в штабеле должны быть уложены эластичные прокладки.

14.16. Для предотвращения раскатывания труб в штабеле следует использовать торцевые увязки. Кроме того, крайние трубы нижнего ряда необходимо подклинить с помощью металлического упора, облицованного резиной.

14.17. Трубы и секции, уложенные на поперечных уклонах свыше 5°, во избежание скатывания должны быть закреплены на лежках, оснащенных боковыми упорами.

14.18. Складирование обетонированных труб диаметром до 720 мм производят в 4 яруса, а свыше 720 мм - в 3 яруса.

14.19. Раскладка по трассе изолированных и теплоизолированных труб (секций) производится трубоукладчиками, оснащенными мягкими стропами. Раскладка производится на лежки с мягкими накладками.

При раскладке вдоль траншеи труб и секций их следует размещать на расстоянии 1,5-2 м от бровки траншеи.

15. СВАРКА ТРУБОПРОВОДОВ

Аттестация технологии. Сварка и контроль приемочных стыков

15.1. Технология сварки, планируемая к применению на каждом конкретном промысловом трубопроводе, должна быть аттестована.

15.2. Аттестация технологии сварки должна быть проведена на полноразмерных трубах в условиях, тождественных производственным, при этом количество сварщиков должно быть выбрано в соответствии с технологической картой.

15.3. Аттестацию технологии специальных сварочных и ремонтных работ допускается выполнять на катушках длиной не менее 250 мм.

15.4. В случае, если Заказчик предъявляет дополнительные требования (выходящие за регламентации данного документа) к технологии, объемам и методам неразрушающего контроля, видам механических испытаний (испытания на ударный изгиб, замеры твердости сварного соединения, коррозионные испытания специальных образцов и т.п.), аттестация технологии сварки становится двухэтапной, включающей исследовательскую и приемочную аттестации.

Исследовательский этап проводится с привлечением соответствующего НИИ, и его результаты оформляются в виде аттестационного отчета.

Аттестационный отчет, совместно с актом последующей аттестации технологии сварки приемочного стыка труб, является неотъемлемой частью исполнительной документации, передаваемой Заказчику и Генподрядчику.

15.5. Аттестация технологии сварки (при двухэтапной аттестации - приемочная аттестация) организуется Подрядчиком и производится комиссией, в которую, кроме представителя Подрядчика, входят также представители Заказчика, Генподрядчика и службы технадзора.

15.6. Аттестация технологии сварки производится в соответствии с технологической картой, в которой регламентируются:

технологический процесс сварки, предъявляемый к аттестации;

перечень рабочих операций, выполняемых в технологическом процессе сварки стыка;

размеры труб (диаметры и толщины стенок), класс прочности труб, марка стали (тип - для импортных труб), ГОСТ или ТУ на поставку труб;

требования к подготовке кромок свариваемых труб (форма и размеры разделки кромок, способ их обработки, качество зачистки);

требования к сборке стыков (тип применяемого центратора (наружный или внутренний), способ закрепления труб, параметры сборки);

применяемые сварочные материалы (тип электрода, вид покрытия, марка электрода и/или сварочной проволоки, диаметр электрода и/или сварочной проволоки, марка флюса, вид и состав защитного газа), применяемые паяльные материалы (марка припоя, марка флюса, марка защитного покрытия), стандарт или ТУ на их поставку, требования к условиям их хранения и подготовки к сварке;

параметры сварочного процесса (род тока, полярность, величина тока и напряжения на дуге, направление сварки, диапазон допустимых скоростей сварки, вылет и угол наклона электрода, время оплавления, давление осадки, метод удаления внутреннего и наружного грата и др.);

положение труб в процессе сварки, количество и расположение прихваток; последовательность сварки слоев и допустимый временной интервал между их выполнением;

необходимость предварительного подогрева, сопутствующего нагрева и послесварочной термообработки, а также их параметры, средства и условия контроля температуры;

другие характеристики, соблюдение которых требуется при выполнении операций;

условия выполнения ремонта дефектных сварных швов;

параметры, требующие регистрации в процессе сварки;

геометрические параметры сварного соединения.

15.7. В процессе сварки стык подвергают операционному контролю, готовые сварные соединения подвергают контролю неразрушающими физическими методами, а также испытанию механических свойств сварного соединения.

15.8. Стыки, выполненные стыковой контактной сваркой оплавлением, после снятия внутреннего и наружного грата должны иметь усиление высотой не более 3 мм. При снятии внутреннего и наружного грата не допускается уменьшение толщины стенки трубы и наличие острых кромок.

Смещение кромок труб не должно превышать 25 % толщины стенки трубы, но должно быть не более 3 мм.

При несоответствии хотя бы одного из выше названных параметров сварного соединения указанным требованиям стык бракуется и дальнейшим испытаниям не подвергается.

Определение соответствия фактических параметров режима сварки, записанных на диаграмме самопишущего прибора, заданным осуществляется в соответствии с методикой расшифровки.

При отклонении фактического режима сварки от заданного стык бракуется и дальнейшим испытаниям не подвергается.

15.9. При приемочной аттестации для оценки механических свойств сварных соединений испытывают образцы (плоские и трубчатые) на растяжение и статический изгиб (сплющивание).

Другие виды механических испытаний могут проводиться по усмотрению Заказчика, а также если они предусмотрены проектной документацией.

Для труб диаметром до 89 мм включительно проводят испытания: трубчатых образцов на растяжение и на сплющивание;

форма трубчатых образцов для испытаний на растяжение должна соответствовать типу XVIII ГОСТ 6996-66;

форма трубчатых образцов для испытаний на сплющивание должна соответствовать типу XXX ГОСТ 6996-66.

15.10. Количество образцов для различных видов испытаний приведено в табл. 28.

Таблица 28

Количество образцов для испытаний

Нормальный наружный диаметр трубы, мм

Количество образцов

на растяжение

на изгиб с расположением корня шва

на сплющивание

Всего

плоские

трубчатые

наружу

внутрь

на ребро

1

2

3

4

5

6

7

8

Толщина стенки труб до 5 мм включительно

Не более 89

-

3

-

-

-

3

6

Толщина стенки труб более 5 мм до 12,5 мм включительно

До 426

2

-

2

2

-

-

6

Свыше 426

4

-

4

4

-

-

12

Толщина стенки труб более 12,5 мм

До 426

2

-

-

-

4

-

6

Свыше 426

4

-

-

-

8

-

12

15.11. Испытание на растяжение сварного соединения труб диаметром более 89 мм должно проводиться на плоских поперечных образцах типа XII или XIII (ГОСТ 6996-66) с удалением выпуклости (усиления) шва.

15.12. Для испытаний на статический изгиб с расположением корня шва внутрь или наружу применяют образцы типа XXVII по ГОСТ 6996-66.

Для испытаний на статический изгиб "на ребро" применяют образцы типа XXVIIIa по ГОСТ 6996-66.

15.13. Временное сопротивление разрыву сварных соединений, определяемое на плоских разрывных образцах со снятым усилением шва, должно быть не ниже нормативного значения временного сопротивления разрыву основного металла труб.

15.14. Для сварных соединений, выполненных дуговой сваркой, среднее арифметическое значение угла загиба образцов должно быть не ниже 120°, а единичное минимальное значение - не ниже 100°.

15.15. Для сварных соединений, выполненных контактной стыковой сваркой, среднее арифметическое значение угла загиба образцов при испытании должно быть не ниже 70°; а его минимальное значение - не ниже 40°. При подсчете среднего арифметического значения все углы более 110° принимаются равными 110°.

15.16. Испытание на сплющивание производят путем деформации образца под прессом сжимающей нагрузкой. Обязательным условием проведения испытания является плавность нарастания усилия на образец. Испытания проводят со скоростью не более 15 мм/мин. Шов должен располагаться по оси приложенной нагрузки.

Величина просвета между сжимающими поверхностями при появлении первой трещины на поверхности образца должен быть не менее 20 мм. Появление надрывов длиной до 5 мм по кромкам и на поверхности образца, не развивающихся дальше в процессе испытания, браковочным признаком не является.

15.17. Для специальных сварных соединений производится испытание не менее 2-х образцов на излом с надрезом.

15.18. Технология сварки считается аттестованной, если по данным операционного контроля, контроля неразрушающими физическими методами, результатам испытаний механических свойств сварные соединения удовлетворяют требованиям раздела настоящей инструкции.

15.19. В случае, если по каким-либо видам испытаний получены неудовлетворительные результаты, по согласованию с Заказчиком может быть проведена повторная сварка и испытания двух дополнительных стыков. Если при повторных испытаниях опять будут получены отрицательные результаты, решение о новых аттестационных испытаниях технологии сварки и объемах этих испытаний может быть принято Заказчиком только после выявления и устранения Подрядчиком причин неудовлетворительных результатов.

15.20. По результатам приемочной аттестации технологии сварки (приемочные стыки) составляется акт аттестации.

К акту прилагаются протоколы механических испытаний и неразрушающего контроля, а также результаты визуального контроля швов.

15.21. Результаты аттестационных испытаний технологии сварки распространяются только на те условия сварки, которые регламентированы технологической картой.

15.22. В случае одного или более перечисленных ниже изменений условий сварки должны быть проведены новые аттестационные испытания:

- изменение процесса (или сочетания процессов) сварки и способа(ов) его выполнения;

- изменение материала труб: ТУ или стандарта на поставку, прочностного класса (табл. 29), состояния поставки;

- изменение диаметра свариваемых труб за пределы групп, приведенных и табл. 30;

- изменение толщины стенки трубы за пределы групп, приведенных в табл. 31;

Таблица 29

Группы по классу прочности труб

Группа

Класс прочности

Нормативное значение временного сопротивления разрыву металла МПа (кгс/мм2)

1

2

3

1

Менее К50

Менее 490 (50)

2

К50-К54

490 (50) - 529 (54)

3

К55-К60

539 (55) - 588 (60)

Таблица 30

Группы по диаметрам труб

Группа

Диаметр труб, мм

1

2

1

89 мм и менее

2

Свыше 89 мм до 426 мм

3

Свыше 426*

Примечание: для труб свыше 426 мм аттестация технологии сварки должна проводиться по ВСН 006 "Сварка - Новая редакция".

Таблица 31

Группы по толщине стенки

Группа

Толщина стенки трубы, мм

1

2

1

12,5 и менее

2

> 12,5-19,0

3

> 19,0

- изменение разделки кромок за пределы допусков, регламентированных технологической инструкцией;

- изменение типа сварочных материалов за пределы принятого технологией прочностного класса, типа электродов, вида электродного покрытия, вида сердечника порошковой проволоки, типа и основности флюса;

- изменение рода тока (переменный, постоянный) и полярности (обратная, прямая);

- изменение положения труб в процессе сварки и направления сварки (снизу вверх, сверху вниз);

- изменение числа слоев шва (в сторону уменьшения) и временного интервала между их выполнением (в сторону увеличения);

- изменение типа центратора (внутренний, наружный) и условий его удаления;

- изменение параметров предварительного и сопутствующего подогревов и послесварочной термообработки;

- уменьшение числа сварщиков на корневом слое шва против предусмотренного технологической инструкцией.

15.23. Аттестацию технологии ремонта дефектных стыков целесообразно проводить одновременно с аттестацией технологии сварки трубопровода преимущественно на том же стыке. При проведении аттестации технологии ремонта производят ремонт участков сварного шва длиной не менее 300 мм в потолочной части стыка. При диаметре трубы меньше 426 мм - не менее 1/6 периметра трубы. В том случае, если ремонт сварного шва выполняется теми же сварочными материалами и тем же методом сварки, которые предусмотрены аттестованной технологией, разрешается аттестовать технологию ремонта по результатам неразрушающего контроля ремонтного участка шва.

15.24. Технология сборки и сварки захлестов и другие специальные сборочно-сварочные работы должны быть аттестованы самостоятельно.

Аттестация сварщиков. Сварка допускных стыков

15.25. К аттестационным испытаниям сварщиков по аттестованной для данного объекта технологии сварки допускаются сварщики, сдавшие экзамены в соответствии с "Правилами аттестации сварщиков", утвержденными Госгортехнадзором России и имеющие удостоверения установленной формы.

15.26. Все сварщики до начала работ на данном объекте должны выполнить сварку допускных стыков на специально подготовленных катушках.

Сварщики, участвовавшие в аттестации технологии сварки и выполнявшие приемочный стык, признанный годным, от аттестации на допускных стыках освобождаются.

15.27. Допускной стык должен свариваться в присутствии представителей технадзора Заказчика в условиях непрерывного пооперационного контроля и последовательной оценки качества каждой операции.

Аттестационные испытания сварщика, в том числе при работе в составе бригады, назначают также в случаях, если:

он имел перерыв в своей работе более трех месяцев;

в технологическую документацию внесены изменения.

Допускной стык подвергают:

пооперационному контролю в процессе сварки;

визуальному осмотру с определением геометрических параметров сварного соединения;

радиографическому контролю;

испытанию образцов на излом с надрезом.

15.28. Испытания образцов на излом с надрезом выполняются после радиографического контроля допускного стыка.

Образцы для испытания на излом с усилением шва должны иметь длину около 230 мм и ширину около 20 мм. Они могут быть вырезаны газовой резкой, фрезой или другим аналогичным инструментом с последующей механической обработкой. Образцы должны иметь надрезы, выполненные ножовкой в центральной части сварного шва (со стороны наружного усиления) и по бокам шва.

15.29. Если по результатам контроля допускной стык не принят, то разрешается выполнить сварку и контроль двух других допускных стыков; в случае получения при повторном контроле неудовлетворительных результатов, хотя бы на одном из стыков, сварщик признается невыдержавшим испытание. К повторному испытанию сварщик может быть допущен только после дополнительного обучения (тренировки) по специальной программе, согласованной с технадзором Заказчика.

15.30. Срок действия аттестационных испытаний сварщиков определяется продолжительностью строительства данного объекта, если соблюдены следующие условия:

- сварщик в течение всего этого времени выполняет только ту работу, по которой он прошел аттестационные испытания;

- перерыв в работе за этот период не превышает трех месяцев.

Если сварщик за время работы нарушает технологическую дисциплину и допускает брак в работе, представитель Заказчика имеет право отстранить его от работы и потребовать переаттестации.

Подготовка кромок и сборка стыков

15.31. Основные типы разделки кромок труб, выполняемых в монтажных условиях, приведены на рис. 4а, б.

Подготовку кромок со стандартной разделкой (см. рис. 4а) можно выполнять как механической обработкой, так и газовой резкой с последующей зачисткой шлифмашинкой. Подготовку кромок с двухскосой разделкой (см. рис. 4б) можно выполнять только механической обработкой концов труб или патрубков. Такая разделка является предпочтительной при изготовлении трубных узлов и толстостенных труб при толщине стенки 15 мм и более.

Рис. 4. Формы подготовленных кромок:

а - со скосом кромок; б - с криволинейным скосом кромок; В = 7 мм при толщине стенки 15-20 мм; В = 10 мм при толщине стенки больше 20 мм

15.32. До начала сборки на всех поступивших для сварки труб, деталях трубопроводов, арматуре мастером (или другим ответственным лицом) должно быть проверено наличие клейм, маркировки, а также сертификатов завода-изготовителя, подтверждающих соответствие труб, деталей трубопроводов и арматуры их назначению.

При отсутствии клейм, маркировки, сертификатов (или других документов, удостоверяющих их качество) трубы, детали трубопроводов и арматура к сборке и сварке не допускаются.

15.33. До начала сборки трубы, детали трубопроводов и арматура должны пройти входной контроль на пригодность к сборке.

При визуальном контроле поверхности труб, включая зоны заводских продольных швов, должны быть выявлены недопустимые дефекты, регламентированные техническими условиями на поставку труб.

Трубы, детали трубопроводов и арматура с недопустимыми дефектами к сборке не допускаются.

На поверхности труб или деталей не допускаются:

- трещины, плены, рванины, закаты любых размеров;

- местные перегибы, гофры и вмятины.

15.34. Во избежание получения "косых" стыков необходимо проверить соответствие степени отклонения свариваемого торца от угольника, который должен быть не выше следующих значений:

для труб, деталей, арматуры диаметром до 225 мм - не более 1,5 мм; при диаметре от 225 мм до 529 мм включительно - не более 2,0 мм, при диаметре свыше 529 мм - более 2,5 мм.

15.35. Все местные уступы и неровности, имеющиеся на свариваемых торцах и препятствующие их точному соединению, следует до начала сборки устранить с помощью абразивного круга или напильника, не допуская острых углов и резких переходов.

15.36. Перед сборкой труб необходимо очистить внутреннюю полость труб и деталей трубопроводов от грунта, грязи, снега и т.п. загрязнений, а также механически очистить до металлического блеска кромки и прилегающие к ним внутреннюю и наружную поверхности труб, деталей трубопроводов, патрубков, арматуры на ширину не менее 10 мм.

Перед сборкой необходимо обрезать деформированные концы труб и участки с поврежденной поверхностью труб.

15.37. Допускается правка плавных вмятин по телу трубы или правка деформированных торцов труб глубиной не более 3,5 % диаметра труб с помощью безударных разжимных приспособлений. При этом на трубах из сталей с нормативным временным сопротивлением разрыву до 539 МПа (55 кгс/мм2) допускается правка вмятин и деформированных торцов труб без подогрева при температуре окружающего воздуха +5 °С и выше. При более низких температурах требуется подогрев на 100-150 °С. На трубах из сталей с нормативным временным сопротивлением разрыву 539 МПа (55 кгс/мм2) и выше подогрев на 100-150 °С требуется при любых температурах окружающего воздуха.

Вмятины и деформированные торцы глубиной более 3,5 % от диаметра труб, а также любые вмятины с резкими перегибами, вмятины с надрывами или вмятины, совпадающие с дефектами поверхности или кромок труб, исправлению не подлежат и должны быть вырезаны.

15.38. В местах, пораженных коррозией, толщина стенки труб или деталей не должна выходить за пределы минусовых допусков, установленных техническими условиями на поставку. Замер толщины стенки трубы на этих участках необходимо выполнять с помощью ультразвукового толщиномера с точностью не менее 0,1 мм.

15.39. Допускается производить зачистку на поверхности труб и деталей царапин, рисок и задиров глубиной не более 0,4 мм, а также участков поверхности, пораженных коррозией, при условии, что толщина стенки после устранения дефектов не будет выходить за пределы минусовых допусков, установленных техническими условиями на поставку.

15.40. Допускается ремонт сваркой дефектов на фасках труб (забоин, задиров) глубиной не более 5 мм с последующей механической зачисткой мест исправления дефектов до восстановления необходимого скоса кромок. Ремонт этих дефектов следует производить электродами, прочностной класс которых не превышает соответствующего типу Э50А-Б, независимо от прочностного класса труб.

15.41. При сборке стыков труб с одинаковой нормативной толщиной стенки должны соблюдаться следующие требования:

внутреннее смещение внутренних кромок бесшовных труб не должно превышать 2 мм. Допускаются на длине не более 100 мм местные внутренние смещения кромок труб, не превышающие 3 мм;

величина наружного смещения в этом случае не нормируется, однако должен быть обеспечен последующий плавный переход поверхности шва к основному металлу в соответствии с технологической картой;

смещение кромок электросварных труб не должно превышать 20 % нормативной толщины стенки, но не более 3 мм. Измерение величины смещения кромок допускается проводить шаблоном по наружным поверхностям труб.

Для труб с нормативной толщиной стенки до 10 мм допускается смещение кромок до 40 % нормативной толщины, но не более 2 мм.

В случае необходимости для бесшовных труб следует производить их селекцию по размерам концов труб.

Если разность внутренних диаметров стыкуемых бесшовных труб диаметром не более 89 мм, выполненных из углеродистых нелегированных сталей, превышает требования п. 15.41, то для обеспечения плавных переходов в месте стыка может быть произведена безударная раздача концов труб без нагрева при температуре окружающего воздуха более +5 °С.

В случае более низких температур окружающего воздуха при безударной раздаче необходим подогрев на 100-150 °С.

Сборку труб диаметром 529 мм и выше следует производить на внутренних центраторах с гидравлическим или пневматическим приводом.

15.42. При сборке стыков труб или труб с деталями трубопроводов и патрубками арматуры допускается их непосредственное соединение без дополнительной обработки кромок только в следующих случаях:

для толщин стенок не более 12,5 мм, если разность толщин не превышает 2,0 мм;

для толщин стенок более 12,5 мм, если нормативная разность толщин не превышает 3,0 мм. В этом случае смещения стыкуемых кромок не допускаются.

Сборка труб или труб с деталями трубопроводов и запорной арматурой с большей нормативной разнотолщинностью, чем это указано, может осуществляться:

через переходник по толщине или патрубок промежуточной толщины длиной не менее 250 мм;

непосредственным соединением свариваемых торцов после специальной подготовки кромок изнутри и (или) снаружи более толстостенного элемента с толщиной стенки t3 до толщины свариваемого торца t2 (рис. 5), которая не должна превышать 1,5 толщины менее толстостенного элемента t1.

В результате условием непосредственного соединения является величина t2 £ 1,5t1.

По величине t3 (исходная толщина толстостенного элемента) определяются необходимость и величина:

предварительного подогрева;

местной послесварочной термической обработки.

15.43. При сборке заводские (как продольные, так и спиральные) швы следует смещать относительно друг друга на 50 мм - при диаметре до 219 мм, на 75 мм - при диаметре свыше 219 до 529 мм, на 100 мм - при диаметре свыше 529 мм.

15.44. В случае технической невозможности при сборке труб диаметром более 529 мм соблюдения требований по "разведению" заводских швов, расстояния между этими смежными швами Производитель работ должен согласовывать в каждом отдельном случае с представителем Заказчика.

Рис. 5. Регламентируемые варианты обработки торцов стыкуемых разнотолщинных элементов

t1 - толщина стенки более тонкостенного элемента; t2 - толщина свариваемого торца более толстостенного элемента; t3 - толщина стенки более толстостенного элемента

Рекомендуется располагать заводские продольные швы в верхней половине периметра свариваемых труб.

15.45. При сборке на внутреннем центраторе и последующей сварке целлюлозными электродами сварщикам следует приступать непосредственно к выполнению корневого слоя шва без прихваток. Если по каким-либо причинам в процессе поиска и установки технологического зазора прихватка все же поставлена и выполняет не свойственную ей роль "подвижного шарнира", то она должна быть полностью вышлифована и заварена вновь при сварке корневого слоя шва.

15.46. При сборке на наружном центраторе и последующей сварке корневого слоя шва электродами с основным видом покрытия количество прихваток равномерно распределяется по периметру стыка.

Высота прихваток не должна превышать 50 % толщины стенки трубы. Прихватки следует выполнять не ближе 100 мм от продольных швов трубы. Количество и размеры прихваток приведены в табл. 32.

Таблица 32

Количество и размеры прихваток при ручной дуговой сварке корневого слоя шва

Диаметр стыка, мм

Количество прихваток не менее, шт.

Длина прихваток, не менее, мм

поворотные стыки

неповоротные стыки

1

2

3

4

до 150

2

25

40

св. 150 до 400

3

40

50

св. 400 до 1000

4

60

80

св. 1000

6

100

150

15.47. Перед началом выполнения сварочных работ поворотных и неповоротных стыков труб производится просушка или подогрев торцов труб и прилегающих к ним участков.

Просушка торцов труб путем нагрева на 50 °С обязательна независимо от прочностного класса стали:

- при наличии влаги на трубах независимо от температуры окружающего воздуха;

- при температуре окружающего воздуха ниже +5 °С.

15.48. Предварительный подогрев производится в случае выполнения корневого слоя шва ручной дуговой сваркой, сваркой в среде углекислого газа или самозащитной порошковой проволокой.

Температура торцов труб непосредственно перед началом выполнения сварки определяется исходной толщиной стенки труб, патрубков арматуры или деталей (t3), видом электродного покрытия или заполнителя порошковой проволоки, температурой окружающего воздуха, состоянием поставки стали, величиной эквивалента углерода Сэкв металла трубы.

При сварке корневого слоя шва электродами с целлюлозным покрытием температура металла должна быть не ниже 100 °С вне зависимости от температуры окружающего воздуха; при сварке горячего прохода - не ниже 50 °С.

15.49. В остальных случаях параметры предварительного подогрева определяются в соответствии с требованиями ВСН 006-89 (Миннефтегазстроя).

Температуру предварительного подогрева следует контролировать контактными термометрами или термокарандашами.

Замерять температуру следует на расстоянии 10-15 мм от торца трубы непосредственно перед началом выполнения сварки; место замера температуры контактными термометрами нужно предварительно зачистить металлической щеткой.

Технические характеристики термоиндикаторных карандашей по ТУ 6-10-1110-76 приведены в табл. 33.

Таблица 33

Марка карандаша

Температура перехода, °С

Цвет штриха термоиндикаторных карандашей

исходный

после воздействия температуры

1

2

3

4

110а

+110

Желтый

Оранжевый

110

+130

Желтый

Оранжевый

240

+240

Бирюзовый

Белый

140-440-525

+140

Розовый

Оранжевый

+440

Оранжевый

Темно-серый

+525

Темно-серый

Белый

Если по условиям п. 15.49 необходимы и просушка и подогрев, то обязательной является только последняя операция.

Если при замере температуры непосредственно перед сваркой будет обнаружено, что температура стыка оказалась ниже установленной, то необходим повторный нагрев.

Технология сварки

15.50. При строительстве промысловых трубопроводов применяют следующие методы сварки:

ручную электродуговую штучными электродами;

ручную и механизированную аргонодуговую (для корневого слоя шва);

автоматическую под флюсом;

автоматическую и механизированную в защитных газах;

автоматическую и механизированную самозащитной порошковой проволокой с принудительным и свободным формированием корня шва;

стыковую оплавлением;

автоматическую дугоконтактную;

индукционную пайку.

Подрядная организация должна применять только те технологии сварки, которые:

аттестованы в установленном порядке;

зафиксированы в технологической карте.

Любые сварочные работы на строительстве трубопроводов любого назначения следует выполнять только с применением сварочных материалов, марки которых регламентированы для трубопроводного строительства.

15.51. Запрещается осуществлять сварку с применением любых присадок, непосредственно подаваемых в дугу или предварительно заложенных в разделку.

Сварщик, уличенный в использовании присадок, от сварки отстраняется.

15.52. Запрещается зажигать дугу с поверхности трубы, дуга должна возбуждаться методом "зажигания спички" только с поверхности разделки кромок или же с поверхности металла уже выполненного шва.

15.53. При применении для сборки стыка наружных центраторов снимать их допускается после сварки не менее 50 % стыка.

При этом отдельные участки шва должны быть равномерно расположены по периметру стыка. Перед продолжением сварки корневого шва после снятия центратора все сваренные участки шва должны быть зачищены, а концы швов прорезаны шлифмашинкой.

15.54. До полного завершения корневого слоя не разрешается перемещать свариваемый стык.

15.55. Для предупреждения образования дефектов между слоями перед выполнением каждого последующего слоя поверхность предыдущего слоя должна быть очищена от шлака и брызг.

Для облегчения удаления шлака рекомендуется подбирать режимы сварки, обеспечивающие вогнутую (менискообразную) форму поверхности корневого и заполняющих слоев.

Начало и конец сварного шва должен отставать от заводского шва трубы (детали, арматуры) не ближе:

50 мм - для диаметров менее 426 мм;

75 мм - для диаметров менее 1020 мм;

100 мм - для диаметров более 1020 мм

Места начала и окончания сварки каждого слоя (т.н. "замки" шва) должны располагаться для труб диаметром 426 мм и более не ближе 100 мм от "замков" предыдущего слоя шва для труб диаметром менее 426 мм - не ближе 50 мм.

При многоваликовой сварке толстостенных элементов, когда один проход выполняется несколькими валиками, "замки" соседних валиков должны быть смещены один относительно другого не менее, чем на 30 мм.

Все кратеры должны быть заплавлены.

15.56. Во всех случаях подварка изнутри может осуществляться только электродами с покрытием основного вида. Подварочный шов не должен иметь грубой чешуйчатости, должен быть сварен без западаний и выступов (см. п. 15.58).

Преимущественно подварку изнутри следует выполнять электродами диаметром 3,0-3,25 мм.

15.57. Исправление дефектов в стыках, выполненных дуговыми методами сварки, следует производить следующим образом:

подваркой изнутри трубы дефектных участков в корне шва;

наплавкой ниточных валиков толщиной не более 3 мм при ремонте наружных и внутренних недопустимых подрезов;

вышлифовкой и последующей заваркой участков швов со шлаковыми включениями и порами;

при ремонте стыка с трещиной длиной до 50 мм включительно засверливаются два отверстия на расстоянии не менее 30 мм от краев трещины с каждой стороны, дефектный участок вышлифовывается полностью и заваривается вновь;

обнаруженные при внешнем осмотре недопустимые дефекты должны устраняться до проведения контроля неразрушающими методами.

Все исправленные участки стыков должны быть подвергнуты внешнему осмотру и неразрушающему контролю. Повторный ремонт стыков не допускается.

15.58. Облицовочный слой должен быть сварен без западаний (углублений) между валиками и без образования грубой чешуйчатости. Допустимый максимальный размер указанных дефектов в зависимости от толщины стенки трубы следующий:

для труб с толщиной стенки:

до 10 мм - 1,0 мм;

от 10 мм до 20 мм - 1,5 мм;

свыше 20 мм - 2,0 мм.

После сварки облицовочного слоя шва поверхность шва и примыкающего к нему участка трубы необходимо:

очистить от брызг;

зашлифовать участки шва с грубой чешуйчатостью, превышающей вышеприведенные нормы;

зашлифовать участки грубого межваликового рельефа, превышающего вышеприведенные требования;

зашлифовать участки резких переходов от металла шва к основному металлу.

Сварка захлестов

15.59. Сварка захлесточных стыков при ликвидации технологических разрывов может производиться в следующих условиях:

оба конца стыкуемых участков трубопровода свободны (не засыпаны землей) и имеют свободное перемещение в вертикальной и горизонтальных плоскостях;

конец одного из стыкуемых участков трубопровода имеет свободное перемещение в вертикальной и горизонтальных плоскостях, а конец 2-го защемлен (подходит к крановому узлу, соединен с патрубком запорной арматуры, засыпан землей и др.);

оба концевых участка соединяемых участков трубопровода защемлены (соединены с патрубками запорной арматуры и пр.).

В первых двух случаях замыкание трубопровода может осуществляться сваркой одного кольцевого захлесточного стыка или вваркой катушки с выполнением двух кольцевых стыков.

В третьем случае ликвидацию технологического разрыва производят путем вварки катушки с выполнением двух кольцевых стыков.

Для удобного монтажа захлеста следует оставлять незасыпанными концы стыкуемых участков трубопровода на расстоянии 20-60 м в обе стороны от места сварки захлесточного стыка (в зависимости от диаметра).

15.60. Подготовку труб к сборке захлесточного стыка рекомендуется выполнять в следующей последовательности:

торец одного из стыкуемых участков трубопровода подготавливают под сварку и укладывают на опоры высотой 50-60 см по оси трубопровода. На торце без закрепления устанавливают наружный центратор;

конец второго стыкуемого трубопровода вывешивают рядом с первой и производят разметку места реза с помощью шаблона для обеспечения перпендикулярности плоскости реза оси трубопровода;

производят механизированную газовую резку размеченного участка и последующую обработку торца механизированным абразивным инструментом;

производят сборку стыка с помощью наружного центратора. В процессе сборки совмещение осей стыкуемых участков трубопровода производят краном-трубоукладчиком; при этом высота подъема обрезанного участка не должна превышать 1,5 м на расстоянии 50-60 м от торца;

в процессе сборки устанавливают зазор в стыке, регламентированный технологической картой. Для фиксации сборочного зазора допускается установка прихваток;

для повышения качества сборки рекомендуется собирать стык с зазором, на 0,5-1 мм меньшим рекомендуемого технологической картой, с последующим сквозным калиброванным пропилом зазора абразивным кругом толщиной 2,5-3,0 мм;

в случае необходимости в процессе сборки допускаются перемещения в горизонтальной и вертикальной плоскостях торцами обоих стыкуемых трубопроводов.

15.61. Подготовку труб к сборке при вварке катушки рекомендуется выполнять в следующей последовательности:

соединяемые концы труб обрезают и подготавливают под сварку в соответствии с требованиями, изложенными в настоящем разделе;

изготавливают катушку требуемой длины из трубы такой же толщины, диаметра и марки стали, что и соединяемые трубы;

пристыковывают катушку к трубопроводу и производят сборку одного стыка с применением наружного центратора;

после сварки стыка производят сборку второго (захлесточного) стыка с помощью наружного центратора;

длина ввариваемой катушки должна быть не менее 250 мм.

15.62. В процессе монтажа захлесточного стыка для установки требуемого зазора или обеспечения соосности труб запрещается натягивать трубы силовыми механизмами, нагревать за пределами зоны сварного стыка.

В процессе сварки захлесточного стыка запрещается производить изменения параметров монтажной схемы, зафиксированной к моменту завершения сборки. Опуск приподнятого для монтажа участка (участков) трубопровода разрешается только после окончания сварки стыка.

Сварку захлесточных стыков следует выполнять без перерывов. Сварные соединения запрещается оставлять незаконченными.

Не рекомендуется расположение захлесточного стыка на участках изменения категории трубопровода, сопровождающегося изменением толщины стенки труб.

Сварку захлесточных стыков на трубах диаметром 426 мм и выше должны выполнять не менее 2-х сварщиков.

Выполнять работы по ликвидации технологических разрывов следует, как правило, в дневное время при температуре не ниже -30 °С.

Для сварки захлесточных стыков должны быть разработаны специальные технологические карты.

Вварка заплат

15.63. В процессе строительства, в случае необходимости и по согласованию с Заказчиком, могут вырезаться технологические отверстия.

Отверстие в плане должно иметь форму овала с двумя взаимно перпендикулярными осями симметрии. Большая ось овала должна быть не менее 150 мм, а меньшая ось - не менее 100 мм. Размеры отверстий не должны превышать 250´350 мм.

Технологическое отверстие вырезается на расстоянии от любого шва не менее 100 мм от шва (поперечного или продольного) преимущественно в верхней части трубы.

Отверстие под заплату выполняется, преимущественно, с применением копира для вырезки отверстий и заплат. Торцы отверстия в основной трубе должны быть обработаны с помощью абразивных кругов и иметь стандартную разделку кромок.

Расстояние между двумя технологическими отверстиями должно быть не менее 1,5 м.

15.64. Технологические отверстия завариваются с помощью заплат.

Заплаты следует изготавливать заранее в стационарных условиях из отдельного отрезка трубы того же диаметра, толщины стенки и класса прочности, что и основная труба.

Заплаты должны иметь обработанные под сварку и зачищенные до металлического блеска кромки.

Вварка заплат осуществляется с использованием подкладных колец или пластин.

Прихватка и сварка подкладных колец (пластин) производится только при положительной температуре металла трубы и заплаты.

Непосредственно перед вваркой заплата и участок трубы (пояс шириной не менее 500 мм) должны быть подвергнуты предварительному подогреву.

Ремонт сварных соединений с помощью сварки

15.65. Ремонту подвергаются сварные соединения, в которых суммарная длина участков с недопустимыми дефектами, включая трещины, не превышает 1/6 периметра стыка, а суммарная длина участков с трещинами не превышает 1/12 периметра стыка.

Ремонту могут быть подвергнуты сварные соединения, выполненные стыковой контактной сваркой оплавлением и сваркой вращающейся дугой, имеющие участки с местными смещениями, превышающими допустимые не более, чем на 1 мм, суммарной протяженностью до 1/6 периметра стыка.

Ремонт сварных стыков, выполненных контактной сваркой оплавлением или сваркой вращающейся дугой вне зависимости от диаметра труб осуществляют снаружи. Ремонт стыков, выполненных методами электрической дуговой сварки, труб диаметром до 1020 мм осуществляют только снаружи, а труб диаметром 1020 мм и более - также и изнутри, в зависимости от глубины залегания дефекта и возможности доступа к стыку изнутри трубы.

Места ремонта и номер ремонтируемого сварного стыка должны указываться несмываемой краской.

15.66. Разметку для последующей выборки дефектного участка как при ремонте снаружи или изнутри выполняют таким образом, чтобы длина выборки была не менее 100 мм и больше длины дефектного участка не менее, чем на 30 мм в каждую сторону.

Выборка дефектного участка преимущественно должна осуществляться механическим способом.

Границы выборки (разделки кромок) на ремонтируемой поверхности должны быть прямолинейными и параллельными.

При ремонте снаружи дефектов, расположенных в корневой части сварного соединения между дном разделки кромок и внутренней поверхностью трубы, должен оставаться слой металла толщиной 3-4 мм. Ширина дна разделки кромок в этом случае должна составлять 0,5-0,6 от толщины стенки трубы.

15.67. Ремонт сваркой должен производиться только электродами с основным видом покрытия, марки которых регламентированы для трубопроводного строительства.

15.68. Ремонт одного дефектного стыка должен выполнять один сварщик.

16. КОНТРОЛЬ СВАРНЫХ СОЕДИНЕНИЙ

16.1. Объемы контроля сварных стыков неразрушающими методами следует принимать в соответствии с табл. 34.

16.2. Радиографический контроль качества сварных соединений трубопроводов должен осуществляться в соответствии с требованиями ГОСТ 7512-82; ультразвуковой контроль - в соответствии с требованиями ГОСТ 14782-86; магнитографический - ГОСТ 25225-82.

Таблица 34

Объемы контроля сварных соединений промысловых трубопроводов

Категории участков трубопроводов

Количество сварных соединений, проконтролированных физическими методами, %

Всего

Радиографический, не менее

Ультразвуковой

Магнитографический

1

2

3

4

5

I

100

100

-

-

II

100

100

-

-

III

100

25

Остальное

Примечания:

1.В таблице приведены минимальные объемы контроля. По требованию Заказчика объемы контроля отдельных участков трубопроводов могут быть увеличены. Это требование должно быть отражено в проектной документации.

2. На трубосварочных базах с большой номенклатурой типоразмеров труб, свариваемых для различных классов и категорий трубопроводов и их участков, должно быть предусмотрено увеличение объемов радиографического контроля поворотных сварных соединений до 100 %, при этом требования настоящей таблицы распространяются на сварные соединения, выполненные неповоротной сваркой.

3. Сварные соединения участков трубопроводов на переходах через железные и автомобильные дороги III категории должны быть проконтролированы в объеме 100 % радиографическим методом.

4. При невозможности контроля угловых сварных соединений ультразвуком он может быть заменен контролем методами радиографии по ОСТ 102-51-85 и ГОСТ 7512-82.

16.3. Проконтролированные неразрушающими методами сварные соединения считаются годными, если в них не обнаружено дефектов, величина, количество и плотность распределения в шве которых превышают значения, приведенные в табл. 35.

16.4. Дефекты сварных соединений по результатам ультразвукового контроля относят к одному из следующих видов:

а) непротяженные (одиночные поры, компактные шлаковые включения);

б) протяженные (трещины, непровары, несплавления, удлиненные шлаки);

в) цепочки и скопления (цепочки и скопления пор и шлака).


Таблица 35

Допустимые значения дефектов сварочного шва

Тип дефекта

Условные обозначения

Схематическое изображение дефекта

Допустимые размеры дефектов сварного шва

Примечания

в сечении

В плане

глубина

длина

Длина на 300

Поры

сферические, радиальные

Аа

Максимально допустимая суммарная площадь проекций пор на радиографическом снимке не должна превышать 5 % площади участка, ширина которого равна S, а длина - 50 мм

1. В таблице приняты следующие обозначения: S - толщина стенки трубы; l - расстояние между соседними порами; d - максимальный размер пары.

2. К цепочке относят такие дефекты, которые расположены на одной линии в количестве не менее 3 с расстоянием между ними, меньшим пятикратного размера дефекта.

4. Во всех случаях максимальный диаметр поры не должен превышать 0,25 S, но не более 3 мм.

5. Допустимая плотность распределения пор с площадью их проекций, равной 5 %:

6. В стоках трубопроводов, диаметром 1020 мм и более, выполненных с внутренней подваркой, непровары в корне шва не допускаются.

7. При S £ 5 мм допускается непровар в корне шва глубиной до 0,2 S при смещении кромок величиной до 0,1 S.

8. Прорезы на участках сварных швов, имеющих смещения кромок величиной свыше 0,2 S, не допускаются.

9. В сварных швах труб с толщиной стенки 8 мм и менее допускаются смещения кромок величиной до 0,4 S, но не более 2 мм.

10. Во всех случаях суммарная протяженность совокупности допустимых по глубине внутренних дефектов на любые 300 мм шва не должна превышать 50 мм (но не более 1/6 периметра шва).

удлиненные

цепочка

Ав

скопление

Ас

канальная

Аk

0,25 S, но не более 3 мм

1 S, но не более 30 мм

30 мм

Шлаковые включения

компактные

Ba

0,1 S

0,5 S, но не более 7 мм

50 мм

удлиненные

Bd

2 S, но не более 50 мм

цепочка

Вв

2 S, но не более 30 мм

30 мм

скопление

Вс

Непровары, несплавления

в корне шва

Да

0,1 S, но не более 1 мм

2 S, но не более 50 мм

50 мм

между валиками

Дв

2 S, но не более 30 мм

30 мм

по разделке

Дс

Трещины

вдоль шва

Еа

Не допускаются

поперек шва

Ев

разветвленные

Ес

Наружные дефекты

утяжина

Fa

*

превышение проплава

Fв

5 мм

50 мм

50 мм

подрез

Fc

0,1 S, но не более 3 мм

150 мм

150 мм

Дефект сборки

смещение кромок

Fd

0,2 S, но не более 0,5 мм

 

0,25 S, но не более 4 мм

300 мм, но не более одного на стык

* Максимально допустимая глубина - до 2 мм, при этом плотность изображения на радиографическом снимке не должна превышать плотности изображения основного металла.


16.5. К непротяженным относят дефекты, условная протяженность которых не превышает значений, указанных в табл. 36. Этими дефектами могут быть одиночные поры или неметаллические включения.

16.6. К протяженным относят дефекты, условная протяженность которых превышает значения, указанные в табл. 36. Этими дефектами могут быть одиночные удлиненные неметаллические включения и поры, непровары (несплавления) и трещины.

Таблица 36

Толщина стенки контролируемого соединения, мм

Условная протяженность дефекта, мм

1

2

4,0-5,5

5

6,0-7,5

5

8,0-11,5

10

12,0-25,5

15

16,0-40,0

15

16.7. Цепочкой и скоплением считают три и более дефекта, если при перемещении искателя соответственно вдоль или поперек шва огибающие последовательностей эхо-сигналов от этих дефектов при поисковом уровне чувствительности пересекаются (не разделяются). В остальных случаях дефекты считаются одиночными.

16.8. По результатам ультразвукового контроля годным считают сварное соединение, в котором отсутствуют:

а) непротяженные дефекты, амплитуда эхо-сигнала от которых превышает амплитуду эхо-сигнала от контрольного отражателя в СОП, или суммарная условная протяженность которых в шве превышает 1/6 периметра этого шва;

б) цепочки и скопления, для которых амплитуда эхо-сигнала от любого дефекта, входящего в цепочку (скопление), превышает амплитуду эхо-сигнала от контрольного отражателя в СОП, или суммарная условная протяженность дефектов, входящих в цепочку (скопление), более 30 мм на любые 300 мм шва;

в) протяженные дефекты в сечении шва, амплитуда эхо-сигнала от которых превышает амплитуду эхо-сигнала от контрольного отражателя в СОП, или условная протяженность которых более 50 мм, или суммарная условная протяженность которых более 50 мм на любые 300 мм шва, или суммарная условная протяженность дефектов превышает 1/6 периметра шва.

Контроль сварных соединений, выполненных стыковой контактной сваркой оплавлением

16.9. Сварные соединения, выполненные стыковой контактной сваркой оплавлением, подвергают контролю в следующих объемах:

по зарегистрированным параметрам сварки – 100 %;

внешним осмотром и обмером – 100 %;

механическим испытанием – 1 %.

16.10. По результатам контроля параметров сварки сварные соединения считают годными, если отклонения фактических режимов сварки, зарегистрированных на диаграммной ленте, не превышают значений, определяемых требованиями технологической инструкции на сварку.

16.11. Сварные соединения, признанные годными по результатам контроля параметров сварки, подвергают внешнему осмотру и обмеру. При этом сварные соединения считают годными, если:

смещение кромок после сварки не превышает 25 % толщины стенки (и во всех случаях не более 3,0 мм). Допускаются местные смещения на длине до 20 % периметра стыка, величина которых не превышает 30 % толщины стенки (но не более 4,0 мм);

усиление шва после снятия внутреннего и наружного грата по высоте не превышает 3,0 мм. При снятии грата не допускается уменьшение толщины стенки трубы.

Примечание: высоту внутреннего усиления определяют на стыках, вырезаемых для проведения механических испытаний.

16.12. Сварные соединения труб диаметром от 57 до 89 мм подвергают механическим испытаниям на растяжение и сплющивание.

Сварные соединения труб диаметром от 108 до 1420 мм подвергают испытаниям на растяжение и изгиб.

Испытания проводят в соответствии с требованиями ГОСТ 6996-66 и СНиП III-42-80* на образцах, вырезанных из сварных соединений.

16.13. Временное сопротивление разрыву сварного соединения, определенное на разрывных образцах со снятым усилением, должно быть не меньше нормативного значения временного сопротивления разрыву металла труб.

Среднее арифметическое значение угла загиба образцов должно быть не менее 70°, а его минимальное значение - не ниже 40°.

При подсчете среднего значения все углы больше 110° принимаются равными 110°.

Величина просвета между сжимающими плитами при появлении первой трещины на поверхности образца, испытываемого на сплющивание, должна быть не более четырехкратной толщины стенки трубы. Появление на кромках и на поверхности образца надрывов длиной до 5 мм, не развивающихся в трещину в процессе дальнейших испытаний до полного сплющивания образца, браковочным признаком не является.

16.14. При неудовлетворительных результатах механических испытаний по пп. 16.12 и 16.13 необходимо:

сварку прекратить - установить причину неудовлетворительного качества стыка;

весь участок трубопровода, сваренный с момента последней проверки монтажной организацией в присутствии представителей технадзора заказчика подвергнуть силовому воздействию на изгиб в соответствии с требованиями СНиП III-42-80*.

Контроль паяных соединений

16.15. Паяные соединения трубопроводов подвергают: контролю по зарегистрированным параметрам режима пайки; контролю внешним осмотром и обмером; механическим испытаниям - в объемах, предусмотренных п. 16.9.

16.16. По результатам контроля параметров пайки контролируемые соединения считают годными, если отклонения фактических режимов пайки, зарегистрированные на диаграммной ленте, не превышают значений, определяемых требованиями ВСН 006-89 (Миннефтегазстрой).

16.17. По результатам внешнего осмотра и обмера паяные соединения считают годными, если:

на наружной поверхности стыка отсутствуют наплывы припоя, по высоте превышающие 3,0 мм;

незаполнение соединительного зазора припоем по глубине не превышает 1,5 мм, а суммарная длина не превышает 1/3 периметра стыка;

величина наружного смещения кромок по периметру стыка не превышает 1,0 мм и при этом обеспечивается плавный переход поверхности шва к основному металлу.

16.18. Паяные соединения труб диаметром от 57 до 89 мм подвергают механическим испытаниям на растяжение и сплющивание, а соединения труб диаметром от 108 до 219 мм - на растяжение и изгиб.

Испытания проводят в соответствии с требованиями ГОСТ 6996-66.

16.19. По результатам механических испытаний паяные стыки должны соответствовать требованиям п. 16.13 настоящей инструкции.

16.20. При неудовлетворительных результатах механических испытаний следует:

пайку прекратить и установить причину неудовлетворительного качества стыка;

все стыки, спаянные с момента последних механических испытаний, подвергнуть ультразвуковому или радиографическому контролю.

16.21. По результатам контроля ультразвуковым и радиографическим методами паяных швов с косостыковой разделкой кромок годными считаются такие, в которых:

а) отсутствуют трещины любой протяженности;

б) ширина непропая (отсутствие сцепления припоя с соединяемыми кромками труб) и неметаллических включений не превышает 20 % ширины шва при протяженности не более 50 мм на 300 мм шва;

в) имеются поры или неметаллические включения размером не более 10 % ширины шва при расстоянии между соседними дефектами менее трехкратного размера дефекта на участке шириной не более 20 % ширины шва с суммарной длиной не более 1/5 периметра стыка;

г) имеются цепочки пор и неметаллических включений шириной не более 20 % ширины с суммарной длиной не более 1/5 периметра трубы.

16.22. Результаты ультразвукового или радиографического контроля паяных соединений оформляют в виде заключений установленной формы.

16.23. Паяные соединения, в которых по результатам ультразвукового или радиографического контроля обнаружены недопустимые дефекты, подлежат вырезке.

Контроль сварных соединений, выполненных сваркой вращающейся дугой (СВД)

16.24. Стыки, выполненные СВД, должны подвергаться контролю в объеме:

100 % стыков - проверке на величину смещения кромок и высоту усиления сварного соединения;

0,4 % стыков - механическим испытаниям на растяжение и сплющивание.

16.25. По результатам проверки на величину смещения кромок и высоту усиления стыки считают годными, если наружное усиление имеет высоту 2,5-0,5 мм, а величина смещения кромок не превышает 25 % толщины стенки трубы. Допускаются местные смещения на длине до 20 % периметра стыка, величина которых не превышает 30 % толщины стенки трубы.

Все стыки, сваренные с момента последних механических испытаний, в присутствии представителя технадзора заказчика подвергнуть силовому воздействию на изгиб в соответствии с требованиями СНиП III-42-80*.

Контроль сварных соединений после их ремонта

16.26. Сварные соединения, в которых по результатам контроля обнаружены недопустимые дефекты (признанные "негодными"), подлежат удалению или ремонту с последующим повторным контролем в соответствии с требованиями настоящих норм.

Контроль сварных соединений трубопроводов, транспортирующих сероводородосодержащие продукты

16.27. Контроль качества сварных соединений трубопроводов, транспортирующих нефтегазовые сероводородосодержащие продукты, состоит из: систематического операционного контроля в процессе сборки и сварки стыков; внешнего осмотра и измерения геометрических параметров швов; проверки качества шва физическими методами контроля; механических испытаний (до начала сварочных работ) и контроля твердости металла шва и зоны термического влияния.

Перечисленные виды контроля следует проводить в соответствии с ВСН 012-88 (Миннефтегазстрой) и требованиями настоящего раздела.

В зависимости от условий проведения строительно-монтажных работ и степени ответственности участков трубопроводов объемы физических методов контроля должны быть следующими.

Стыки трубопроводов, перечисленных в табл. 7 на участках категорий I и II, а также стыки захлестов и приварки арматуры подвергаются 100 %-му радиографическому контролю. Стыки на остальных участках трубопроводов подвергаются 100 %-му контролю физическими методами, в том числе радиографическими методами в соответствии с графой 8 табл. 7. При проведении послесварочной термической обработки выполняется дублирующий контроль стыков в объеме 20 % ультразвуковым или магнитографическим методами.

Физические методы контроля и оценка качества сварных соединений должны выполняться в соответствии с ВСН 012-88 (Миннефтегазстрой).

Контроль твердости сварных соединений выполняют в объеме 10 % стыков методом "Польди" или аналогичными. Замеры проводят в трех точках: на металле шва; в зоне термического влияния (2 мм от линии сплавления) и на основном металле (50 мм от шва).

Величина твердости не должна превышать 220 единиц по шкале Бриннеля. Результаты контроля твердости записывают в журнал термической обработки стыков или оформляют актом и прилагают к сварочному журналу.

16.28. Стыки с выявленными при контроле дефектами могут быть исправлены, если их суммарная длина не превышает 1/6 периметра.

Стыки с трещинами ремонту не подлежат и должны быть вырезаны. Ремонт стыков сваркой изнутри трубы не допускается. Дефектное место шва удаляют абразивным инструментом. Допускается его удаление газовым резаком с последующей обработкой поверхностей реза до металлического блеска шлиф-машинкой.

Заваривать ремонтные участки шва необходимо электродами с основным покрытием диаметром 2,5-3,25 мм, указанным в п. 15.65 настоящей инструкции. Предварительный подогрев следует довести до 150 °С при любой температуре воздуха.

Контроль отремонтированных участков стыков должен производиться радиографическим методом и удовлетворять требованиям настоящего документа. Результаты контроля качества отремонтированных стыков с соответствующим заключением необходимо записывать в исполнительную документацию.

17. ЗЕМЛЯНЫЕ РАБОТЫ

Заготовка грунта в карьерах

17.1. Разработка карьера разрешается после его принятия специальной комиссией. К акту приемки должны быть приложены:

пояснительная записка;

план карьера с указанием расположения скважин и шурфов;

геологические разрезы.

К разработке карьера следует приступать последовательно, по следующей схеме:

вынос в натуру контура площади проектируемого карьера;

снятие плодородного слоя грунта;

устройство подъездных дорог к карьеру и производственным сооружениям.

17.2. Разработка грунта в карьерах производится преимущественно в теплое время года. Обязательным условием начала разработки карьера является устройство водоотводов, предотвращающих попадание воды в карьер.

17.3. При разработке карьера зимой для уменьшения снежных заносов забой устраивают с наветренной стороны, а валы разработанных грунтов отсыпают с подветренной. Расстояние между валами должно быть не менее 3 м.

17.4. Разработка мерзлого грунта осуществляется с рыхлением буровзрывным методом или механическими рыхлителями.

17.5. Летом разработка мерзлого грунта выполняется без рыхления, послойно, по мере естественного оттаивания верхних слоев.

При послойном оттаивании грунт необходимо перемещать бульдозерами в промежуточные бурты для обезвоживания, а затем в накопительные отвалы.

Разработку талых слоев грунта необходимо начинать с нижней части карьера в целях увеличения уклона и ускорения отекания воды.

Промежуточные бурты из оттаивающего грунта возводят высотой до 2,5 м, шириной по низу не более 6 м и выдерживают для обезвоживания в зависимости от вида грунта:

песка средней крупности - 1-2 суток;

песка пылеватого с содержанием пылеватых и глинистых частиц до 5 % - 4-5 суток, от 5 до 13 % - 6-7 суток; супеси - 10-12 суток.

17.6. Предварительно подсушенные пылеватые пески с содержанием пылеватых и глинистых частиц от 5 до 13 % и супеси укладывают в накопительные отвалы тонкими слоями (до 0,5 м) для последовательного просыхания.

При уменьшении влажности до 15-17 % грунт считается подготовленным для использования в возводимых насыпях строящихся объектов.

17.7. Отвалы, предназначенные для использования в зимний период, необходимо отсыпать высотой, превышающей глубину их возможного сезонного промерзания, и защищать теплоизолирующими покрытиями из местных (мох, торф, снег и др.) или искусственных (полимерные пены) материалов.

17.8. Грунт в карьерах зимой следует разрабатывать с соблюдением следующих правил:

снег с поверхности следует удалять постепенно, из расчета размера площади, которую экскаваторы могут разрабатывать за одну смену, а при температуре воздуха ниже -20 °С - за полсмены;

передвижение транспортных средств осуществлять только по дну разрабатываемого карьера;

разработку карьеров, расположенных на склоне, начинать с низовой стороны.

17.9. Бурты грунта, предназначенные для использования в летний период, следует располагать в карьере по направлению господствующих ветров, а в зимний - перпендикулярно этому направлению (для накопления утепляющих снежных отложений).

17.10. Талый грунт со дна рек заготавливается гидронамывом. При этом площадки для накопления грунта должны иметь уклон в сторону реки.

17.11. При расположении карьера в зоне островной мерзлоты грунт разрабатывается двумя способами:

послойным размораживанием, как указано выше (для участков островной мерзлоты);

без подготовки (для грунта, находящегося в талом состоянии) с укладкой в бурты для обезвоживания.

В зависимости от размеров "островов" на строительном генплане указывается расположение временных буртов для оттаивания мерзлых грунтов.

Разработка траншеи и подготовка дна под укладку трубопровода

17.12. Размеры и профили траншей при строительстве трубопроводов устанавливаются СНиП 3.02.01-87.

При откосе траншей 1:0,5 и круче минимальная ширина траншеи принимается:

для трубопроводов диаметром до 0,7 м - D + 0,3 м, но не менее 0,7 м;

диаметром свыше 0,7 м - 1,5D;

при разработке траншеи траншеекопателями (многоковшовыми) для трубопроводов диаметром до 219 м - D + 0,2 м;

при укладке отдельными трубами для диаметров до 0,5 м - D + 0,5 м; от 0,5 до 1,4 м (включительно) - D + 0,8 м.

При откосах положе 1:0,5 минимальная ширина траншеи принимается D + 0,5 м для укладки отдельными трубами и D + 0,3 м - для укладки плетями.

При параллельной укладке нескольких трубопроводов в общей траншее расстояние от крайних трубопроводов до стенок траншеи определяется требованиями п. 6.10.

17.13. Земляные работы должны производиться с операционным контролем всех технологических операций.

17.14. К началу работ по рытью траншеи должны быть получены:

письменное разрешение на право производства земляных работ в зоне расположения подземных коммуникаций, выданное организацией, ответственной за эксплуатацию этих коммуникаций;

наряд-задание экипажу экскаватора (если работы выполняются совместно с бульдозерами и рыхлителями, то и машинистам этих машин) на производство работ.

17.15. Перед разработкой траншеи следует воспроизвести разбивку ее оси, а на вертикальных кривых - разбивку глубины через каждые 2 м геодезическим инструментом.

17.16. Способ разработки траншеи выбирается в зависимости от категории грунта, структуры грунта, степени его промерзания.

17.17. Для разработки траншей трубопроводов диаметром до 100 мм в мерзлых грунтах целесообразно применять фрезерные экскаваторы с глубиной копания 1,3 м. Ширина траншей, разрабатываемых этими экскаваторами, может быть увеличена до 400 мм изменением расстановки зубьев на фрезе.

17.18. Для разработки траншей большей ширины в мерзлых грунтах используются роторные экскаваторы с глубиной копания до 2,5 м и шириной рабочего органа 1,2 м.

17.19. В немерзлых, частично мерзлых грунтах и в грунтах с включениями валунов траншеи целесообразно разрабатывать одноковшовыми экскаваторами с ковшом вместимостью 0,5-1,0 м3, а также экскаватором со сменным узким ковшом.

17.20. Для разработки мерзлых грунтов могут быть использованы рыхлители на базе одноковшовых экскаваторов со сменным оборудованием, бульдозеры-рыхлители, а также фрезерные экскаваторы для нарезания щелей и последующей разработкой оставшегося целика.

При этом предполагается предварительная засыпка щелей для обеспечения прохождения землеройных машин.

17.21. Разработка траншей в вечномерзлых грунтах под пригружаемые трубопроводы осуществляется дифференцированным методом комплектом машин, состоящим из роторных экскаваторов, мощных бульдозеров-рыхлителей и одноковшовых экскаваторов.

17.22. Дно траншеи под укладку трубопровода должно быть тщательно спланировано, убраны твердые комья земли, камни, ветки деревьев, лед и прочие предметы, в скальных и каменистых грунтах необходима подсыпка из мягкого грунта.

Засыпка трубопровода

17.23. Перед началом засыпки трубопровода необходимо:

проверить проектное положение трубопровода и плотное его прилегание к дну траншеи;

проверить качество и в случае необходимости отремонтировать изоляционное покрытие;

провести предусматриваемые проектом работы по предохранению изоляционного покрытия от механического повреждения;

получить письменное разрешение на засыпку уложенного трубопровода;

выдать наряд-задание на производство работ машинисту.

17.24. Засыпать траншею следует непосредственно после укладочных работ (после балластировки трубопровода или закрепления его анкерными устройствами).

17.25. При засыпке трубопровода необходимо обеспечить:

сохранность труб и изоляции;

плотное прилегание трубопровода к дну траншеи;

проектное положение трубопровода в горизонтальной плоскости.

При засыпке нескольких трубопроводов, уложенных в общую траншею, необходимо обеспечить проектное расстояние между трубопроводами, исключить подвижки трубопровода в поперечном направлении. С этой целью трубопровод предварительно присыпается экскаватором в виде отдельных призм.

17.26. При засыпке над трубопроводом на нерекультивируемых землях делают грунтовый валик с учетом его последующей осадки до уровня поверхности земли в процессе консолидации грунта.

17.27. На рекультивируемых участках отвалы плодородной почвы и минерального грунта должны так располагаться на строительной полосе, чтобы при производстве работ они не смешивались.

Способы рекультивации земель в заповедниках, заказниках должны быть согласованы с местными органами самоуправления.

На рекультивируемых землях засыпку трубопровода необходимо производить с уплотнением грунта и без устройства валика над трубопроводом.

17.28. Строительная полоса на лесных участках по окончании строительства должна быть очищена от пней и других древесных остатков и спланирована.

17.29. Засыпку трубопровода бульдозерами следует выполнять косыми проходами с целью исключения падения комьев грунта непосредственно на трубопровод.

17.30. При наличии горизонтальных кривых на трубопроводе вначале засыпается криволинейный участок, а затем прилегающая часть. Причем засыпку криволинейного участка начинают с середины его, двигаясь поочередно к его концам.

17.31. На участках с вертикальными кривыми трубопровода (в оврагах, балках, на холмах и т.п.) засыпку следует производить сверху вниз.

17.32. При засыпке твердыми грунтами роторные траншеезасыпатели следует использовать в комплексе с бульдозерами. При этом вначале засыпку выполняют траншеезасыпателем разрыхленным грунтом, а затем бульдозерами.

17.33. Засыпка уложенного в траншею трубопровода экскаватором осуществляется в тех случаях, когда работа бульдозера невозможна (болота, мерзлый отвал, стесненные условия). В этом случае экскаватор может перемещаться по монтажной полосе.

17.34. На рекультивируемых землях после засыпки трубопровода минеральным грунтом производят его уплотнение пневмокатками или гусеничными тракторами, делающими многократные проходы (три-пять раз) над засыпанным трубопроводом. А плодородный слой грунта над трубопроводом планируют.

17.35. Засыпка трубопровода на продольных уклонах должна производиться бульдозером, который перемещается с грунтом сверху вниз под углом к траншее, а также может осуществляться траншеезасыпателем сверху вниз с обязательным его якорением на уклонах крутизной свыше 15°.

17.36. Для предотвращения размыва грунта на крутых продольных уклонах (свыше 15°) засыпка должна производиться после устройства перемычек в траншее.

17.37. Присыпку уложенного трубопровода в мерзлых и каменистых грунтах осуществляют мелкогранулированным грунтом, как правило, из отвала специальной машиной, производящей рыхление и просеивание грунта.

Допускается осуществлять присыпку трубопровода разрыхленным грунтом из отвала роторным траншеезасыпателем или роторным экскаватором. При применении роторного экскаватора необходимо предварительно осуществить планировку отвала, а поток грунта с транспортера направлять на противоположную стенку траншеи, избегая прямого попадания грунта на уложенный трубопровод.

17.38. При засыпке трубопровода мерзлым грунтом поверх него должен устраиваться валик грунта с учетом последующей его осадки при оттаивании.

17.39. Способы засыпки трубопровода в болотах I и II типов, выполняемой в летнее время, зависят от структуры болота. На болотах с несущей способностью более 0,01 МПа засыпку трубопровода производят бульдозерами и экскаваторами на уширенных гусеницах или одноковшовыми экскаваторами, работающими с перекидных сланей, щитов или пеноволокуш.

Засыпка на болотах III типа в летний период производится экскаваторами, установленными на понтонах.

17.40. Засыпку траншей на болотах, промерзших в зимнее время и имеющих достаточную несущую способность, осуществляют так же, как при засыпке траншей в мерзлых грунтах.

При недостаточном промерзании болота и малой несущей способности для засыпки траншей используют бульдозеры и одноковшовые экскаваторы на уширенных гусеницах или экскаваторы на пеноволокушах, щитах и сланях.

17.41. Засыпку трубопровода в песчаных грунтах необходимо осуществлять непосредственно вслед за укладочными работами.

Устройство грунтовых насыпей на вечномерзлых грунтах

17.42.. Насыпи для наземных трубопроводов должны устраиваться из привозного грунта, добываемого в карьерах. Запрещается брать грунт для насыпи на полосе строительства трубопровода. Карьер, из которого забирается грунт для устройства насыпи, следует устраивать по возможности в сыпучемерзлых грунтах, что обеспечивает круглогодичную эксплуатацию карьера.

17.43. Насыпь возводится в два этапа. Вначале грунт отсыпают до уровня нижней образующей трубы, затем после монтажа трубопровода засыпают его до требуемых размеров.

17.44. Размеры насыпи определяются проектом в зависимости от характеристик вечномерзлых грунтов, являющимся основанием насыпи и грунта, которым выполняется обвалование. Ширина насыпи по верху должна быть не менее 1,5 м, а откосы - не менее 1:1,25.

17.45. Грунты, предназначенные для устройства насыпей, обвалования трубопровода и создания грунтовых опор (для надземных трубопроводов), должны обеспечить необходимую устойчивость трубопровода.

Допускается для отсыпки указанных сооружений использовать каменистые, гравелистые, щебеночные и песчаные породы, за исключением пылеватых песков.

17.46. Насыпи из талых мелкопесчаных и глинистых грунтов следует возводить преимущественно в теплое время года.

17.47. Насыпи необходимо отсыпать из однородных грунтов. Не следует отсыпать насыпь различными по своим свойствам грунтами во избежание образования внутри насыпи водяных линз и плоскостей скольжения.

17.48. Грунт следует отсыпать равномерными горизонтальными слоями толщиной 0,2-0,4 м с послойным их уплотнением.

Грунтовая насыпь уплотняется автосамосвалами, отсыпающими насыпь пионерным способом. Грунтовая призма (опора) уплотняется давлением ковша гидравлического экскаватора.

17.49. Не допускается возводить и уплотнять насыпи из несвязных грунтов при интенсивном выпадении осадков.

17.50. Обваловывать трубопровод следует на высоту не менее 0,2 м над верхом трубы незамерзшим грунтом, а затем либо незамерзшим, либо мерзлым грунтом. В противном случае должны быть приняты меры против повреждения изоляции мерзлым грунтом (защитные обертки, скорлупы и т.п.).

17.51 Толщина слоя грунта над трубопроводом после его осадки в уплотненном состоянии должна быть не менее 0,8 м.

17.52. Увеличение высоты отсыпки на осадку при производстве работ в летнее время (для минеральных грунтов) принимается равным 15 %, а при засыпке трубопровода зимой мерзлым грунтом – 30 %.

17.53. По ходу возведения насыпей необходимо укреплять откосы от размыва поверхностными водами.

Отсыпка дамб (насыпей) на болотах

17.54. Насыпи на болотах I и II типов (глубиной до 2 м) устраивают после удаления торфа на полосе прокладки трубопровода на всю глубину. На болотах III типа (без сплавин) насыпи сооружают без выторфовывания. В этом случае торфяная масса выдавливается весом насыпаемого минерального грунта. На болотах III типа с толщиной сплавины до 0,5 м насыпи отсыпают непосредственно на сплавину с погружением ее на дно. При толщине сплавины более 0,5 м целесообразно устройство в ее теле двух продольных прорезей на расстоянии, равном ширине основания насыпи, на которую отсыпается минеральный грунт с погружением его на дно болота.

Прорези разрабатывают одноковшовыми экскаваторами с пеноволокуш или взрывным способом.

17.55. Отсыпку насыпи следует выполнять в таком порядке - первый слой на 25-30 см выше уровня болота отсыпают пионерным способом: самосвалы разгружают грунт отсыпки на берегу болота, затем бульдозерами его сдвигают в сторону наращивания насыпи. Отсыпку можно вести с одной или с двух сторон болота. После первого слоя на полную длину, насыпи отсыпают второй слой до проектной отметки низа трубы с послойным уплотнением. Третий слой вокруг трубы отсыпают послойным уплотнением.

17.56. На залитых водой болотах II и III типов большой протяженности (более 200 м) при наличии в основании болот хорошо дренированных гравийно-песчаных, песчаных или супесчаных грунтов целесообразно насыпь устраивать способом намыва при наличии вблизи трассы достаточных объемов воды для этих целей.

17.57. Для намыва таких насыпей следует применять безэстакадный продольно-встречный способ гидронамыва, который должен осуществляться специальными бригадами. Насыпи намывают участками шириной до 35 м и протяженностью 200-350 м, так называемыми "картами намыва". Для образования "карты намыва" по ее контуру устраивают грунтовые валики или устанавливают сборно-разборные деревянные щиты, задерживающие намытый грунт на "карте намыва".

18. ИЗОЛЯЦИОННЫЕ РАБОТЫ И КОНТРОЛЬ КАЧЕСТВА

18.1. Строительство трубопроводов, как правило, следует производить из изолированных труб и соединительных деталей с заводским или базовым покрытием (трассовая изоляция допускается только при соответствующем обосновании).

18.2. Изоляционные покрытия должны наноситься на трубопроводы в соответствии с требованиями технологии согласно НТД на эти покрытия.

Технология трассовой изоляции трубопроводов

18.3. Технология изоляционных работ в трассовых условиях включает:

- подготовку изоляционных материалов;

- сушку или подогрев изолируемой поверхности;

- очистку трубопровода;

- нанесение грунтовки;

- нанесения изоляционного покрытия;

- нанесение защитного покрытия;

- контроль качества покрытий.

18.4. Изоляционные покрытия должны наноситься, как правило, механизированным способом, обеспечивающим проектную толщину изоляционного слоя и его сплошность.

18.5. Очистку наружной поверхности трубопроводов и нанесение грунтовки следует производить в зависимости от диаметра трубы соответствующими самоходными очистными машинами типа ОМ (например, ОМ 113 - для трубопроводов диаметром 89-168 мм, или ОМ 521 - для трубопроводов диаметром 325-529 мм).

18.6. Защитное покрытие следует наносить в зависимости от диаметров трубопроводов и вида покрытия соответствующими самоходными машинами (например, ИМ - для битумных покрытий и комбайном ОПМ - для полимерных ленточных покрытий).

18.7. Нанесение изоляционных покрытий на влажную поверхность труб во время дождя, тумана, снегопада и сильного ветра не разрешается.

18.8. Используемые изоляционные материалы (грунтовки, битумные мастики, рулонные изоляционные, армирующие и защитные материалы) должны проходить входной контроль и соответствовать требованиям ГОСТ и Технических условий.

Приготовление изоляционных материалов на месте производства работ (грунтовки и битумные мастики) должны проводиться в соответствии с требованиями соответствующей НТД (технологические карты и Инструкции).

18.9. Подготовка поверхности трубопроводов перед нанесением противокоррозионных покрытий производится следующим образом:

18.9.1. Поверхность должна быть высушена и очищена от грязи, ржавчины, неплотно сцепленной с металлом окалины, пыли, земли и наледи, а также обезжирена от копоти и масла. При температуре воздуха ниже плюс 13 °С поверхность трубопровода необходимо подогреть до температуры не ниже плюс 15 °С (но не выше плюс 50 °С).

18.9.2. Сушка и подогрев осуществляется с помощью сушильных печей и установок, обеспечивающих нагрев труб без копоти (при полном сгорании топлива).

18.9.3. Поверхность очищают механическим способом самоходными очистными машинами. Предварительно с помощью шлифмашинок с зоны сварных стыков труб, с поверхности трубопровода должны быть удалены брызги металла, шлака, а также острые выступы и заусенцы.

18.9.4. Степень очистки поверхности перед нанесением битумно-мастичных и полимерных ленточных покрытий должна соответствовать степени 3 по ГОСТ 9.402-80.

Технология наружной изоляции труб в заводских и базовых условиях

18.10. При изоляции труб и трубных секций в заводских или базовых условиях используются современные технологии, материалы и оборудование для очистки, нагрева и изоляции труб; производится пооперационный контроль и контроль качества готовой продукции, что обеспечивает высококачественное нанесение на трубы различных антикоррозионных покрытий, в том числе таких, которые невозможно нанести на трубопроводы в трассовых условиях.

18.11. Наряду с традиционными битумными, полимерными и комбинированными мастично-ленточными покрытиями, применяемыми при трассовой технологии наружной изоляции труб, в условиях заводов и трубоизоляционных баз производится наружная изоляция труб современными покрытиями на основе экструдированного полиэтилена, комбинированных покрытий в соответствии с типами и конструкциями защитных покрытий, приведенными в табл. 4.

18.12. Технология наружной изоляции труб в заводских (базовых) условиях включает ряд последовательно проводимых операций:

- входной контроль труб и изоляционных материалов;

- предварительный нагрев и сушку труб;

- очистку наружной поверхности труб;

- нагрев труб до заданной температуры (при необходимости);

- нанесение и сушка адгезионной грунтовки;

- нанесение защитного изоляционного покрытия;

- охлаждение изолированных труб (при необходимости);

- контроль качества защитного покрытия и, при необходимости, исправление брака и ремонт мест повреждений покрытия.

18.13. Подготовка труб для нанесения наружных изоляционных покрытий в заводских условиях производится следующим образом:

18.13.1. Перед проведением изоляционных работ производится входной контроль труб на соответствие их требованиям ГОСТ, Технических условий (овальность, кривизна, состояние кромок, наличие вмятин, пленов и т.д.), а также входной контроль используемых изоляционных материалов на соответствие их требованиям НТД (ГОСТ, Технические условия, сертификаты).

18.13.2. Поверхность труб перед нанесением наружных защитных покрытий должна быть высушена, обезжирена и очищена от грязи, пыли, ржавчины, рыхлой окалины.

18.13.3. При температуре воздуха ниже плюс 3 °С, а также при наличии на поверхности труб влаги перед очисткой производится предварительный подогрев и сушка труб с использованием специальных печей и установок (газовые печи, калориферы, установки индукционного нагрева и др.).

18.13.4. Нагрев труб должен производиться до температуры не ниже плюс 15 °С и не выше плюс 50 °С - в случае последующего нанесения битумно-мастичных и полимерных ленточных покрытий.

При нанесение покрытий на основе эпоксидных смол, термоусаживающихся лент, экструдированного полиэтилена и др. допускается нагрев и сушка труб при более высоких температурах, но не выше, чем рекомендуется НТД по нанесению защитных изоляционных материалов.

18.13.5. При наличии на поверхности труб жировых и масляных загрязнений производится их удаление с помощью органических растворителей (уайт-спирит, бензин-калоша, ацетон и др.) или производится сжигание загрязнений в проходных газовых печах.

18.13.6. Очистка наружной поверхности труб может производиться с использованием очистных щеточных и иглофрезерных машин, а также с применением дробеструйных и дробеметных установок.

На поверхности труб после очистки не должно оставаться пыли, грязи, ржавчины и рыхлой окалины.

18.13.7. В зависимости от типа защитного покрытия степень очистки и степень шероховатости наружной поверхности труб должна соответствовать требованиям ГОСТ 9.402-80 "Покрытия лакокрасочные. Подготовка металлических поверхностей перед окрашиванием", или шведскому стандарту SIS 05-5900 (оценка степени очистки по цветным эталонным образцам).

В табл. 37 приведены требования по степени очистки и шероховатости для основных типов защитных покрытий труб заводского (базового) нанесения.

18.13.8. При наличии на поверхности очищенных труб острых кромок, выступов, заусенец, брызг металла и шлака, которые могут повредить покрытие, дефектные участки очищаются с помощью шлифмашинок или напильников.

18.13.9. В случае нанесения покрытия на сварные трубные секции высоты остаточного грата сварного шва или валика не должна превышать размеры, установленные технологией сварки.

18.14. Конструкция, толщина покрытий на основе битумных изоляционных мастик и асфальто-смолистых соединений должны соответствовать проекту и требованиям ГОСТ 25815 и Техническим условиям на трубы с покрытием.

18.15. Перед нанесением защитных покрытий на предварительно очищенные и нагретые до заданной температуры трубы наносится слой адгезионной битумной грунтовки или грунтовки собственного изготовления. Расход грунтовки от 60 до 100 г на м2 поверхности труб.

18.16. Грунтовка наносится на трубы в специальных, закрытых камерах, оборудованных системой вытяжной вентиляции, а также посредством дозированного полива на поверхность труб с последующим растиранием брезентовым полотенцем.

Таблица 37

Степень очистки и шероховатости поверхности труб

Тип защитного покрытия

Степень очистки

Степень шероховатости поверхности

ГОСТ 9.402

Шведский стандарт SIS 05 59 00

1

2

3

4

Стекло-эмалевые, металлические

2

Sa 3

не менее 50

Поверхности на основе экструдированного полиэтилена, эпоксидных смол, термоусаживающихся лент с твердым адгезивом

2

Sa 2 1/2

не менее 50

Покрытия на основе термоусаживающихся лент с мягким адгезивом, липких полимерных лент, комбинированного ленточно-полиэтиленового покрытия

2-3

Sa 2 1/2

не менее 20

Покрытия на основе битумных мастик, асфальто-смолистых соединений, рулонных битумных материалов, комбинированные мастично-ленточные и мастично-полиэтиленовые покрытия

3-4

Sa 2 или St 3

не менее 20

При нанесении грунтовки на поверхность труб не должно оставаться подтеков, сгустков, пропусков.

18.17. Для получения качественного покрытия сразу же после нанесения грунтовки производится сушка огрунтованной поверхности труб до полного удаления органического растворителя. При этом наиболее эффективно использовать обдув труб воздухом в специальных венткамерах.

18.18. В случае нанесения обычных армированных битумно-мастичных покрытий используется серийно выпускаемое оборудование поточных механизированных линий наружной изоляции труб (например, линии ГТБ, ПТЛ, ЛИТ и др.), обеспечивающие нанесение на трубы нескольких слоев горячей мастики, армирующего материала и изоляционной обертки.

18.19. В зависимости от вида изоляционной мастики и используемых при ее изготовлении материалов температура нагрева мастики должна составлять 150-190 °С (по НТД на изоляционные материалы). Мастика должна наноситься равномерным слоем без пропусков.

18.20. Армирующие материалы (стеклохолст, стеклосетка, нетканые синтетические материалы) должны наноситься по мастичному слою.

18.21. Нанесение на трубы изоляционных покрытий различного типа производится в соответствии с существующими технологическими требованиями (Технологический регламент. Инструкция по изоляции и др.). Важнейшими технологическими параметрами при этом являются:

- скорость и шаг подачи труб по линии;

- температура наружной поверхности труб;

- расход грунтовки на единицу поверхности;

- качество нанесения и степень высыхания грунтовки;

- угол намотки и усиление натяжения ленты (при наличии ленточных покрытий);

- расход полиэтилена, температура по зонам экструдера и экструзионной головки (при нанесении полиэтиленовых покрытий);

- температура и расход охлаждающей воды, температура на поверхности изолированных труб.

18.22. В процессе очистки и изоляции труб должен производиться пооперационный контроль, который обеспечивает высокое качество нанесения изоляционных покрытий.

18.23. После нанесения изоляции производится контроль качества покрытия на соответствие ГОСТ и Техническим условиям на трубы с покрытием. Основными контролируемыми показателями при этом являются:

- толщина покрытия;

- диэлектрическая сплошность;

- адгезия покрытия к трубе;

- ударная прочность покрытия.

Одновременно производится визуальный осмотр изолированных труб для выявления дефектных участков, подлежащих ремонту, осуществляется контроль длины непокрытых концевых участков труб.

18.24. К гарантируемым показателям качества покрытия заводского или базового нанесения относятся:

- стойкость покрытия к катодному отслаиванию;

- водостойкость адгезии покрытия при различных температурах испытаний;

- стабильность показателя переходного сопротивления покрытия после испытаний в среде электролита,

- а также ряд других характеристик покрытия, которые подлежат контролю при начале освоения производства изолированных труб и далее проверяются при каждой замене применяемых изоляционных материалов и при изменении существующих технологических режимов (но не реже одного раза в 6 месяцев).

18.25. Приемочный контроль изолированных в условиях завода или трубоизоляционной базы труб производится специальной лабораторией, укомплектованной необходимыми приборами, оборудованием, методиками испытаний.

Ремонт мест повреждений изоляционных покрытий

18.26. Ремонт изоляционных покрытий производится в стационарных условиях на вводах, трубоизоляционных базах - перед отгрузкой изолированных труб, а также в трассовых условиях, после сварки труб в плеть, перед укладкой трубопровода в траншею или монтажом на опорах.

18.27. Ремонту подлежат все сквозные повреждения изоляционного покрытия. В случае экструдированных полиэтиленовых покрытий ремонту подлежат и повреждения с оставшимся на трубе слоем полиэтилена толщиной менее 1,5 мм.

Места повреждений покрытия определяются визуально, а также с помощью дефектоскопов и искателей повреждений покрытия.

18.28. Ремонт мест повреждений покрытия рекомендуется выполнять с использованием ремонтных изоляционных материалов, аналогичных материалам, применяемым для нанесения основного изоляционного покрытия.

На битумных покрытиях ремонт осуществляется битумно-мастичными материалами, а на полимерных ленточных покрытиях, липкими полимерными лентами.

Ремонт мест повреждений заводских полиэтиленовых покрытий, комбинированных ленточно-полиэтиленовых покрытий, а также покрытий на основе термоусаживающихся лент осуществляется ремонтными термоусаживающимися полиэтиленовыми лентами.

18.29. Ремонт мест повреждений защитных покрытий производится по существующей НТД (Инструкции, Технологические карты, Свод правил и т.п.).

18.30. При проведении ремонтных работ должны выполняться следующие общие требования:

- покрытие, отслоившееся от трубы, должно быть полностью удалено из зоны ремонта;

- участок защитного покрытия, прилегающий к зоне ремонта на расстоянии не менее 100 мм, должен быть тщательно очищен от загрязнений и влаги. Угол скоса покрытия к металлу трубы на ремонтируемом участке должен составлять не более 30°;

- поверхность металла трубы в места ремонта покрытия должна быть очищена с помощью пескоструйной установки, шлифмашинки или наждачной бумаги от ржавчины и остатков покрытия. Пыль и влага должны быть удалены сухой протирочной тканью;

- при температуре наружного воздуха ниже плюс 10 °С очищенные поверхности и покрытия в зоне ремонта должны быть прогреты газовой горелкой до температуры 30-50 °С. При этом не допускается коробление, плавление и отслаивание изоляционного покрытия;

- при толщине защитного покрытия 1,8 мм и выше на ремонтируемый участок наносится самоклеющаяся лента-заполнитель или специальный мастичный заполнитель, толщиной равной толщине основного покрытия трубопровода, при непротяженных повреждениях покрытия (длиной до 300 мм) рекомендуется производить ремонт покрытия в виде нанесения на ремонтируемый участок заплат из термоусаживающейся или липкой полимерной ленты с величиной захлеста на основное покрытие - не менее 50 мм для термоусаживающихся лент и не менее 100 мм - для липких полимерных лент. Для более протяженных дефектных участков (длиной более 300 мм) вместо "заплат" следует использовать кольцевой бандаж из спиральнонамотанной липкой полимерной ленты или же кольцевую манжету из термоусаживающейся ленты.

18.31. Нанесение ремонтных материалов на участки повреждений защитного покрытия осуществляется в соответствии с существующей НТД, требованиями настоящей Инструкции, а также с учетом рекомендаций заводов - поставщиков изоляционных материалов.

18.32. После нанесения ремонтного покрытия производится визуальный контроль и проверка сплошности покрытия искровым дефектоскопом.

Изоляция сварных кольцевых стыков труб

18.33. Изоляция сварных кольцевых стыков труб в трассовых условиях должна осуществляться с использованием изоляционных материалов, аналогичных материалам, применяемым для заводской (базовой) изоляции труб (для труб с битумным покрытием используются битумные мастики, для труб с полимерным ленточным покрытием - липкие полимерные ленты, для труб с покрытием на основе экструдированного полиэтилена или термоусаживающихся лент - термоусаживающиеся полимерные ленты).

18.34. При проведении работ по изоляции сварных стыков труб должны выполняться следующие общие требования:

- поверхность зоны сварного стыка, а также участки прилегающего заводского покрытия на расстоянии 70-100 мм от зоны стыка должны быть тщательно очищены от ржавчины, рыхлой окалины. Степень очистки должна соответствовать типу применяемых изоляционных материалов (для битумных мастик и липких полимерных лент степень очистки соответствует 3 или 4 по ГОСТ 9.402-80, для термоусаживающихся лент - степень очистки 2, 3 по ГОСТ 9.402-80). Для очистки могут использоваться металлические щетки, шлифмашинки, установки пескоструйной очистки;

- кромки покрытия, прилегающего к зоне сварного стыка, должны иметь плавный переход к поверхности трубы. Угол скоса поверхности не должен превышать 30°;

- при наличии на поверхности труб влаги, а также при температуре воздуха ниже плюс 5 °С перед очисткой зоны сварного стыка производится его предварительный нагрев газовыми горелками или другими подогревателями до температуры не ниже плюс 15 °С;

- перед нанесением покрытия очищенная изолируемая поверхность должна быть нагрета до заданной температуры (от плюс 15 °С до плюс 40 °С) в случае нанесения битумно-мастичных и полимерных ленточных покрытий. При нанесении покрытий из термоусаживающихся лент, полиуретановых, эпоксидных покрытий нагрев зоны сварного стыка производится до температуры, рекомендованной для применяемых теплоизоляционных материалов;

- используемые изоляционные материалы должны проходить входной контроль и по номенклатуре и основным показателям соответствовать требованиям, предъявляемым к материалам, рекомендованным для трассовой изоляции сварных стыков труб с тем или иным типом заводского покрытия;

- нанесение изоляционных покрытий на зону сварного стыка и прилегающие участки заводского покрытия производится согласно требованиям НТД для каждого типа изоляционного покрытия (Инструкции, Рекомендации, Технологические карты и т.д.). При нанесении адгезионного праймера слой грунтовки должен быть равнотолщинным, сплошным и покрывать всю обрабатываемую поверхность стыка и прилегающее к стыку заводское покрытие на расстоянии не менее 100 мм. Ленточные покрытия должны наноситься без гофр, морщин, пропусков, с захлестом на заводское покрытие не менее 50 мм для липких полимерных и термоусаживающихся лент.

Контроль качества изоляционных покрытий

18.35. Контроль качества изоляционных покрытий в заводских и трассовых условиях производится в соответствии с требованиями существующей НТД (ГОСТ 25812-83, СНиП, ВСН) и Техническими условиями на трубы с покрытием.

18.36. Толщина защитных покрытий контролируется с применением магнитных толщиномеров типа МТ-10НЦ, МТ-50НЦ или других измерительных приборов.

Проверка толщины покрытия заводского (базового) нанесения осуществляется на 10 % труб и в местах, вызывающих сомнение, не менее, чем в трех сечениях по длине трубы и в четырех точках каждого сечения. При трассовой изоляции труб толщина покрытия измеряется через каждые 100 м трубопровода и в местах, вызывающих сомнение, в четырех точках каждого сечения.

18.37. Адгезию покрытий к стали контролируют по методике ГОСТ 25812-83, приложение Б (метод А - для покрытий из полимерных лент, метод Б - для битумных покрытий).

Для определения адгезии используются адгезиметры типа АМЦ 2-20; АР-1; СМ-1.

При заводском или базовом нанесении покрытия контроль адгезии осуществляется на 2 % труб, а также в местах, вызывающих сомнение, при трассовом нанесении - через каждые 500 м и в местах, вызывающих сомнение.

18.38. Сплошность покрытия контролируется на всей поверхности труб перед укладкой трубопровода в траншею. Контроль сплошности осуществляется искровым дефектоскопом типа "Крона" при напряжении 5 кВ/мм толщины покрытия. В случае пробоя защитного покрытия проводят ремонт дефектных мест по НТД на соответствующий вид покрытия. Отремонтированные участки покрытия повторно контролируются.

Контроль сплошности покрытия на уложенном и засыпанном трубопроводе проводят с использованием искателей повреждений типа АНПИ, УДИП-1М или другим аналогичным прибором, после чего, в случае обнаружения дефектов, изоляция должна быть отремонтирована по НТД на соответствующий вид покрытия.

На законченных строительством участках трубопроводов изоляционное покрытие подлежит контролю методом катодной поляризации (ГОСТ 85812. Приложение Г). При катодной поляризации в зимних условиях контроль проводится после оттаивания грунта.

18.39. Проверку качества изоляционных покрытий следует осуществлять поэтапно в следующем порядке:

перед опусканием трубопровода в траншею или монтажом на опорах следует проверять всю поверхность защитного покрытия: внешним осмотром, искровым дефектоскопом - на сплошность, отсутствие трещин и повреждений;

по ГОСТ 25812-83 - толщину и прилипаемость покрытия;

после опускания трубопровода в траншею до его присыпки защитное покрытие подлежит проверке внешним осмотром, также следует проверять качество покрытий монтажных стыков, изолированных в траншее;

через сутки после присыпки газопровода покрытие подлежит проверке инструментальным методом на отсутствие участков прямого электролитического контакта металла трубы с грунтом;

после засыпки траншеи покрытие подлежит окончательной проверке инструментальным методом на отсутствие участков электролитического контакта металла трубы с грунтом.

Данные о качестве изоляционного покрытия следует оформлять в строительном паспорте.

Технология изоляции соединительных деталей и запорной арматуры

18.40. Наружная изоляция соединительных деталей и запорной арматуры производится в базовых условиях, на промплощадках и в трассовых условиях.

18.41. При изоляции соединительных деталей и запорной арматуры используются современные технологии, материалы и оборудование для очистки металлической поверхности и нанесения покрытия: производится пооперационный контроль и приемочный контроль качества покрытия, что обеспечивает получение покрытия, не уступающее по свойствам основному изоляционному покрытию трубы.

18.42. В качестве изоляционных материалов применяются современные лакокрасочные материалы на основе эпоксидных и полиуретановых смол, которые сочетают высокую атмосферостойкость и химстойкость.

18.43. Технология наружной изоляции соединительных деталей и запорной арматуры является стандартной и включает операции подготовки металлической поверхности, нанесения и сушки покрытия и контроль качества покрытия.

18.44. Подготовка металлической поверхности имеет важное значение для качества защитного покрытия. Оптимальную подготовку металлической поверхности можно получить лишь с применением пескоструйного или дробеструйного способа очистки, которые обеспечивают очистку от окислов степени 2, 3 по ГОСТ 9.402-80.

18.45. Нанесение лакокрасочных материалов производится с применением современных механизированных способов при температуре окружающего воздуха не ниже плюс 5 °С и относительной влажности воздуха не выше 80 %.

Защита надземных трубопроводов от атмосферной коррозии

18.46. Трубопроводы при надземной прокладке должны защищаться от атмосферной коррозии лакокрасочными, металлическими, стеклоэмалевыми покрытиями, или другими атмосферостойкими защитными покрытиями.

18.47. Лакокрасочные покрытия должны иметь общую толщину не менее 0,2 мм и сплошность - не менее 1 кВ на толщину покрытия.

18.48. Толщина покрытия из алюминия (ГОСТ 7871-75) и цинка (ГОСТ 13073-77) должна быть не менее 0,25 мм.

18.49. Консистентные смазки следует применять в районах с температурой воздуха не ниже минус 60 °С на участках с температурой эксплуатации трубопроводов не выше плюс 40 °С.

18.50. Противокоррозионная защита опор и других металлических конструкций надземных трубопроводов должна выполняться в соответствии с требованиями СНиП 3.04.03-85.

Технология внутренней изоляции труб в заводских (базовых) условиях

18.51. Для защиты внутренней поверхности труб используются лакокрасочные материалы (ЛКМ) с содержанием сухого остатка до 70 %, высоковязкие ЛКМ (содержание сухого остатка выше 70 %), ЛКМ без растворителя, порошковые краски с грунтовочным подслоем (праймером).

18.52. Технология защиты внутренней поверхности труб включает следующие последовательно проводимые операции:

- входной контроль качества труб;

- предварительный нагрев труб, при необходимости, для сушки или термообезжиривания;

- очистка внутренней поверхности с созданием требуемой чистоты и шероховатости;

- нагрев труб до заданной температуры (при необходимости);

- нанесение и формирование защитного покрытия;

- контроль качества защитного покрытия;

- ремонт мест повреждения покрытия;

- маркировку труб.

18.53. Технические требования к подготовке поверхности труб для нанесения внутренних защитных покрытий:

18.53.1. Все трубы подвергаются визуальному контролю. Защищаемая поверхность не должна иметь острых выступов, заусенцев, задиров, прилипших капель металла, шлака и т.п. Изделия с выявленными дефектами отделяются oт партии и противокоррозионной защите не подлежат.

18.53.2. Поверхность трубы, подлежащей противокоррозионной защите, должна быть очищена от грязи, пыли, и быть сухой. Наличие влаги не допускается. Удаление влаги осуществляют нагревом трубы до температуры 60-80 °С или продувкой теплого (до 60 °С) воздуха.

18.53.3. При наличии на поверхности трубы масляной пленки или масляных пятен труба подвергается обезжириванию термическим способом, обезжиривающими составами с последующей их нейтрализацией.

18.53.4. Перед нанесением покрытий внутренняя поверхность трубы подвергается абразивной обработке (методом дробеструйной или дробеметной технологии в зависимости от диаметра трубы). Степень очистки от окислов не ниже 2 по ГОСТ 9.402-80. Степень шероховатости поверхности определяется требованиями конкретного защитного материала. Воздух для дробеструйной обработки должен соответствовать ГОСТ 9.010-80.

18.53.5. Перед нанесением покрытий на основе полимерных рукавов внутренняя поверхность трубы подвергается механической очистке (скребками, шлифмашинками и т.д.) до степени 3 по ГОСТ 9.402-80.

18.53.6. При дробеструйной или дробеметной очистке внутренней поверхности трубы используют стальную колотую дробь, диоксид алюминия, купрошлаки или другие абразивные материалы, отвечающие требованиям безопасности и санитарным нормам при работе с ними.

18.53.7. С поверхности трубы после абразивной очистки удаляют пыль, остатки абразивного материала методом продувки сжатым воздухом или любым механическим способом.

18.54. Технология нанесения жидких лакокрасочных материалов.

18.54.1. Лакокрасочные материалы (ЛКМ) с содержанием сухого остатка < 70 % наносят на внутреннюю поверхность трубы методом пневматического или безвоздушного распыления. Необходимая толщина покрытия (см. табл. 6а) достигается нанесением 2-5 слоев ЛКМ.

18.54.2. Высоковязкие двухкомпонентные ЛКМ с содержанием сухого остатка > 70 % и ЛКМ, не содержащие растворителя, наносятся на внутреннюю поверхность трубы установками безвоздушного распыления с предварительным подогревом и раздельной подачей компонентов к распылительному соплу установки. Необходимая толщина покрытия (см. табл. 6а) достигается нанесением 1-2 слоев ЛКМ.

18.54.3. Нанесение каждого последующего слоя производят по предварительно высушенному предыдущему слою. Сушку каждого слоя и отверждение всего покрытия производят в соответствии с требованиями НД на конкретный ЛКМ.

18.55. Технология нанесения порошкового покрытия.

18.55.1. Перед нанесением порошковых красок на трубы наносят жидкое грунтовочное покрытие (адгезионный праймер) толщиной 15-30 мкм.

18.55.2. Отверждение грунтовочного слоя производят в соответствии с требованиями НД на материал.

18.55.3. Порошковая краска наносится на трубу, нагретую до температуры, предусмотренной НД на конкретный материал.

18.56. Контроль качества внутреннего защитного покрытия.

18.56.1. Контроль качества внутренней поверхности трубы с покрытием включает в себя:

- визуальный осмотр;

- испытание покрытия на диэлектрическую сплошность;

- определение толщины покрытия;

- определение адгезии покрытия.

18.56.2. Визуальный осмотр проводится при освещении внутренней поверхности трубы с обоих концов при ее вращении.

18.56.3. Контроль диэлектрической сплошности покрытия производится на каждой трубе с помощью искрового дефектоскопа, встроенного в технологическую цепочку линии.

18.56.4. Определение толщины покрытия производится на 10 % труб магнитным толщиномером с обоих концов труб.

18.56.5. Адгезия покрытия к подложке проверяется методом решетчатого (ГОСТ 15140) или Х-образного надреза (ASTM D 3359) на образцах-свидетелях или на трубах, отбракованных в процессе определения диэлектрической сплошности покрытий или по каким-либо другим причинам. Возможно определение адгезии на качественных трубах с последующей заделкой места повреждения.

19. ТЕХНОЛОГИЯ НАНЕСЕНИЯ ТЕПЛОИЗОЛЯЦИОННЫХ ПОКРЫТИЙ В БАЗОВЫХ УСЛОВИЯХ

19.1. Конструкция тепловой изоляции включает антикоррозионное, теплоизоляционное и гидроизоляционное покрытия.

19.2. Теплоизоляцию в трассовых условиях наносят только при отсутствии в близлежащих районах строительства баз или цехов по теплоизоляции труб.

19.3. Теплогидроизолированные трубы, трубные секции, узлы и детали следует производить в соответствии с технологическим регламентом, утвержденным в установленном порядке. Теплогидроизолированные трубы, трубные секции, узлы и детали, а также материалы для их изготовления должны отвечать требованиям действующих технических условий и стандартов.

19.4. Допускается проведение работ по тепловой изоляции трубопроводов надземной прокладки с использованием сборных, индустриальных полносборных и комплектных конструкций из минераловолокнистых теплоизоляционных материалов и изделий, изделий из пенопластов (скорлуп, цилиндров, полуцилиндров и др.).

19.5. Индустриальные полносборные и комплектные конструкции должны отвечать требованиям ТУ 36-1180-85 Минмонтажспецстроя.

19.6. На шлейфовых газопроводах диаметром 114-530 мм, прокладываемых надземно, при применении несветостойких материалов для гидроизоляционного слоя, последний должен быть защищен светозащитным покрытием.

19.7. В базовых условиях подготовку наружной поверхности секций труб, а также нанесение противокоррозионного покрытия на основе грунтовки ГТ-832НИК (ТУ 102-550-83) производят на линии ПТЛ-2. При этом осуществляются следующие операции:

В зимнее время секции труб очищают от снега или наледи, высушивают и подогревают до температуры не менее +15 °С.

Наружную поверхность секции труб очищают вращающимися круглыми металлическими щетками от грязи, ржавчины, копоти, жировых пятен, следов топлива, рыхлой окалины и т.п. Очищенная поверхность должна быть сухой и иметь цвет с характерными проблесками металла.

19.8. Грунтовку перед ее подачей в расходный бак и нанесением на поверхность необходимо тщательно размешать и процедить, не допуская посторонних включений, сгустков и комков.

Температура грунтовки при нанесении должна быть в пределах от +10 до +30 °C. Для поддержания таких температур необходимо применять беспламенный подогрев грунтовки.

Грунтовку необходимо наносить на наружную поверхность труб, включая зоны сварных швов, сплошным ровным слоем толщиной не менее 0,05 мм, без пропусков, пузырей и сгустков. Ориентировочный расход грунтовки составляет 0,12-0,25 л/м2. Концы труб на длине до 150 мм грунтовкой не покрывают. Необходимо следить за тем, чтобы грунтовка не попадала на торцы труб.

19.9. Огрунтованные секции и трубы передают в отделение нанесения теплоизоляционных и гидроизоляционных покрытий.

Нанесение монолитной пенополиуретановой теплоизоляции осуществляется в герметично закрывающихся разъемных формах. Трубные секции укладывают в полость формы на специальные полукольцевые вкладыши из пенополиуретана, центрирующие трубную секцию соосно с формой. По торцам секцию герметизируют такими же вкладышами, оставляя не заизолированными концы длиной 150 мм, закрывают верхней половиной формы, затем в полость формы заливают полимерную смесь.

Приготовление заливочной смеси и заливку ее в форму осуществляют с помощью машины типа "Трузиома".

Заливку производят при температуре окружающего воздуха не ниже +35 °С.

Залитый в форму состав выдерживают в течение 20 минут до полного его вспенивания и отверждения. Затем форму открывают, трубу извлекают из формы и укладывают на конвейерную линию гидроизоляции.

19.10. Нанесение гидроизоляции производится путем обмотки теплоизоляционного слоя полимерной лентой (типа "Нитто 53-635"). Первый слой ленты наносят с полуторным шагом липкой стороной вверх, второй слой ленты, наносимый липкой стороной вниз, должен закрывать не заизолированную часть трубы с нахлестом по 50-100 мм на первый слой с каждой стороны. При этом образуется клеевой замок, т.е. в нахлесте ленты прочно склеиваются, образуя герметичное покрытие.

Обмотку полимерными лентами производят с помощью обмоточной машины.

19.11. Светозащитный слой - алюминиевая фольга ГОСТ 618-73 шириной 300 мм, толщиной 0,1-0,05 мм - наносят спиральной намоткой с нахлестом 20 мм. При этом фольга приклеивается к липкому слою гидроизоляционной ленты и прикатывается прикатным роликом. Концы фольги на обоих концах секции закрепляют проволочными скрутками.

19.12. В полевых условиях после сварки труб или секций в плеть и положительного заключения о качестве сварного соединения поверхность стыка перед нанесением противокоррозионного слоя необходимо очистить от шлака, грязи, пыли, продуктов коррозии до металлического блеска и высушить.

Очистку поверхности шва и околошовной зоны рекомендуется выполнять шлифмашинками или металлическими щетками.

Сушку и подогрев изолируемой зоны сварного стыка производят индукционными нагревателями, обеспечивая сохранность теплоизоляционного и гидроизоляционного покрытий.

19.13. В трассовых условиях нанесение изоляционного покрытия из слоя грунтовки ГТ-832НИК на поверхность в зоне стыка разрешается производить при температуре окружающего воздуха не ниже минус 40 °С. При температуре воздуха ниже плюс 3 °С изолируемую поверхность необходимо подогреть до температуры не ниже плюс 15 °С, избегая загрязнения ее следами копоти, топлива и т.п.

19.14. Перед нанесением грунтовку необходимо тщательно перемешать до полного исчезновения возможного осадка. Для нанесения грунтовки рекомендуется применять окрасочные волосяные кисти или поролоновые валики, возможно также использовать способ распыления.

19.15. При работе с грунтовкой ГТ-832НИК необходимо соблюдать требования техники безопасности и правила пожарной безопасности, изложенные в соответствующем разделе ТУ 102-350-83 на грунтовку.

19.16. После нанесения противокоррозионного слоя наносят теплоизоляционные и гидроизоляционные покрытия.

19.17. Для теплоизоляции зоны сварных стыков можно использовать как скорлупы из фенолформальдегидной смолы с объемной массой ³ 100 кг/м3, так и маты из минеральной ваты или базальтового волокна. Скорлупы или маты раскраивают по длине зоны таким образом, чтобы они плотно входили в пространство между имеющимся на трубах теплоизоляционным покрытием.

Нанесенное в зоне стыка покрытие скрепляют бандажами из полимерной липкой ленты, после чего наносят гидроизоляционный слой.

19.18. Для гидроизоляции теплоизоляционного слоя применяют полимерную ленту типа "Нитто 53-635".

Ленту наносят в два слоя спиральной намоткой с 50 %-ным нахлестом. Нахлест на слой заводской изоляции должен быть не менее 10 см.

19.19. По гидроизоляционному покрытию наносят кожух из алюминия или оцинкованного железа толщиной 0,8 мм с замком в нижней части трубы. Допускается применение алюминиевой фольги, которую наносят спиральной намоткой с нахлестом 2-3 см.

19.20. Участки сваренного в нитку неизолированного трубопровода, уложенного на опоры, допускается теплоизолировать следующим образом.

Поверхность трубопровода очистить и загрунтовать согласно пп. 19.8-19.11.

Загрунтованную трубу теплоизолируют путем монтажа скорлуп, состоящих из слоя вспененного полиуретана и адгезированного на внешнем слое к нему в процессе формирования скорлупы фольгоизола.

Фольгоизол должен иметь выступающие за пенопласт кромки шириной до 10 см, которыми гидроизолируют продольный стык. Поперечные стыки гидроизолируют наносимой по слою грунтовки полимерной лентой типа "Нитто 53-635" методом "сигаретной" намотки в два слоя.

20. УСТАНОВКА СВАЙНЫХ ОПОР

20.1. Сваи, поставляемые заводом, должны иметь паспорт, в котором указываются наименование завода-изготовителя и его адрес, номер и дата выдачи паспорта, номер ГОСТа или чертежа, по которому изготовлена свая, марка батона (для железобетонных свай), дата изготовления. На сваях должны быть написаны несмываемой краской марка и дата изготовления сваи.

Верхний торец сваи должен быть перпендикулярным ее продольной оси. Наружная поверхность свай должна быть гладкой и не иметь впадин глубиной более 5 мм, а также наплывов высотой более 8 мм (для железобетонных свай).

20.2. Допустимые отклонения размеров свай не должны превышать следующих значений:

по длине свай:

при номинальном размере до 10 м                          ±30 мм

при номинальном размере более 10м                     ±50 мм

по диаметру (для круглых свай)                               + 5 мм; -0 мм

по кривизне (максимальная стрелка)                      10 мм

по смещению острия сваи от геометрического

центра сечения                                                           10 мм

20.3. Установка свайных опор надземных трубопроводов на ВМГ производится в соответствии со СНиП 3.02.01-87. Работы выполняются, как правило, методами, исключающими растепление вечномерзлых грунтов, а именно:

забивкой свай в предварительно пробуренные скважины меньшего диаметра (забивка в лидерные скважины);

установкой свай в скважины большего диаметра (буроопускной способ) с заливкой зазоров специальными растворами;

забивкой свай непосредственно в пластичномерзлые грунты (забивной способ);

установкой свай с одновременным бурением скважины и ее погружением (бурозабивной способ).

20.4. Бурение скважин диаметром от 150 до 600 мм и глубиной до 12 м под установку свайных опор в вечномерзлых грунтах любой прочности и состава производят машинами термомеханического бурения; в однородных пластичных вечномерзлых грунтах невысокой плотности (I и II категорий) - машинами вращательного бурения, а также установками лидерного бурения.

20.5. Технологические схемы бурения скважин и установки свай, а также необходимый набор машин выбираются в зависимости от гранулометрического состава вечномерзлых грунтов, их температурного режима, наличия в грунте крупнообломочных включений, времени (сезона) установки свай и их конструкции.

20.6. Диаметр свай и глубина их установки определяются на основе данных геологических изысканий о несущей способности грунтов и их склонности к пучению.

20.7. При установке свай методом опуска в предварительно пробуренные скважины диаметр последних должен быть на 50 мм больше, чем диаметр сваи.

При установке свай методом забивки в лидерные скважины диаметр последних должен быть на 50 мм меньше, чем диаметр сваи.

20.8. Установка свай в скважины опускным способом производится стандартными грузоподъемными машинами, оборудованными специальной грузозахватной оснасткой.

20.9. Интервал времени между бурением скважин и установкой в них свай не должен превышать 3-х часов.

20.10. Лидерное бурение применяют для образования скважин, в пластичномерзлых однородных грунтах, содержащих не более 30 % крупнообломочных включений. Сваи забивают в грунт с помощью серийно выпускаемых вибропогружателей, вибромолотов, дизель-молотов и др.

2.11. При наличии в грунтах крупнообломочных включений применяется буроопускной способ.

20.12. Технологическая последовательность операций при опускном способе следующая:

устройство площадки в строго горизонтальной плоскости для установки на ней бурового агрегата;

доставка горячей воды, необходимой для желонирования, к передвижным емкостям или подогрев ее в процессе производства работ;

подготовка бурового раствора непосредственно на трассе в передвижных котлах с использованием для этой цели бурового шлама добавкой мелкозернистого песка в количестве 30-40 % от объема смеси; для приготовления, сохранения и подогрева песчано-глинистого раствора оборудуется подогреваемый смеситель или применяется передвижной битумный котел-термос емкостью 0,6 м3;

бурение скважины;

заливка скважины подогретым до температуры 30-40 °С песчано-глинистым раствором в объеме примерно 1/3 от объема скважины (из расчета полного заполнения пространства между сваей и стенкой скважины);

установка сваи в скважину краном-трубоукладчиком или другой грузоподъемной машиной.

При погружении сваи на проектную отметку раствор должен выжиматься на поверхность земли, что служит свидетельством полного заполнения раствором пространства между стенками скважины и поверхностью сваи.

20.13. Технология устройства опор должна обеспечивать надежную заделку свай в вечномерзлые грунты после замерзания раствора.

20.14. Длительность процесса смерзания сваи с вечномерзлым грунтом зависит от сезона производства работ, характеристик вечномерзлого грунта, температуры грунта, конструкции сваи, состава песчано-глинистого раствора и других факторов и должна быть указана в проекте производства работ.

20.15. В твердомерзлых глинистых, мелкозернистых, пылеватых, а также песчаных грунтах, при средней температуре грунтов в зоне заделки сваи минус 1,5 °С и ниже; сваи допускается погружать и забивать при предварительном пропаривании грунта.

Для пропаривания следует применять котлы, соответствующие требованиям котлонадзора. Каждый агрегат должен быть оборудован комплектом паровых игл, изготовленных из газопроводных труб диаметром 19-25 мм, и резиновыми жаростойкими шлангами на давление до 10 атм, при помощи которых иглы соединяются с коллектором. На скважине возможно использовать несколько паровых игл в зависимости от производительности котла.

20.16. Сваи рекомендуется погружать краном-трубоукладчиком.

После погружения сваи выверяют ее высотное положение. В некоторых случаях целесообразно также "добить" сваю до проектной отметки сваебойными агрегатами, виброкопром или вибропогружателем.

Погружать сваи в скважины после пропаривания грунта следует немедленно, до начала его смерзания.

Установка свай с применением пропаривания грунта должна опережать укладку на них трубопровода от 3-х до 6-ти месяцев в зависимости от характера грунта, продолжительности и площади пропаривания.

20.17. При приемке готовых свайных оснований (в общем случае) должны быть представлены:

проект свайного основания;

рабочие чертежи свай;

акт освидетельствования свай;

журнал изготовления и хранения свай;

акт геодезической разбивки свайной полосы;

исполнительные планы расположения свай;

журнал забивки свай.

Приемка свайных опор оформляется актом, который подписывают представители заказчика, технадзора, строительной и проектной организаций.

21. МОНТАЖ НАДЗЕМНЫХ ТРУБОПРОВОДОВ

21.1. Комплекс строительно-монтажных работ по сооружению надземных трубопроводов (разбивка оси трассы, устройство опор, монтаж трубных плетей и компенсаторов, регулировка положения трубопровода и т.п.) должен сопровождаться поэтапной исполнительной геодезической съемкой с целью недопущения сверхнормативных отклонений параметров готового объекта от принятых в проекте(табл. 38).

Таблица 38

Допускаемые отклонения фактического положения надземного трубопровода от проектного

Контролируемый параметр

Допустимое отклонение, мм

1

2

Точность положения осей опоры и трубопровода при выносе в натуру:

 

вдоль оси трубопровода

±100

поперек оси трубопровода

±50

Отклонение высотной отметки подошвы фундамента опоры

±25

Смещение фундамента относительно разбивочных осей

±40

Отклонение оголовки сваи в плане

±50

Отклонение высотной отметки верха сваи

±50

Отклонение центра опоры

±50

Отклонение отметки верха опорной части

±20

Отклонение оси трубопровода от центра опоры:

 

на продольно-подвижных опорах

±100

на свободно-подвижных опорах с учетом

±200

поправок на температуру в период монтажа (по проекту)

 

Отклонение трубопровода от геометрической оси трассы на прямолинейных переходах (без компенсации температурных деформаций) на каждой опоре

±50

Отклонение вылета компенсатора

±1000

-500

21.2. Требования данного раздела распространяются как на надземную прокладку всего трубопровода, так и на отдельные его участки (переходы).

213. Проект производства работ должен содержать указания о способе и последовательности монтажа и укладки, обеспечивающие прочность, устойчивость и неизменяемость конструкции на всех стадиях строительства. При этом расчетная величина монтажных напряжений в трубопроводе должна быть не более 90 % от нормативного предела текучести материала трубы.

21.4. При сооружении надземных трубопроводов в зависимости от их диаметра, назначения, типа изоляции (антикоррозионной и тепловой), высоты опор, расстояний между компенсаторами, а также общей и локальной протяженности надземных участков могут быть применены следующие способы монтажа и укладки:

продольная надвижка заранее заготовленных плетей на опоры;

подъем с поверхности строительной полосы на опоры отдельных труб или заранее заготовленных секций с последующей сваркой их между собой;

укладка длинномерной плети с поверхности строительной полосы на опоры.

Способ монтажа и укладки должен быть указан в проекте; замена одного метода другим без согласования с проектной организацией не допускается.

21.5. Допускаемые отклонения фактических параметров от проектных для участков надземной прокладки трубопроводов при использовании балочной схемы приведены в табл. 38, а при использовании других схем (арочной, висячей, вантовой, шпренгельной и т.п.) эти отклонения должны быть указаны в проекте.

21.6. Поперечные (кольцевые) сварные стыки должны находиться за пределами опорной части трубопровода и отстоять от нее на расстоянии не менее 200 мм.

21.7. После того как плети трубопровода займут на опорах предпроектное положение, под них следует подвести ригели с заданным усилием или на заданную высоту; величина того или другого параметра для каждой опоры в отдельности указывается в рабочих чертежах.

Установленное в соответствии с проектом положение трубопровода фиксируется на опорах путем затяжки охватывающих хомутов.

21.8. Сборка и сварка замыкающих стыков производятся при расчетном интервале температур, который указывается в проекте.

21.9. После проведения испытаний трубопровода следует выполнить повторный геодезический контроль положения трубопровода; при необходимости, по согласованию с эксплуатирующей организацией, производится дополнительная регулировка положения трубопровода на опорных ригелях (в этом случае должны быть временно ослаблены хомуты, фиксирующие положение трубопровода на опоре).

21.10. Компенсаторы на опорах должны монтироваться с таким расчетом, чтобы свое срединное положение они занимали при температуре, указанной в проекте как усредненное значение температурного интервала; замыкающий стык выполняется за пределами П-образного компенсатора.

21.11. Монтаж трубопровода должен осуществляться из труб или секций с заводским или базовым изоляционным покрытием, а теплоизолированного трубопровода - из одиночных труб с тепловой изоляцией, нанесенной в базовых условиях.

21.12. Монтаж трубопровода производится либо на раскладочных лежках рядом со свайными опорами с последующим подъемом плетей на эксплуатационные опоры, либо непосредственно на эксплуатационных опорах с использованием передвижных монтажных опор.

Монтаж трубопровода из труб с тепловой изоляцией следует выполнять на эксплуатационных опорах "с колес" без раскладки труб на строительной полосе.

21.13. Монтаж трубопроводов диаметром 530 мм и более допускается производить из трехтрубных секций, свариваемых в базовых условиях. Трубопроводы диаметром менее 530 мм из-за их повышенной гибкости следует монтировать из отдельных труб или двухтрубных секций.

21.14. В местах монтажа компенсаторов трубопроводов необходимо оставлять технологические разрывы. Сварочные работы при монтаже компенсаторов должны выполняться с применением наружных центраторов.

21.15. Монтаж ригелей и опорных элементов выполняется после оформления акта приемки свайных опор, которым подтверждается их соответствие проекту.

21.16. Монтаж трубопроводов следует начинать от анкерных (неподвижных) опор в сторону компенсаторов.

Монтаж параллельных ниток трубопроводов начинается с дальнего по отношению к технологическому проезду трубопровода.

21.17. В процессе сварки прилегающие к стыку поверхности труб должны быть защищены термостойкими бандажами, предотвращающими попадание на покрытие труб брызг расплавленного металла.

21.18. Подогрев стыков перед сваркой следует осуществлять внутренними пламенными подогревателями или индукционными нагревателями.

21.19. Приварка трубных патрубков к ложементам для неподвижных (анкерных) опор производится в базовых условиях с термообработкой (до изоляции и теплоизоляции).

21.20. Перед вваркой компенсаторов в нитку они подвергаются предварительной растяжке. Величина растяжки компенсатора зависит от температуры, при которой фактически осуществляется замыкание стыков; эта величина устанавливается по диаграмме, входящей в состав проекта.

21.21. Замыкающий стык должен выполняться на трубах с одинаковой толщиной стенки. Замыкающий стык не должен выполняться на концах патрубков неподвижных опор.

21.22. Заделка стыковых сварных соединений производится после укладки трубопровода на ригели.

Заделка зон сварных соединений включает антикоррозионную изоляцию, теплоизоляцию и гидроизоляцию (см. пп. 18.33, 18.34).

21.23. При монтаже теплоизолированного трубопровода на затопляемых территориях необходимо обеспечить герметичную заделку стыков во избежание проникновения влаги в теплоизоляционное покрытие.

21.24. Ингибиторопровод монтируют из труб с базовой теплоизоляцией. Трубы на трассу доставляют в пакетах, пакет при сварке труб в нитку перемещается по трассе на санях.

Ингибиторопровод прикрепляется к трубопроводу с помощью хомутов. Продувка и испытание производится после окончания монтажа ингибиторопровода.

21.25. При монтаже надземного теплоизолированного трубопровода с попутным электроподогревом крепление трубы-спутника (обогревающей трубы) к транспортному трубопроводу в зависимости от давления перекачиваемого продукта осуществляют сплошной приваркой односторонним швом, приваркой прерывистым двусторонним швом или с помощью хомутов. Крепление сваркой осуществляется при давлении в транспортном трубопроводе до 0,1 МПа. Если же давление выше указанного значения, то крепление должно осуществляться с применением хомутов.

21.26. Монтаж системы электроподогрева необходимо выполнять протяжкой греющего кабеля внутри смонтированного трубы-спутника с последующим подключением его к источнику питания.

Для протяжки кабеля на трубопроводе-спутнике (обогревающей трубе) через каждые 100-150 м оставляют разрывы длиной 300-500 мм.

21.27. Перед протяжкой греющего кабеля через обогревающую трубу следует проверить состояние ее внутренней поверхности путем протяжки калибра диаметром 0,9 от диаметра трубы. Протяжку калибра следует производить в направлении предстоящей протяжки кабеля. При обнаружении в обогревающей трубе задиров, наплывов и других помех протяжку кабеля следует производить только после их устранения.

21.28. Протяжку кабеля необходимо производить по частям от разрыва до разрыва с сохранением петли на разрывах. После протяжки кабеля через соседние плети (на длину 100-150 м) петли кабеля вытягивают. После окончания протяжки кабеля через весь участок обогревающего трубопровода разрывы на нем должны быть заделаны муфтами с покрытием их антикоррозионной и тепловой изоляцией.

21.29. На прямолинейных участках протяжку кабеля, как правило, осуществляют пневматическим способом, а на криволинейных - вручную.

21.30. Протяжку кабеля через П-образный и трапецеидальный компенсатор трубы-спутника следует осуществлять вручную, для чего трубопровод-спутник на углах компенсатора должен иметь дополнительные разрывы. При протяжке на углах компенсатора оставляются петли кабеля. После полной протяжки через компенсатор угловые петли кабеля убираются путем их вытягивания. По окончании процесса протяжки кабеля угловые разрывы компенсаторов должны быть закрыты муфтами, прикрепляемыми с помощью хомутов к транспортному трубопроводу, и покрыты антикоррозионной и тепловой изоляцией.

21.31. Испытание системы электроподогрева следует проводить после ее монтажа в два этапа. На первом этапе необходимо испытать работоспособность и электробезопасность самого нагревателя, а на втором - эффективность работы всей нагревательной системы. Нагреватель подлежит испытанию на нескольких режимах изменения тока от минимального значения до максимального. Время работы на каждом режиме определяют полной стабилизацией температуры трубопровода.

21.32. Технология и организация испытания системы электроподогрева должны быть отражены в проекте.

21.33. Испытания на прочность и герметичность транспортного трубопровода следует проводить после окончания монтажа системы электроподогрева.

22. ТЕХНОЛОГИЯ УКЛАДКИ НАДЗЕМНОГО ТРУБОПРОВОДА

22.1. Укладка смонтированных трубных плетей на эксплуатационные опоры выполняется после контроля качества кольцевых сварных стыков.

22.2. Укладка плетей из труб диаметром 530-1020 мм на эксплуатационные опоры осуществляется колонной, состоящей из 4-х трубоукладчиков. При укладке плетей из труб диаметром 530 и 720 мм применяются трубоукладчики с моментом устойчивости 24 т.м., при укладке плетей из труб диаметром 1020 мм - трубоукладчики с моментом устойчивости 60 т.м.

22.3. Используемые при укладке схемы должны обеспечивать как сохранность самого трубопровода от возможных изломов, так и неповреждаемость теплоизоляционного покрытия за счет использования специальной монтажной оснастки и контроля фактического высотного положения плети, подверженной монтажному изгибу. При укладке не допускается соударений укладываемой плети с металлоконструкциями эксплуатационных опор.

22.4. Укладка плетей осуществляется либо методом "перехвата", либо методом "переезда". При переходе одного из кранов-трубоукладчиков плеть поддерживается остальными тремя кранами-трубоукладчиками; непосредственно спуск плети на опоры осуществляется всеми 4-мя кранами-трубоукладчиками.

Надвижка плети на опоры в основном осуществляется двумя головными трубоукладчиками; два же последних трубоукладчика в колонне осуществляют только вертикальные перемещения плети.

22.5. Высоты подъема плети каждым из трубоукладчиков в их рабочем диапазоне приведены в табл. 39.

Таблица 39

Рабочий диапазон высот подъема трубной плети

Диаметр трубопровода, мм

Высота подъема плети, м (для каждого из трубоукладчиков с порядковым номером)

№ 1

№ 2

№ 3

№ 4

1

2

3

4

5

530

1,2-1,6

1,6-2,0

1,7-2,1

1,2-2,1

720

1,3-1,6

1,7-2,0

1,8-2,1

1,3-2,1

1020

1,3-1,5

1,6-1,9

1,8-2,0

1,3-2,0

Примечание: увеличенный диапазон изменения высот подъема 4-ым краном-трубоукладчиком обусловлен его возможным нахождением в колонне во время спуска плети либо рядом с головным (1-ым), либо с задним (3-им) краном-трубоукладчиком.

22.6. В целях предупреждения повреждений гидро- и теплоизоляционного покрытия труб краны-трубоукладчики оснащаются мягкими полотенцами. Ширина и количество лент в каждом мягком полотенце определяются, исходя из максимальных нагрузок на краны-трубоукладчики и прочностных свойств теплоизоляционного покрытия.

Максимальные нагрузки на трубоукладчики не должны превышать: для

трубопроводов диаметром 530 мм - 3,6 т,

для трубопроводов        -"- 720 мм - 7,1 т;

для трубопроводов        -"- 1020 мм - 15,5 т.

22.7. Закрепление трубопровода в проектном положении на эксплуатационных опорах следует осуществлять с учетом его перемещений при температурных перепадах, определяемых проектом.

22.8. Фиксация ложементов на подвижных опорах с помощью стяжных хомутов осуществляется со смещениями от центра опор с учетом последующих продольных перемещений трубопровода в процессе эксплуатации.

Расчетные, величины продольных смещений хомутов (монтажные смещения), принимаемые при закреплении, следует определять в зависимости от максимального повышения температуры стенок труб (положительной температуры эксплуатации), внутреннего давления (удлинения трубопровода), температуры, при которой производится замыкание монтажного стыка и расстояния между каждой конкретной подвижной и неподвижной опорами.

22.9. Общая схема монтажного смещения ложементов при закреплении трубопровода на подвижных опорах показана на рис. 6. Величины смещения ложементов относительно оси скользящей опоры в зависимости от температуры замыкания стыка должны быть отражены в ППР.

22.10. Закрепление вылета компенсатора следует производить со смещениями от края фрикционной пластины (рис. 7). Величины смещений должны быть указаны в ППР.

22.11. Перед закреплением трубопровода на опорах необходимо выполнить регулировку высотного положения опор с целью устранения остаточных монтажных напряжений в трубопроводе. Это достигается выравниванием нагрузок на опорах от веса трубопровода: Для этого кран-трубоукладчик, используемый на этой операции, оснащается динамометром.

22.12. Закрепление трубопровода на подвижных опорах производится прижатием опорных ложементов к трубе с помощью металлических хомутов.

23. УКЛАДКА ПОДЗЕМНОГО ТРУБОПРОВОДА

23.1. Трубопровод можно укладывать в траншею в зависимости от местных условий, а также от принятых конструктивных и организационно-технологических решений одним из следующих способов:

предварительным приподнятием над монтажной полосой с последующим поперечным надвиганием на траншею и опусканием на дно траншеи трубных плетей с одновременной их очисткой и изоляцией механизированными методами (совмещенный способ производства изоляционно-укладочных работ);

теми же приемами, что и в предыдущем случае, но без очистки и изоляции, которые выполняются на трассе заблаговременно (раздельный способ производства работ по очистке, изоляции и укладке трубопровода);

приподнятием над монтажной полосой, поперечным надвиганием на траншею и опусканием на дно траншеи плетей, сваренных из труб с заводской или базовой изоляцией при предварительной изоляции сварных стыков;

продольным протаскиванием с монтажной площадки заранее подготовленных (включая нанесение изоляции, футеровки, балластировки) длинномерных плетей непосредственно по дну обводненной траншеи;

продольным протаскиванием циклично по дну траншеи плети, наращиваемой по мере протаскивания из отдельных труб или секций на монтажной площадке;

продольным протаскиванием с береговой монтажной площадки трубной плети на плаву по мере ее наращивания (включая сварку, контроль качества кольцевых швов, очистку и изоляцию стыков, балластировку и пристроповку разгружающих поплавков) с последующим погружением этой плети в проектное положение путем отстроповки поплавков;

Рис. 6. Схема монтажа опорных ложементов со смещениями на ригелях подвижных опор:

DL1, DL2, DL3 - смещение трубопровода при монтаже на первой, второй, третьей и т. д. опорах; Dk - суммарное продольное перемещение трубопровода в месте примыкания его к компенсатору; L1, L2, L3, …, Lr - расстояние между неподвижной и подвижными опорами; 1, 2, 3 - скользящие опоры; 4 - неподвижная опора; 5 - компенсатор

DL1 < DL2 < DL3 … <DLr

Рис. 7 Схема монтажа вылета компенсатора со смещениями на ригелях опор:

D1 > D2 > D3

теми же приемами, но без предварительной балластировки и без применения поплавков; в этом случае погружение плети на дно траншеи осуществляется за счет навески на плавающий трубопровод балластирующих устройств специальной конструкции;

заглублением в грунт под действием собственного веса заранее подготовленных плетей за счет принудительного формирования под трубопроводом в процессе его укладки щелей в грунте (бестраншейное заглубление);

спуском отдельных труб или секций в траншею с последующим их наращиванием в плети в траншее;

спуском заранее подготовленных плетей, выложенных над траншеей и опирающихся на временные опоры, которые установлены поперек траншеи.

Выбор метода производства работ осуществляется с учетом принятой в проекте общей схемы организации строительства трубопроводами обосновывается технико-экономическими расчетами.

23.2. При укладке трубопровода в траншею необходимо обеспечивать:

недопущение в процессе опуска плетей их соприкосновений со стенками траншеи;

сохранность стенок самого трубопровода (отсутствие на нем вмятин, гофр, изломов и других повреждений);

сохранность изоляционного покрытия;

образование зазора между стенками траншеи и трубопроводом в 100-150 мм;

полное прилегание трубопровода ко дну траншеи по всей его длине; если в проекте принято решение, заведомо исключающее возможность выполнить это требование (например, предусмотрено использование в качестве основания под трубопровод специальных прокладок или мешков, заполненных песком), то там же должны быть указаны допустимые значения пролетов и предельные отклонения точек опирания по высоте.

23.3. Для защиты противокоррозионного покрытия от механических повреждений в процессе и после его укладки, а также во время засыпки трубопровода на участках, где трасса проходит по скальным, каменистым или мерзлым породам, должны применяться подсыпка и присыпка из мягкого или мелкозернистого грунта; сплошные защитные покрытия из вспененных синтетических материалов, а также обертки из синтетических композиций.

23.4. Минимальные допустимые радиусы упругого изгиба принимаются в соответствии с табл. 40.

Таблица 40

Диаметр трубопроводов, мм

Минимально допустимые радиусы упругого изгиба трубопровода, м

Диаметр трубопроводов, мм

Минимально допустимые радиусы упругого изгиба трубопровода, м

1

2

3

4

1400

1400

600

600

1200

1200

500

500

1000

1000

400

400

800

800

300

300

700

700

200

200

23.5. Основные параметры производства укладочных работ для трубопроводов диаметром 57-530 мм приведены в табл. 41. Для трубопроводов больших диаметров следует пользоваться ВСН 004-88.

Таблица 41

Основные параметры производства укладочных работ различными способами

Диаметр трубопровода, мм

Раздельный способ изоляции трубопровода

Укладка трубопровода непрерывным способом

Укладка трубопровода циклическим способом

Изоляция и укладка трубопровода совмещенным способом

количество трубоукладчиков

расстояния между трубоукладчиками

количество трубоукладчиков

расстояния между трубоукладчиками

количество трубоукладчиков

расстояния между трубоукладчиками

количество трубоукладчиков

расстояния между трубоукладчиками

1

2

3

4

5

6

7

8

9

57-114

2

8-12

2

10-12

3

12-15

2

10-12

168-219

2

10-15

2

12-15

3

14-18

2

12-15

273-426

2

12-17

2

15-20

3

16-22

2

13-18

530

2

15-20

2

17-22

3

18-25

3

14-20

Примечание: укладку трубопроводов диаметром 57 мм допускается производить с применением вместо трубоукладчиков ручной такелажной оснастки.

23.6. Минимальное расстояние от бровки траншеи до ближайшей гусеницы трубоукладчика следует определять в соответствии с расчетом, исходя из физико-механических свойств грунта и удельного давления гусеницы на призму обрушения откоса (стенки траншеи). Такой расчет выполняют на стадии разработки ППР.

23.7. В изоляционной колонне в холодное время года или при наличии на поверхности трубопровода влаги необходимо иметь сушильную установку, которую располагают в головной части колонны.

23.8. При выявлении на трубах заметных следов коррозии, что с наибольшей вероятностью проявляется при длительном их хранении в условиях повышенной влажности, в состав колонны целесообразно вводить дополнительную очистную машину.

23.9. Работы по укладке нескольких трубопроводов в общую траншею можно производить как одновременно, так и последовательно.

При одновременной укладке трубопроводов возможны две схемы производства работ:

1) одновременный монтаж всех ниток непосредственно в проектном положении ( на дне траншеи) из отдельных труб или секций;

2) поочередный опуск заранее сваренных плетей с бермы траншеи.

При последовательной укладке опуск трубопроводов начинают с той нитки, которая расположена ближе к траншее; при этом она должна занять положение у дальней стенки траншеи.

Если при укладке нескольких трубопроводов ширина траншеи по низу и грунтовые условия ее дна позволяют обеспечить проход строительных машин, то часть ниток может быть смонтирована (включая работы по сварке, очистке и изоляции) непосредственно на дне траншеи, а остальные нитки (ближние к монтажной полосе) при этом следует укладывать с бермы траншеи.

При последовательной укладке в одну траншею нескольких трубопроводов должны быть приняты меры по сохранности уже уложенных ниток.

23.10. В процессе работы по укладке нескольких трубопроводов в одну траншею необходимо обеспечивать заданное проектом расстояние между трубопроводами. С этой целью можно использовать распорки, балластирующие устройства или прерывистые присыпки в виде призм. Последний из перечисленных способов применим только на участках трассы с сухими грунтами.

23.11. При одновременном строительстве многониточных трубопроводов в раздельных траншеях укладку начинают с дальнего (крайнего по ходу движения линейных строительных потоков) трубопровода, чтобы исключить необходимость устройства проездов для строительной техники над уже проложенными трубопроводами.

23.12. При выполнении изоляционно-укладочных работ на заболоченной местности не допускаются продолжительные остановки колонн, которые могли бы стать причиной просадок грунта под гусеницами трубоукладчиков. Такие остановки могут повлечь опрокидывание трубоукладчиков.

23.13. На время длительных организованных перерывов в работе колонн (более 10-х суток) не следует (особенно в весенний период) оставлять оборудование колонн, занятых изоляцией и укладкой трубопровода, на подвешенной плети. В этом случае плеть должна быть выложена на временных опорах. В качестве временных опор можно использовать деревянные клети, собираемые из брусьев.

23.14. Балластировку трубопроводов железобетонными утяжелителями типа УБО и УБК должны осуществлять в соответствии с требованиями СНиП III-42-80*.

23.15. Установка вмораживаемых анкеров может осуществляться опускным, буроопускным или комбинированным методами.

23.16. Установку анкерных устройств опускным методом осуществляют при любой конструкции вмораживаемых анкеров; при этом перед установкой анкерных устройств выполняют подготовительные работы по сборке анкера, подготовке паровой иглы к пропариванию, раскладке анкеров вдоль траншеи.

23.17. Установку анкерных устройств опускным методом в зависимости от их конструкции выполняют совмещенным или раздельным способами. Совмещенный способ заключается в одновременном погружении анкера и паровой иглы и применяется для анкеров стержневого типа. При раздельном способе сначала формируется скважина, а затем в нее опускается анкер. Раздельный способ применяется для анкеров дискового типа. Перед спуском многодисковых анкерных устройств все диски на анкере должны быть жестко закреплены.

23.18. При раздельном способе погружения анкеров для определения требуемого диаметра скважины перед началом работ по установке анкеров опытным путем определяют скорость погружения паровой иглы в грунт.

23.19. Для формирования рабочей скважины паровую иглу с помощью грузоподъемного механизма устанавливают над отметкой установки анкера. Игла перемещается вертикально вниз, протаивая в грунте скважину.

23.20. Комбинированный способ предусматривает бурение лидерной скважины на неполную проектную глубину, последующее паропротаивание грунта до проектной глубины, затем погружение анкера и заполнение устья скважины буровым шламом. Бурение скважины выполняют на глубину не более 1 м от дна траншеи.

Укладка методом бестраншейного заглубления

23.21. Трубопроводы малых диаметров (32-114 мм) могут укладываться в проектное положение методом бестраншейного заглубления с применением специальной машины - ножевого трубозаглубителя.

Такая машина (рис. 8) состоит из следующих основных узлов: гусеничного тягача, навесного оборудования - режущего ножа, роликоопор для поддержания трубной плети и щелезасыпщика.

23.22. Плеть трубопровода выкладывают по оси укладки, затем свободный ее конец заводят на роликоопоры, после чего начинается движение трубозаглубителя, который прорезает в грунте щель, куда производится опуск трубопровода. Завершающей операцией является засыпка грунта с помощью щелезасыпщика. Того объема грунта, который при создании щели выталкивается наружу режущим ножом, как правило, оказывается достаточно для ее полной засыпки.

23.23. При использовании данного метода на укладываемую плеть предварительно наносят изоляционное покрытие и проверяют его качество.

23.24. При работе на слабых грунтах трубозаглубитель работает без буксировки; на плотных - в сопровождении дополнительных тягачей.

23.25. Метод бестраншейного заглубления может быть применен также в случаях, когда трубы поставляются на трассы в бунтах (длинномерными отрезками). При этом применяется специальная машина - бунторазмотчик.

24. СТРОИТЕЛЬСТВО ТРУБОПРОВОДА НА ПЕРЕХОДАХ

Переходы через дороги

24.1. Способы и сроки производства работ по сооружению переходов под автомобильными и железными дорогами должны быть согласованы с эксплуатирующими эти дороги организациями. На строительство таких пересечений разрабатывается отдельный проект производства работ (ППР).

В зависимости от интенсивности движения, категорийности дорог, диаметра трубопровода, методов производства работ, грунтовых условий укладка трубопроводов может осуществляться следующими способами:

открытым, при котором трубопровод укладывается в траншею, устроенную в насыпи дороги с перекрытием движения транспорта и устройством объезда для движения транспорта;

закрытым, без перекрытия движения транспорта; при этом для укладки футляра (кожуха) через дороги применяются методы бестраншейной проходки.

24.2. Открытый способ может быть использован там, где имеется возможность временно прекратить движение транспорта или устроить временные объезды, т.е. на дорогах с низкой интенсивностью движения.

24.3. При строительстве переходов через автодороги открытым способом необходимо оградить место производства работ и установить соответствующие предупреждающие и указательные знаки.

24.4. Ширина полосы вскрытия покрытия автодороги должна быть больше ширины траншеи по верху на 0,3-0,4 м, а для булыжного покрытия - на 0,6-0,8 м.

При наличии неустойчивых грунтов необходимо по мере разработки траншеи ее стенки крепить досками или инвентарными щитами.

Рис. 8. Укладка трубопровода предварительно выложенного на строительной полосе с помощью трубозаглубительной машины:

1 - гусеничный тягач; 2 - нож, 3 - кассета; 4 - трубопровод, 3 - роликоопоры

24.5. Закрытый способ (бестраншейная проходка) может применяться без ограничений, т.е. независимо от категории дорог, интенсивности движения транспорта, категории грунтов и диаметра трубопровода.

24.6. При закрытом способе прокладки кожухов (футляров) применяют три способа проходки: прокол, горизонтальное бурение и продавливание.

24.7. Прокол применяется в мягких грунтах для трубопроводов малых диаметров (до 530 мм). Этот метод не рекомендуется применять при неглубоком заложении (менее 2 м) кожуха во избежание образования вертикального выпора грунта и нарушения полотна дороги.

Прокол, как правило, осуществляется путем статического силового воздействия (гидродомкратами).

24.8. Горизонтальное бурение применяется для трубопроводов средних и больших диаметров (530-1420 мм) в грунтах I-IV категорий. Проходка скважины ведется установками горизонтального бурения. Этот метод не рекомендуется применять на слабых (водонасыщенных и сыпучих) грунтах во избежание просадки дорожного полотна.

24.9. Продавливание является наиболее универсальным способом прокладки кожухов и наилучшим образом обеспечивает сохранность дорожных насыпи и полотна.

Как правило, продавливание кожухов осуществляется гидродомкратами.

24.10. Размеры рабочего котлована при закрытом способе прокладки выбираются в зависимости от диаметра трубопровода, глубины его заложения, вида применяемого оборудования и длины перехода через дорогу. Ширина котлована должна обеспечивать безопасное размещение людей, обслуживающих проходческое оборудование; в котловане устанавливают лестницу для подъема и спуска людей. При неустойчивых грунтах необходимо укрепить стенки котлована; при наличии воды - устроить водосборный приямок; откуда по мере накопления удаляют воду.

24.11. Сборку и сварку кожухов необходимо производить с помощью центраторов. Торцы свариваемых труб должны быть перпендикулярны их осям; искривление оси кожуха не допускается. Кольцевые стыки должны быть проварены на полную толщину стенки труб сплошным швом. При прокладке защитного футляра (кожуха) под дорогами необходимо контролировать глубину заложения футляра и его положение в горизонтальной плоскости с учетом допускаемых отклонений. Отклонение оси кожуха от проектного положения по вертикали и по горизонтали не должно превышать 1 % от длины кожуха.

24.12. При протаскивании рабочей плети в защитный кожух наружная поверхность трубы (изоляционное покрытие) должна быть защищена от повреждений путем закрепления на ней опорно-центрирующих устройств из полимерных (диэлектрических) материалов.

24.13. Если проектом предусмотрена прокладка кабеля связи внутри кожуха, то трубы для этого кабеля прикрепляются к трубной плети и протаскиваются сквозь кожух совместно с ней.

24.14. Перед началом работ необходимо уточнить фактическое положение подземных коммуникаций, проложенных вдоль дороги и принять меры к защите их в период производства работ.

24.15. При наличии высоких грунтовых вод во избежание осадки земляного полотна или выноса грунта подземными водами необходимо до начала земляных работ осушить участок перехода методом открытого водоотлива или закрытого водопонижения. Открытый метод предусматривает устройство водоотливных каналов и колодцев. Закрытое водопонижение предполагает использование иглофильтров.

24.16. Если по каким-либо причинам задерживается протаскивание трубной плети (более 2-х суток), то концы кожуха необходимо герметизировать приваркой заглушек.

Подводные переходы

24.17. Строительство переходов трубопроводов через водные преграды должно выполняться специализированными организациями.

24.18. Строительство трубопроводов через водные преграды может осуществляться:

- открытым способом, с укладкой трубопроводов в подводные и береговые траншеи, разработанные в границах переходов плавучей и, наземной землеройной техникой;

- закрытым способом, с протаскиванием трубопроводов в наклонные скважины, выполненные методом наклонно направленного бурения.

24.19. При применении способа строительства переходов с использованием наклонно направленного бурения скважин должны проводиться дополнительные гидрогеологические изыскания.

24.20. До начала строительства подводных переходов открытым способом необходимо:

проверить проектные створы переходов и реперы;

измерить глубину водоема и определить соответствие фактического профиля дна проектному;

выполнить обследование дна реки (водоема) в границах проектной ширины подводной траншеи (поверху) для выявления случайных препятствий и удалить их в случае обнаружения.

Результаты выполнения указанных работ должны быть закреплены в соответствующих актах, согласованных между строительными и проектными организациями.

24.21. Перед началом подводных земляных работ строительная организация должна оповестить о начале этих работ все заинтересованные местные организации, обеспечивающие эксплуатацию водных путей и различных речных сооружений, органы охраны водной среды и другие службы контроля.

24.22. Производство буровзрывных работ на подводных переходах должно осуществляться в полном соответствии с проектом производства работ, "Едиными правилами безопасности при взрывных работах", утвержденными Госгортехнадзором и "Правилами техники безопасности при производстве подводно-технических работ на реках и водохранилищах", утвержденными организациями речного флота.

Производство буровзрывных работ на подводных переходах должно быть согласовано проектной и строительной организациями, с организациями, эксплуатирующими водные пути, органами рыбоохраны и другими заинтересованными организациями.

24.23. Перед укладкой трубопровода в предварительно подготовленную подводную траншею строительной организацией, при участии представителя технического надзора заказчика, должна быть проведена проверка отметок продольного профиля траншеи на соответствие проектным. Недоборы грунта по глубине и ширине траншеи не допускаются. Переборы грунта в основании траншеи не должны превышать величин, приведенных в табл. 14 и 15 СНиП 3.02.01-87.

24.24. Крутизну откосов следует принимать по СНиП III-42-80*.

24.25. При определении объемов подводных земляных работ следует учитывать переборы по глубине траншеи, в соответствии с требованиями СНиП 3.02.01-87.

Разработка, транспортировка грунта и складирование его в подводные и береговые отвалы баржами и путем рефулирования земснарядами не должно мешать судоходству, нарушать установившийся режим потока, вызывать его сильное загрязнение и нарушать экологическую ситуацию в районе перехода.

24.26. Укладка подводного кабеля связи в общей траншее с подводным трубопроводом производится на уровне нижней образующей трубопровода после его укладки. Кабель укладывается на расстоянии не менее 0,5 м от боковой стенки трубопровода (ниже по течению реки), если другие требования не оговорены проектом.

24.27. Балластировка подводных переходов осуществляется одиночными (чугунными, железобетонными) грузами, устанавливаемыми на трубу непосредственно на строительной площадке или путем обетонирования труб, выполняемого путем нанесения на них монолитного бетонного покрытия (в заводских или базовых условиях) или установки сплошного покрытия из сборных железобетонных утяжелителей.

24.28. Укладка подводных трубопроводов не допускается во время паводков, весеннего ледохода и осеннего ледостава. В исключительных случаях на переходах через водные преграды шириной до 200 м при скоростях течения воды до 0,5 м/сек. в период осеннего ледостава может производиться укладка подводных трубопроводов только способом протаскивания по дну.

24.29. Перед испытанием уложенного подводного трубопровода необходима проверка его положения на дне подводной траншеи. Имеющие место провисания участков трубопровода должны быть устранены до испытания путем намыва или отсыпки грунта.

24.30. Берегоукрепительные работы выше и ниже уровня воды с применением различных конструктивных элементов следует выполнять в межений период до начала ледостава.

25. ОЧИСТКА ПОЛОСТИ И ИСПЫТАНИЯ

Очистка полости трубопровода

25.1. Способы, параметры и схемы проведения очистки полости и испытания промысловых трубопроводов устанавливаются рабочей документацией с учетом категории и конструктивных особенностей каждого участка.

25.2. Очистку полости трубопроводов выполняют промывкой, продувкой или протягиванием очистных устройств по технологии, определенной СНиП III-42-80*.

На трубопроводах диаметром 219 мм и более промывку или продувку следует выполнять с использованием очистных поршней.

25.3. Очистка полости газопроводов в обязательном порядке должна включать мероприятия по защите полости труб от попадания снега, загрязнений и остатков строительных материалов на всех технологических переделах строительства.

25.4. На трубопроводах до 219 мм, монтируемых без внутренних центраторов, очистку полости следует производить протягиванием очистных устройств в процессе сборки и сварки трубопровода в нитку.

25.5. Трубопроводы очищают и испытывают по специальной инструкции. Специальная инструкция на очистку полости и испытание составляется строительно-монтажной организацией и согласовывается с заказчиком по каждому конкретному трубопроводу с учетом местных условий производства работ, также согласовывается с проектной организацией и утверждается председателем комиссии по проведению испытаний трубопроводов.

25.6. Очистку полости трубопроводов, монтируемых на опорах, следует производить продувкой с пропуском поршней-разделителей под давлением сжатого воздуха или природного газа со скоростью не более 10 км/ч.

25.7. Очистные поршни пропускают по участкам трубопровода под давлением сжатого воздуха, поступающего из ресивера (баллона), создаваемым на прилегающем участке.

Для продувки с пропуском поршня давление воздуха (или газа) в ресивере при соотношении объемов ресивера и продуваемого участка 1:1 определяют по табл. 42.

25.8. Продувку скоростным потоком воздуха без пропуска поршня осуществляют на трубопроводах диаметром до 219 мм (включительно) или при наличии крутоизогнутых вставок радиусом менее 5-ти диаметров трубопровода.

25.9. На участках трубопроводов диаметром более 219 мм с крутоизогнутыми вставками радиусом менее 5-ти диаметров допускается продувка без пропуска очистных поршней при условии предварительной очистки труб протягиванием очистных устройств в процессе их сборки и сварки в нитку.

Для продувки скоростным потоком воздуха без пропуска поршня давление в ресивере определяют по табл. 42 при соотношении объемов ресивера и продуваемого участка 2:1.

Таблица 42

Давление воздуха в ресивере для продувки

Условный диаметр трубопровода, мм

Давление в ресивере, не менее, МПа (кгс/см2)

для трубопроводов, очищенных протягиванием очистных устройств

для трубопроводов, не очищенных протягиванием очистных устройств

1

2

3

До 250

1 (10)

2 (20)

От 300 до 400

0,6 (6)

1,2 (12)

От 500 до 800

0,5 (5)

1 (10)

От 800 до 1000 включительно

0,4 (4)

0,8 (8)

25.10. В качестве очистных устройств при протягивании следует использовать специальные приспособления, оборудованные металлическими щетками или скребками. При наличии труб с внутренней изоляцией применяются эластичные очистные поршни:

25.11. Для продувки используются очистные поршни типа ОПКЛ или поршни-разделители типа ПР, ДЗК, ДЗК-РЭМ.

25.12. Продувка трубопровода с пропуском очистных устройств через линейную арматуру допускается только в случае, если это допускается паспортом арматуры.

25.13. При продувке трубопроводов газом из них предварительно должен быть вытеснен воздух.

Вытеснение воздуха осуществляется подачей газа под давлением не выше 0,2 МПа (2 кгс/см2). Вытеснение воздуха считается законченным, когда содержание кислорода в газе по показателям газоанализатора не превышает 2 %.

25.14. Природный газ для испытания трубопроводов следует подавать от скважины или от действующих газопроводов. Природный газ для испытаний трубопроводов следует подавать с соблюдением плана мероприятий по обеспечению пожарной безопасности, разрабатываемого для каждого конкретного испытания с учетом особенностей промысла.

Испытание трубопровода на прочность и герметичность

25.15. Трубопроводы необходимо испытывать на прочность и герметичность гидравлическим, пневматическим или комбинированным способами. Величину испытательных давлений определяют в проекте по табл. 43. Давление при комбинированном испытании на прочность должно быть равно в верхней точке 1,1Рраб, а в нижней точке не превышать заводского испытательного давления труб; продолжительность выдержки под этим давлением 12 ч.

25.16. Проверку на герметичность участка или трубопровода в целом производят после испытания на прочность и путем снижения испытательного давления до максимального рабочего (Рраб) (принимаемого по проекту) и его выдержки в течение времени, необходимого для осмотра трассы, но не менее 12 ч.

25.17. При температуре окружающей среды трубопровода ниже 0 °С допускается (при наличии теплотехнического расчета, выполненного проектной организацией) проведение гидравлического испытания подогретой водой от теплообменников, водоподогревательных установок, коммуникаций горячего водоснабжения и т.п. или жидкостями с температурой замерзания ниже температуры окружающей среды.

25.18. Для гидравлического испытания могут быть использованы подземные воды из сеноманских или других геологических горизонтов, имеющие пониженную температуру замерзания, с добавлением при необходимости ингибиторов коррозии. Для трубопроводов диаметром до 219 мм при отрицательных температурах используются жидкости, имеющие пониженную температуру замерзания (антифризы). Использованный антифриз следует утилизировать.


Таблица 43

№ п/п

Наименование участков трубопроводов

Категории участков

Этапы испытания на прочность

Параметры испытания на прочность

Давление

Продолжительность (час)

Гидравлическим способом

пневматическим способом

гидравлическим способом

пневматическим способом

в верхней точке (не менее

в нижней точке

1

2

3

4

5

6

7

8

9

1.

Переходы через водные преграды

 

 

 

 

 

 

 

1.1.

Судоходные и несудоходные шириной зеркала воды в межень 25 м и более в русловой части и прибрежные участки длиной не менее 25 м каждый (от среднемеженного горизонта воды)

I, II

Первый этап - после сварки на стапеле или на площадке перехода целиком или отдельными плетями

- 1,5 Рраб

Рзав (I-II)

Не испытывают

6

-

Второй этап - после укладки перехода

1,25 Рраб

Рзав (I-II)

Не испытывают

12

-

Третий этап - одновременно с прилегающими участка ми трубопровода

1,1 Рраб

Рзав (II-III)

1,1 Рраб

12

12

1.2.

Несудоходные шириной зеркала воды в межень до 25 м в русловой части, оросительные и деривационные каналы

I, II

Первый этап - после укладки или крепления на опорах

1,25 Рраб

Рзав (I-II)

1,25 Рраб

12

12

Второй этап - одновременно с прилегающими участками тpyбoпpoвoдa

1.3.

Горные потоки (реки) - при подземной прокладке;

Поймы рек по горизонту высоких вод 10 % обеспеченности

Участки протяженностью 1000 м от границ горизонта высоких вод 10 % обеспеченности

II

То же

1,25 Рраб

Рзав (I-II)

1,25 Рраб

12

12

2.

Переходы через болота

 

 

 

 

 

 

 

2.1.

Тип I, II, III

II, III

Одновременно с прилегающими участками трубопровода

1,1 Рраб

Рзав (II-III)

1,1 Рраб

12

12

2.2.

Тип III

I, II

Первый этап- после укладки в проектном положении

1,25 Рраб

Рзав (I-II)

1,25 Рраб

12

12

Второй этап - одновременно с прилегающими участками трубопровода

1,1 Рраб

Рзав (II-III)

1,1 Рраб

12

12

3.

Переходы через железные и автомобильные дороги

 

 

 

 

 

 

 

3.1.

Железные дороги колеи 1500 мм общей сети (на перегонах) включая участки по обе стороны дороги длиной 65 м каждый от осей крайних путей, но не менее 50 м от подошвы насыпи земляного полотна дороги

II

Первый этап - после укладки

1,5 Рраб

Рзав (II)

Не испытывают

6

-

Второй этап - одновременно с прилегающими участками трубопровода

1,1 Рраб

Рзав (II-III)

1,1 Рраб

12

12

3.2.

Железные дороги промышленных предприятий колеи 1520 мм (внешние, внутренние железнодорожные пути), включая участки по обе стороны дороги длиной 50 м каждый от осей крайних путей

II

Первый этап - после укладки

1,5 Рраб

Рзав (II)

Не испытывают

6

-

Второй этап - одновременно с прилегающими участками трубопровода

1,1 Рраб

Рзав (II-III)

1,1 Рраб

12

12

3.3.

Автомобильные дороги общего пользования 1-а, 1-б, II, III категорий и подъездные автомобильные дороги промышленных предприятий 1-б, II, III категорий, включая участки длиной не менее 25 м каждый по обе стороны дороги от подошвы насыпи или бровки выемки земляного полотна дороги

II

Первый этап - после укладки

1,5 Рраб

Рзав (II)

Не испытывают

6

-

Второй этап - одновременно с прилегающими участками

1,1 Рраб

Рзав (II-III)

1,1 Рраб

12

12

3.4.

Автомобильные дороги общего пользования IV, V категорий, внутренние межплощадочные автодороги промышленных предприятий III - в категории, лесовозные дороги I-л, II-л, III-л,  IV-л категорий, внутрихозяйственные автодороги I-с категории, включая участки по обе стороны дороги длиной 25 м каждый от подошвы насыпи или бровки выемки земляного полотна дороги

II

Первый этап - после укладки

1,5 Рраб

Рзав (II)

Не испытывают

6

-

Второй этап - одновременно с прилегающими участками

1,1 Рраб

Рзав (II-III)

1,1 Рраб

12

12

4.

Трубопроводы на полках в горной местности

II

Первый этап - до укладки или крепления на опорах

1,5 Рраб

Рзав (II)

Не испытывают

6

-

Второй этап - одновременно с прилегающими участками трубопровода

1,1 Рраб

Рзав (II-III)

1,1 Рраб

12

12

5.

Трубопроводы, прокладываемые в слабо связанных барханных песках в условиях пустынь

II

Одновременно с прилегающими участками трубопровода

1,1 Рраб

Рзав (II-III)

1,1 Рраб

12

12

6.

Трубопроводы, прокладываемые по поливным и орошаемым землям

I, II

Одновременно с прилегающими участками трубопровода

1,1 Рраб

Рзав (II-III)

1,1 Рраб

12

12

6.1.

Хлопковых и рисовых плантаций

6.2.

Прочих сельскохозяйственных культур

7.

Переходы через селевые потоки, конусы выносов и солончаковые грунты

II

Одновременно с прилегающими участками трубопровода

1,1 Рраб

Рзав (II-III)

1,1 Рраб

12

12

8.

Узлы запуска и приема очистных устройств, а также участки трубопроводов по 100 м, примыкающие к ним

II

Первый этап - после укладки и засыпки или крепления на опорах

1,25 Рраб

Рзав (II)

Не испытывают

12

-

Второй этап - одновременно с прилегающими участками трубопровода

1,1 Рраб

Рзав (II-III)

1,1 Рраб

12

12

9.

Пересечения с подземными коммуникациями (канализационными коллекторами, нефтепроводами, нефтегазопроводами, конденсатопроводами, газопроводами, силовыми кабелями и кабелями связи, подземными, наземными и надземными оросительными системами и т.п.) в пределах 20 м по обе стороны пересекаемой коммуникации

II

Первый этап - до укладки или крепления на опорах

1,5 Рраб

Рзав (II)

Не испытывают

6

-

Второй этап - одновременно с прилегающими участками трубопровода

1,1 Рраб

Рзав (II-III)

1,1 Рраб

12

12

10.

Трубопроводы, прокладываемые по подрабатываемым территориям и территориям, подверженным карстовым явлениям

II

То же

То же

То же

То же

То же

То же

11.

Переходы через овраги, балки, рвы

II

Одновременно с прилегающими участка ми трубопровода

1,1 Рраб

Рзав (II-III)

1,1 Рраб

12

12

12.

Нефтепроводы, нефтегазопроводы, конденсатопроводы, выкидные трубопроводы нефтяных скважин, прокладываемые параллельно рекам с зеркалом воды в межень 25 м и более, каналам, озерам и другим водоемам, имеющим рыбохозяйственное значение а также выше населенных пунктов и промышленных предприятий на расстоянии от них до:

300 м - при диаметре труб 700 мм и менее;

500 м - при диаметре труб до 1000 мм включительно;

1000 м - при диаметре труб более 1000 мм

II

Первый этап - до укладки или крепления на опорах

1,25 Рраб

Рзав (II)

Не испытывают

12

-

Второй этап - одновременно с прилегающими участками трубопровода

1,1 Рраб

Рзав (II-III)

1,1 Рраб

12

12

13.

Трубопроводы на участках подхода к НС, НПС, ГПЗ в пределах 250 м от ограждения

II

Первый этап - до укладки или крепления на опорах

1,5 Рраб

Рзав (II)

Не испытывают

12

-

Второй этап - одновременно с прилегающими участками трубопровода

1,25 Рраб

Рзав (II-III)

Не испытывают

12

-

14.

Узлы линейной запорной арматуры

II

Первый этап - до укладки или крепления на опорах

1,25 Рраб

Рзав (II)

Не испытывают

6

-

Второй этап - одновременно с прилегающими участками трубопровода

1,1 Рраб

Рзав (II-III)

1,1 Рраб

12

12

15.

Участки газопроводов, примыкающие к площадкам скважин на расстоянии 150 м от ограждения

II

Первый этап - до укладки или крепления на опорах

1,25 Рраб

Рзав (II)

Не испытывают

12

-

Второй этап - одновременно с прилегающими участками трубопровода

1,1 Рраб

Рзав (II-III)

1,1 Рраб

12

12

16.

Газопроводы на длине 250 м от линейной запорной арматуры и гребенок подводных переходов

II

Одновременно с прилегающими участками трубопровода

1,25 Рраб

Рзав (II-III)

Не испытывают

12

-

17.

Узлы подключения трубопроводов к межпромысловому коллектору и примыкающие к ним участки длиной не менее 15 м в каждую сторону от границ монтажного узлами участки между охранными кранами УКПГ, КС, ДКС, ГС, ПХГ

II

Первый этап - до укладки или крепления на опорах

1,5 Рраб

Рзав (II)

Не испытывают

12

-

Второй этап - одновременно ,с прилегающими участками трубопровода

1,1 Рраб

Рзав (II-III)

1,1 Рраб

12

12

18.

Пересечения с воздушными линиями электропередачи высокого напряжения

II

Первый этап - до укладки или крепления на опорах

1,5 Рраб

Рзав (II)

Не испытывают

6

-

Второй этап - одновременно с прилегающими участками трубопровода

1,1 Рраб

Рзав (II-III)

1,1 Рраб

12

12

19.

Трубопроводы, прокладываемые по морской эстакаде

II

Первый этап - до укладки или крепления на опорах

1,25 Рраб

Рзав (II)

Не испытывают

12

-

Второй этап - одновременно с прилегающими участками трубопровода

1,1 Рраб

Рзав (II-III)

1,1 Рраб

12

12

20.

Трубопроводы ввода - вывода, транзитные трубопроводы

I

Первый этап - до укладки или крепления на опорах

1,5 Рраб

Рзав (I)

Не испытывают

12

-

Второй этап - одновременно с прилегающими участками трубопровода

1,1 Рраб

Рзав (II-III)

1,1 Рраб

12

12

21.

Трубопроводы обвязки куста скважин

I

Первый этап - до укладки или крепления на опорах

1,25 Рраб

Рзав (I)

1,25 Рраб

12

12

Второй этап - одновременно с прилегающими участками трубопровода

1,1 Рраб

Рзав (II-III)

1,1 Рраб

12

12

22.

Прочие трубопроводы и их участки, кроме указанных

III

В один этап одновременно со всем трубопроводом

1,1 Рраб

Рзав (III)

1,1 Рраб

12

12


25.19. В условиях отрицательных температур проведения гидравлических испытаний водой должна предусматриваться возможность быстрого удаления из трубопровода опрессовочной воды с помощью заранее установленных поршней-разделителей, перемещающихся под давлением воздуха или газа.

25.20. Технологические узлы (крановые узлы, узлы задвижек, узлы сбора и распределения газа и нефти) подвергаются предварительному гидравлическому испытанию.

25.21. Испытание надземных газопроводов на прочность и герметичность, как правило, проводится гидравлическим способом и включает:

а) предварительные испытания участков повышенной категории (переходы под дорогами, водотоками, реками и т.п.) и технологических узлов (линейные крановые узлы, узлы задвижек, узлы пуска и приема средств диагностики и т.п.);

б) испытание всего подготовленного к эксплуатации участка газопровода.

25.22. Предварительное испытание переходов и узлов проводится сразу же после окончания работ на этих участках.

25.23. Предварительное испытание технологических узлов зимой осуществляется гидравлическим способом незамерзающей жидкостью. Предварительное испытание узлов, помимо проверки на прочность, должно включать проверку на герметичность импульсных и других трубок, резьбовых соединений.

25.24. При предварительном испытании узлов гидравлическим способом должны выполняться мероприятия по удалению и сбору испытательной жидкости без ее выброса в окружающую среду.

25.25. Гидравлическое испытание надземного газопровода целесообразно осуществлять в период положительных температур воздуха. В противном случае должны быть предусмотрены мероприятия, позволяющие провести гидравлические испытания при отрицательных температурах, исключающих замерзание испытательной жидкости.

25.26. При испытании систем трубопроводов должны быть предусмотрены организационно-технологические схемы, обеспечивающие последовательное испытание участков с многократным использованием испытательной среды.

25.27. При многониточной прокладке промысловых трубопроводов допускается их одновременное испытание гидравлическим или пневматическим способом.

25.28. Промысловые трубопроводы для транспортировки сероводородосодержащего природного газа или газового конденсата подлежат осушке.

25.29. Испытание надземного трубопровода на прочность и проверку на герметичность следует производить после полной готовности участка трубопровода:

закрепления трубопровода на опорах;

заделки стыков (противокоррозионная и теплоизоляция);

установки арматуры и приборов (кроме 1 этапа испытаний трубопроводов на затопляемых территориях);

удаления персонала и вывозки техники из опасной зоны на расстояния, равные установленным от надземного трубопровода до строений (п. 4.6);

обеспечения постоянной или временной связи.

25.30. Давление при пневматическом испытании на прочность трубопровода как на первом, так и на втором этапе должно быть равно 1,1 Рраб, а продолжительность выдержки под этим давлением - 12 ч.

25.31. Заполнение трубопровода воздухом или природным газом производится с осмотром трассы при давлении, равном 0,3 от испытательного на прочность, но не выше 2 МПа (20 кгс/см2).

25.32. В процессе закачки в природный газ или воздух следует добавлять одорант, что облегчает последующий поиск утечек в трубопроводе. Для этого на узлах подключения к источникам газа или воздуха необходимо монтировать установки для дозирования одоранта. Рекомендуемая норма одоризации этилмеркаптаном - 50-80 г/1000 м3 газа или воздуха.

25.33. Если при осмотре трассы или в процессе подъема давления будет обнаружена утечка, то подачу воздуха, газа или жидкости в трубопровод следует немедленно прекратить, после чего должна быть установлена возможность и целесообразность дальнейшего проведения испытаний.

25.34. Осмотр трассы при увеличении давления от 0,3 Рисп до Рисп и в течение времени испытания на прочность запрещается.

25.35. После окончания испытания трубопровода на прочность давление необходимо снизить до проектного рабочего и только после этого выполнить контрольный осмотр трассы для проверки на герметичность.

25.36. При испытании трубопроводов на прочность и их проверке на герметичность места утечек необходимо определять следующими методами:

визуальным;

акустическим;

по запаху;

по падению давления на испытываемом участке;

газоаналитическим (течеискателями горючих газов).

25.37. Трубопровод считается выдержавшим испытания на прочность и проверку на герметичность, если за время испытания трубопровода на прочность он не разрушился, а при проверке на герметичность давление осталось неизменным и не было обнаружено утечек.

25.38. Удаление воды после испытаний предусматривается в обязательном порядке только для газопроводов; способ удаления должен указываться в проекте.

25.39. Контроль за движением по трубопроводу поршней-разделителей должен осуществляться по показаниям манометров, измеряющих давление в узлах их пуска-приема, или с помощью механических сигнализаторов.

26. МОНТАЖ СРЕДСТВ ЭЛЕКТРОХИМИЧЕСКОЙ ЗАЩИТЫ

26.1. Сооружение средств электрохимической защиты (ЭХЗ) трубопроводов следует осуществлять в соответствии с требованиями ГОСТ 25812-83 и ВСН 009-88/Миннефтегазстрой "Строительство магистральных трубопроводов и промысловых трубопроводов. Средства и установки электрохимзащиты", а также с соблюдением требований к монтажу отдельных видов оборудования и технической документации заводов-изготовителей.

26.2. Работы по сооружению средств электрохимической защиты необходимо проводить в два этапа.

На первом этапе необходимо выполнять следующие работы:

разметку трассы ЛЭП и кабелей, подготовку строительной площадки;

разработку грунта под монтаж оборудования и токопроводящих линий;

прокладку подземных кабелей; - монтаж катодных выводов от перемычек и узлов токоотводов на трубопроводах;

монтаж контрольно-измерительных пунктов (КИП);

установку или закладку в сооружаемые фундаменты несущих опорных конструкций, подставок, рам для монтажа оборудования.

26.3. Работы первого этапа следует вести одновременно с основными работами по линейной части трубопроводов.

На втором этапе необходимо осуществлять работы по установке оборудования, подключению к нему электрических кабелей и проводов, а также индивидуальное опробование электрических коммуникаций и установочного оборудования.

Работы второго этапа должны быть выполнены после окончания основных видов строительных работ и одновременно с работами специализированных монтажных организаций, осуществляющих опробование установок электрохимической защиты по основному графику.

26.4. На вечномерзлых грунтах при расположении нижней границы вечной мерзлоты не глубже 10 м применяются свайные анодные заземлители, соединение которых в единую электрическую цепь осуществляют воздушной линией электропередачи; при расположении нижней границы вечной мерзлоты ниже 200 м выполняют таликовое глубинное анодное заземление с применением солевой обработки мерзлых грунтов и растепления.

Во всех остальных случаях применяют обычные глубинные заземлители, и технология их монтажа должна отвечать требованиям ВСН 009-88.

26.5. После окончания монтажа анодного заземления проверяют его сопротивление, величина которого предусматривается проектом.

При талых грунтах на поверхности земли сопротивление заземления необходимо измерять по трехэлектродной схеме. Если грунты на поверхности земли мерзлые, сопротивление заземлителей оценивают по данным измерений сопротивления цепи "заземлитель-трубопровод" или цепи "заземлитель-заземлитель".

26.6. Протяженные протекторы можно укладывать в одну траншею с трубопроводом с помощью специального устройства, оборудованного стойками для барабана с намотанным на него протектором и направляющей кассетой. Барабан с протектором допускается подвешивать к крюку трубоукладчика. Протектор укладывают после опуска трубопровода в траншею.

Засыпку уложенного протектора производят грунтом, не содержащим крупных и мерзлых включений размером более 50 мм.

26.7. Протектор подсоединяют к трубопроводу через контрольно-измерительные пункты, с помощью которых проверяют качество монтажа и эффективность защиты от коррозии, путем измерения электродного потенциала протектора, сопротивления цепи "протектор-трубопровод" и разность потенциалов "протектор-трубопровод". Измерения выполняют не менее, чем через две недели после засыпки трубопровода.

26.8. При строительстве многониточной системы трубопроводов средства защиты на первых нитках вводятся по пусковому комплексу, обеспечивающему электрохимическую защиту до ввода средств защиты очередной нитки. Пусковой комплекс должен включать установки катодной защиты, сооружаемые в пределах до 10 км от компрессорных или насосных станций и автономные средства защиты между этими установками.

26.9. Электрохимическую защиту очередных ниток трубопроводов допускается осуществлять с помощью поляризованных электрических перемычек в точках дренажа ранее установленных средств защиты.

27. ВЫПОЛНЕНИЕ ПРИРОДООХРАННЫХ МЕРОПРИЯТИЙ

27.1. При производстве всех видов работ необходимо выполнять природоохранные мероприятия, предусмотренные проектом и ВСН 014-89/Миннефтегазстрой.

27.2. При разработке ПОС и ППР в части мероприятий по охране окружающей среды необходимо предусматривать выполнение требований действующих законов Российской Федерации и Постановлений Правительства Российской Федерации, а также решений местных органов власти по охране природы и рациональному использованию природных ресурсов в регионе.

27.3. При вырубке леса в полосе отвода в составе подготовительных работ следует обеспечить захоронение порубочных остатков в местах, удаленных от водоемов на 500 м и более или их утилизацию.

27.4. Не разрешается брать гравий и песок для строительных целей со дна рек, ручьев, озер в местах, не предусмотренных проектом или не согласованных в установленном порядке.

Не разрешается использование плодородного слоя грунта на подсыпки, присыпки, перемычки и другие цели кроме как для рекультивации земель.

27.5. На вечномерзлых грунтах трассовые строительно-монтажные работы должны выполняться преимущественно в зимний строительный сезон при промерзании деятельного слоя на глубину не менее 0,6 м, обеспечивающую устойчивую работу строительной техники.

27.6. На строительной полосе с целью предохранения мохорастительного покрова от нарушения перемещающимися строительными машинами необходимо снего-ледяное покрытие (технологические проезды) поддерживать в исправном состоянии в течение всего срока эксплуатации.

27.7. При прокладке трубопроводов следует сохранять температурный и влажностный режим вечномерзлых грунтов, в грунтах с высокой льдистостью не допускается ведение земляных работ методами, использующими термическое воздействие на грунты.

27.8. Для снижения вредных техногенных воздействий на окружающую среду при ведении земляных работ следует максимально использовать роторные траншейные экскаваторы, обеспечивающие разработку узких траншей с вертикальными стенками.

27.9. Для предотвращения эрозионных процессов при прокладке трубопровода следует обеспечить сохранение естественной сети местного стока воды, а в случае его нарушения производить восстановление стока.

27.10. Для предотвращения развития эрозии в траншеях на уклонах, крутизна которых более 3°, следует устраивать перемычки из слабофильтрующего грунта, препятствующие течению воды вдоль траншеи и возникновению эрозионного выноса.

27.11. После засыпки уложенного трубопровода следует выполнять техническую рекультивацию, включающую следующие виды работ:

формирование по строительной полосе слоя плодородной почвы, уборку строительного мусора, остатков труб, строительных и горюче-смазочных материалов, проведение противоэрозионных мероприятий.

27.12. Время производства взрывных и земляных работ при устройстве траншей на подводных переходах на каждом отдельном переходе необходимо согласовывать с местными органами рыбоохраны и органами охраны окружающей среды.

Запрещается производство взрывных и земляных работ при устройстве подводных траншей на переходах трубопровода через реки в период нереста и нагула рыбы.

27.13. При обустройстве временных передвижных городков строителей вблизи рек и водоемов, в лесных массивах следует предусматривать места захоронения бытовых отходов, мойки для машин и механизмов с нефтеловушками, противопожарные мероприятия. Следует исключить попадание неочищенных жидких стоков в реки и водоемы.

При перебазировке строительных городков должна быть проведена техническая рекультивация всей территории городка, уборка мусора и захоронение строительных остатков и бытовых отходов.

В заросших песках работы следует производить, по возможности, с минимальным нарушением растительного покрова.

28. ПРИЕМКА В ЭКСПЛУАТАЦИЮ ЗАКОНЧЕННЫХ СТРОИТЕЛЬСТВОМ ТРУБОПРОВОДОВ

28.1. Приемку в эксплуатацию законченных строительством трубопроводов необходимо производить в соответствии с требованиями СНиП 3.01.04-87.

28.2. Приемка в эксплуатацию трубопроводов запрещается, если не полностью (согласно проекту) закончены строительством сопутствующие объекты, обеспечивающие безопасность людей, защиту окружающей среды и пожарную безопасность.

28.3. Приемку в эксплуатацию шлейфовых трубопроводов производят вместе с ингибиторопроводами и другими установками, предназначенными для защиты металла труб и арматуры от коррозионного воздействия или сероводородного растрескивания.

28.4. Если Государственной приемочной комиссии предъявляются для приемки одновременно несколько трубопроводов, проложенных между одними и теми же площадками сооружений, то техническая документация для приемки может быть оформлена единая, как для одного объекта с оформлением актов на скрытые работы для каждого трубопровода.

28.5. Приемка в эксплуатацию трубопроводов производится после окончания строительства в соответствии с проектом, устранения недоделок и начала перекачки продукта по трубопроводу.

28.6. Если после окончания строительства в течение длительного времени (более 3-х месяцев) не начинается эксплуатация объекта, то должна производиться консервация трубопроводов.

Консервация осуществляется по участкам между закрытыми линейными кранами.

Консервация заключается в подключении к трубопроводу ЭХЗ, в заполнении полости трубопровода сухим газом, поднятии его давления до уровня не ниже 1,2 МПа и выдержки под этим давлением до момента начала эксплуатации объекта. В течение консервационного периода должно контролироваться давление газа в трубопроводе с целью определения его герметичности.

Производство пусконаладочных работ

28.7. Пусконаладочные работы выполняются с целью обеспечения пропуска по трубопроводу первой партии транспортируемой среды, предусмотренной проектом. К пусконаладочным работам относится комплекс работ, выполняемых в период проведения индивидуальных испытаний и опробования отдельных узлов и оборудования (трубопроводов, крановых узлов, задвижек, узлов сбора продуктов скважин, электрооборудования попутного подогрева, установок ЭХЗ и т.п.).

28.8. До начала индивидуальных испытаний производятся пусконаладочные работы по электротехническим устройствам, автоматизированным системам управления, контрольно-измерительным приборам и др., выполнение которых обеспечивает проведение индивидуальных испытаний узлов и оборудования.

28.9. Индивидуальные испытания и приемка производятся для подготовки отдельных элементов трубопровода к приемке рабочей комиссией для комплексного опробования.

28.10. Комплексное опробование включает пусконаладочные работы, выполняемые после производства индивидуальных испытаний и их приемки рабочей комиссией, связанные с комплексным опробованием всего трубопровода до приемки объекта в эксплуатацию государственной приемочной комиссией.

28.11. Индивидуальные испытания проводятся согласно требованиям СНиП или инструкциям по производству соответствующего вида монтажных работ и ТУ предприятий - изготовителей оборудования и конструкций.

28.12. Объем и порядок выполнения работ по комплексному опробованию узлов и оборудования, количество необходимого эксплуатационного персонала, топливо-энергетических ресурсов, материалов, сырья определяются отраслевыми правилами приемки в эксплуатацию объектов.

28.13. Комплексное опробование осуществляется эксплуатационным персоналом заказчика с участием инженерно-технических работников генерального подрядчика, проектных и субподрядных монтажных организаций, а при необходимости - и персонала предприятий-изготовителей оборудования.

Приложение 1
Справочное

Принятые сокращенные названия промысловых объектов, приведенных в настоящих нормах

УКПГ             - установка комплексной подготовки газа;

УППГ             - установка предварительной подготовки газа;

КС ПХГ          - компрессорная станция подземного хранилища газа;

ГС                   - головные сооружения;

ДКС                - дожимная компрессорная станция;

КС                   - компрессорная станция;

СГ                   - склад горючего;

НС                  - насосная станция;

ПХГ                - подземное хранилище газа;

ГПЗ                 - газоперерабатывающий завод;

ЦПС                - центральный пункт сбора;

ПС                  - пункт сбора;

ДНС                - дожимная насосная станция;

ГРС                 - газовая распределительная станция;

АГРС              - автоматизированная газораспределительная станция;

КНС                - кустовая насосная станция;

ВРП                - водораспределительный пункт,

ЗУ                   - замерная установка;

СУ                  - сепарационная установка;

ПАД               - промысловая автомобильная дорога.

Приложение 2
Обязательное

Буквенные обозначения величин

Аа                    - расчетная несущая способность анкерного устройства (Н);

Е                      - модуль упругости материала трубопровода (МПа);

Ра                     - расчетная несущая способность анкера (Н);

Nст                   - продольное критическое усилие (Н);

Rtst                   - расчетное сопротивление при определении испытательного давления (МПа);

Run, Ryn           - нормативные сопротивления материала труб и соединительных деталей соответственно по временному сопротивлению и пределу текучести (МПа);

S                      - эквивалентное продольное осевое усилие (Н);

То                    - преобладающий период сейсмических колебаний грунтового массива (сек);

ас                     - сейсмическое ускорение (м/сек2);

Ср                    - скорость распространения сейсмической волны (м/сек);

da                     - максимальный линейный размер габарита проекции одного анкера на горизонтальную плоскость (см);

de                     - наружный диаметр труб и соединительных деталей (см);

de1, de2             - наружный диаметр соответственно магистральной части и ответвления тройникового соединения (см);

k                      - количество анкеров в одном анкерном устройстве;

ko                     - коэффициент степени ответственности трубопровода;

kn                     - коэффициент повторяемости землетрясений;

mо                    - коэффициент защемления трубопровода в грунте;

рп                     - рабочее (нормативное) давление транспортируемой среды (МПа);

ptst                   - испытательное давление (МПа);

r                       - радиус кривизны гнутого отвода (см);

t                       - расчетная толщина стенки труб и соединительных деталей (см);

tnom                  - номинальная толщина стенки труб и соединительных деталей (см);

tmin                   - минимальная толщина стенки труб и соединительных деталей (см);

tins                    - толщина изоляционного покрытия трубопровода (см);

wn                    - нормативная ветровая нагрузка на единицу длины надземного трубопровода(Н/м);

уa                     - коэффициент надежности устойчивого положения;

y1                     - объемный вес жидкой среды (Н/м3);

yс                     - коэффициент условий работы трубопровода;

yса                    - коэффициент условий работы анкерного устройства;

yf                     - коэффициент надежности по нагрузке;

ym                    - коэффициент надежности по материалу труб и соединительных деталей;

yma                   - коэффициент надежности анкера;

yn                     - коэффициент надежности по назначению трубопровода;

уs                     - коэффициент условий работы трубопроводов, транспортирующих сероводородсодержащие продукты;

v1n, vgn             - нормативная нагрузка от веса транспортируемой среды (жидкой, газообразной) (Н/м);

vsn, v1n             - нормативная нагрузка соответственно снеговая и гололедная (Н/м);

h                      - коэффициент несущей способности труб и соединительных деталей;

sкц                   - кольцевое напряжения от расчетного внутреннего давления (МПа);

sпр                   - продольное фибровое напряжение от расчетных нагрузок (МПа);

Приложение 3
Справочное

Термины и определения

Арматура запорная - равнопроходные краны, задвижки и обратные клапаны, устанавливаемые на трубопроводах, отдельных его участках и ответвлениях;

Байпас (обвязка линейной арматуры - устройство для обеспечения возможности перепуска газа при закрытой запорной арматуре;

Балластировка трубопровода - установка на трубопроводе устройств, обеспечивающих его проектное положение на обводненных участках трассы;

Вмятина - локальная вогнутость на теле трубы;

Гофры - чередующиеся поперечные выпуклости и вогнутости на теле труб;

Диаметр условный - установленный нормативами ряд чисел, каждому из которых соответствует фактический диаметр трубы (например: условный - 1400 мм - фактический 1420 мм);

Давление рабочее (нормативное) - величина внутреннего давления в трубопроводе, устанавливаемая проектом;

Детали соединительные - элементы трубопровода, предназначенные для трубопровода изменения направления его оси, ответвления от него, изменения его диаметра и др. (отвод, тройник, переход и др.);

Заглубление трубопровода - расстояние от верха трубы до поверхности земли; при наличии балласта, - расстояние от поверхности земли до верха балластирующей конструкции;

Защита катодная - устройства, обеспечивающие непрерывно во времени отрицательные поляризационные потенциалы по всей внешней поверхности подземных трубопроводов;

Задел технологический - линейное опережение (в единицах длины) предыдущей технологической операции, необходимое для выполнения последующей технологической операции;

Задир - удлиненный поверхностный дефект, вызываемый механическим снятием металла, приводящий к уменьшению толщины стенки;

Захлест - кольцевой стык, соединяющий плети после их укладки в проектное положение, балластировки и засыпки;

Катушка - отрезок трубы (патрубок), ввариваемый в трубопровод с помощью двух кольцевых стыков;

Категория трубопровода (участка) - показатель, требующий для рассматриваемого трубопровода (участка) выполнения определенных условий по прочности, объему неразрушающего контроля и величине испытательного давления;

Конденсатосборник - устройство, устанавливаемое на газопроводах для сбора конденсата;

Компенсатор - придание участку трубопровода определенной конструкции, обладающей повышенной податливостью, для восприятия температурных перемещений трубопровода;

Кран охранный - запорная арматура, устанавливаемая на входе и выходе газопроводов из УКПГ, КС, СПХГ и головных сооружений;

Лупинг - трубопровод, проложенный параллельно основному на части его протяженности и соединенный с ним перемычками;

Нагрузка - нормативная - воздействие на трубопровод, регламентируемое соответствующими нормативными документами или проектом; расчетная - нормативная, умноженная на соответствующий коэффициент надежности по нагрузке;

Ответвление - отвод части транспортируемого продукта в сторону от основного направления трубопровода; присоединяется к трубопроводу посредством тройникового соединения;

Охранная зона - контролируемая полоса местности или водного пространства вдоль трассы трубопровода, устанавливаемая на период его эксплуатации, с целью предупреждения возможного вредного воздействия на трубопровод;

Переход - подводный - участок трубопровода, прокладываемый под руслом реки, канала, озера и т.д.; воздушный - участок трубопровода, прокладываемый над рекой, каналом, оврагом, жел.- и автодорогами и т.д.; через жел.- и автодороги - участок трубопровода, прокладываемый под железной и автомобильной дорогой;

Плеть трубная - часть трубопровода, состоящая из сваренных встык секций;

Прокладка - подземная - расположение трубопровода ниже поверхности земли; наземная - расположение трубопровода на поверхности земли (в насыпи); надземная - расположение трубопровода над поверхностью земли;

Покрытие защитное - конструкция, изолирующая всю наружную поверхность трубопровода от внешней среды;

Протектор - гальванический электрод, собственный электрохимический потенциал которого более отрицателен, чем у трубной стали, используемый как автономное средство электрохимической защиты;

Потенциал защитный - разность потенциалов между сооружением и окружающей средой (поляризационных или суммарных), при которой остаточная скорость коррозии этого сооружения при действии электрохимической защиты является практически безопасной;

Препятствия - естественные - реки, водохранилища, каналы, озера, пруды, ручьи, протоки и болота, овраги, балки; искусственные - железные и автомобильные дороги, линии электропередач, различные пересекаемые трубопроводы;

Полка - строительная полоса на косогорах, устраиваемая путем срезки или подсыпки грунта;

Разрыв технологический - участок между несоединенными частями одного трубопровода (где плети не соединены между собой), обеспечивающий продольную и поперечную податливость прилегающих концов плетей при монтаже и укладке в проектное положение;

Секция трубная - трубный участок, состоящий из сваренных встык нескольких труб. Секции бывают 2-х, 3-х и 4-х трубные;

Стык - гарантийный - кольцевой стык, свариваемый по специальной технологии и не подвергающийся испытанию внутренним давлением; замыкающий - кольцевой стык, соединяющий участки трубопровода при заданной температуре;

Свеча продувочная - устройство для опорожнения участка газопровода между запорной арматурой;

Схема расчетная - условное изображение конструкции трубопроводов, принимаемое для выполнения расчетов на прочность;

Трубопровод внутриплощадочный товарного продукта - трубопровод в пределах рассматриваемого объекта, транспортирующий продукт, подготавливаемый к дальнему транспорту;

Трубопровод промысловый (трубопровод) - трубопровод с устройствами на нем для транспорта газообразных и жидких продуктов под действием напора (разности давлений), от скважин до места выхода с промысла подготовленной к дальнему транспорту товарной продукции;

Трасса трубопровода - положение оси трубопровода, определяемое на местности ее проекциями в горизонтальной и вертикальной плоскостях;

Траншея - временное земляное сооружение в виде выемки, для подземной прокладки трубопроводов;

Толщина стенки - номинальная - указанная в ГОСТах, ТУ и спецификациях на трубы; расчетная - определяемая расчетом на прочность; минимальная - номинальная минус допуск на толщину стенки трубы;

Талик - участок талого грунта трассы трубопровода, расположенный между участками трассы, проходящими в вечномерзлом грунте;

Участок трубопровода - часть трубопровода, характеризующаяся одинаковостью конструкции и природных условий;

Узел пуска и приема очистных, разделительных и диагностических устройств - устройство, устанавливаемое на трубопроводе для введения и вывода из него очистных, разделительных и диагностических устройств без остановки транспорта продукта;

Утечка - потеря транспортируемого продукта через несплошности в соединениях (фланцы, краны и др.) или через несплошности в теле трубы (трещины, коррозионные повреждения и т.п.);

Футеровка - приспособление для защиты изоляционного покрытия от механических повреждений;

Факел для сжигания газа - сооружение для отведения газа, сжигаемого согласно технологического регламента эксплуатации, от зданий и сооружений на безопасное расстояние;

Футляр защитный - сооружение, воспринимающее нагрузки от подвижного состава железных и автомобильных дорог при пересечении их трубопроводами и предохраняющее железные и автомобильные дороги от попадания на них транспортируемых продуктов в случае их утечек;

Ширина отвода земли - ширина полосы на трассе трубопровода, отведенная для производства строительно-монтажных и транспортных работ на период строительства. Полоса состоит из трех зон - зоны земляных работ, зоны монтажных работ и зоны транспортных работ (зона обгона).

Приложение 4
(справочное)

Перечень
действующих нормативных документов, рекомендуемых к использованию при проектировании и строительстве промысловых трубопроводов

СНиП 1.02.07-87

Инженерные изыскания для строительства;

СНиП 1.06.05-85

Положение об авторском надзоре проектных организаций за строительством предприятий, зданий и сооружений;

СНиП 2.03.11-85

Защита строительных конструкций от коррозии;

СНиП 2.04.02-84*

Водоснабжение. Наружные сети и сооружения;

СНиП 2.05.06-85*

Магистральные трубопроводы;

СНиП II-89-80*

Генеральные планы промышленных предприятий;

СНиП 2.02.04-88

Основания и фундаменты на вечномерзлых грунтах;

СНиП 2.02.01-83*

Основания зданий и сооружений;

СНиП 2.01.07-85

Нагрузки и воздействия;

СНиП II-7-81*

Строительство в сейсмических районах;

СНиП 2.05.03-84

Мосты и трубы;

СНиП II-23-81*

Стальные конструкции;

СНиП 2.04.14-88

Тепловая изоляция оборудования и трубопроводов;

СНиП 2.01.01-82

Строительная климатология и геофизика;

СНиП 2.04.07-86*

Тепловые сети;

СНиП 2.02.03-85

Свайные фундаменты;

СНиП III-42-80*

Магистральные трубопроводы;

СНиП 3.04.03-85

Защита строительных конструкций и сооружений от коррозии;

СНиП 3.01.04-87

Приемка в эксплуатацию законченных строительством объектов. Основные положения;

СНиП 3.01.01-85*

Организация строительного производства;

СНиП III-4-80*

Техника безопасности в строительстве;

СНиП 3.02.01-87

Земляные сооружения, основания и фундаменты;

СНиП 3.05.03-85

Тепловые сети;

СНиП 11-01-95

Инструкция о порядке разработки, согласования, утверждения и составе проектной документации на строительство предприятий, зданий и сооружений;

СНиП 32-03-96

Аэродромы;

СН 452-73

Нормы отвода земель для магистральных трубопроводов;

СНиП 11-01-95

Порядок разработки, согласования, утверждения и состав обоснований инвестиций в строительство предприятий, зданий и сооружений;

ВНТП 3-85

Нормы технологического проектирования объектов сбора, транспорта, подготовки нефти, газа и воды нефтяных месторождений;

ВСН 51-3-85

ВСН 51-2.38-85

Проектирование промысловых стальных трубопроводов;

ВСН 005-88

(Миннефтегазстрой)

Строительство промысловых стальных трубопроводов. Технология и организация;

ВСН 006-89

(Миннефтегазстрой)

Строительство магистральных и промысловых трубопроводов. Сварка;

ВСН 008-88

(Миннефтегазстрой)

Строительство магистральных и промысловых трубопроводов. Противокоррозионная и тепловая изоляция;

ВСН 007-88

(Миннефтегазстрой)

Строительство магистральных и промысловых трубопроводов. Конструкции и балластировка;

ВСН 009-88

(Миннефтегазстрой)

Строительство магистральных и промысловых трубопроводов. Средства установки электрохимической защиты;

ВСН 011-88

(Миннефтегазстрой)

Строительство магистральных и промысловых трубопроводов. Очистка полости и испытание;

ВСН 012-88

(Миннефтегазстрой)

Строительство магистральных и промысловых трубопроводов. Контроль качества и приемка работ;

РД 39-132-94

Правила по эксплуатации, ревизии, ремонту и отбраковке нефтепромысловых трубопроводов;

ГОСТ 9454-78

Металлы. Метод испытания на ударный изгиб при пониженных, комнатной и повышенных температурах;

ГОСТ 6996-66

Сварные соединения. Методы определения механических свойств;

ВСН-004-88

(Миннефтегазстрой)

Строительство магистральных трубопроводов. Технология и организация.

ВСН-014-89

(Миннефтегазстрой)

Строительство магистральных и промысловых трубопроводов. Охрана окружающей среды.

ГОСТ 12821-80

Фланцы стальные приварные встык на ру от 0,1 до 20,0 МПа (от 1 до 200 кгс/см2). Конструкция и размеры;

ГОСТ 9544-93

Арматура трубопроводная запорная. Нормы герметичности затворов;

ГОСТ 9466-75

Электроды покрытые металлические для ручной дуговой сварки сталей и наплавки. Классификация и общие технические условия;

ГОСТ 9467-75

Электроды покрытые металлические для ручной дуговой сварки конструкционных и теплоустойчивых сталей. Типы;

ГОСТ 9087-81

Флюсы сварочные плавленые. Технические условия;

ГОСТ 2246-70

Проволока стальная сварочная. Технические условия;

ГОСТ 8050-85

Двуокись углерода газообразная и жидкая. Технические условия;

ГОСТ 10157-79

Аргон газообразный и жидкий. Технические условия;

ГОСТ 5583-78

Кислород газообразный технический и медицинский. Технические условия;

ГОСТ 11262-80

Пластмассы. Метод испытания на растяжение;

ГОСТ 14236-81

Пленки полимерные. Метод испытания на растяжение;

ГОСТ 18299-72

Материалы лакокрасочные. Метод определения предела прочности при растяжении, относительного удлинения при разрыве и модуля упругости;

ГОСТ 16783-71

Пластмассы. Метод определения температуры хрупкости при сдавливании образца, сложенного петлей;

ГОСТ 2678-94

Материалы рулонные кровельные и гидроизоляционные. Методы испытаний;

ГОСТ 13518-68

Пластмассы. Метод определения стойкости полиэтилена к растрескиванию под напряжением;

ГОСТ 16337-77

Полиэтилен высокого давления. Технические условия;

ГОСТ 411-77

Резина и клей. Методы определения прочности связи с металлом при отслаивании;

ГОСТ 15140-78

Материалы лакокрасочные. Методы определения адгезии;

ГОСТ 2 5812-83

Трубопроводы стальные магистральные. Общие требования к защите от коррозии;

ГОСТ 14759-69

Клеи. Метод определения прочности при сдвиге;

ГОСТ 4650-80

Пластмассы. Методы определения водопоглощения;

ГОСТ 25820-83

Бетоны легкие. Технические условия;

ГОСТ 9238-83

Габариты приближения строений и подвижного состава железных дорог колеи 1520 (1524) мм;

ГОСТ 30416-96

Грунты. Лабораторные испытания. Общие положения;

ГОСТ 25100-95

Грунты. Классификация;

ГОСТ 24950-81

Отводы гнутые и вставки кривые на поворотах линейной части стальных магистральных трубопроводов. Технические условия;

ГОСТ 4640-93

Вата минеральная. Технические условия;

ГОСТ 25225-82

Контроль неразрушающий. Швы сварных соединений трубопроводов. Магнитографический метод;

ГОСТ 7512-82

Контроль неразрушающий. Соединения сварные. Радиографический метод;

ГОСТ 14782-86

Контроль неразрушающий. Соединения сварные. Методы ультразвуковые;

ГОСТ 8273-75

Бумага оберточная. Технические условия;

ГОСТ 618-73

Фольга алюминиевая для технических целей. Технические условия;

ГОСТ 17.5.3.05-84

Охрана природы. Рекультивация земель. Общие требования к землепользованию;

ГОСТ 17.5.3.06-85

Охрана природы. Земли. Требования к определению норм снятия плодородного слоя почвы при производстве земляных работ;

ГОСТ 17.4.3.02-85

Охрана природы. Почвы. Требования к охране плодородного слоя почвы при производстве земляных работ;

ГОСТ 9.602-89

ЕСЗКС. Сооружения подземные. Общие требования к защите от коррозии.

ГОСТ 7871-75

Проволока сварочная из алюминия и алюминиевых сплавов. Технические условия

ГОСТ 13073-77

Проволока цинковая. Технические условия

ГОСТ 9.402-80

Покрытия лакокрасочные. Подготовка металлических поверхностей перед окрашиванием

ПУЭ-85

(с изменениями)

М. 1985 г. Издательство "Энергоатомнадзор"

 

 

Приложение 5
Справочное

Подразделение болот на типы

(извлечения из СНиП III-42-80*)

Тип болота

Характеристика

Первый

Болота, целиком заполненные торфом, допускающие работу и неоднократное передвижение болотной техники с удельным давлением 0,02-0,03 МПа (0,2-0,3 кгс/см2) или работу обычной техники с помощью щитов, сланей и дорог, обеспечивающих снижение удельного давления на поверхность залежи до 0,02 МПа (0,2 кгс/см2)

Второй

Болота, целиком заполненные торфом, допускающие работу и передвижение строительной техники только по щитам, сланям или дорогам, обеспечивающим снижение удельного давления на поверхность залежи до 0,01 МПа (0,1 кгс/см2)

Третий

Болота, заполненные растекающимися торфом и водой с плавающей торфяной коркой, допускающие работу только специальной техники на понтонах или обычной техники с плавучих средств

 




Яндекс цитирования



   Copyright © 2007-2026,  www.tehlit.ru.

[ ѓосты, стандарты, нормативы, инструкции, правила, строительные нормы ]